TU1500RD - Network audio player DENON - Free user manual and instructions
Find the device manual for free TU1500RD DENON in PDF.
User questions about TU1500RD DENON
0 question about this device. Answer the ones you know or ask your own.
Ask a new question about this device
Download the instructions for your Network audio player in PDF format for free! Find your manual TU1500RD - DENON and take your electronic device back in hand. On this page are published all the documents necessary for the use of your device. TU1500RD by DENON.
USER MANUAL TU1500RD DENON
The lightning flash with arrowhead symbol, within an equilateral triangle, is intended to alert the user to the presence of uninsulated "dangerous voltage" within the product's enclosure that may be of sufficient magnitude to constitute a risk of electric shock to persons.

The exclamation point within an equilateral triangle is intended to alert the user to the presence of important operating and maintenance (servicing) instructions in the literature accompanying the appliance.
WARNING:
TO REDUCE THE RISK OF FIRE OR ELECTRIC SHOCK, DO NOT EXPOSE THIS APPLIANCE TO RAIN OR MOISTURE.
CAUTION:
To completely disconnect this product from the mains, disconnect the plug from the wall socket outlet.
When setting up this product, make sure that the AC outlet you are using is easily acceptable.
VORSICHT:
- DECLARATION OF CONFORMITY
We declare under our sole responsibility that this product, to which this declaration relates, is in conformity with the following standards:
EN60065, EN55013, EN55020, EN61000-3-2 and EN61000-3-3
Following the provisions of 73/23/EEC, 89/336/EEC and 93/68/EEC Directive.
Whenever the apparatus is in the STANDBY state, the apparatus is still connected to AC line voltage.
Please be sure to unplug the cord when you leave home for, say, a vacation.
- The ventilation should not be impeded by covering the ventilation openings with items, such as newspapers, table-cloths, curtains, etc.
-
No naked flame sources, such as lighted candles, should be placed on the apparatus.
-
Please be care the environmental aspects of battery disposal.
The apparatus shall not be exposed to dripping or splashing for use. - No objects filled with liquids, such as vases, shall be placed on the apparatus.
CAUTION:
- Minimum distances around the apparatus for sufficient ventilation.
- The ventilation should not be impeded by covering the ventilation openings with items, such as newspapers, table-cloths, curtains, etc..
- No naked flame sources, such as lighted candles, should be placed on the apparatus.
- Attention should be drawn to the environmental aspects of battery disposal.
The use of apparatus in tropical and/or moderate climates.
ACHTUNG:
A NOTE ABOUT RECYCLING:

This product's packaging materials are recyclable and can be reused. Please dispose of any materials in accordance with the local recycling regulations.
When discarding the unit, comply with local rules or regulations.
Batteries should never be thrown away or incinerated but disposed of in accordance with the local regulations concerning chemical waste.
This product and the accessories packed together constitute the applicable product according to the WEEE directive except batteries.
HINWEIS ZUM RECYCLING:
Cautions on installation 2
Inserting the batteries 2
Operating range of the remote control unit 3
Part names and functions
Front panel 4
Rear panel 4
Remote control unit . 5
Connections
Connecting the antenna terminals 6
Cable indications 7
Connecting the amplifier 7
Connecting the power supply cord 7
Operation
Turning the power on 8
Listening to FM/AM
FM Auto preset memory 8
Auto tuning (FM/AM) 9
Manual tuning (FM/AM) 9
Preset stations (FM/AM) 10
Recalling preset stations (FM/AM) 10
RDS (Radio Data System) 11
RDS search 12
PTY search 13
TP search 14
RT (Radio Text) 14
Switching RDS information display. 15
Registering station names 15, 16
Last function memory. 16
Initialization of the microprocessor 16
Troubleshooting
Specifications
.18
Accessories
Check that the following parts are included in addition to the main unit:
① Operating instructions 1
② Service station list. 1
③ Pin-plug cables. 1
④ Power supply cord. 1

③

(4)

5
⑤ Remote control unit (RC-1027) 1
⑥ R03/AAA batteries 2
⑦ AM loop antenna
⑧ FM indoor antenna. 1

⑥


8
Before using
We recommend you review the contents of this manual before proceeding with hookup and operation.
This product is provided with immense array of features.
Pay attention to the following before using this unit:
- Moving the unit
Toprevent short-circuits or damaged wires in the connection cables, always unplug the power supply cord and disconnect the connection cables between all other audio components when moving the unit.
Before turning the power operation switch (ON/STANDBY) on
Check once again that all connections are proper and that there are not problems with the connection cables.
Always unit the power switch to the standby position before connecting and disconnecting connection cables.
- Store these instructions in a safe place
After reading, store these instructions along with the warranty card in a safe place.
- Note that the illustrations in these instructions may differ from the actual unit for explanation purposes.
Cautions on installation
Noise or disturbance of the picture may be generated if this unit or any other electronic equipment using microprocessors is used near a tuner or TV.
If this happens, take the following steps:
Install this unit as far away as possible from the tuner or TV.
- Run the antenna wires from the tuner or TV away from this unit's power supply cord and input/output connection cables.
- Noise or disturbance tends to occur particularly when using indoor antennas or 300 ohms feeder wires.
We recommend using outdoor antennas and 75 / ohms coaxial cables.
Note:
For heat dispersal, do not install this unit in a confined space such as a bookcase or similar enclosure.


Inserting the batteries
① Remove the remote control unit's rear cover.

② Set two R03/AAA batteries in the battery compartment in the indicated direction.

③ Put the rear cover back on.

Notes on batteries:
-
Replace the batteries with new ones if the unit does not operate even when the remote control unit is operated nearby the unit. (The included batteries are only for verifying operation.)
-
When inserting the batteries, be sure to do so in the proper direction, following the "+" marks in the battery compartment.
-
T o prevent damage or leakage of battery fluid:
-
D o not use a new battery together with an old one.
- Do not use two different types of batteries.
-
Do not short-circuit, disassemble, heat or dispose of batteries in flames.
-
If the battery fluid should leak, carefully wipe the fluid off the inside of the battery compartment and insert new batteries.
-
W hen replacing the batteries, have the new batteries ready and insert them as quickly as possible.
Getting Started
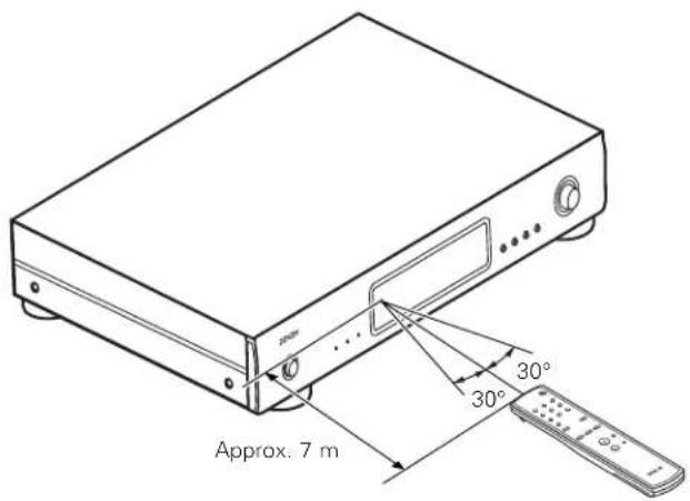
Operating range of the remote control unit

- Point the remote control unit at the remote sensor on the main unit as shown in the diagram.
- The remote control unit can be used from a straight distance of approximately 7 meters from the main unit, but this distance will be shorter if there are obstacles in the way or if the remote control unit is not pointed directly at the remote sensor.
- The remote control unit can be operated at a horizontal angle of up to 30 degrees with respect to the remote sensor.
NOTE:
- It may be difficult to operate the remote control unit if the remote sensor is exposed to direct sunlight or strong artificial light.
- Do not press buttons on the main unit and remote control unit simultaneously. Doing so may result in malfunction.
- Neon signs or other devices emitting pulse-type noise nearby may result in malfunction, so keep the unit as far away from such devices as possible.
Part names and functions
For details on the functions of these parts, refer to the pages given in parentheses ( ).
Front panel
Power operation switch (ON/STANDBY)
When pressed, the power turns on and the display lights. The muting mode is set for several seconds, after which the TU-1500AE will function normally.
When pressed again, the power is set to the "standby" mode and the display turns off.
STEREO indicator
In the AUTO mode, this lights when a stereo broadcast is tuned in. (1999)
3 TUNED indicator
This lights when the strength of the reception frequency is at or above a specific level. (Page 9)
RDS indicator
This lights when receiving RDS broadcasts, and flashes during the RDS search. (Page 11 ~ 14)
ON/STANDBY indicator
This lights when the TU-1500AE's power is in the "on" or "standby" mode.
Remote control sensor
This is the remote control signal sensor.
7 Display
DIMMER button
The display's brightness can be adjusted in three steps. Press this button to switch the brightness between high, medium and low, in that order.
BAND button
Press this button to switch the band between FM and AM. (page 9)
10 AUTO PRESET button
When pressed while the FM band is set, the TU-1500AE searches for stations that can be received in stereo and up to 100 stations are automatically stored at the preset channels. (The stations are stored in order starting from channel A1.) (Page 8)
11 MENU button
Press this button to set the MENU mode. (Page 10 ~ 15)
TUNING/PRESET knob
When in the tuning mode, use this knob to raise or lower the frequency. Turn the knob clockwise to raise the frequency, counterclockwise to lower the frequency. Use the knob together with the MENU button to switch the mode setting. (Page 10 ~ 16)

MEMO
- Whenever the unit is in the STANDBY state, the unit is still connected to AC line voltage.
Please be sure to unplug the power supply cord when you leave home for, say, a vacation. - Noise may be generated if a nearby television set is on during the broadcasting reception. The tuner should be used as far away from a television as possible.
- The unit is also equipped with a back-up memory. This function provides memory storage when the power switch is off and with the power supply cord disconnected.
Rear panel
FM antenna terminals
(ANTENNA TERMINAL FM)
75 Ω/ohms coaxial cables can be connected to these terminals. For the connection procedure, see the section "Connections". (1966)
14 AM antenna terminals
(ANTENNA TERMINAL AM)
Connect the included AM loop antenna. (12e6)
Connect with this terminal when a medium wave outdoor antenna is used.
15 Analog output jacks
Connect these to the TUNER input terminals on the pre-main amplifier. (19967)
16 AC Inlet
Connect the included power supply cord here. (1263e 7)
Getting Started
Remote control unit

1 POWER button
Press this button to switch from the standby mode to the operating mode. (Page 8, 16)
2 CHANNEL buttons (1 ~ 10)
Use these when presenting and recalling stations. Also use these with the SHIFT and MEMORY buttons to use a total of 100 preset channels, A (1 ~ 10), B (1 ~ 10), ... J (1 ~ 10). (202e 10)
3 MEMORY button
Frequencies and station names can be stored in the memory. When this button is pressed, the "MEMO" and "CH" indicator on the display flashes for 10 seconds. Use the SHIFT and the CHANNEL buttons during this time to designate the desired preset channel. (19ge 10)
4 DISPLAY button
This button is used to select the display mode. (11, 15)
PRESET buttons
This button is used to select radio presets. (12e 10)
6 SHIFT button
Use this button to select the memory blocks, A (1 ~ 10), B (1 ~ 10), ... J (1 ~ 10). (Page 10)
AUTO/MANU button
Use this button to select the auto tuning mode or manual tuning mode.
In the auto tuning mode, press the TUNING button, the automatic searching begins, them stops when a station is tuned in. In the manual tuning mode, press the TUNING button, the frequency changes continuously. (1996)
BAND button
Select FM or AM. (198e 8, 9, 16)
9 TUNING buttons
Use these to change the received frequency to a higher frequency () or a lower frequency () . (16 page 9)

Connecting the antenna terminals

AM loop antenna assembly

Connection of AM antennas
NOTE:
- Do not connect two FM antennas simultaneously.
- Even if an external AM antenna is used, do not disconnect the AM loop antenna.
- Make sure the AM loop antenna lead terminals do not touch metal parts of the panel.
Connections
Cable indications
The hookup diagrams on the subsequent pages assume the use of the following optional connection cables.
| Audio cable | Signal direction |
| A Analog terminal (Stereo) (To amplifier) L (White) R (Red) Pin-plug cables | Audio signal IN OUT OUT IN |
Connecting the amplifier

Connecting the power supply cord

Operation


Turning the power on
Setting the power to the "on" mode
Press the ON/STANDBY or POWER button.
The display lights and the TU-1500AE becomes operable.
Setting the power to the "standby" mode
When the power is in the "on" mode, press the ON/STANDBY or POWER button.
- The power is set to the "standby" mode.
Listening to FM/AM
FM auto preset memory
Press the BAND button to select "FM" band.
F M
2 Press the AUTO PRESET button.
#
The auto preset mode is set and the "AUTO PRESET" indicator on the display flashes.
FM broadcast stations are automatically searched for and stored in order at the preset channels, starting from "A1".
- When the first FM broadcast station is found, that station is stored in the preset memory at channel "A1".
Subsequent stations are automatically stored in order at preset channels A1 to A10, B1 to B10, C1 to C10, D1 to D10, E1 to E10, F1 to F10, G1 to G10, H1 to H10, I1 to I10 and J1 to J10 for a maximum of 100 stations.
- Channel "A1" is tuned in after the auto preset memory operation is completed.

- If a station's signal is too weak to tune in using auto preset mode, preset it manually. (10)
DEFAULTVALUE
| Auto tuner presets | |
| A1 ~ A10 | 87.5 / 89.1 / 98.1 / 108 / 90.1 / 90.1 / 90.1 / 90.1 / 90.1 / 90.1 MHz |
| B1 ~ B10 | 522 / 603 / 999 / 1404 / 1611 kHz, 90.1 / 90.1 / 90.1 / 90.1 / 90.1 MHz |
| C1 ~ C10 90.1 MHz | |
| D1 ~ D10 90.1 MHz | |
| E1 ~ E10 90.1 MHz | |
| F1 ~ F10 90.1 MHz | |
| G1 ~ G10 90.1 MHz | |
| H1 ~ H10 90.1 MHz | |
| I1 ~ I10 90.1 MHz | |
| J1 ~ J10 90.1 MHz | |
ENGLISH
Operation


Auto tuning (FM/AM)
Press the BAND button to select "FM" or "AM".
F M
2 Press the AUTO/MANU button to set "AUTO".
- When the auto tuning mode is set, "AUTO" appears to the right of the frequency on the display.
FM87.50MHz AUTO
3 Press the TUNING (\triangle \triangle \triangle \triangle \triangle \triangle \triangle \triangle \triangle \triangle \triangle \triangle \triangle \triangle \triangle \triangle \triangle \triangle \triangle \triangle \triangle \triangle \triangle \triangle \triangle \triangle \triangle \triangle \triangle \triangle \triangle \triangle \triangle \triangle \triangle \triangle \triangle \triangle \triangle \triangle \triangle \triangle \triangle \triangle \triangle \triangle \triangle \triangle \triangle \triangle \triangle
- P ress the TUNING button to automatically switch to higher frequencies, the TUNING button to automatically switch to lower frequencies.

- The TUNED indicator lights and tuning stops when a frequency whose strength is at or above a specific level is tuned in.
- The STEREO indicator lights when a stereo broadcast is received on the FM band.
Manual tuning (FM/AM)
Press the BAND button to select "FM" or "AM".
2 Press the AUTO/MANU button to set the manual tuning mode.
- When the manual tuning mode is set, the word "AUTO" shown to the right of the frequency on the display turns off.
FM87.50MHzA
Press the TUNING button.
- P re s s and hold in the TUNING button to move to higher frequencies, the TUNING button to move to lower frequencies.

- Use the manual tuning mode to tune in stations whose signal is too weak to tune in using the auto tuning mode.
- In the manual tuning mode, the signals are forcibly set to monaural, and the STEREO indicator does not light even when receiving stereo broadcasts on the FM band.
Preset stations (FM/AM)
- Before starting, tune in the station you want to preset.
Operations on the main unit
Press the MENU button.
The menu is displayed for 5 seconds.
2 While the menu is displayed, turn the TUNING/PRESET knob to select "Memory", then press the TUNING/PRESET knob.
The preset mode is set and the preset channel number flashes for about 15 seconds.

3 While the preset channel number is flashing, turn the TUNING/PRESET knob and select the desired preset channel number.

Press the TUNING/PRESET knob.
- The station currently tuned in is stored at the selected preset channel number.
- T o preset other stations, repeat steps 1 to 4.
- A total of 100 stations, FM and AM included, can be preset.

- If a station is preset at a channel number at which a different station is already preset, the previously stored station is cleared and the new station is preset in its place.
Operations on the remote control unit
1 Press the MEMORY button. The preset mode is set.
2 Select the preset channel number.
- Press the SHIFT button to select the memory block and use the CHANNEL buttons to select the channel number.
The preset channel number can also be selected using the PRESET + and - buttons.
3 Press the MEMORY button. The station is preset.
Recalling preset stations (FM/AM)
Operations on the main unit
Press the MENU button.
2 Turn the TUNING/PRESET knob to select "Search Mode", then press the TUNING/PRESET knob.
Please Select Search Mode
3 Turn the TUNING/PRESET knob to select "Preset", then press the TUNING/PRESET knob.
The preset search mode is set.
Search Mode Preset
4 Turn the TUNING/PRESET knob to select the preset channel number.
FM107.95MHz AUTO H1
Operations on the remote control unit
Select the preset channel number.
- Press the SHIFT button to select the memory block and use the CHANNEL buttons to select the channel number.
The preset channel number can also be selected using the PRESET + and - buttons.
Operation

RDS (Radio Data System)
- RDS (works only on the FM band) is a broadcasting service which allows a station to send additional information along with the regular radio programme signal.
The following three types of RDS information can be received with this unit:
Programme Type (PTY)
- PTY identifies the type of RDS programme.
The programme types and their displays are as follows:
| NEWS | News | OTHER M | Other Music |
| AFFAIRS | Current Affairs | WEATHER | Weather |
| FINANCE | Finance | ||
| INFO | Information | CHILDREN | Children's Programmes |
| SPORT | Sports | ||
| EDUCATE | Education | SOCIAL | Social Affairs |
| DRAMA | Drama | RELIGION | Religion |
| CULTURE | Culture | PHONE IN | Phone In |
| SCIENCE | Science | TRAVEL | Travel |
| VARIED | Varied | LEISURE | Leisure |
| POP M | Pop Music | JAZZ | Jazz Music |
| ROCK M | Rock Music | COUNTRY | Country Music |
| EASY M | Easy Listening Music | NATION M | National Music |
| OLDIES | Oldies Music | ||
| LIGHT M | Light Classical | FOLK M | Folk Music |
| DOCUMENT | Documentary | ||
| CLASSICS | Serious Classical |

Traffic Programme (TP)
- TP identifies programmes that carry traffic announcements.
- This allows you to easily find out the latest traffic conditions in your area before leaving home.
Radio Text (RT)
- R T allows RDS stations to send text messages that appear on the display.

- The operations described below pressing the DISPLAY button will not function in areas in which there are no RDS broadcasts.
RDS search
Use this function to automatically tune to FM stations that provide the RDS service.
1 Press the MENU button to select menu.
2 Turn the TUNING/PRESET knob to display "RDS".
Please Select RDS
3 Press the TUNING/PRESET knob.
4 Turn the TUNING/PRESET knob to display "RDS Search".
RDS Search
5 Press the TUNING/PRESET knob to set the RDS search standby mode.
6 Turn the TUNING/PRESET knob clockwise or counterclockwise just one step.
RDS,Search
- T o automatically begin the RDS search operation.
The RDS indicator flashes.
If no RDS station are found with the above operation, all the reception bands are searched.
When a broadcast station is found, that station's name appears on the display.
7
If no other RDS station is found when all the frequencies are searched, "NO RDS" is displayed.
Operation

PTY search
- Use this function to find RDS stations broadcasting a designated programme type (PTY).
- For a description of each programme type, refer to "Programme Type (PTY)" (Page 11).
1 Press the MENU button to select menu.
2 Turn the TUNING/PRESET knob to display "RDS".
3 Press the TUNING/PRESET knob to set the RDS search selection mode.
4 Turn the TUNING/PRESET knob to display "PTY Search".
PTV Search
Press the TUNING/PRESET knob to set the PTY search selection mode.
6 Watching the display, turn the TUNING/ PRESET knob to call out the desired programme type.
PTY NEWS
When receiving an RDS station, its programme type is displayed first. When not receiving an RDS station, "PTY" flashes.
7 Press the TUNING/PRESET knob to set the PTY search standby mode.
8 Turn the TUNING/PRESET knob clockwise or counterclockwise just one step.
F
- T o automatically begin the PTY search operation.
The RDS indicator flashes.
If there is no station broadcasting the designated programme type with the above operation, all the reception bands are searched.
The station name is displayed on the display after searching stops.
9
NO Programme
If no other station broadcasting the designated programme type is found when all the frequencies are searched, "NO Programme" is displayed.
TP search
Use this function to find RDS stations broadcasting traffic programme (TP).
1 Press the MENU button to select menu.
2 Turn the TUNING/PRESET knob to display "RDS".
3 Press the TUNING/PRESET knob to set the RDS search selection mode.
4 Turn the TUNING/PRESET knob to display "TP Search".
TP Search
Press the TUNING/PRESET knob to set the TP search standby mode.
6 Turn the TUNING/PRESET knob clockwise or counterclockwise just one step.
F
- T o automatically begin the TP search operation.
The RDS indicator flashes.
If no TP station is found with the above operation, all the reception bands are searched.
The station name is displayed on the display after searching stops.
7
NO Programme
If no other TP station is found when all the frequencies are searched, "NO Programme" is displayed.
RT (Radio Text)
Press the MENU button to select menu.
2 Turn the TUNING/PRESET knob to display "RDS".
3 Press the TUNING/PRESET knob to set the RDS search selection mode.
4 Turn the TUNING/PRESET knob to display "RT ON/OFF".
RT ON/OFF
5 Press the TUNING/PRESET knob to set the RT ON/OFF selection mode.
6 Turn the TUNING/PRESET knob to choose the "RT ON" or "RT OFF".
RTON
7 Press the TUNING/PRESET knob to set whether to enable or stop the RADIO TEXT function.
If no text data is being broadcasted, "NO TEXT DATA" is displayed.
Operation

Switching RDS information display
1 Use the procedure described at "Auto tuning", "Recalling preset stations" or "RDS search" to tune in a frequency with an RDS station.
2 Press the DISPLAY button to switch the RDS reception information.
The display switches as shown below each time the DISPLAY button is pressed.
STATION NAME: Only displayed when the search mode is set to PRESET and the station name has been registered. FM105.70MHz AUTO A10 DENON
② PS: The programme service name and frequency of the station tuned in is displayed.
FM105.70MHz AUTO A10 ABCDEFGH TP The above is an example for when there is TP data but no RT data.
3 PTY: The programme type of the tuned in broadcast is displayed.
FM105.70MHz AUTO PTY NEWS ④ CT:
The current time is displayed.
FM105.70MHz AUTO 15:10

- When the "STATION NAME" is not registered, ① is not displayed.
Registering station names
1 Select the station whose name you want to set.
Example: To register "DENON" as the FM station name at preset channel "A2".
2 Press the MENU button.
3 Turn the TUNING/PRESET knob to select "Station name".
Please Select Station Name
4 Press the TUNING/PRESET knob. The station name input mode is set.
FM87,50MHz AUTO A2
Either turn the TUNING/PRESET knob or press the PRESET button and select "D".

Press the TUNING/PRESSET knob to set "D".
- The cursor "——" starts flashing in the next place.
- Repeat steps 5 and 6 to input "E", "N", "O" and "N", in that order.
(Up to 8 characters can be input.)
FM 87.50MHz AUTO A2 DENON

Press the TUNING/PRESET knob for at least 2 seconds or press the MEMORY button to make preset channel "A2" flash.
- When "——" is flashing, preset channel "A2" can also be made to flash by pressing the TUNING/PRESET knob for at least 2 seconds or by pressing the MEMORY button.

With channel "A2" flashing, press the TUNING/PRESET knob or the MEMORY button.
The station name you have input is stored in the memory.
※ This procedure can be used to registered station names with up to 8 digits for up to 100 AM/FM stations at random.
※ The 63 characters below can be selected.
Overwrite a " _ " (Space) to erase an inputted character.
ABCDEFGHIJKLMNOPQRSTUVWXYZ0123456789[\^!#“%&'()+,-/;;<=>?$ (space)
Last function memory
The next time the power is set to the "on" mode, the TU-1500AE is set to the same status (band, frequency, preset channel number, mode setting, etc.) as when the power was last set to the "standby" mode.
- The unit is also equipped with a back-up memory. This function provides memory storage when the power switch is off and with the power supply cord disconnected.
Initialization of the microprocessor
If the display or operation is abnormal, use the procedure described below to reset the microprocessor.

Press the ON/STANDBY or POWER button to set the power to the "standby" mode, then unplug the TU-1500AE's power supply cord from the power outlet.

While pressing both the DIMMER and BAND buttons, plug the TU-1500AE's power supply cord into a power outlet.

Check that the entire display is flashing with an interval of about 1 second, and release your fingers from the 2 buttons.
The microprocessor will be initialized.

- If step 3 does not work, start over from step 1.
- When the microprocessor is reset, all the settings are restored to the factory default values.
Troubleshooting
If a problem should arise, first check the following.
- Are the connections correct?
- Have you operated the receiver according to the operating instructions?
- Are the speakers and other components operating property?
If this unit is not operating properly, check the items listed in the table below. Should the problem persist, there may be a malfunction. Disconnect the power immediately and contact your store of purchase.
| Symptom Cause Measures Page | ||
| Power does not turn on when ON/STANDBY switch is pressed. | ·power supply cord's plug is not plugged in to wall outlet. | ·Plug the power supply cord in properly. 7 |
| Hissing noise is heard on FM broadcasts. | ·Antenna cable is not properly connected. ·Antenna is not pointing in the right direction. ·Radio waves are weak. | ·Connect the leads properly. ·Point the antenna in the right direction. ·Install an outdoor antenna. |
| Hissing or buzzing sound is heard on AM broadcasts. | ·Noise from a TV or interference in the signals sent from the broadcast station. | ·Turn off the TV. ·Change the position of the loop antenna. ·Install an outdoor antenna. |
| Booming sound (humming) is heard in AM broadcasts. | ·Signals transmitted over the power supply cord are modulated by the power source frequency. | ·Insert the plug in the opposite direction. ·Install an outdoor antenna. |
| Nothing happens when remote control buttons are pressed. | ·Are the batteries dead? ·Is the remote control unit too far away? ·Is there an obstacle between the remote control unit and the main unit? ·You have pressed the wrong button. ·Batteries are not set in their proper direction (⊕ and ⊙). | ·Replace the batteries with new ones. ·Operate from closer to the main unit. ·Remove the obstacle. ·Press the desired button. ·Set the batteries in the proper direction. |
| I can not get any sound. | ·Power connected amplifier not turned on. ·Connection leads to amplifier not made correctly. | ·Turn on the amplifier properly. ·Connection leads to amplifier properly. |
FM tuner section
(Note: V at 75 / ohms, 0 dBf=1 x 10-16 W)
Receiving range: 87.5 MHz ~ 108.0 MHz
- Antenna terminals:
U sable sensitivity: 1.0 V (11.2 dBf)
75 Ω/ohms Unbalanced
1.2 V (IHF)
S/N 50 dB sensitivity
Monaural: 1.6 V (15.3 dBf)
Stereo: 23 V (38.5 dBf)
-
I mage interference ratio: 80 dB
-
IF interference ratio: 100 dB
AM suppression ratio: 50 dB
E ffective selectivity: 50 dB (±400 kHz)
- Capture ratio: 2.0 dB
F frequency characteristics: 20Hz 15kHz; + 0.5, - 1.0dB
Signal-to-noise ratio
Monaural: 77 dB (IHF), 73 dB (DIN)
Stereo: 72 dB (IHF), 68 dB (DIN)
T otal harmonic distortion
Mono 1 kHz (at 75 kHz dev.): 0.15 %
Stereo 1 kHz (at 67.5 kHz dev.): 0.3 %
- Stereo separation 1 kHz (WIDE): 43 dB
AMtuner section
Receiving range: 522kHz 1611kHz
Antenna terminals: Terminal type with loop antenna
U sable sensitivity: 18 V
S signal-to-noise ratio: 53 dB
Others
Power supply: AC 230 V, 50 Hz
Power consumption: 10 W
Maximum external dimensions: 434 (W) x 73 (H) x 286 (D) mm
Mass: 3.6 kg
Remote control unit (RC-1027)
Batteries: 3 V DC, R03/AAA Type (two batteries)
External dimensions: 48 (W) x 219 (H) x 22 (D) mm
Mass: 105 g (including batteries)
- For purposes of improvement, specifications and design are subject to change without notice.
Erste Schritte
Inhalt
Erste Schritte
Zubehor 1
Please Select Search Mode
Please Select Station Name
Mono: 77 dB (IHF), 73 dB (DIN)
Stereo: 72 dB (IHF), 68 dB (DIN)
- Klirrfaktor
Mono 1 kHz (bei 75 kHz Hub): 0,15 %
Stereo 1 kHz (bei 67,5 kHz Hub): 0,3 %
Stations prerégles (FM/AM)
Please Select Search Mode
Please Select Station Name
Mono: 77 dB (IHF), 73 dB (DIN)
Stereo: 72 dB (IHF), 68 dB (DIN)
D istorsion harmonique totale
Please Select Search Mode
Please Select Station Name
Premere il manopola TUNING/PRESET.
Stereo: 72 dB (IHF), 68 dB (DIN)
Please Select Search Mode
Please Select Station Name
A Pulse el perilla TUNING/PRESET.
Selecteer FM of AM. (8, 9, 16)
9 TUNING-toetsen
| Audiokabel | Signal direction |
| A Analoge aansluiting (stereo) (Naar versterker) L (Wit) ⊙ ⊙ ⊙ ⊙ ⊙ ⊙ ⊙ ⊙ ⊙ ⊙ ⊙ ⊙ ⊙ ⊙ ⊙ ⊙ ⊙ ⊙ ⊙ ⊙ ⊙ ⊙ ⊙ ⊙ ⊙ ⊙ ⊙ ⊙ ⊙ ⊙ ⊙ ⊙ ⊙ ⊙ ←D ⊿ ⊿ ⊿ ⊿ ⊿ ⊿ ⊿ ⊿ ⊿ ⊿ ⊿ ⊿ ⊿ ⊿ ⊿ ⊿ ⊿ ⊿ ⊿ ⊿ ⊿ ⊿ ⊿ ⊿ ⊿ ⊿ ⊿ ⊿ ⊿ ⊿ ⊿ ⊿ ⊿ ⊿ ⊥ ⊥ ⊥ ⊥ ⊥ ⊥ ⊥ ⊥ ⊥ ⊥ ⊥ ⊥ ⊥ ⊥ ⊥ ⊥ ⊥ ⊥ ⊥ ⊥ ⊥ ⊥ ⊥ ⊥ ⊥ ⊥ ⊥ ⊥ ⊥ ⊥ ⊥ ⊥ ⊥ ⊥ ←D ⊿ ⊿ ⊿ ⊿ ⊿ ⊿ ⊿ ⊿ ⊿ ⊿ ⊿ ⊿ ⊿ ⊿ ⊿ ⊿ ⊿ ⊿ ⊿ ⊿ ⊿ ⊿ ⊿ ⊿ ⊿ ⊿ ⊿ ⊿ ⊿ ⊿ ⊿ ⊿ ⊕ ⊕ ⊕ ⊕ ⊕ ⊕ ⊕ ⊕ ⊕ ⊕ ⊕ ⊕ ⊕ ⊕ ⊕ ⊕ ⊕ ⊕ ⊕ ⊕ ⊕ ⊕ ⊕ ⊕ ⊕ ⊕ ⊕ ⊕ ⊕ ⊕ ⊕ ⊕ ⊕ ⊕ ←D ⊕ ⊕ ⊕ ⊕ ⊕ ⊕ ⊕ ⊕ ⊕ ⊕ ⊕ ⊕ ⊕ ⊕ ⊕ ⊕ ⊕ ⊕ ⊕ ⊕ ⊕ ⊕ ⊕ ⊕ ⊕ ⊕ ⊕ ⊕ ⊕ ⊕ ⊕ ⊕ ⊕ ⊕ ⊕ ⊕ ⊕ ⊕ ⊕ ⊕ ⊕ ⊕ ⊕ ⊕ ⊕ ⊕ ⊕ ⊕ ⊕ ⊕ ⊕ ⊕ ⊕ ⊕ ⊕ ⊕ ⊕ ⊕ ⊕ ⊕ ⊕ ⊕ ⊕ ⊕ ⊕ ⊕ ∅ ⊕ ⊕ ⊕ ⊕ ⊕ ⊕ ⊕ ⊕ ⊕ ⊕ ⊕ ⊕ ⊕ ⊕ ⊕ ⊕ ⊕ ⊕ ⊕ ⊕ ⊕ ⊕ ⊕ ⊕ ⊕ ⊕ ⊕ ⊕ ⊕ ⊕ ⊕ ⊕ ⊕ ⊕ ⊕ ⊕ ⊕ ⊕ ⊕ ⊕ ⊕ ⊕ ⊕ ⊕ ⊕ ⊕ ⊕ ⊕ ⊕ ⊕ ⊕ ⊕ ⊕ ⊕ ⊕ ⊕ ⊕ ⊕ ⊕ ⊕ ⊕ ⊕ ⊕ ⊕ ⊕ ⊕ ±D ⊕ ⊕ ⊕ ⊕ ⊕ ⊕ ⊕ ⊕ ⊕ ⊕ ⊕ ⊕ ⊕ ⊕ ⊕ ⊕ ⊕ ⊕ ⊕ ⊕ ⊕ ⊕ ⊕ ⊕ ⊕ ⊕ ⊕ ⊕ ⊕ ⊕ ⊕ ⊕ ⊿ ⊿ ⊿ ⊿ ⊿ ⊿ ⊿ ⊿ ⊿ ⊿ ⊿ ⊿ ⊿ ⊿ ⊿ ⊿ ⊿ ⊿ ⊿ ⊿ ⊿ ⊿ ⊿ ⊿ ⊿ ⊿ ⊿ ⊿ ⊿ ⊿ ⊿ ⊿ ⊿ ⊿ ⊿ ⊿ ⊿ ⊿ ⊿ ⊿ ⊿ ⊿ ⊿ ⊿ ⊿ ⊿ ⊿ ⊿ ⊿ ⊿ ⊿ ⊿ ⊿ ⊿ ⊿ ⊿ ⊿ ⊿ ⊿ ⊿ ⊿ ⊿ ⊿ ⊿ ⊿ ⊿ ←D ⊕ ⊕ ⊕ ⊕ ⊕ ⊕ ⊕ ⊕ ⊕ ⊕ ⊕ ⊕ ⊕ ⊕ ⊕ ⊕ ⊕ ⊕ ⊕ ⊕ ⊕ ⊕ ⊕ ⊕ ⊕ ⊕ ⊕ ⊕ ⊕ ⊕ ⊕ ⊕ ⊕ ⊕ ⊕ ⊕ ⊕ ⊕ ⊕ ⊕ ⊕ ⊕ ⊕ ⊕ ⊕ ⊕ ⊕ ⊕ ⊕ ⊕ ⊕ ⊕ ⊕ ⊕ ⊕ ⊕ ⊕ ⊕ ⊕ ⊕ ⊕ ⊕ ⊕ ⊕ ⊕ ←D ←D ←D ←D ←D ←D ←D ←D ←D ←D ←D ←D ←D ←D ←D ←D ←D ←D ←D ←D ←D ←D ←D ←D ←D ←D ←D ←D ←D ←D ←D ←D ←D ←D ←D ←D ←D ←D ←D ←D ←D ←D ←D ←D ←D ←D ←D ←D ←D ←D ←D ←D ←D ←D ←D ←D ←D ←D ←D ←D ←D ←D ←D ←D ←D ←D ←D ⊿ ⊿ ⊿ ⊿ ⊿ ⊿ ⊿ ⊿ ⊿ ⊿ ⊿ ⊿ ⊿ ⊿ ⊿ ⊿ ⊿ ⊿ ⊿ ⊿ ⊿ ⊿ ⊿ ⊿ ⊿ ⊿ ⊿ ⊿ ⊿ ⊿ ⊿ ⊿ ←D ←D ←D ←D ←D ←D ←D ←D ←D ←D ←D ←D ←D ←D ←D ←D ←D ←D ←D ←D ←D ←D ←D ←D ←D ←D ←D ←D ←D ←D ←D ←D ←D ⊿ ⊿ ⊿ ⊿ ⊿ ⊿ ⊿ ⊿ ⊿ ⊿ ⊿ ⊿ ⊿ ⊿ ⊿ ⊿ ⊿ ⊿ ⊿ ⊿ ⊿ ⊿ ⊿ ⊿ ⊿ ⊿ ⊿ ⊿ ⊿ ⊿ ⊿ ⊿ ⊿ ∅ ⊿ ⊿ ⊿ ⊿ ⊿ ⊿ ⊿ ⊿ ⊿ ⊿ ⊿ ⊿ ⊿ ⊿ ⊿ ⊿ ⊿ ⊿ ⊿ ⊿ ⊿ ⊿ ⊿ ⊿ ⊿ ⊿ ⊿ ⊿ ⊿ ⊿ ⊿ ⊿ ⊿ ←D ←D ←D ←D ←D ←D ←D ←D ←D ←D ←D ←D ←D ←D ←D ←D ←D ←D ←D ←D ←D ←D ←D ←D ←D ←D ←D ←D ←D ←D ←D ←D ←D ←D ←D ←D ←D ←D ←D ←D ←D ←D ←D ←D ←D ←D ←D ←D ←D ←D ←D ←D ←D ←D ←D ←D ←D ←D ←D ←D ←D ←D ←D ←D ←D ←D ←D ⊿ ⊿ ⊿ ⊿ ⊿ ⊿ ⊿ ⊿ ⊿ ⊿ ⊿ ⊿ ⊿ ⊿ ⊿ ⊿ ⊿ ⊿ ⊿ ⊿ ⊿ ⊿ ⊿ ⊿ ⊿ ⊿ ⊿ ⊿ ⊿ ⊿ ⊿ ⊿ ⊿ ⊿ ←D ←D ←D ←D ←D ←D ←D ←D ←D ←D ←D ←D ←D ←D ←D ←D ←D ←D ←D ←D ←D ←D ←D ←D ←D ←D ←D ←D ←D ←D ←D ←D ⊿ ⊿ ⊿ ⊿ ⊿ ⊿ ⊿ ⊿ ⊿ ⊿ ⊿ ⊿ ⊿ ⊿ ⊿ ⊿ ⊿ ⊿ ⊿ ⊿ ⊿ ⊿ ⊿ ⊿ ⊿ ⊿ ⊿ ⊿ ⊿ ⊿ ⊿ ⊿ ⊿ ←D ←D ←D ←D ←D ←D ←D ←D ←D ←D ←D ←D ←D ←D ←D ←D ←D ←D ←D ←D ←D ←D ←D ←D ←D ←D ←D ←D ←D ←D ←D ←D ←D ⊿ ⊿ ⊿ ⊿ ⊿ ⊿ ⊿ ⊿ ⊿ ⊿ ⊿ ⊿ ⊿ ⊿ ⊿ ⊿ ⊿ ⊿ ⊿ ⊿ ⊿ ⊿ ⊿ ⊿ ⊿ ⊿ ⊿ ⊿ ⊿ ⊿ ⊿ ⊿ ⊿ ⊿ ←D ←D ←D ←D ←D ←D ←D ←D ←D ←D ←D ←D ←D ←D ←D ←D ←D ←D ←D ←D ←D ←D ←D ←D ←D ←D ←D ←D ←D ←D ←D ←D ←D →D ←D ←D ←D ←D ←D ←D ←D ←D ←D ←D ←D ←D ←D ←D ←D ←D ←D ←D ←D ←D ←D ←D ←D ←D ←D ←D ←D ←D ←D ←D ←D ←D ←D ←O ←O ←O ←O ←O ←O ←O ←O ←O ←O ←O ←O ←O ←O ←O ←O ←O ←O ←O ←O ←O ←O ←O ←O ←O ←O ←O ←O ←O ←O ←O ←O ←O ←O ↔O ←O ←O ←O ←O ←O ←O ←O ←O ←O ←O ←O ←O ←O ←O ←O ←O ←O ←O ←O ←O ←O ←O ←O ←O ←O ←O ←O ←O ←O ←O ←O ←O ←0 ←0 ←0 ←0 ←0 ←0 ←0 ←0 ←0 ←0 ←0 ←0 ←0 ←0 ←0 ←0 ←0 ←0 ←0 ←0 ←0 ←0 ←0 ←0 ←0 ←0 ←0 ←0 ←0 ←0 ←0 ←0 ←0 ←0 ←0 ←0 ←0 ←0 ←0 ←0 ←0 ←0 ←0 ←0 ←0 ←0 ←0 ←0 ←0 ←0 ←0 ←0 ←0 ←0 ←0 ←0 ←0 ←0 ←0 ←0 ←0 ←0 ←0 ←0 ←0 ←0 ←0 ∈ 0 ← 0 ← 0 ← 0 ← 0 ← 0 ← 0 ← 0 ← 0 ← 0 ← 0 ← 0 ← 0 ← 0 ← 0 ← 0 ← 0 ← 0 ← 0 ← 0 ← 0 = 0 ← 0 ← 0 ← 0 ← 0 ← 0 ← 0 ← 0 ← 0 ← 0 ← 0 ← 0 ← 0 ← 0 ← 0 ← 0 ← 0 ← 0 ← 0 ← 0 ∈ 0 ← 0 ← 0 ← 0 ← 0 ← 0 ← 0 ← 0 ← 0 ← 0 ← 0 ← 0 ← 0 ← 0 ← 0 ← 0 ← 0 ← 0 ← 0 ← O ← 0 ← 0 ← 0 ← 0 ← 0 ← 0 ← 0 ← 0 ← 0 ← 0 ← 0 ← 0 ← 0 ← 0 ← 0 ← 0 ← 0 ← 0 ← 0 ← 0 ← 1 0 ← 1 ← 1 ← 1 ← 1 ← 1 ← 1 ← 1 ← 1 ← 1 ← 1 ← 1 ← 1 ← 1 ← 1 ← 1 ← 1 ← 1 ← 1 ← 1 ← 1 ← 1 ← 1 ← 1 ← 1 ← 1 ← 1 ← 1 ← 1 ← 1 ← 1 ← 1 ← 1 ← 1 ← 1 ← 1 ← 1 ← 1 ← 1 ← 1 ← 1 ← 1 ← 1 ← 1 ← 1 ← 1 ← 1 ← 1 ← 1 ← 1 ← 1 ← 1 ← 1 ← 1 ← 1 ← 1 ← 1 ← 1 ← 1 ← 1 ← 1 ← 1 ← 1 ← 1 ← 1 ← 1 ← 1 ← 1 ← 1 ← 1 ← 1 ← 1 ← 1 ← 1 ← 1 ← 1 ← 1 ← 1 ← 1 ← 1 ← 1 ← 1 ← 1 ← 1 ← 1 ← 1 ← 1 ← 1 ← 1 ← 1 ← 1 ← 1 ← 1 ← 1 ← 1 ← 1 ← 1 ← 1 ← 1 ← 1 ← 1 ← 1 ← 1 ← 1 ← 1 ← 1 ← 1 ← 1 ← 1 ← 1 ← 1 ← 1 ← 1 ← 1 ← 1 ← 1 ← 1 ← 1 ← 1 ← 0 ← 0 ← 0 ← 0 ← 0 ← 0 ← 0 ← 0 ← 0 ← 0 ← 0 ← 0 ← 0 ← 0 ← 0 ← 0 ← 0 ← 0 ← 0 ← 0 ← 0 ← 0 ← 0 ← 0 ← 0 ← 0 ← 0 ← 0 ← 0 ← 0 ← 0 ← 0 ← 0 ← 0 ← 0 ← 0 ← 0 ← 0 ← 0 ← 0 ← 0 ← 0 ← 0 ← 0 ← 0 ← 0 ← 0 ← 0 ← 0 ← 0 ← 0 ← 0 ← 0 ← 0 ← 0 ← 0 ← 0 ← 0 ← 0 ← 0 ← 0 ← 0 ← 0 ← 0 ← 0 ← 0 ← 0 ← 0 ← 0 ← 0 ← 0 ← 0 ← 0 ← 0 ← 0 ← 0 ← 0 ← 0 ← 0 ← 1 ← 1 ← 1 ← 1 ← 1 ← 1 ← 1 ← 1 ← 1 ← 1 ← 1 ← 1 ← 1 ← 1 ← 1 ← 1 ← 1 ← 1 ← 1 ← 1 ← 1 ← 1 ← 1 ← 1 ← 1 ← 1 ← 1 ← 1 ← 1 ← 1 ← 1 ← 1 ← 1 ← 1 ← 1 ← 1 ← 1 ← 1 ← 1 ← 1 ← 1 ← 1 ← 1 ← 1 ← 1 ← 1 ← 1 ← 1 ← 1 ← 1 ← 1 ← 1 ← 1 ← 1 ← 1 ← 1 ← 1 ← 1 ← 1 ← 0 ← 0 ← 0 ← 0 ← 0 ← 0 ← 0 ← 0 ← 0 ← 0 ← 0 ← 0 ← 0 ← 0 ← 0 ← 0 ← 0 ← 0 ← 0 ← 0 ← 0 ← 0 ← 0 ← 0 ← 0 ← 0 ← 0 ← 0 ← 0 ← 0 ← 0 ← 0 ← 0 ← 0 ← 0 ← 0 ← 0 ← 0 ← 0 ← 1 ← 1 ← 1 ← 1 ← 1 ← 1 ← 1 ← 1 ← 1 ← 1 ← 1 ← 1 ← 1 ← 1 ← 1 ← 1 ← 1 ← 1 ← 1 ← 1 ← 1 ← 1 ← 1 ← 1 ← 1 ← 1 ← 1 ← 1 ← 1 ← 1 ← 1 ← 1 ← 1 ← 1 ← 1 ← 1 ← 1 ← 1 ← 1 ← 1 ← 1 ← 1 ← 1 ← 1 ← 1 ← 1 ← 1 ← 1 ← 1 ← 1 ← 1 ← 1 ← 1 ← 1 ← 1 ← 1 ← 1 ← 1 ← 1 ← 12 |
Please Select Search Mode
Please Select Station Name
Mono: 77 dB (IHF), 73 dB (DIN)
Stereo: 72 dB (IHF), 68 dB (DIN)
Please Select Search Mode
Please Select Station Name
Mono: 77 dB (IHF), 73 dB (DIN)
Stereo: 72 dB (IHF), 68 dB (DIN)
T otal harmonisk distorsion
- Kanalseparation 1 kHz (WIDE): 43 dB
AM-tunerdel
- Bandbredd: 522 kHz ~ 1611 kHz
- A ntingängarna: Ramantennuttag
Anvandbar kanslighet: 18 V - Signalbrusforhallande: 53 dB
Allmant
Natspanning: 230 V vaxelspanning, 50 Hz
EasyManual