TU1500RD - Lecteur réseau audio DENON - Notice d'utilisation et mode d'emploi gratuit
Retrouvez gratuitement la notice de l'appareil TU1500RD DENON au format PDF.
| Caractéristiques techniques | Récepteur audio DENON TU1500RD, compatible FM/AM, avec affichage numérique. |
|---|---|
| Puissance de sortie | 20 W par canal (8 ohms) |
| Connectivité | Entrées RCA, sortie audio, antenne FM/AM. |
| Utilisation | Idéal pour écouter la radio, compatible avec divers systèmes audio. |
| Maintenance | Nettoyer régulièrement les contacts et les connexions, vérifier les câbles. |
| Réparation | Consulter un professionnel pour les réparations internes, éviter l'ouverture non autorisée. |
| Sécurité | Ne pas exposer à l'humidité, utiliser uniquement avec une alimentation appropriée. |
| Informations générales | Poids : 3 kg, dimensions : 430 x 280 x 100 mm, garantie de 2 ans. |
FOIRE AUX QUESTIONS - TU1500RD DENON
Questions des utilisateurs sur TU1500RD DENON
0 question sur cet appareil. Repondez a celles que vous connaissez ou posez la votre.
Poser une nouvelle question sur cet appareil
Téléchargez la notice de votre Lecteur réseau audio au format PDF gratuitement ! Retrouvez votre notice TU1500RD - DENON et reprennez votre appareil électronique en main. Sur cette page sont publiés tous les documents nécessaires à l'utilisation de votre appareil TU1500RD de la marque DENON.
MODE D'EMPLOI TU1500RD DENON
Pour déconnecter complètement ce produit du courant secteur, débranche la prise de la prise murale.
Lors de l'installation de ce produit, assurez-vous que la prise CA que vous utilisez est compatible.
ATTENZIONE:
Nous déclarons sous notre seule responsabilité que l'appareil, auquel se référite cette déclaration, est conforme aux standards suivants:
D'après les dispositions de la Directive 73/23/EEC, 89/336/EEC et 93/68/EEC.
A chaque fois que l'interrupteur d'alimentation est en position STANDBY, l'appareil reste connecté à la ligne de courant secteur.
Assurez-vous demettre l'appareil hors tension ou de débrancher le cable d'alimentation lorsquevouspartezlongtemps,envacances par exemple.
- La ventilation ne doit pas etre genere en recouvrant les ouvertures de la ventilation avec des objets tels que journaux, ridesaux, tissus, etc.
- Aucune flamme nue, par exemple une bougie, ne doit etre place sur I'appareil.
V eillez a respecter I'environnement lorsque vous jetez les piles usagedes.
L'appareil ne doit pas etre exposé à I'eau ou a I'humidite. - Aucun objet contenant du liquide, par exemple un vase, ne doit etre place sur I'appareil.
PRECAUZIONI:
Les matériaux d'emballage de ce produit sont recyclables et peuvent être réutilisés. Veillez dispose de tout matériel conformément aux règlements de recyclage locaux.
Lorsque vous mettez cet apparéil au rebut, respectez les lois ou réglementations locales.
Les piles ne doivent jamais être jetées ou incinéées, mais mises au rebut conformément aux règlements locaux concernant les déchets chimiques.
Ce produit et les accessoires emballes ensemble sont des produits conformes à la directive DEEE sauf pour les piles.
NOTA RELATIVA AL RICICLAGGIO:
Avant l'utilisation 1
Précautions d'installation 2
Insertion des piles 2
Portee de fonctionnement de la telecommande 3
Nomenclature et fonctions
Panneau avant. 4
Panneau arrriere 4
Télécommande 5
Connexions
Connexion des bornes d'antenne 6
Indications de cable 7
Connexion de l'amplificateur 7
Connexion du cordon d'alimentation 7
Fonctionnement
Mise en marche 8
Ecoute de la FM/AM
Memoire auto prerégée FM. 8
Syntonisation automatique (FM/AM) 9
Syntonisation manuelle (FM/AM) 9
Stations prerégles (FM/AM) 10
Rappel de stations preregliées (FM/AM) 10
RDS (Système de données radio) 11
Recherche RDS. 12
Recherche PTY. 13
Recherche TP. 14
RT (Texte radio) 14
Changement de I'affichage des informations RDS. 15
Enregistrement des noms de station 15, 16
Mémoire de première fonction 16
Initialisation du microprocesseur 16
Dépistage des pannes
17
\section*{Caracteristiques techniques}
1
Accessoires
Vérifier que les articles suivants sont inclus dans le carton en plus de l'unité principale:
① Mode d'emploi 1
② Lieste des services après-vente 1
③ Cableabroche 1
④ Cordon d'alimentation. 1

3

(4)

5

6

⑦

(8)
Avant l'utilisation
Ce produit étant équipé d'une immense foule de caractéristiques, nous vous recommendons avant de commencer l'installation et l'utilisation de l'appareil de bien dire le contenu de ce manuel avant de proceder.
Faire attention aux points suivants avant d'utiliser cet apparéil:
- Déplacement de l'appareil
Afin d'éviter des court-circuits ou d'endommager les cables des cordons de connexion, débrancher toujours le cordon d'alimentation et déconnecter les cordons de connexion entre tous les autres appareils audio lors du déplacement de l'appareil.
- Avant d'activer le commutateur de mise sous tension (ON/STANDBY)
Vérifier de nouveau que toutes les connexions sont correctes et qu'il n'y a pas de problème avec les cables de connexion. Placer toujours le commutateur d'alimentation sur la position d'attente avant de connecter et de déconnecter les cables de connexion. - Conserver ce manuel dans un endroit sur.
Après l'avoir lu, conserver ce manuel ainsi que le certificat de garantie dans un endroit sur. - Remarquer que les illustrations dans ce manuel sont données à titre explicatif et peuvent être différentes par rapport à l'appareil.
Précautions d'installation
L'utilisation de cet amplificateur ou de tout autre apparéil électronique à microproessesurs pres d'un tuner ou d'un téléviseur peut produit des parasites dans le son ou l'image. Si cela se produit, prendre les mesures suivantes:
- Installer cet apparéil aussi loin que possible du tuner ou du télévisueur.
- Placer les cables d'antenne du tuner ou du téléviseur aussi loin que possible du cordon d'alimentation et des cables de connexion d'entrée/sorting de cet apparéil.
- Du bruit et des parasites peuvent se produit en particulier lors de l'utilisation d'antennes interieures ou de cables d'alimentation de 300 Ω/ohms.
L'utilisation d'antennes extérieures et de cables coaxiaux de 75 Ω/ohms est recommendée.
Remarque:
Pour permettre la dissipation de chaleur, n'installez pas cet équipement dans un espace confiné tel qu'une bibliothèque ou un endroit similaire.


Insertion des piles
① Retirer le couvercle arriere de la télécommande.

② Placer les deux piles R03/AAA dans le compartment à piles dans le sens indiqué.

③ Remetre le couvercle arriere en place.

Remarques sur les piles:
- Remplacer les piles par des nuves si l'appareil ne fonctionne pas lorsque la télécommande est actionnée à proximé. (La pile fournie ne sert que pour la verification du fonctionnement.)
- Lors de l'insertion des piles, toujours proceder dans le bon sens, en suivant les marques "+" du compartment à piles.
- Pour éviter des dommages ou une fuite du liquide de pile:
- Ne pas utiliser une pile neue avec une ancienne.
- Ne pas utiliser deux types de pile différents.
- Ne pas court-circuiter, démonter, chauffer ou jeter les piles dans des flammes.
- Si le liquide de pile venait à fuir, essuyer soigneusement le liquide de l'intérieur du compartment à piles, et insérer de nouvelles piles.
- Lors du remplacement des piles, avoir les piles neuves à portée de la main, et les insérer aussi rapidement que possible.
Introduction
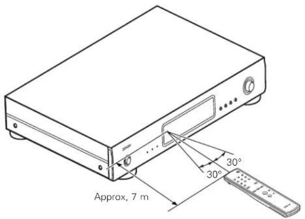
Portée de fonctionnement de la télécommande

- Diriger la télécommande vers le capteur de télécommande situé sur l'unité principale de la manière indiquée dans le diagramme.
- La télécommande peut être utilisé d'une distance droite d'environ 7 metres de l'unité principale, mais cette distance sera raccourcie s'il y a un obstacle dans le chemin ou si l'unité de télécommande n'est pas directement pointée vers le capteur de télécommande.
- La télécommande peut être actionnée à un angle horizontal d'un maximum de 30 degrés par rapport au capteur de télécommande.
REMARQUE:
- Il peut être difficile d'actionner la télécommande si le capteur de télécommande est exposé aux rayons directs du soleil ou à une forte lumière artificielle.
- Ne pas appuyer simultanément sur les touches de l'unité principale et de la télécommande pour ne pas causeur un mauvais fonctionnement.
- Des envisignes au néon ou autres apparèils qui générent des parasites de type à impulsion peuvent causeur un mauvais fonctionnement, par conséquent, garder l'appareil aussi loin que possible de tels tubes au néon.
Pour les détails sur les fonctions de ces pièces, se reporter aux pages données entre parenthèses ( ).
Panneau avant
1 Interrupteur d'alimentation (ON/STANDBY)
Lorsque vous appuyez sur cette touche, l'appareil se met en marche et l'affichage s'allume. Le mode silencieux est activé pendant quelques secondes, puis le TU-1500AE fonctionne normalement.
Lorsque you appuyez de nouveau, l'appareil est mis en mode "veille" et l'affichage s'eteint.
Indicateur STEREO
En mode AUTO, ce voyant s'allume lorsque une émission stéreo est synthonisé. (page 9)
3 TUNED (Indicateur d'accord)
Ce voyant s'allume lorsque la puissance de la fréquence de réception atteint ou dépasse un niveau donné. (page 9)
4 Indicateur RDS
Cet indicateur s'allume lors de la reception de stations RDS, et il clignote pendant la recherche RDS. (Page 11 ~ 14)
⑤ Indicateur ON/STANDBY
Ce voyant s'allume lorsque l'alimentation du TU-1500AE est reglee en mode "activer" ou "veille".
6 Capteur de télécommande
Capteur de signaux de la télécommande.
7 Affichage
8 Touche DIMMER
La luminosité de l'affichage peut être régée sur trois niveaux différents.
Appuyer sur cette touche pour regler la luminosité sur haute, moyenne et basse, dans cet ordre.
9 Touche de gamme (BAND)
Appuyer sur cette touche pour passer de la bande FM à la bande AM. (page 9)
10 Touche AUTO PRESET
Si vous appuyez sur cette touche lorsque la bande FM est activée, le TU-1500AE recherche les stations qui peuvent être reçues en stéreo, et jusqu'à 100 stations sont automatiquement enregistrées dans les canaux prêrglés. (Les stations sont enregistrées dans l'ordre à partir du canal "A1".) (page 8)
1 Touche MENU
Appuyer sur cette touche pour activer le mode MENU. (10~15)
Molette TUNING/PRESET
En mode symponisation, utiliser cette molette pour augmenter ou réduire la fréquence. Tourner la molette dans le sens horsaire pour augmenter la fréquence, dans le sens anti-horaire pour la réduire. Utiliser la molette en même temps que la touche MENU pour changer de mode. (12e 10 ~ 16).

MEMORANDUM
- Lorsque l'appareil est en mode VEILLE, il est toujours relié à l'alimentation CA.
Veuillez vous assurer de débrancher le cordon d'alimentation lorsque vous partez pour une longue période, par exemple pour les vacances. - Un bruit peut être géné ré si une télévision située à proximité est en marche pendant la réception d'une émission. Le tuner doit être utilisé aussi loin que possible d'une télévision.
- L'appareil possède également une mémoire de sauvégarde. Cette fonction fournit un stockage de mémoire lorsque l'appareil est mis hors tension et que le cordon d'alimentation est débranché.
Panneau arrière
13 Bornes d'antenne FM
(ANTENNA TERMINAL FM)
Des cables coaxiaux de 75 Ω/ohms peuvent être connectés à ces bornes. Pour la procédure de connexion, voir la section "Connexions". (Quote 6)
14 Bornes d'antenne AM
(ANTENNA TERMINAL AM)
Connector l'antenne à boucle AM fournie. (page 6)
Connector à cetteborne lorsqu'uneantennaextérieureà ondes moyennes estutilisée.
15 Prises de sortie analogiques
Connector ces bornes aux bornes d'entrée TUNER de l'amplificateur-preamplificateur. (page 7)
16 Prise de courant AC
Y connecter le cordon secteur fourni. (page 7)
Introduction
Telecommande

1 Touche POWER
Appuyer sur cette touche pour passer du mode veille au mode opérateire. (page 8, 16)
Touches CHANNEL (1 ~ 10)
Utiliser ces touches lorsque vous presentez et rappelez des stations. Utilisez-les également avec les touches SHIFT et MEMORY pour utiliser un total de 100 canaux prérglés, A (1 ~ 10), B (1 ~ 10), ... J (1 ~ 10). (129e 10)
3 Touche MEMORY
Les fréquences et les noms de station peuvent être enregistrés dans la mémoire. Lorsque vous appuyez sur cette touche, le voyageant “MEMO” et “CH” Situé sur l'affichage clignote pendant 10 secondes. Utiliser la touche SHIFT et les touches CHANNEL pendant cette durée pour désigner le canal prérgé voulu. (10)
4 Touche DISPLAY
Cette touche est utilisé pour selectionner le mode d'affichage. (11, 15)
Touches PRESET
Cette touche sert à seLECTIONner les prêrglages radio. (10)
6 SHIFT (Touché de décalage)
Utiliser cette touche pour selectionner les blocs de mémoire, A (1 ~ 10), B (1 ~ 10), ... J (1 ~ 10). (Page 10)
7 Touche AUTO/MANU
Utiliser cette touche pour selectionner le mode de syntonisation auto ou le mode de syntonisation manuelle. En mode de syntonisation auto, appuyer sur la touche TUNING, la recherche automatique commence, puis s'arrête lorsqu'une station est syntonisée. En mode de syntonisation manuelle, appuyer sur la touche TUNING, la fréquence change en continu. (page 9)
Touche BAND
Selectionner FM ou AM. (1986, 8, 9, 16)
9 Touches TUNING
Utiliser ces touches pour passer de la fréquence reçue à une fréquence plus élevé (▲) ou à une fréquence moins élevé (▼). (page 9)

Connexion des bornes d'antenne

■ Ensemble antennae à boucle AM
Connexion des antennes AM
① Appuyer sur le levier. ② Insérer le conducteur. ③ Remener le levier.

REMARQUE:
- Ne pas connecter deux antennes FM simultanément.
- M éme si une antenne AM externe est utilisé, ne pas débrancher l'antenne à boucle AM.
S'assurer que les bornes d'antenna à boucle AM ne touchent pas les parties métalliques du panneau.
FRANCAIS FF
Connexions
Indications de cable
Les schémas de liaisons des pages suivantes impliquent l'utilisation des cables de connexion optionnels suivants.
| Câble audio | Direction des signaux |
| A Borne analogue (Stéréo) (Vers l'amplificateur) L (Blanc) L R (Rouge) R Câble à broche | Signal audio IN OUT OUT IN |
Connexion de l'amplificateur

Connexion du cordon d'alimentation

Fonctionnement


Mise en marche
■ Sélection du mode d'alimentation "activer"
Appuyer sur la touche ON/STANDBY ou POWER.
L'affichage s'allume et le TU-1500AE devient opérationnel.
■ Sélection du mode d'alimentation "veille"
Lorsque le mode d'alimentation "activer" est seLECTIONné, appuyer sur la touche ON/STANDBY ou POWER.
- Le mode d'alimentation "veille" est activé.
Ecoute de la FM/AM
Mémoire auto préréglée FM
1 Appuyer sur la touche BAND pour selectionner la bande "FM".
F M
2 Appuyez sur la touche AUTO PRESET.
AUTO PRESET
- Le mode de prééglage auto est activé et levoyant "AUTO PRESET" de l'affichage clignote.
- Les stations d'émission FM sont automatiquement recherches et enregistrées dans l'ordre dans les canaux prêégles, en commencer par "A1".
- Lorsque la première station de radiodiffusion en FM est trouvée, cette station est stockée dans la mémoire prégrée au canal "A1".
Les stations suivantes sont automatiquement stockées dans l'ordre aux canaux préregles A1 à A10, B1 à B10, C1 à C10, D1 à D10, E1 à E10, F1 à F10, G1 à G10, H1 à H10, I1 à I10 et J1 à J10 pour un maximum de 100 stations.
Le canal "A1" est synonymisé après la fin de l'opération de mémoire prérgée automatique.

- Si le signal d'une station est trop faible pour qu'elle soit syntonisée à l'aide du mode de prépréglage auto, prépréglez-la manuellement. (1996) 10
VALEUR PAR DEFAULT
| Pré-réglages de tuner automatique | |
| A1 ~ A10 | 87.5 / 89.1 / 98.1 / 108 / 90.1 / 90.1 / 90.1 / 90.1 / 90.1 MHz |
| B1 ~ B10 | 522 / 603 / 999 / 1404 / 1611 kHz, 90.1 / 90.1 / 90.1 / 90.1 / 90.1 MHz |
| C1 ~ C10 90.1 MHz | |
| D1 ~ D10 90.1 MHz | |
| E1 ~ E10 90.1 MHz | |
| F1 ~ F10 90.1 MHz | |
| G1 ~ G10 90.1 MHz | |
| H1 ~ H10 | 90.1 MHz |
| I1 ~ I10 90.1 MHz | |
| J1 ~ J10 90.1 MHz | |
Fonctionnement


Syntonisation automatique (FM/AM)
1 Appuyer sur la touche BAND pour selectionner "FM" ou "AM".
F M
2 Appuyer sur la touche AUTO/MANU pour selectionner "AUTO".
- Lorsque le mode de syntonisation auto est activé, "AUTO" apparait sur l'affichage, à droite de la fréquence.
FM87.50MHz AUTO
3 Appuyez sur la touche TUNING ▲▼. La symtonisation auto commence.
Appuyer sur la touche TUNING ▲pour passer automatiquement à des fréquences plus élevées, sur la touche TUNING √ pour passer automatiquement à des fréquences moins élevées.

- Levoyant TUNED s'allume et la syntonisation s'arrête lorsqu'une fréquence dont la puissance atteint ou dépasse un niveau donné est syntonisé.
- Levoyant STEREO s'allume lorsqu'une émission stéreo est reçue sur la bande FM.
Syntonisation manuelle (FM/AM)
1 Appuyer sur la touche BAND pour selectionner "FM" ou "AM".
2 Appuyez sur la touche AUTO/MANU pour régler le mode de syntonisation automatique.
- Lorsque le mode de syntonisation manuelle est activé, le mot "AUTO" figurant sur l'affichage, à la droite de la fréquence, s'éteint.
FM87.59MHz
3 Appuyez sur la touche TUNING Maintainir enfoncée la touche TUNING
- Maintenir enforcée la touche TUNING pour vous déplacer vers des fréquences plus élevées, sur la touche TUNING pour vous déplacer vers des fréquences moins élevées.

- Utiliser le mode de syntonisation manuelle pour symnoniser les stations dont le signal est trop faible pour etre symtonisées à l'aide du mode de syntonisation auto.
- En mode de syntonisation manuelle, les signaux sont régles de force en monaural, et levoyant STEREO ne s'allume pas, même lors de la réception d'émissions stéreo sur la bande FM.
- Avant de commencer, symponiser la station que vous souhaitez preregler.
- Opérations sur l'unité principale
1 Appuyez sur la touche MENU.
- Le menu s'affiche pendant 5 secondes.
2 Tandis que le menu est affché, tourner la molette TUNING/PRESET pour selectionner "Memory", puis appuyer sur la molette TUNING/PRESET.
- Le mode de prééglage est activé et le numéro du canal prééglé clignote pendant environ 15 secondes.

3 Lorsque le numero du canal préréglé clignote, tourner la molette TUNING/PRESET et selectionner le numero du canal préréglé souhaite.

4 Appuyez sur la molette TUNING/PRESET.
- La station actuellément syntonisée est enregistrée sous le numéro de canal prérgéle sélectionné.
- Pour prêregler d'autres canaux, repeter les étapes 1 à 4.
- Un total de 100 stations, FM et AM compris, peut être prépréçé.

- Si une station est prérégée sous un nombre de canal pour lequel une autre station est déjà prérégée, la station précédemment enregistrée est effacée et la nouvelle station est prérégée à sa place.
Opérations sur la télécommande
1 Appuyez sur la touche MEMORY.
- Le mode de prépréglage est activé.
2 Sélectionner le numéro de canal préréglé.
- Appuyer sur la touche SHIFT pour selectionner le bloc mémoire et utiliser les touches CHANNEL pour selectionner le numéro de canal.
- Le numero de canal prérgé peut également être sélectionné à l'aide des touches PRESET + et -.
3 Appuyez sur la touche MEMORY.
- La station est prêrgée.
Rappel de stations preréglées (FM/AM)
Opérations sur l'unité principale
1 Appuyez sur la touche MENU.
2 Tourner la molette TUNING/PRESET pour selectionner "Search Mode", puis appuyer sur la molette TUNING/PRESET.
3 Tourner la molette TUNING/PRESET pour sélectionner “Preset”, puis appuyer sur la molette TUNING/PRESET.
- Le mode de recherche préregée est activé.
Search Mode Preset
4 Tourner la molette TUNING/PRESET pour selectionner le numero de canal prerégèle.
FM107.95MHz AUTO A1
Opérations sur la télécommande
Selectionner le numero de canal preréglé.
- Appuyer sur la touche SHIFT pour sélectionner le bloc mémoire et utiliser les touches CHANNEL pour sélectionner le numéro de canal.
- Le numero de canal prépréglé peut également être selectionné à l'aide des touches PRESET + et -.
FRANCAIS FF
Fonctionnement

RDS (Système de données radio)
- RDS (ne fonctionne que sur la bande FM) est un service de radiodiffusion qui permet à une station d'envoyer des informations supplémentaires, en même temps que le signal de programme radio normal.
- Les trois types d'informations RDS suivants peuvent etre reçus sur cet apparéil:
Type de programme (PTY)
- PTY identifie le type de programme RDS.
- Les types de programme et leurs affichages sont les suivants:
| NEWS | Nouvelles | WEATHER | Météo |
| AFFAIRS | Affaires | FINANCE | Finances |
| INFO | Informations | CHILDREN | Programmes pour enfants |
| SPORT | Sports | SOCIAL | Affaires sociales |
| EDUCATE | Education | RELIGION | Religion |
| DRAMA | Drame | PHONE IN | Entrée téléphone |
| CULTURE | Culture | ||
| SCIENCE | Science | ||
| VARIED | Varié | TRAVEL | Déplacement |
| POP M | Musique pop | LEISURE | Loisir |
| ROCK M | Musique rock | JAZZ | Musique jazz |
| EASY M | Musique surround | COUNTRY | Musique Country |
| LIGHT M | Classique légère | NATION M | Musique nationale |
| CLASSICS | Classique sérieuse | OLDIES | Musique années soixante |
| OTHER M | Autre musique | FOLK M | Musique folklorique |
| DOCUMENT | Documentaire |

Programme de circulation (TP)
- TP identifie les programmes qui portent sur les announcements de circulation.
- Ceci vous permet de facilement trouver les dernières conditions de circulation de votre région avant de quitter la maison.
Texte radio (RT)
- R T permet à la station RDS d'envoyer des messages de texte qui apparaissent sur l'affichage.

- Les opérations décrites sous la pression de la touche DISPLAY ne fonctionneront pas dans les zones où il n'y a pas d'émissions RDS.
Recherche RDS
Utiliser cette fonction pour symponiser automatique les stations FM qui assurent le service RDS.
1 Appuyer sur la touche MENU pour selectionner le menu.
2 Tourner la molette TUNING/PRESET pour afficher "RDS".
Please Select RDS
3 Appuyez sur la molette TUNING/PRESET.
4 Tourner la molette TUNING/PRESET pour afficher "RDS Search".
RDS Search
5 Appuyer sur la molette TUNING/PRESET pour activer le mode de veille de recherche RDS.
6 Tourner la molette TUNING/PRESET dans le sens hora ou anti-horaire d'un cran seulement.
RDS,Search
- Pour commencer automatique la recherche RDS.
Levoyant RDS clignote.
Si aucune station RDS n'est trouvée avec l'opération ci-dessus, toutes les bandes de reception sont rechnées.
Lorsqu'une station de radiodiffusion est trouvee, le nom de cette station apparait sur I'affichage.
7 NO RDS
Si aucune autre station RDS n'est trouvee lorsque la recherche a ete effectuee sur toutes les frques, le message "NO RDS" s'affiche.
Fonctionnement

Recherche PTY
- Utiliser cette fonction pour couver les stations RDS diffusant un type de programme spécifique (PTY).
- Pour une description de chaque type de programme, se reporter à "Type de programme (PTY)" (1986) 11.
1 Appuyer sur la touche MENU pour selectionner le menu.
2 Tourner la molette TUNING/PRESET pour afficher "RDS".
3 Appuyer sur la molette TUNING/PRESET pour activer le mode de selection de recherche RDS.
4 Tourner la molette TUNING/PRESET pour afficher "PTY Search".
PTV Search
5 Appuyer sur la molette TUNING/PRESET pour activer le mode de selection de recherche PTY.
6 Tout en regardant l'affichage, tourner la molette TUNING/PRESET pour appeler le type de programme souhaité.
PTY NEWS
Lorsque you receivez une station RDS, son type de programme s'affiche en premier. Lorsque you ne receivez pas de station RDS, "PTY" clignote.
7 Appuyer sur la molette TUNING/PRESET pour activer le mode de veille de recherche PTY.
8 Tourner la molette TUNING/PRESET dans le sens hora ou anti-horaire d'un cran seulement.
PTY,
- Pour commencer automatiquement la recherche PTY.
Levoyant RDS clignote.
S'il n'y a pas de station diffusant le type de programme spécifique avec l'opération ci-dessus, toutes les bandes de reception sont recherches.
※ Le nom de la station est affiché sur l'affichage après l'arrêt de la recherche.
9
NO Programme
- Si aucune autre station émettant le type de programme désigné n'est trouve lors d'une recherche de toutes les fréquences, "NO Programme" s'affiche.
Recherche TP
Utiliser cette fonction pour trouver les stations RDS diffusant un programme de circulation (TP).
1 Appuyer sur la touche MENU pour selectionner le menu.
2 Tourner la molette TUNING/PRESET pour afficher "RDS".
3 Appuyer sur la molette TUNING/PRESET pour activer le mode de selection de recherche RDS.
4 Tourner la molette TUNING/PRESET pour afficher "TP Search".
TP Search
5 Appuyer sur la molette TUNING/PRESET pour activer le mode de veille de recherche TP.
6 Tourner la molette TUNING/PRESET dans le sens horaire ou anti-horaire d'un cran seulement.
P
Pour commencer automatique la recherche TP.
Levoyant RDS clignote.
※ Si aucune station TP n'est trouvee avec I'opération cidesus,toutes les bandes de reception sont recherches.
* Le nom de la station est affiché après l'arrêt de la recherche.
7
NOProgramme
Si aucune autre station TP n'est trouvee lorsqu toutes les fréquences sont recherchées, "NO Programme" est affché.
RT (Texte radio)
1 Appuyer sur la touche MENU pour selectionner le menu.
2 Tourner la molette TUNING/PRESET pour afficher "RDS".
3 Appuyer sur la molette TUNING/PRESET pour activer le mode de selection de recherche RDS.
4 Tourner la molette TUNING/PRESET pour afficher "RT ON/OFF".
RT ON/OFF
5 Appuyer sur la molette TUNING/PRESET pour activer le mode de selection RT ON/OFF.
6 Tourner la molette TUNING/PRESET pourCHOISIR "RT ON" ou "RT OFF".
RT ON
7 Appuyer sur la molette TUNING/PRESET pour activer ou arreter la fonction RADIO TEXT.
※ Si aucune donnée de texte n'est diffusée, "NO TEXT DATA" (pas de données de texte) est affché.
Fonctionnement


Changement de l'affichage des informations RDS
1 Utiliser la procEDURE décrite dans "Synthonisation automatique", "Rappel de stations préregliées" ou "Recherche RDS" pour symponiser une fréquence avec une station RDS.
2 Appuyer sur la touche DISPLAY pour changer l'information de réception RDS.
L'affichage change comme indiqué ci-dessous à chaque pression de la touche DISPLAY.


Lorsque "STATION NAME" n'a pas ete enregistrre, 1 ne s'affiche pas.
Enregistrement des noms de station
1 Sélectionner la station dont vous souhaitez régler le nom.
Example: Pour enregistrer "DENON" en tant que nom de station FM dans le canal prérégèle "A2".
2 Appuyez sur la touche MENU.
3 Tourner la molette TUNING/PRESET pour selectionner "Station name".
4 Appuyez sur la molette TUNING/PRESET.
Le mode d'entrée du nom de station est activé.
FM87,50MHz AUTO A2
5 Tourner la molette TUNING/PRESET ou appuyer sur la touche PRESET et selectionner "D".

Appuyer sur la molette TUNING/PRESET pour selectionner "D".
- Le curseur "——" commence à clignoter à l'emplacement suivant.
- Répéter les étapes 5 et 6 pour entraîer "E", "N", "O" et "N", dans cet ordre. (un maximum de 8 caractères peut être entré.)
FM 87.50MHz AUTO A2 DENON

Appuyer sur la molette TUNING/PRESET pendant au moins 2 secondes ou appuyer sur la touche MEMORY pour faire clignoter le canal prérégle "A2".
Lorsque "—" clignote, il est également possible de faire clignoter le canal préregle "A2" en appuyant sur la molette TUNING/PRESET pendant au moins 2 secondes ou en appuyant sur la touche MEMORY.

Lorsque le canal "A2" clignote, appuyer sur la molette TUNING/PRESET ou sur la touche MEMORY.
※ Le nom de la station que vous avez entre est enregistré dans la mémoire.
※ Cette procedure peut etre utilise pour enregistrer jusqu'à 100 noms de station AM/FM au choix, ayant un maximum de 8 caractères.
※ Les 63 caractères ci-dessous peuvent etre selectionnés.
※ Ecrire un " _ " (Espace) pour effacer un caractère entre.
ABCDEFGHIJKLMNOPQRSTUVWXYZ0123456789[!!#“$%&'()*+,-./;;<=>? (espace)
Mémoire de dernière fonction
- Lorsque l'alimentation est de nouveau activée en mode "on", le TU-1500AE est réglé dans le même état (bande, fréquence, numéro de canal préréglé, mode, etc.) que lorsque l'alimentation a été activée en mode "veille" la fois précédente.
- L'appareil possede également une mémoire de sauvegarde. Cette fonction fournit un stockage de mémoire lorsque l'appareil est mis hors tension et que le cordon d'alimentation est débranché.
Initialisation du microprocesseur
Si l'affichage ou l'opération n'est pas normal, utiliser la procédure décrite ci-dessous pour réinitialiser le microprocesseur.

Appuyer sur la touche ON/STANDBY ou POWER pour régler l'alimentation en mode "veille", puis débrancher le cordon d'alimentation du TU-1500AE de la prise murale.

Tout en appuyant à la fois sur les touches DIMMER et BAND, brancher le cordon d'alimentation du TU-1500AE dans une prise murale.

Vérifier que l'affichage clignote dans son intégralité à un intervalle de 1 seconde environ et relâcher les doigs des 2 touches.
- Le microprocesseur sera initiaisé.

- Si l'objet 3 ne fonctionne pas, recommencer à partir de l'objet 1.
- Lorsque le micro-processeur est réinitialisé, tous les réglages sont restaurés aux valeurs d'usine par défaut.
Dépistage des pannes
Si un problème se produit, vérifier d'abord les points suivants.
- Les connexions sont-elles correctes?
- Le récepteur a-t-il été utilisé conformément au mode d'emploi?
- Les enceintes et les autres composants fonctionnement-ils correctement?
Si l'appareil ne fonctionne pas correctement, vérifier les points enumeratedes dans le tableau ci-dessous. Si le problème persiste, il peut y avoir un mauvais fonctionnement. Debrancher immédiatement le cordon d'alimentation et contacter le revendeur.
| Symptôme Cause Remèdes Page | ||
| L'appareil ne se met pas en marche en appuyant sur le commutateur ON/STANDBY. | • La prise du cordon d'alimentation n'est pas branchée dans la prise murale. | • Brancher correctement le cordon d'alimentation. |
| Un sifflement se fait entendre sur les émissions FM. | • Le cable de l'antenne n'est pas correctement branché • L'antenne ne pointe pas dans la bonne direction. • Les ondes radio sont faibles. | • Connecter les fils correctement. • Pointer l'antenne dans la bonne direction. • Installer une antenne extérieure. |
| Un sifflement ou un bourdonnement se fait entendre sur les émissions AM. | • B ruit d'une télévision ou interférence des signaux envoyés par la station émettrice. | • Eteindre la télévision. • Changer la position du cadre d'antenne. • Installer une antenne extérieure. |
| Un grondement (ronflement) se fait entendre sur les émissions AM. | • Les signaux transmis par le cordon d'alimentation sont modulés par la fréquence de la source d'alimentation. | • Insérer la prise dans le sens opposé. • Installer une antenne extérieure. |
| Rien ne se passse lorsque vous appuyez sur les touches de la télécommande. | • Les piles sont celles usées? • La télécommande est-elle située trop loin? • Y a-t-il un obstacle entre la télécommande et l'unité principale? • Yousse apuyé sur la mauvaise touche. • Les piles n'ont pas été insérées dans le bon sens (⊕ et ⊙). | • Remplacer les piles usées par des nuves. • Rapproche-vous de l'unité principale. • Déplacer l'obstacle. • Appuyer sur la touche souhaitée. • Insérer les piles dans le bon sens. |
| Aucun son n'est émis. | • L'amplificateur connecté n'est pas en marche. • La connexion des fils à l'amplificateur est incorrecte. | • Mettre l'amplificateur en marche. • Connector correctement les fils vers l'amplificateur. |
\section*{Caracteristiques techniques}
SectiontunerFM
(Remarque: V à 75 / ohms, 0 dBf=1 x 10-15 W)
- Plage de réception: 87,5 MHz ~ 108,0 MHz
- Bornes d'antenne: 75 Ω/ohms Non balancé
Sensibilité utile: 1,0 μV (11,2 dBf)
1,2 V (IHF)
Sensibilité S/B à 50 dB
Mono:1,6 V 15,3 dBf
Stereo: 23 V (38,5 dBf)
- Rapport d'InterfERENCE Image: 80 dB
Rapport d'interfERENCE IF: 100 dB
Rapport de Suppression AM: 50 dB - Sélectivité Effective: 50 dB (±400 kHz)
Rapport de Captage: 2,0 dB - Caracteristique de Fréquence: 20 Hz ~ 15 kHz: +0,5,-1,0dB
Rapport de Signal-à Bruit
Mono 1 kHz (à unedév, de 75 kHz): 0,15 %
Stereo 1 kHz (à unedev, de 67,5 kHz): 0,3 %
- Séparation Stéreo 1 kHz (WIDE): 43 dB
SectiontunerAM
- Plage de réception: 522 kHz ~ 1611 kHz
- Bornes d'antenne: Type de borne avec cadre d'antenne
Sensibilité utile: 18 V
Rapport de signal-à-Bruit: 53 dB
Autres
Alimentation: 230 V CA, 50 Hz
Consommation: 10 W
Dimensions externes maximales: 434 (L) x 73 (H) x 286 (P) mm
Poids: 3,6 kg
Telecommande (RC-1027)
3 V CC, Type R03/AAA (deux piles)
Dimensions externes: 48 (L) x 219 (H) x 22 (P) mm
Poids: 105 g (avec les piles)
- Dans un but d'amélioration, ces caractéristiques techniques et la conception sont susceptibles de changements sans préavis.
Guida introductiva
Sommario
Guida introductiva
Accessor1
Prima dell'uso 1
Kansliget S/B à 50 dB
Mono: 1,6 V (15,3 dBf)
Stereo: 23 V (38,5 dBf)
- Spegelfrekvensdämpning: 80 dB
M ellanfrekvensdampning: 100 dB
Notice Facile