1050 SXC - Elektrobohrmaschine KRESS - Kostenlose Bedienungsanleitung
Finden Sie kostenlos die Bedienungsanleitung des Geräts 1050 SXC KRESS als PDF.
Benutzerfragen zu 1050 SXC KRESS
0 Frage zu diesem Gerät. Beantworten Sie die, die Sie kennen, oder stellen Sie Ihre eigene.
Eine neue Frage zu diesem Gerät stellen
Laden Sie die Anleitung für Ihr Elektrobohrmaschine kostenlos im PDF-Format! Finden Sie Ihr Handbuch 1050 SXC - KRESS und nehmen Sie Ihr elektronisches Gerät wieder in die Hand. Auf dieser Seite sind alle Dokumente veröffentlicht, die für die Verwendung Ihres Geräts notwendig sind. 1050 SXC von der Marke KRESS.
BEDIENUNGSANLEITUNG 1050 SXC KRESS
Elektronik-Schlagbohrmaschine
Bedienungsanleitung
Elektronische klopboormachine
Gebruiksaanwijzing
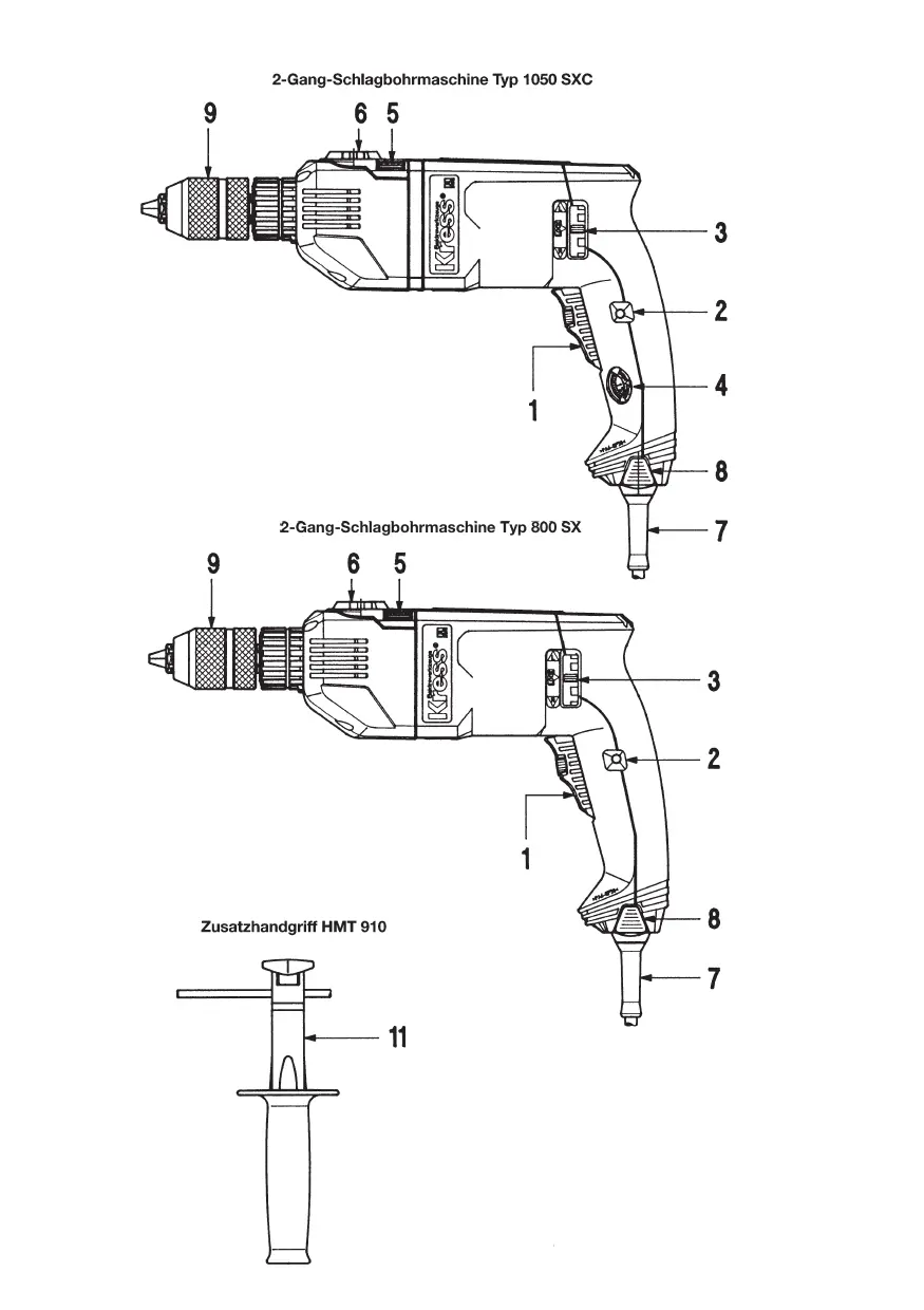
1 Ein-/Aussalter mit Vollwelleleuktronik und Stellrad für Drehzahlvorwahr
2 Feststellknopf für Dauerbetrieb
3 Drehrichtungsumschalter
4 Stellrad für Drehmoment-Vorwahl (nur Modell 1050 SXC)
5 Umschalschieber für Bohren und Schlagbohren
6 Mechanische 2-Gang-Schaltung mit LOCK-Schalter (Spindelarrettierung)
7Netzkabel-Modul
8 Verriegelung für Netzkabelmodul
9 Schnellspann-Bohrfutter
11Zusatzhandgriff
| Technische Daten | 800 SX | 1050 SXC | |
| Leistungsaufnahme | 800 W | 1050 W | |
| Leistungsabgabe | 430 W | 600 W | |
| Vollwellensteuerung | x | ||
| Vollwellenregelung | x | ||
| Rechts-/Linkslauf | x | x | |
| Anzahl der Gänge | 2 | 2 | |
| Leerlaufdrehzahl U/min | I. Gang | 0-1400 | 150-950 |
| II. Gang | 0-3300 | 300-2250 | |
| Lastdrehzahl U/min | I. Gang | 850 | 900 |
| II. Gang | 1970 | 2100 | |
| Schlagzahl 1/min | n x 24 | n x 24 | |
| Bohren in Stahl max. Ø mm | 13 | 16 | |
| Bohren in Holz max. Ø mm | 30 | 60 | |
| Schlagbohren in Beton max. Ø mm | 18 | 20 | |
| Schrauben in Holz max. Ø mm | 8 | 10 | |
| Schrauben in Blech max. Ø mm | 6,3 | 8 | |
| Spannhalsdurchmesser Ø mm | 43 | 43 | |
| Eckmaß mm | 43 | 43 | |
| Bohrfutterspanneweite Ø mm | 13 | 13 | |
| Spindelgewinde | 1/2" x 20 UNF | ||
| Gewicht kg | 2,34 | 2,56 | |
Verwendung
Die Bohrmaschine ist universell einsetzbar zum Schlagbohren in Gestein, zum Bohren und Schrauben in Holz, Metall und Kunststoffen und zum Gewindeschneiden.
Sicherheitshinweise und Unfallschutz
Bevor Sie die Maschine in Betrieb besteht,lesen Sie die Bedienungsanleitung vollständig durch, befolgen Sie die Sicherheitshinweise in dieser Anleitung sowie die Allgemeinen Sicherheitshinweise für Elektrowerkzeuge im beigelegten Heft.
Achtung!
- Beachten Sie das Blockiermoment der Maschine, z. B. bei einem Verkanten des Bohrs, oder wenn der Bohrer auf Monierstahl trift und blockiert!
- Vor dem Einsetzen der Werkzeuge in Bohrfutter oder Arbeitsspindel stets den Drehrrichtungsumschafter (3) in Mittelstellung LOCK schalten oder Netzsteckerziehen oder Netzkabel-Modul (7) durch Betatigung der Verriegelungstaster (8) aus dem Handgriff entfern!
- Kein asbesthaltiges Material bearbeiten!
- Steckdosen im Außenbereich müssen über Fehlerstrom-Schutzschalter (Fl-) abgeschichert sein.
- Um die Maschine zu kenneichnen, dar das Gehäuse nicht angebohrt werden. Die Schutzisolation wird überbrückt. Verwendten Sie Klebeschilder.
- Kabel immer nach hinten von der Maschine gegführung.
Doppelte Isolation
Unsere Geräte sind zur großmöglichen Sicherheit des Benutzers in Übereinstimmung mit den Europäischen Vorschriften (EN-Normen) gebaut. Doppelt isolierte Maschinen tragen stets das internationale Zeichen [2]. Die Maschinen
brauchen nicht geerdet zu sein. Es genegt ein zweiadriges Kabel.
Die Maschinen sind funkentstört nach EN 55014.
Inbetriebnahme
Prüfen Sie vor Inbetriebnahme, ob die Netzspannung mit der Angabe auf dem Typenschild des Gerätes übereinstimmt.
Schalter mit Feststellknopf für Dauerbetrieb
Durch Eindrücken des Schalters (1) im Handgriff wird die Maschine in Betrieb gesetzt. Zur Dauerschaltung wird zusätzlich der an der Seite des Schalters befindliche Feststellknopf (2) eingedrückt. Dauerschaltung auflösen: einfach den Schalter durchrücken, der Feststeller springt automatisch wieder hersaus.
Elektronische Drehzahlsteuerung
These Maschine ist mit einem Vollwellen-Steuerelektronik-Schalter ausgerüstet.
Mit dem Stellrad kann die benöttige Drehzahl vorgewählt werden (z. B. für Serienverschraubungen oder zum Gewindeschneiden). Der Schalter ist in jeder Stellung arretierbar.
Stellung A = niedrigste Drehzahl
Stellung G = hochste Drehzahl
Beachten Sieitte außerdem,daB die Maschine nicht langer als 2-3 Sekunden blockiert wird. Bei längerer Blockierung konnen Schaden am Motor entstehen.
Wichtig!
Der Motor kann bei andauernd starker Belastung und niedrigen Drehzahlen überhitzt werden. Motor bei hoherer Drehzahl im Leerlauf abkühlen lassen.
Drehmoment-Vorwahl + Sicherheitsleuktronik (nur Modell 1050 SXC)
Die eingebaute Vollwellenelektronik mit Tachosignalauswertung hält die Drehzahl konstant. Sie ermöglicht durch die vorwählbare Strombegrenzung (Torque-Selection) die Vorwahl z.B. eines für Serienverschraubungen bestehtigten Drehmomentes. Einstellung durch Betätigung des Stellrades (4) im Handgriff. Die richtige Einstellung ist von verschiedenen Faktoren abhängig, z.B. von der Härte des zu bearbeitenden Materials, von der Länge und dem Durchmesser der verwendeten Schrauben, so daß die richtige Einstellung zu Beginn der Arbeiten durch Versuche ermittelt werden muß.
Empfehlung
Stellung 1 = kleinstes Drehmoment Stellung 10 = großes Drehmoment
Die Elektronik hat außer dem einen Sanftanlauf. Selbst, wenn Sie den Schalter ganz durchrücken, erreicht die Maschine erst nach ca. 1 Sekunde die volte Drehzahl. Dadurch ist selbst in empfindlichen Materialien ein sanftes Anbohren möglich.
Die integrierte Sicherheitsleuktronik verhindert ein Anlaufen der Maschine, wenn Sie diese einzelmal mit versehentlich arretiertem EIN-/AUS-Schalter an das Netz anschließen sollenn. Arretierung des Betriebsschalters lösen und normal starten.
Drehrichtungsänderung
(Hauptdrehrichtigung „Rechts“)
Die Drehrichtung der Werkeugspindel wird mit dem Drehrichtungsumschalter (3) verändert.
R = Rechtslauf
L = Linklauf
Wichtig! Drehrichtungsumschafter 9 jeweils bis zum Anschlag am Gehäuse durchdrücken, d. h. bis er spürbar einrastet.
Der Drehrichtungsumschalter ist leicht zu bedieten, wenn Sie diesen mit Daumen und Zeige- bzw. Mittelfinger beidseitig betägten.
Achtung! Drehrichtungsänderung nur im Stillstand!
Schlagwerk bei Verwendung der Maschine als Schrauber unbedingt absalten. Umschaltung mit dem Umschalter (5).
Der Drehrichtigungschafter verhinder in Mittelstellung LOCK die ungewolte Betätigung des Vollwellenschalters (1), z. B. beim Werkzeugwechsel oder bei der Montage/Demontage des Bohrfutters.
Schlagbohrinrichtung
Die Maschine hat ein fest eingebautes Schlagwerk und ist umschaltbar auf Bohren und Schlagbohren. Durch Betätigung des Umschalschiebers (5) kann während des Betriebs wahlweise von Dreh- auf Schlagbohren oder umgekehrt gescheltet werden.
Stellung Bohren
Umschalschieber (5) nach links in Richtung Bohren drucken.
Stellung Schlagbohren
Umschalschieber (5) nach rechts in Richtung Schlagen drucken.
Mechanische Zweigangschaltung
Die Umschaltung erfolgt durch Drehen des Drehknebels (6) an der Oberseite der Maschine.
Stellung 1 = Maschine lauft langsam
Stellung 2 = Maschine lauft schnell
Die Zweigangschaftung bringt Vorteile beim Bohren und Hammerbohren mit keinem Bohrer-Durchmessern bis ca. 8 mm. Getriebe = Schaltstellung 2. Bei größeren Bohrer-Durchmessern und bei Ruharbeiten Getriebe = Schaltstellung 1.
Die in die Getriebeumschaltung integrierte LOCK-Funktion - Drehknebel (6) in Stellung LOCK - ist von Vorteil bei der Montage und Demontage des Bohrflutters. Die LOCK-Position erreichtert auch den Schlüsseltenwesen Werkzeugwechsel bei Verwendung eines Schnellspann-Bohrflutters und ermöglicht规模最大 Spannkaft beim Einspannen der Werkzeuge.
Sicherheits-Rutschkupplung
Die Rutschkupplung tritt in Funktion, sobald das in der Maschine eingespanne Werkzeug überbelastet, ruckartig abgebremst oder verwklemmt wird. Wahrend Motor und Getriebe weiterlaufen, bleibt das Werkzeug stehen. Motor und Getriebe sind vor Überlastung geschetzt, eine stoßartige Belastung der Zahnräder ist ausgeschlossen.
Schnellspannbohrfutter
Dieses Bohrflutter ist speziell für den Einsatz auf Schlagbohrmaschinen entwickelt worden.
Das Bohrflutter hat eine Öffnungssicherung, die ein unbeabsichtiges Lösen des Bohrwerkzeuges auch bei hohen Schlagfrequenzen verhindert.
In üblicher Weise durch Drehen der Hülse bis zum Anschlag spannen. Das hierbei deutlich hör- und spürbare Rasten bestätigt die Funktion der Spannkraftsicherung.
Sicherungsring beim Spannen und Lösen des Futters festhalten.
Schrauben
In LOCK-Position - Getriebeumschaltung (6) in Stellung LOCK - kann der Schlagbohrer auch fur manuelle Schraubarheiten, die außerhalb der Kapazität des Schraubers liegen, eingesetzten werden, z. B. zum Ausdrehen von festsitzenden, angerosteten Schrauben.
Schraubendrehereinsätze (Bits) können Sie direkt in das Bohrflutter einspannen. Verwenden Sie am besten Kreuzschlitzschrauben. Durch die Selfbstzentrierung ist sicheres Arbeiteten möglich. Beachten Sieitte, daß auch die jeweils passenden Schraubendrehereinsätze verwendet werden.
Gewindeschneiden
Der Schlagbohrer eignet sich durch die eingebaute Elektronik und die Drehrrichtungsumschaltung auch zum Schneiden von Gewinden. Die Verwendung von Maschinengewindebohrern wird empfohlen. Der Gewindebohrer wird in das Bohrflutter eingspannt. Die Elektronik ist gefuhlvoll und mit entsprechender Vorsicht zu bedienen, um ein Abbrechen der Gewindebohrer - speziell beim Schneiden von Gewinden in Grundlochem - zu vermeiden.
Das besteht Drehmoment kann über das Stellrad im Schalter (1) und über die Drehmomentvorwalt (4) vorgewählt werden.
Wichtig! Beim Gewindeschneiden nur mit niedrigen Drehzahlen arbeiten.
Wichtiger Hinweis für Maschinen mit Rechts-/Linkslauf.
Wiedermontage des Bohrfutters:
Achtung!
Vor der Demontage und Wiedermontage des Bohr-futters stets den Netzsteckerziehen oder Netzkabel-Modul (6) durch Betigung der Verriegelungstaster (7) aus dem Handgriff enternen.
Achtung!
Vor der Demontage und Wiedermontage des Bohrfutters erst Drehrichtungsumschalter (3) in LOCK-Position schalten. Damit wird die unbeabsichtigte Betätigungs des Vollwellenschalters (1) verhindert.
Muß ein defektes Bohrfutter ausgewechselt werden, prüfen Sieitte, ob das Bohrfutter mit einer Sicherungsschraube auf der Bohrspindel gesichert ist. Diese muß zuerst entfernert werden (Achtung! Linksgewindeschraube! Ausdrehen im Uhreigersinn!).
Das Bohrflutter lätt och durch einen leichten Schlag auf einen im Bohrflutter eingespannten Innensechskantschlüssel (Inbusschlüssel) lösen und abdrehen. Wiedermontage in umgekehrter Richtung.
Achtung: Vor der Montage eines neuen Bohrfutters reinigen Sieitte die Planflächen am Bohrfutter und an der Bohrspindel.
Ziehen Sie das neue Bohrflutter gut fest (30 Nm). Sicher. Sie das Bohrflutter mit der Sicherungsschraube, wenn eine solche vorhanden ist (Eindrehen der Sicherungsschraube im Gegenuhrzeigersinn).
Achtung!
Es kann - vor allem, wenn eine Sicherungsschraube nichtvorhanden ist- nicht restlos ausgeschlossen werden, daß sich das Bohrflutter im Linklauf von der Bohrspindel lösst. Beobachten Sie deshalb bei der Arbeit den einwandfrei Sitz des Bohrfutters auf der Bohrspindel.
Achten Sieitte immer auf die wichtigen Drehzahlen, für welchen Zweck Sie die Maschine auch verwenden.
Beim Polieren und Schleifen sind hohe Drehzahlen zu verwenden. Beim Bohren die Geschwindigkeiten dem zu bearbeitenden Werkstoff und dem Durchmesser des Bohrs anpassen. Hohe Drehzahlen beim Bohren in Stahl und Stein führen zu Schneller Abnutzung der Werkzeuge.
Verwenden Sie für:
Weiche Materialien (Holz und Kunststoff): WS-Spiralbohrer (Werkzeugstahl).
Stein und Beton: hartmetallbestückte Gesteinsbohrer.
Stahl und Eisen: HSS-Spiralbohrer (Hochleistungsschnellstahl).
Beachten Sie ferner, daß der Bohrfutterschlüssel bei Verwendung von Zahnkranzbohrfuttern nicht mit Ketten, Schnären oder ähnlichen Mitteln an der Bohrmaschine befestigt werden darf, und daß Arbeitsstücke gegen die Mitnahme durch den Bohrer zu sichern sind.
Wartung
Der Motor der Maschine ist dauergeschmiert und bedarf keiner besonderen Wartung. Sollen Sie jedoch die Maschine über einen längeren Zeitaum sehr stark beanspruchen, so empfehlen wir Ihnen, diese gelegentlich zu einer gründlichen Reinigung einzusenden. Sie ersparen sich unnottige Reparaturkosten und erhöhen die Lebensdauer Ihr Maschine. Ihr Motor dankt es Ihnen durchLarge Laufzeiten, wenn Sie nach jeder Arbeit regelmäßigen Staub aus dem Geblase blasen, da eine gleichbleibende Ventilatiofur die Lebensdauer wichtig ist.
Auswechseln der Kohlebürsten
TheseiArbeit und alle weiteren Servicearbeiten fuhren unsere Servicestellenchnell und sachgemab aus.
Netzkabel
Beschädigte Netzkabel * dürn nicht verwendet werden. Sie sind unverzüglich zu erneuern.
Das ist dank des neuartigen Netzkabelmodulus (6) auf einfachste Art und Weise möglich. Die beiden Verriegelungs-taster (7) drücken und Netzkabelmodul (6) aus dem Handgriff herausziehen. Neues Netzkabelmodul in den Handgriff einführen und einrasten. Netzkabel in entsprechenden Längen sind als Sonderzubehor erhältlich.
Netzkabel-Modul nur für KRESS-Elektrowerkzeuge benützen! Versuchen Sie nicht, andere Elektrogeräte damit zu betrieben!
Zusatzhandgriff
Aus Sicherheitsgründen muß beim Arbeiten mit der Schlagbohrmaschine stets der Zusammenhanggriff verwendet werden. Er ermöglich eine besonderis sichere Führung des Bohrs und zugleich exakte Einstellung der Bohrtiefe durch den Bohrtiefenanschlag.
Ziehen Sie die Spannschraube am Zusatzgriff gut fest. Nur so wird verhindert, daß sich der Zusammenhangdriff auf dem Spannhals verdrehen oder vom Gerät offen kann.
Mitgeliefertes Zubehor
Zusatzhandgriff mit Bohrtiefenanschlag
Lärm-/Vibrationsinformation
Meßwerte ermittelt entsprechend EN 50144.
Schalldruckpegel: 1050 SXC = 74+3 dB (A)
800 SX = 78^+3 dB (A)
Schalleistungspegel: 1050 SXC = 87+3 dB (A)
800 SX = 91+3 dB (A)
Arbeitsplatzbezogener
Emissionswert: 1050 SXC = 77^+3 dB (A)
800 SX = 81+3 dB (A)
Für den Bedienenden sind Schallschutzmaßnahmen erforderlich.
Die bewertete Beschleunigung beträgt typischerweise 13.2m / s^2
Umweltschutz
Kress nimmt ausgesonderte Maschinen zurrück zu ressourcenschonendem Recycling. Durch ihre modulare Bauweise konnen Kress-Maschinen sie mehr in ihre wiederverwertbaren Grundstoffe zerlegt werden. Geben Sie ihre ausgesonderte Kress-Maschine beim Handel ab, oder schiken Sie sie direkt an Kress.
Änderungen vorbehalten.
English
Electronische besturing
Mechanische twee-stunden-schakeling
Medlevererat tillbehör
- Dieses Elektrowerkzeug would meet with hoher Prazisfon gefertigt und unterliegt strengden werkseitigen Qualitätskontrollen.
- Daher garantieren wir die kostenlose Beseitigung von Fabrikations- oder Materialfehlern, die innerhalb von 24 Monaten ab Verkaufsdatum an den Endverbraucher auftreten. Wir behalten uns vor, defekte Teile auszubessern oder durch neue zu ersetzen. Ausgetauschte Teile gehen in unser Eigentum über.
- Unsachgemäß Verwendung oder Behandlung sowie die Öffnung des Gerätes durch nicht autorisierte Reparaturstellen führen zum Erlösen der Garantie. Dem Verschleib unterworfene Teile sind von Garantieleistungen ausgeschlossen.
- Garantieansprüche können nur bei unverzüglicher Meldung von Mangeln (auch bei Transportschaeden) anerkannt werden. Durch Ausführung von Garantieleistungen wird die Garantiezeit nicht verlangert.
- Bei Störungenitte Gerät mit ausgeüllter Garantiekarte und kurzer Mängelbeschreibung an uns oder die zuständige Servicestelle einsenden. Kaufbeleg befügen.
- Durch die von uns übernommenen Garantie-Verpflichtungen werden alle weitergehenden Ansprüche des Käufers - insbesondere das Recht auf Wandelung, Minderung oder Geltendmachung von Schadenersatzansprüchen - ausgeschlossen.
- Dem Käfer steht jedoch nach seiner Wahl das Recht auf Minderung (Herabsetzung des Kaufpreises) oder Wandelung (Rückgangigmachung des Kaufvertrages) zu, falls es uns nicht gelingt, evtl. auftretende Mängel innerhalb einer angemessenen Frist zu beseitigen.
- Nicht ausgeschlossen sind die Schadensersatzansprüche nach §§ 463, 480 Abs. 2, 635 BGB wegen Fehlens zugesicherter Eigenschaften.
- Die Bestimmungen nach Punkt 7 und 8 gelten nur für den Bereich der Bundesrepublik Deutschland.
Guarantee
CE Konformitätserklarung
Wir erklaren in alleiniger Verantwortung, dass这点es Produkt mit den folgenden Normen oder normativen Dokumenten übereinstimmt: siehe unter
Bisingen, im Juli 2003

Alfred Binder,
Entwicklungsliefer
Leiter Qualitätssicherung
Bundesrepublik Deutschland:
Kress-elektrik GmbH & Co. - Elektromotorenfabrik - Abt. Kundendienst/Werk 2
Hechinger Strasse 48, D-72406 Bisingen/Zollernalbkreis
Telefon +49-(0)74 76-8 74 50 - Telefax +49-(0)74 76-8 73 75
e-mail: tkd@kress-elektrik.de
Schweiz
CEKA Elektrowerkzeuge AG + Co. KG.
IndustriestraBe 2
CH-9630 Wattwil
Telefon: +41-(0)71-9 87 40 40 - Telefax: +41-(0)71-9 87 40 41
E-mail: info@ceka.ch
Elektrotechnik - Elektromaschinenbau
Braunauer Straße 1 C
A-5230 Mattighofen
Telefon: +43-(0)77 42 23 63 - Telefax: +43-(0)77 42 45 10
E-mail: office@bamberger.at
Italia
Bittesofarausfullenundaufbewahren.
| Käufer/Purchaser/Acheteur: | Verkauf durch/Dealer's name/Vendeur: |
| Kaufdatum:Date purchased:Date d'achat: | Serie No.:Serial No.:No. de série: |
| Typ:Type:Type: 800 SX/1050 SXC | Fabrikations-Nr.:Manufacturing No.:Fabrication No.: |