ZL 16 Alu - Kolo Puky - Bezplatný návod k obsluze
Najděte návod k zařízení zdarma ZL 16 Alu Puky ve formátu PDF.
Často kladené otázky - ZL 16 Alu Puky
Dotazy uživatelů ohledně ZL 16 Alu Puky
0 otázka o tomto zařízení. Odpovězte na ty, které znáte, nebo položte vlastní.
Položte novou otázku o tomto zařízení
Stáhněte si návod pro váš Kolo ve formátu PDF zdarma! Najděte svůj návod ZL 16 Alu - Puky a vezměte svůj elektronický přístroj zpět do rukou. Na této stránce jsou zveřejněny všechny dokumenty potřebné k používání vašeho zařízení. ZL 16 Alu značky Puky.
NÁVOD K OBSLUZE ZL 16 Alu Puky
Srdečné vám blahopřejeme ke koupi tohoto dětského jízdniho kola PUKY. Získali jste kvalitní vyrobek, který určité prinese hodné radosti. Tento námod k použiti obsahuje informace o montáži, bezpečném provozu a udrzbe tohoto nového jízdniho kola. V pripadě dotazu nebo problémů se obrattte na vaseho specializováneho prodejce nebo vyuzijte nás internetový kontakt: www.puky.de.
2. Zodpovednost rodiču
Pri používání produktu v souladu s učelem určeni lze celkem vyloučit nebezpečí hrozici během hraní. Uvedomte si i to,Že v dusledku prirozené potřeby po pohybu a temperamentu detí a mladistvych se mohou vyskytnout nepredvidatelné a nebezpečné situace, které vylucují zodpovědnost vyrobce. Poučte proto deti a mládež o správném zacházení s jizdním kolem, dohlížejte na ně a upozorněte je na možná nebezpečí.
Dětské jízdni kolo není vchodné pro sportovní používání (např. skoky). S jízdním kolem se smí jezdit pouze na zpevněných cestách a silnicích bez prekážek. Jízdni kolo je určeno k používání na skoky, triky a v terényu.
Pri používání détm se na něm nésmí jezdit v blízkosti schodu, svahú, strmého terénu, bazénú a jin'ych vodnich ploch. Schody v okolí t'reba zabezpečit tak, aby déti v zhádném pripadě nemohly po nich jezdit směrem nahoru ani sjíždět dolú.
Dětské jízdní kolo používejte pouze ve vchodněch oblastech a mimo verejné dopravní plochy. Neodpovidá prédpisum o podminkáché provozu vozidel na pozemních komunikacích (StVZO) a nesmí se používat v silniční dopravě. Museji se dodržovat platné národní zákonně prédpisy.
Celková povolená hmotnost tohoto jízdniho kola (jízdni kolo + gezdec + zavazadlo) je 60 kg.
Povolené zatízení nosiće zavazadla závisí na jeho provedeni (viz potisk/informace vyražené na nosiči zavazadla). V pripadě dětskych dopravnich prostředku však z bezpečnostnich duvodú nedoporučujeme je používat jako nosić zavazadel Či zátěze. Používat se smí pouze sériove zabudovaný nosić zavazadla.
Je nutné nosit vchodný oděv a uzavřenou obuv. Společnosti PUKY doporučuje nosit cyklistickou prilbu (viz príslušenstvi PUKY).
Jizdní kolo není určeno pro montáž dětské sedačky. Během používání a udřžby dbeje na mista možného zachycení.
Dětské jizdni kolo
Pomocná balancí kolečka namontujte pouze v pripadě potřeby jako pomücka pri učeni se jezdit (pro udržení rovnováhy), a to pevně, s tvarovým stykem na zadné cást konstrukčniho rámu. Používányí pomocních balancních koleček se povoluje pouze v rámci krátného casového obdóbi učeni jezdit kole, protoze s príbývajícími jízdniimi zkušenostmi vyvjéji pomocná kolečka na rám nekontrolovatelnou silu.
Zohledněte snížený brzdné účinek brzdy prědniho kola na mokrém povrchu jizdní plochy.
Náhlému, silnému brzděné rámkovou brzdoudy bista se měli vyhýbat, protože chováni dopravního prostředku během jízdy se tím náhle změné a muže zpùsobit pád.
Na dlouhych tratich z kopce je tbreba zabraniit trvalému brzděni pedálovou brzdou (silné zahrátánoje pedálové brzdy).
Čepicky ventilu pneumatik museji byt pevně utažené a nesměji byt pristupné dětem (nebezpečí spolknutí). Dodatečné nástavby a zmeny na jízdním kole (zvlást' na brzdovych zařizenich) zmení jízdnívlastnosti a mohou prědstavovat ohroženi.
4. Vybaleni a rozsah dodávek
K otevreni baleni a odstranen i ochranneho materialu nepouzivejte ostre prdmety. Mohli bystande tim neumyslnne poskodit lakovani nebodily jizdniho kola.
Držte jakýkoliv obalový material mimo dosah děti.
Vvjmete vsechny dily z obalu.
Odstrańtochrannymaterial.
Zkontrolujte uplnost a neporušenost dodávy. Ky. Pokud by něco chybělo, obratte se pržd zahájením dalsích prací na svého specializovaného prodejce.
Dodávka obsahuje (obr. A):
- Predmontované jizdní kolo
- Predmontovana riditka
- Pedály a námod k použití v sáčku, u 3-rychlostnich modelú: Dodatečné radíci kolík
5. Montáz a uvedeni do provozu
Jizdní kolo musí byt préd jizdnou prizpúsobeno telesné vysce dítete. Sedlo se musí nastavit tak, aby se země dotykaly minimálne spicky, nejlépe vsak celá bříka chodidel, aby se dosáhl rovnážný stav. Pritom je bezpodminécně nutné dodržovat značku minimální hloubkyzasunuti podpěry sedla do sedlové trubky. Dalí informace jsou uvedeny níze.
Riditka, jakoz i páky ručni brzdy a zvonek museji byt pri nastavené poloze sedla pro dite snadno dostupné.
Pritom se musi dodržovat značka minimálne hloubkyzasunuti riditek. Po nastavení fiditek pevně utáhněte stahovaci srouby. Pred uvedením do provozu zkontrolujte jizdní kolo pomoci následujćího bezpečnostniho kontrolnihoseznamu.
Pri montázi pedalü dbeje na rozlišeni mezi levotočivým, príp. pravotočivým závitem (označeni pomoci R (pravy) nebo L (levy) v blízkosti závitu na pedálove ose).
Obrázky k montázním tokynům se nacházeji na posledních stránkách tohoto námovodu.
Po montáži provedte kontrlu jízdniho kola podle bezpečnostního kontrolnéhoseznamu!
Pri montázi zohledněte, ze některé díly jsou namazané, napr. závity pedálù a svěrací kužel.
Pro montáz potbrebujete následujíci náradi (obr. B)
- Inbusový klic 6 mm (modely ZL), príp. sroubovák vel. 13 mm (modely)
- Inbusovy klic 5 mm (pouze u modelu ZL 18-3)
- Sroubovak vel. 15 mm
- Křížový šroubovák
Nárdí není současti rozsahu dodávyk.
Montáž musí velmi pečlivě provést dospěly Člověk, aby později nemohlo dojít k Úrazúm a zraněním. Vyhrad'te si na to dostatek Času. Na některych mistech je nutné, aby se šrouby utáhly určitým utahovacím momentarily. Tento utahovaci moment je uveden v newtonmetrech (například 2 Nm). Pokud se šroub dotáhne príliš malým kroutićim momentarily, můze byt spoj volné a nikoliv bezpečné. Je-li utahovaci moment príliš velký, mohou se šrouby a jiné díly poškodit a zničit. Pokud sinejste jisti, obratte se na specializovaného prodejce nebo servis.
Nejdřive odstraťe plastové ochranné krytky na kloboučkových maticích prědní a zadní nápravy a i vpředu na Cantilever brždák.
Odstraţe i plastovou folii na ochranu klik.
Odstrańte calouneni na fiditkach a nekolika otáčkami povolte šroub pod nimi na prední casti pomoci 6 mm inbusového kliče (modely ZL), prip. 13 mm šroubováku (modely Z). Nyní muzete sejmout plastový kryt pro ochranu svěracího kužele na spodním konci sloupku prední casti.
Obr.1: Riditka zasuhte do sloupku vidlice (1). Pokud to jde velmi těžko, povolte jestě vice sroub na riditkách. Riditka nastavte na požadovanou výšku, vyrovnejte je do pravoho uhlu s predním kolem a zajistěte je dotáhnutím sroubu na prední cásti (2) pomoci 6 mm inbusového klice (modely ZL), resp. 13 mm šroubováku (model Z).
Ridte se pritom značkou minimální hloubkyzasunuti na sloupku prědní Časti. Nyní opět pripevněte calounění k riditkúm.
Obr.2: Vezměte volný konec brzdoveho lanka a jeho ukončeni zasuǐte do príslušného prohloubeni na rukojeti brzdy (1). Nakonec opatrné zatáhněte za vnějsí plást' brzdoveho lanka, aby zapadl koncový doraz na nastavovacim šroubu rukojeti brzdy (2).
Pri montázi brzdohéo lanka dávejte pozor na to,aby byl rýhovany šroub brzdohéo lanka rovné usazený v pridržovaci prední odrazky. Jinak se brzda nedá správné namontovat.
Obr. 3: Ve smeru jizdy pritlacte na prednim kole pravou Cantilever brzdu smemk rafku (1).Nyni muzete ukonceni brzdoveho lankazasunout do prislu-snheho prohloubeni brzdy (2). Pokud to neni mozné, zmensete naputi brzdoveho lanka na sveracim sroubu lanka levho (ve smeru jizdy) brzdoveho ramena (viz obr.4 /pol.2) a poté stahovaci sroub lanka opet utahnete.
Obr. 4: Ujistete se, ze se obé brzdova obloze-ni nacházeji parallelné k sobě a ze jsou sprav-né vyrovnána na rafku. To znamená, ze by měla být ve vzdalenosti cca 1 mm pod horní hranou rafku.
Neni-li nastaveni správné, povolte upinací matici brzdového obloženi (1) pomoci 5 mm inbusového kliče a provedte nastavení podle vyše uvedeného popisu. Pritom opět zatahněte za brzdovou páku a upinací matici opět pevně zašroubujte (5 - 8 Nm).
Obr. 5: Otáčením nastavovaci matice nyní nastavte brzdóve rameno do středu, tzn. odstup brzdóvo obloženi < - > rafku by měl být vpravo a vlevo stejný. Potřebujete křížový sroubovák. Pritáhnutím sroubu pohněte príslušné brzdóve rameno směrem pryč od rafku, uvolněím sroubu zase směrem k rafku.
Dulezite je, aby se pritom brzdové páky několi-krát stisky, tím se rovnoměrně Rozdělí napěti brzdovych ramen na obě strany a nastavení bude učinne. Kontakt mezi tělesem brzdy a rámkm musí být na obou stranách současné.
Jestejdnouobr.4:
Napnuti brzdového lanka je na kotvici matici (2) nastaveno tak, aby mělo brzdóve obložné vždy cca 1,5 mm odstup od ráfku. Je-li třeba provest présné nastavení, musí se opět sevrít prěčnivajíc konec drátu na brzde.
Obr.6: Pri mirné opotbrebování brzlovych spaliku mužete odśroubovat rhyovaný sroub nad prědním reflektorem a brzdove špalíky po obou stranách rovnoměrně premístit blíze k rafku. Brzdu nastavte tak, aby byla brzdova obloženi vzdálena cca 1,5 mm od rafku.
Zkontrolujte préd jízdou rádnou funkčnost brzd. Pokud bude v prúběhu používání vyrobku nutné opět provést nastavení brzdy, rídte se vyše uvedenymi kroky.
Obr.7: Upozornujeme, ze jeder pedal ma pravotočivý (pro pravou stranu ve směru jízdy) a druhý pedál ma levotočivý závit (pro levou stranu ve směru jízdy). Pedály jsou na Čelní ploše šroubové osy odpovídajćim zpúsobem označeny písmenem „R“ (pravy), pripl. „L“ (levý).
Pedály pevně priśroubujte pomoci šestihranného kliče vel. 15 ke klikám (20 Nm) -šestihranny klič pritom otáčejte po obou stranách ve směru prědniho kola.
Nastavení polohy sedla
Obr. 8: Nastaveni vysky sedla: po povolení sedlove svorky pomoci 5 mm inbusového klicce se dá sedlo vytahnout. Vysku sedla nastavte tak, aby se země dotýkaly minimálne špicy,nejlépe však celá bříška chodidel, aby se dosáhl rovnovážný stav.
Pritom dbeje na následujíci:
Minimalni yśka sedla je následujić:
Z2/ZL 12:45 cm
Z6/ZL16:49cm
Z8/ZL18:53cm
Maximálíny výška sedla:
Minimálni hloubka zasunuti podpěry sedla cíni 65 mm. Na podpěře sedla se nacháží príslušná značka (viz obr. 8).
Nakonec opét utáhněte svorku sedla (utahovací moment 5-8 Nm).
Nastavení vyšky riditek: polohu sedla nastavte tak, aby dîte sedel o rovné a mělo tak zajistěno dobrý pohled. Židitka, jakoz i páky ručné brzdy a zhonek museji byt pro dîte snadno dostupné.
Utahovací moment pro upnutí prědní cásti ve sloupku vidlice: 15 Nm.
Utahovací moment pro upnutí ridítek v prední Časti: 12 Nm.
Regulace naputiretézu
Retez by mél vykazovat vertikánlí vúli cca 1,5 cm. Pri nastavení napnutí retězu postupujte následovné:
Obr. 9: Povolte obě kolové matice zadniho kola
Obr. 10: Napnuti retezu lze nyní nastavit posunutim zadniho kola v upevněni pastorku. Potom kolové matice opět utáhněte (utahovací moment 15 Nm)
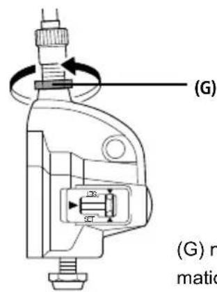
Nastavení nábojového razení (pouze 3-rychlostné modely)
Montáž radícioho koliku
Obr. 11: Vyndeje radici kolik ze sáčku a nasunte jej na doraz s Černou pruzinou nejdrive na pravou stranu (ve směru jízdy) zadné nápravy.
Obr. 12: Poté mužete na zadni napravu nasadit spinaci skřínku a dotáhnout ji 5 mm inbusovým klicem (3-5 Nm). Dalínastavení spinaci skřínky nejsou zapotrebizi.
Pokud bude během používání vyrobku opět nutné provést nastavení, postupujte následovné:

(A) nastavovaci sroub lanka
(B) posuvná tyč
(C) konec osy naboje
(D) Červena linie na posuvné tyči
(E) Žlute linie
(F) Žlutý díl levoho

Utahovacimoment: 1,5-2,5Nm
SET
Páku REVOSHIFT prépněte na 2. Poté otočte nastavovaci šroub lanka (A), abyste narovnali Červenou linii (D) na posuvné týči na konci (C) osy náboje.
POZNÁMKA
Bēhem nastavováni pomoci okénka shora zkontrolujte obě Žlute linie. Otočte kliku a pritom prepněte páku REVOSHIFT z 3 na 1 a potom zpět na 3. Tento postup zopakujte dvakrát až třikrát a zkontrolujte, zda se rychlosti zmenily. Páku REVOSHIFT opět prepněte z 1 na 2 a ujistěte se, ze je Červéna linie na posuvné tyci na konci osy náboje vyrovná. Pokud tomu tak není, musité nastavení prověst znovu.
Po nastavení spinaci Jednotky IV zajistěte
nastavovaci sroub lanka pomoci nastavovaci
matice lanka (G).



(G) nastavovaci matice lanka
Bezpečnostní kontrolníseznam
Sedlo
zabezpečné proti otočeni (5-8 Nm)*

je dodrzena značka min. hloubkyzasunuti

bríška chodidel se dotýkaj země

Riditka
je dodrzena minimaln hloubkazasunutif

tyč fidtek je zajistěna proti otočeni
(15 Nm)*

riditka jsou zajistena proti otoceni

dobre dostupna, vzprimenapoloha sedu
rukojeti jsou zajisteny proti otoceni
Ručni brzda
brzdope paky zafixovany (2 Nm),
dobr dostupné

funkce bezporuchová

brzdofé obloženi je ČiSTE, bez tuku,
správně prilélá
Pedálová brzda
funkce prekontrolovana

Retez
napnut fretezu je v poradku
(vule cca 1,5 cm)

dostatečné mazání
kryt retezu je uplny
(*utahovací momenty šroubú
v newtonmetrech)
6. Udrzba a osetrovani
Pokud lze páku ruční brzdy pritáhnout k riditkūm o vice než polovinu její drahy, aniž by se aktivovalo brzděné, musí se nastavit.
Brzdné plochy museji byt ciste a bez tuku a brzdova oblozeni museji byt vázemne rovnobězné.
Ojezdéná oblození je nutné okamžite vyměnit!
Pri jejich vyměne dbejte na to, abyste použili
originálí oblození nebo aby minimálné pasovala k materialu rafku (napr. označením: „Alloy / hliník" v pripadě hliníkovych rafkú).
Pozor prêd opotbrebovánim rafku
Stav rafku pravidelné kontrolujte a zvlast' dbejtne na obvodovou drazku opotrebovani. Obratte se vcas (pokud je drazku jiz Jen slabe videt) na specializované stredisko. Nebezpeci prasknuti a nebody!
Zkontrolujte naputí štežu a dodatečné jej nastavte(přip. uvolnéím zadniho kola, vyrov-námim a opětovným dotáhnutí).
Dbeje na správný tlak v pneumatikách (tlak vzduchu v pneumatíkách, který je nutné dodržovat, je uveden na bočnich plochách pneumatík). Poškozené nebo zdeformované součastky nenarovnávejte, ale bezpodminěčné je vyměnte. Originalní nahradní díly si obstarejte prostřednictvím vašeho specializovného prodevjce PUKY. rychle opotřebitné díly: pneumatík (včetné hadic), rafky, brzdoťe lanko, brzdóva obložné, retěž, prévodníky, rukojeti Židítek.
Vsechny udrzbové prace predpokladaji odborné vedomosti, takze bye ste si meli prizvat odbornika. Tyto cinnosti nepatri do rukou detem, mohou je ale sledovat.
Cistota a ochrana proti korozi
Vsechny lakované a kovové povrchy lze Čistit pomoci bezné autokosmetiky. Používejte pouze ekologické, v Žádném prípadě agresivní Čstici prostředky. Řezy pravidelné oleujte (oleje na štezy nebo univerzálné oleje), v prípadě potřeby Čistěte.
Bočni strany rákú (brzdové plochy) museji byt bez tuku!
Dopravní prostředek chrante prěd posypovou solí a zabraťe jeho dlouhodobějsímu skladováni ve vlhkých prostorach (např. garáži).
Pokud byeste jizdní kolo navzdory tomu chtěli skladovat ve vlhkém prostředí, chrănte jeho povrchy nelakovaných kovovych dlù (šrouby, matice) pomoci vchodné izolačné vrstvy (např. vosk ve spreji).
Náboje a kulicková ložiska by měl občas zkontrolovat odborník ohledné nastavení a namazání. Dopravní prostředek chrante prěd posypovou solí a zabraťe jeho dlouhodobějsímu skladoványí ve vlhkých prostorách (např. garáži).
Pro Čistěné dopravního prostředku nepoužívejte vysokotlák Čistěce / parní Čistěce).
7. Záruka na věcné nedostatky
Plati zakonem predepsana zaruka na vecné nedostaty. Skody, ktere vzniknou v dusledku neodborného namáhání, nasilného zásahu, nedostatečné udžby nebo v dusledku bezné
ho opotrebovani, jsou vylouceny ze zaruky na vecné nedostatky.
Přejeme vám prijemnou jizdu!
1. Introduccion
Vyplnte prosim identifikačni stitek. Identifikacni stitek je pripevn na kole, jak je uvedeno na obrázcich nizé. Pri objednani nahrad-nich dilu musite uvest informace, Jenž jsou uvedeny na toto stitku.
SnadnýManuál