ELPMB48 - 投影仪 EPSON - 免费用户手册
免费查找设备手册 ELPMB48 EPSON PDF格式.
常见问题 - ELPMB48 EPSON
用户关于以下问题的提问 ELPMB48 EPSON
0 问题 关于此设备。回答您知道的问题或提出自己的问题。
提出关于此设备的新问题
下载您的设备说明 投影仪 免费PDF格式!查找您的手册 ELPMB48 - EPSON 并重新掌握您的电子设备。本页发布了使用您的设备所需的所有文档。 ELPMB48 品牌 EPSON.
用户手册 ELPMB48 EPSON
它的印的位置为不加固定,但水平下设置可以使用。
目安上用使<
将天花板转接板从投影机转接板上卸下 119
将天花板转接板安装到天花板上 120
调节杆的长度 121
安装到混凝土天花板上 122
将投影机转接板固定到投影机上 123
将投影机转接板固定到天花板转接板上 124
调节安装位置 125
上移或下移投影图像 125
向左或向右倾斜投影图像 126
调节投影图像的大小 126
安装保险绳 127
查询 129
规格 129
随附项目列表
请检查以下列表以确认您具有所有随附项目。万一有任何项目丢失或损坏,请与经销商联系。
天花板转接板投影机转接板

天花板转接板与投影机转接板预装在一起。安装前请将其分开。
□投影机安装螺丝:4颗
(M6 x 16)
□六角扳手(M6)□六角扳手(M8)



□保险绳:4根
(1.5 m, φ1.5 mm)
□线夹:4个 □装饰板



□使用说明书 (即本说明书)

安全使用须知
请认真阅读本文档,以便安全、正确地装配本产品。请务必遵守相关的安全注意事项。请将这些说明书放在容易取阅的地方,以帮助您解答任何疑问。
本说明书内和产品上都使用了符号,指出可能对用户或他人造成的伤害以及财产受损的风险,以便您能够安全、正确地使用本产品。指示及其含义如下。请确保在阅读本说明书之前正确理解这些指示。
| 警告 | 此符号指示一些信息,若忽视这些信息,则可能由于错误处理而导致死亡或人身伤害。 |
| 小心 | 此符号指示一些信息,若忽视这些信息,则可能由于错误操作而导致人身伤害或物品损坏。 |
安装之前,请仔细阅读投影机随附的“安全使用须知/支持和维修指南”中的警告信息,以确定适合的安装位置。
| 警告 |
| 安装工作只能由具备相应技能和知识的专业人员来完成。装配或安装不当可导致投影机和吊架摔落,从而造成人身伤害。本产品重约16kg。搬运本产品时,应小心操作以免造成伤害。请勿将吊架安装到倾斜或不牢固的表面上。安装投影机和吊架的天花板须足够坚固。安装之前,请仔细核对投影机和吊架的重量。请确保天花板足够坚固,并采用最佳施工方法以防投影机摔落下来。请勿将产品安装在会发生震动或碰撞的位置。否则,产品或安装表面会出现损坏。如果产品掉落,则可能会造成死亡或人身伤害。安装吊架时务必遵照下述说明。如果安装不当,投影机和吊架可能会摔落下来,从而造成人身伤害。·检查安装位置的结构和材料,并采用最佳施工方法。·请勿在吊架上悬挂或安装除指定的投影机以外的任何物体。可在此吊架上安装的投影机清单已在名目中列出。·安装时或安装后,请勿让人悬吊在上面或对其施加过大的力量。·拧紧螺丝。此外,安装或拆卸吊架时,切勿在松开或拧下任何螺丝时有疏忽大意。·除非在本说明书另有说明,否则切勿拆解或改造吊架。 |
| 请安装随附的保险绳,以防投影机摔落下来。发生地震或振动时,保险绳还可以防止投影机左右摆动。p.127如果在投影机与吊架的固定点处涂抹粘合剂、润滑油、油或其他物品来防止螺丝松脱,则投影机外壳可能裂开,从而造成投影机损坏或人身伤害。安装或调节吊架时,请勿使用任何类型的粘合剂、润滑油或油类。安装完毕后,切勿松开任何螺栓、螺丝或螺母。此外,定期检查是否有螺丝发生松动。如果有螺丝发生松动,请将其重新拧紧。 |
| 如果出现下列情况,请勿使用吊架,并请有资质的维修人员进行维修:吊架在安装前断开或摔落下来。随附的部件有问题,无法正常使用。安装前拔下投影机的电源插头。小心处理电源线。处理不当可能会造成起火或触电。操作注意事项:不要用湿手操作电源线。请勿使用受损或改造过的电源线。请勿在可能会溅水(如户外、浴室或沐浴间)等处安装或使用投影机,请勿安装在潮湿的环境中。否则,将造成起火或电击。清洁时请勿使用湿布或酒精、苯、稀释剂等。如果水进入投影机,机壳会受损,并可能造成触电。安装过程中,请勿用力拉拽或挤压投影机的电源线。让电源电缆穿过杆时小心操作。如果电源线损坏,则可能会造成起火或触电。如果电源线发生暴露或折断,请与经销商联系。 |
| 小心 |
| 安装工作至少需要两个人。请务必准备好一个坚固的脚手架。否则,投影机可能会掉落,造成伤害。 |
有关投影机安装位置的注意事项
安装之前,请仔细阅读投影机随附的“安全使用须知/支持和维修指南”中的警告信息,以确定适合的安装位置。尤其要注意以下事项。
- 安装投影机的地点应确保直射的阳光或荧光灯的强光不会照射到遥控器的接收器上。如果有强光照射到遥控器的接收器上,可能会干扰遥控器的正常使用。
- 投影机的安装位置应远离空调或其他类似设备的出气口。如果空调中的空气直接吹到投影机,则周围温度会上升,投影机可能工作不正常。
- 确保投影机和墙壁之间没有太大的缝隙。请参阅投影机随附的使用说明书以详细了解必要的距离。如果投影机离墙太近,则周围温度会上升,投影机可能工作不正常。
- 为限制外部噪音所造成的影响,建议在安装投影机时,尽量不要让连接计算机或其他设备的电缆长度超过20米。
- 投影机应安装在没有灰尘和湿气的地方,以防将镜头和内部光学元件变脏。
- 请勿在超出其操作温度范围的地方安装投影机,否则,可导致故障。
- 在明亮的房间内拉上窗帘会更容易看清投影图像。
安装
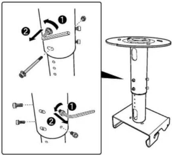
将天花板转接板从投影机转接板上卸下
天花板转接板在出厂时固定在投影机转接板上。通过以下步骤可以将它们分开。
步骤

使用随附的M8六角扳手,将两侧垂直倾斜调节点的螺丝拧下。

从投影机转接板上卸下天花板转接板。
将天花板转接板安装到天花板上
在安装天花板转接板之前,先确定到屏幕的距离并将安装位置确定下来。
该距离因投影机上安装的镜头单元的类型而异。请参阅投影机“使用说明书”。
步骤
参见下面的天花板图样,在上面开出安装螺栓的孔。

天花板图样 (单位:mm)
注
卸载ELPMB22后安装本产品时,您可以使用天花板上的安装孔。
安装后,左右旋转投影机不能超过 ± 5 度。安装前检查投影机是否面对正确的方向。
注
事先通过将装饰板安装到调节杆,盖住杆和天花板表面之间的缝隙。将调节杆穿过装饰板上的孔,然后拧紧板上的螺丝以将其固定。

步骤

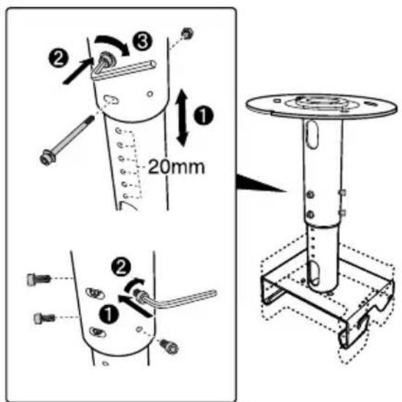
使用随附的M8六角扳手将两颗固定螺栓卸下。
使用随附的M6六角扳手将两端的四颗辅助螺丝拧下。

杆上共有八个长度调节孔,以 20 ~mm 为间隔排列。让相应的两个调节孔与固定螺栓的孔对齐,然后将两颗固定螺栓放入孔中并拧紧。
使用随附的M6六角扳手将两端的四颗辅助螺丝拧紧。
安装到混凝土天花板上
在混凝土天花板上安装吊架时,请使用4颗锚定螺栓(M12)。您需要购买市售的锚定螺栓。
小心
安装天花板转接板前,请检查投影机是否面对正确的方向。
警告
- 应预先确保安装本产品的混凝土面可以承受投影机及吊架的重量和横向移动。如果混凝土不够坚固或已变质,请用铁筋或类似的东西进行加固。
- 请按照制造商指定的规格和方法安装锚定螺栓,以确保它们不会露出、松脱或移位。
- 安装过程中或调节完角度后,请拧紧螺丝。
拧紧螺丝后,请再次用力拧动一下,确保它们不会松脱。
- 对于墙壁强度不够或安装不当造成的损坏或伤害,Epson 不承担任何责任。

天花板转接板可以水平旋转 ± 5 度。通过松动四个螺栓可以调节投影机的方向。调节好角度后,请将六角螺母拧紧。

警告
拧紧螺丝。
拧紧螺丝后,请再次用力拧动一下,确保它们不会松脱。
- 请安装随附的保险绳,以防投影机摔落下来。 p.127
- 如果在投影机与吊架的固定点处涂抹粘合剂、润滑油、油或其他物品来防止螺丝松脱,则投影机外壳可能裂开,从而造成投影机损坏或人身伤害。安装或调节吊架时,请勿使用任何类型的粘合剂、润滑油或油类。
步骤


① 安装投影机时使投影机转接板上的与投影机镜头在同一侧。
将吊架固定点上的螺丝孔对准投影机转接板的孔。请参阅投影机“使用说明书”,了解投影机吊架固定点的位置。
使用随附的M6六角扳手拧紧投影机转接板上螺丝孔中的四颗螺丝(M6×16)。
拧紧和固定其余三颗螺丝。
小心
使用随附的螺丝将投影机转接板安装到投影机。
步骤

将投影机转接板的轴放入天花板转接板的凹槽中,然后将其稳稳地放到马蹄形的点上。完成安装之前,不要将手从投影机上挪开。

将垂直角度调节点的螺丝(从投影机转接板上卸下天花板转接板时取下的)放入螺丝孔中。
如左图所示,使用随附的M8六角扳手将角度调节点的两颗螺丝拧紧,以便固定投影机。
有关调节投影机角度的详细信息,请参阅下一部分“调节安装位置”。
以标记的高度拧紧螺丝,使投影机尽量保持水平。这些标记可用作参考。

如左图所示,使用随附的M8六角扳手固定水平滚动调节点的四颗螺丝拧紧,以便固定投影机。
有关调节投影机角度的详细信息,请参阅下一部分“调节安装位置”。
调节安装位置

警告
- 调节位置时,切勿在毫无必要的情况下松开或卸下任何螺丝。否则,有可能导致投影机摔落并引起事故。
- 调节好后,请重新拧紧所有螺丝并确保它们不会松开。
上移或下移投影图像
当图像投影高度比屏幕高或低时,请使用投影机的镜头移位功能调节投影位置。
当投影位置的垂直移动距离超出镜头移位功能的可调节范围时,通过向上倾斜投影机5度和向下倾斜25度来调节投影位置。


倾斜投影机时,投影图像可能会发生扭曲。扭曲成梯形的图像可利用梯形校正功能进行校正。
但是,随着倾斜角度的增大,图像会变得模糊不清。
有关镜头移位功能和梯形校正功能的详细信息,请参阅投影机随附的“使用说明书”。
步骤

使用随附的M8六角扳手松开左右垂直角度调节点的两颗螺丝。
②沿垂直方向倾斜投影机后端以调节角度,直至投影图像的位置与屏幕相适应。
调节好角度后,使用M8六角扳手将两侧的螺丝拧紧。
向左或向右倾斜投影图像
当相对于屏幕向右或向左倾斜投影图像时,将投影机倾斜 ± 5 度,从而调节投影位置。


步骤

使用随附的M8六角扳手松开前后水平滚动角度调节点的四颗螺丝。
向左或向右倾斜投影机以调节角度,直至投影图像的位置与屏幕相适应。
调节好角度后,使用M8六角扳手将两侧的螺丝拧紧。
调节投影图像的大小
当屏幕上的投影图像太大或太小时,先调节投影机上的图像大小。有关调节图像大小的详情,请参阅投影机随附的“使用说明书”。
要调节图像大小,可以按照以下步骤将投影机向前或向后滑动 ± 30mm 。


步骤

使用随附的M8六角扳手松开前后滑动调节点的四颗螺丝。
② 向前或向后滑动投影机以调节投影的图像,直至其适合屏幕。
调节位置后,用M8六角扳手将螺丝固定。
安装保险绳

在天花板上安装投影机后,采取额外措施将其固定好,以防掉落或滚动。
使用线夹以对角线方式将随附的保险绳穿过投影机转接板,以防投影机掉落。
警告
- 应预先确保安装本产品的混凝土面可以承受投影机及吊架的重量和横向移动。如果混凝土不够坚固或已变质,请用铁筋或类似的东西进行加固。
- 请按照制造商指定的规格和方法安装锚定螺栓,以确保它们不会露出、松脱或移位。
步骤

① 将四颗市售的锚定螺栓在每个对角线的末端固定到天花板上。
建议您将锚定螺栓固定在距投影机中心1米的范围内。
使用M12锚定螺栓。

② 将四根保险绳拴绕到四颗螺栓上并牢牢固定好。
确保保险绳的套圈位于平面垫圈之下,然后拧紧六角螺母。

松开线夹的螺丝,然后让保险绳的末端穿过线夹及投影机转接板上的孔。
将保险绳的末端从投影机转接板下拉出并使其穿过线夹。
将保险绳尽量拉紧,但不要引起投影图像移动,然后拧动线夹的螺丝(不要拧紧),从而将保险绳固定好。
小心
安装好保险绳之后,请检查以下事项。万一保险绳发生任何损坏,请用市售的直径不小于1.5mm的钢丝绳进行替换。
保险绳没有磨损或开线。
- 保险绳未沿平面垫圈或其他物体的边缘呈大角度弯折。

对其他保险绳重复步骤3-5,同样将其固定到投影机转接板上。
⑦ 安装完保险绳之后,请沿图中所示的方向移动所有线夹并拧紧线夹上的螺丝。

小心
- 如果随附的保险绳相对于投影机的安装位置而言太短,可使用市售的直径不小于 1.5 ~mm 的钢丝绳替代。
- 安装完成后,请将多余的钢丝绳截掉。
查询
相关的查询事宜可接洽投影机说明书中所列的联系人。
规格
| 外形尺寸 400 (宽) x 428 (高) x 330 | (深) mm | |
| 净重 约 16 kg | ||
| 最大负载容量 约 75 kg | ||
| 可调节范围 垂直倾斜调节 5 至 -25° | ||
| 水平滚动调节 0 至 | ±5° | |
| 水平旋转调节 0 至 | ±5° | |
| 前/后 | ±30 mm | |

垂直倾斜调节

水平滚动调节

水平旋转调节

前/后
目錄
隨附物品清單 132
安全使用須知 133
投影機安装位置的注意事項 134
安装 135
將天花板安裝板從投影機安裝板上移除 135
將天花板安装板安装至天花板 136
調整安裝桿長度 137
安装至混凝土天花板 138
將投影機安裝板安裝至投影機 139
將投影機安裝板安裝至天花板安裝板 140
调整安装位置 141
將投影的影像向上或向下移動 141
將投影的影像向右或向左傾斜 142
调整投影影像的大小 142
安裝安全線 143
疑問 145
規格 145
随附物品清單
請檢查下列清單,確定具有所有隨附的物件。如發現任何物件欠缺或損壞,請與經銷商聯絡。
□天花板安装板□投影機安装板

天花板安裝板和投影機安裝板已預先組裝完成。請在開始安裝之前先將其分離。
□投影機安裝螺絲:4顆(M6×16)
□六角扳手(M6)
□六角扳手(M8)



請仔細閱讀本文件,以安全正確地組裝及安裝本產品。請務必遵守安全注意事項。請將這些使用須知置於容易取得的地方,以便需要時可隨時參考。
本說明書中和產品上皆有標示符號,提醒用戶或其他人可能發生的傷害及造成財產損失的風險,讓您能安全且正確地使用產品。使用須知及其意義說明如下。請務必先正確瞭解使用須知,再閱讀說明書。
| 警告 | 若忽略此符號的指示資訊,可能導致處理不當,造成人員傷亡。 |
| 小心 | 若忽略此符號的指示資訊,可能導致處理不當,造成人身傷害或受損。 |
在開始安裝之前,請先仔細閱讀投影機隨附之「安全使用須知/支援及維修手冊」中的警告事項,以判斷適合安裝投影機的位置。
警告
- 必須由具備相關專業知識及技術之專業人員進行此安裝作業。
組裝或安裝方式錯誤可能會導致投影機和天花板安裝配件掉落,並造成人身傷害。
本產品的重量約16公斤。搬運或移動產品時,應小心處理,以免造成受傷。 - 請勿將天花板安裝配件安裝在傾斜或表面脆弱的天花板上。
天花板必須夠堅固,才能安裝投影機與天花板安裝配件。開始安裝之前,請先仔細檢查投影機與天花板安裝配件的重量。請務必確定天花板夠堅固,並使用最適當的方式安裝,以避免投影機掉落。
- 請勿將本產品安裝於容易受到震動或衝擊的位置,
否則本產品或安裝表面可能會受損。如果產品掉落,可能導致死亡或人員受傷。
- 請務必依照以下指示安裝天花板安裝配件。若安裝方式錯誤,可能會導致投影機和天花板安裝配件掉落,並造成人身傷害。
·請檢查安裝位置的結構與材料,並使用最適當的方式進行安裝。
·請勿將指定之投影機以外的任何其他物件懸掛或安裝在天花板安裝配件上。可安裝在此天花板安裝配件上的投影機皆列示在目錄中。
·請勿在安裝時或安裝之後,在天花板安裝配件上懸掛任何東西或加諸過重的壓力。
·請將螺絲鎖緊。在安裝或移除天花板安裝配件時,請務必小心,切勿因疏忽而鬆開及移除螺絲。
·除非本說明書指示,否則請勿拆解或改製天花板安裝配件。
請安裝所有隨附的安全線以避免投影機掉落。
安全線亦可避免投影機在發生地震或天花板震動時產生搖晃。第143頁
- 在投影機與天花板安裝配件連接的位置塗上固定螺絲的黏著劑、潤滑劑、潤滑油或其他物質,可能會造成安裝配件破裂或投影機掉落,而導致損害或受傷。因此安裝或調整天花板安裝配件時,請勿使用任何類型的黏著劑、潤滑劑或潤滑油。
| 警告 |
| ●請勿在安裝好配件之後鬆開任何螺栓、螺絲或螺帽。請定期檢查螺絲是否鬆脫。若發現螺絲鬆脫,請立即將其鎖緊。 ●在下列情況下,請勿使用天花板安裝配件,並由合格的服務人員執行所有維修工作: •安裝之前,天花板安裝配件脱落或受損。 •隨附的零件有問題且無法正常運作。 ●安裝前應拔除投影機的電源插頭。 ●小心處理電源線。 不當處理可能導致起火或觸電。處理時應遵守以下事項: •手溼時切勿碰觸電源線。 •切勿使用已破損或改裝過的電源線。 ●請勿在投影機可能碰到水的位置安裝或使用投影機,例如室外、浴室內或淋浴間等,亦不得安裝於高溼度的位置。 這可能導致起火或觸電。 ●清潔時,切勿使用溼布或酒精、揮發油、稀釋劑等。 如果水滲入投影機內,外殼的性能可能降低及發生破裂情形,進而導致觸電危險。 ●安裝時請勿強行拉扯或擠壓投影機的電源線。將電源線穿過安裝桿時,請特別小心。 如果電源線受損,可能導致起火或觸電。若電源線中的金屬電線外露或損壞,請與您的經銷商聯絡。 |
| 小心 |
| 至少需由兩名工作人員進行安裝作業。請務必提供穩固的鷹架以執行安裝作業。 否則您可能會墮落,或投影機可能會掉落,而造成人身傷害。 |
投影機安裝位置的注意事項
在開始安裝之前,請先仔細閱讀投影機隨附之「安全使用須知 / 支援及維修手冊」中的警告事項,以判斷適合安裝投影機的位置。尤其必須特別注意下列事項。
- 請將投影機安裝在不會受到陽光直射或螢光燈之強力光線照射到遙控訊號接收器的地方。若有強光照射在遙控訊號接收器,可能會影響遙控器操作。
- 請將投影機安裝在遠離冷氣機或其他裝置之出風口的位置。如果空間的空氣直接吹向投影機,周遭溫度會升高且投影機可能無法正常運作。
- 請在投影機與牆壁之間保留足夠的空隙。關於距離規定的詳細資訊,請參閱投影機隨附的使用說明書。如果投影機太靠近牆壁,周遭溫度會升高且投影機可能無法正常運作。
- 為了避免外接裝置產生雜訊,我們建議您將投影機安裝在和電腦或其他裝置連接時,訊號線不會超過20公尺的地方。
- 投影機必須安裝在沒有灰塵或水氣的地方,以避免鏡頭及內部光學零件髒汗。
- 請勿將投影機安裝在室溫超出其運作溫度範圍的地方,這樣可能會導致投影機故障。
若是安裝在明亮的房間中,請關上窗簾,以便可清楚觀看影像。
安装
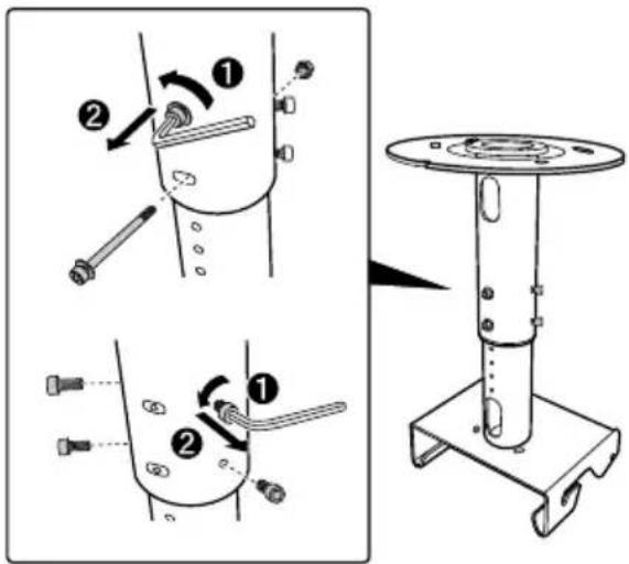
將天花板安裝板從投影機安裝板上移除
投影機出廠時已經預先將天花板安裝板和投影機安裝板組裝在一起。請透過以下步驟將其分離。
步骤

使用隨附的M8六角扳手將兩端垂直傾斜調整點上的螺絲移除。

将天花板安装板從投影機安裝板上移除。
將天花板安装板安装至天花板
在安裝天花板安裝板之前,請先判斷及決定螢幕與投影機安裝位置的距離。
視投影機中安裝的鏡頭裝置類型不同,適當的安裝距離也會有所差異。請參閱投影機隨附的「使用說明書」。
步
請參閱以下天花板樣板圖例,在天花板上鑲出正確的螺栓安裝孔。

天花板樣板(單位:mm)

注意
在移除ELPMB22後安装本產品時,可使用天花板既有的安裝孔。
完成安裝後,無法向左或向右旋轉投影機超過 ± 5 度。安裝前,請確定投影機朝向正確的方向。
注意
您可事先將裝飾板安裝至安裝桿,以隱藏安裝桿與天花板表面之間的缺口。將安裝桿穿過裝飾板的開孔,然後在裝飾板上鎖上螺絲加以固定。

步

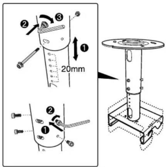
① 請使用隨附的M8六角扳手將兩個固定螺栓移除。
2 請使用隨附的M6六角扳手將兩側的四顆輔助螺絲移除。

3 安装桿上有八個長度調整孔,其間隔為20mm。將兩個適當的調整孔與固定螺帽的鎖入孔對準,並將兩個固定螺帽穿入孔中,然後鎖緊。
4 請使用隨附的M6六角扳手鎖緊兩側的四顆輔助螺絲。
安装至混凝土天花板
將天花板安裝配件安裝至混凝土天花板時,請使用4個錨狀螺栓(M12)安裝。您必須另行購買錨狀螺帽。
小心
安装天花板安装板前,請確定投影機朝向正確的方向。
警告
- 請先確定要安裝本產品的混凝土天花板足以支撐投影機和天花板安裝配件的重量,及其在橫向移動時產生的力量。若混凝土不夠堅固或已老化,請先使用強化棒或類似物件將其強化。
- 請依照錐狀螺栓製造商指定的規格及方式安裝螺栓,以避免螺栓脱落、鬆脫或移動。
- 在安裝時或調整好角度之後,將螺絲鎖緊。 鍾緊螺絲之後,請再次將其牢牢鎖緊並確定沒有鬆脫。
- 因牆壁支撑強度不夠或不當安裝所造成的任何損壞或傷害,Epson概不負責。

天花板安裝板可在 ± 5 度的範圍內水平旋轉。使用未完全鎖緊的四個螺栓來調整投影機的方向。調整好方向之後,將六角螺帽鎖緊。

警告
請將螺絲鎖緊。
鎖緊螺絲之後,請再次將其牢牢鎖緊並確定沒有鬆脫。
- 請安裝所有隨附的安全線以避免投影機掉落。第143頁
- 在投影機與天花板安裝配件連接的位置塗上固定螺絲的黏著劑、潤滑劑、潤滑油或其他物質,可能會造成安裝配件破裂或投影機掉落,而導致損害或受傷。因此安裝或調整天花板安裝配件時,請勿使用任何類型的黏著劑、潤滑劑或潤滑油。
步驟

① 安裝投影機時,確定投影機安裝板上的 與投影機的鏡頭位於同一側。
將天花板安裝配件固定點的螺絲孔,對齊投影機安裝板的開孔。關於投影機天花板安裝配件固定點位置的詳細資訊,請參閱投影機隨附的「使用說明書」。
使用隨附的M6六角扳手,將隨附的四顆螺絲(M6×16)鎖緊至投影機安裝板的螺絲孔。
鎖緊並固定三顆剩下的螺絲。
小心
將投影機安裝板安裝至投影機時,務必使用隨附的螺絲。
步

将投影機安裝板的手柄插入天花板安裝板的溝槽中,並將其穩固地置入馬蹄形的固定點。
在安裝完成之前,請勿將您的手從投影機上放開。

在天花板安裝板從投影機安裝板上拆下時,將拆下的垂直角度調整點螺絲插入螺絲孔中。
如左圖所示,使用隨附的M8六角扳手將角度調整點中的兩顆螺絲鎖緊以固定投影機。關於調整投影機角度的詳細資訊,請參閱下一個章節「調整安裝位置」。
將螺絲固定在這些標誌所在的高度
上,使投影機儘量呈水平狀態。
請以此作為安裝時的參考依據。

如左圖所示,使用隨附的M8六角扳手將水平轉動調整點中的四顆螺絲鎖緊,以固定投影機。
關於調整投影機角度的詳細資訊,請參閱下一個章節「調整安裝位置」。
调整安装位置

警告
調整位置時,若非必要,請勿鬆開或移除任何螺絲。
這樣做可能會導致投影機掉落而發生意外。
- 調整好之後,請將所有螺絲重新鎖緊並確定沒有鬆脫。
將投影的影像向上或向下移動
當影像投影位置比螢幕高或低時,請使用投影機鏡頭移動功能來調整投影位置。
移動投影機垂直投影位置時,若需移動的範圍超過鏡頭移動裝置的可調整範圍,可將投影機傾斜,在向上5度、向下25度的範圍內調整投影位置。


傾斜投影機時,投影的影像可能會扭曲。若影像以梯形的方式扭曲,可使用梯形修正功能修正影像。
但是當傾斜角度增加時,影像便會失焦。
關於鏡頭移動及梯形調整的詳細資訊,請參閱投影機隨附的「使用說明書」。
步驟

使用隨附的M8六角扳手,將左右垂直角度傾斜調整點上的兩顆螺絲鬆開。
(2) 將投影機後側向垂直方向傾斜以調整角度,直到影像投影位置與螢幕相符為止。
3 調整好角度之後,請使用M8六角扳手將兩端的螺絲鎖緊。
將投影的影像向右或向左傾斜
當投影的影像向螢幕右側或左側傾斜時,請讓投影機傾斜 ± 5 度以調整投影位置。


步

使用隨附的M8六角扳手,將前後水平角度傾斜調整點上的四顆螺絲鬆開。
(2) 將投影機向左或向右轉動以調整角度,直到影像投影位置與螢幕相符為止。
3 調整好角度之後,請使用M8六角扳手將兩端的螺絲鎖緊。
调整投影影像的大小
當螢幕上的投影影像太大或太小時,請先嘗試在投影機上調整影像大小。關於調整影像大小的詳細資訊,請參閱投影機隨附的「使用說明書」。
若要調整影像大小,可根據以下步驟向前或向後滑動投影機 ± 30mm 。


步

使用隨附的M8六角扳手,將前/後滑動傾斜調整點上的四顆螺絲鬆開。
② 向前或向後滑動投影機以調整投影影像,直到符合螢幕大小。
3 調整好位置之後,請使用M8六角扳手將螺絲鎖緊。
安裝安全線

將投影機安裝至天花板後,應特別注意將其固定好,以免發生掉落或轉動情形。
使用安全線夾以對角線方式穿過投影機,以避免投影機掉落。
警告
- 請先確定要安裝本產品的混凝土天花板足以支撑投影機和天花板安裝配件的重量,及其在橫向移動時產生的力量。若混凝土不夠堅固或已老化,請先使用強化棒或類似物件將其強化。
- 請依照錨狀螺栓製造商指定的規格及方式安裝螺栓,以避免螺栓脱落、鬆脫或移動。
步驟
在1公尺範圍內(建議)
在1公尺範圍內(建議)

锚狀螺栓(M12)

① 將另購的四個錨狀螺栓,安裝在天花板上各對角線的末端。
我們建議將錨狀螺栓安裝在距離投影機中心點1公尺的範圍內。
請使用(M12)锚狀螺栓。
2 將四條安全線以環繞方式纏繞在四個螺栓上,然後將其牢牢固定。
請確定安全線纏繞在平面墊圈下方,然後將六角螺帽鎖緊。

3 風開安全線夾的螺絲,然後將安全線的末端穿過安全線夾及投影機安裝板上的孔洞。
将安全線的末端從投影機安裝板下方拉出,並將其穿過安全線夾。
在投影的影像沒有移動的情況下,請盡可能將安全線拉緊,然後將安全線夾的螺絲稍微鎖緊以固定安全線。
小心
安裝好安全線後,請檢查下列事項。若安全線受損,請使用市售直徑 1.5mm 或更粗的安全線來替代。
- 安全線沒有磨損或散開。
- 安全線沒有因為嚴重彎曲而接觸到平面墊圈的邊緣或其他物件。

⑥ 重複執行步驟3至5安装
其他安全線,並將其固定在投影機安裝板上。
⑦ 安裝好安全線後,請將所有的安全線夾依圖示方向移動,然後鎖緊安全線夾的螺絲。

小心
- 若隨附的安全線太短,不適合在您安裝投影機的地方使用,請使用市售直徑 1.5mm 或更粗的安全線來替代。
- 安裝好後,請將安全線過長的部分剪掉。
疑問
若有任何疑問,可透過投影機使用說明書中提供的聯絡資訊與我們聯絡。
規格
| 尺寸 400 (寬)×428 (高)×330 (深) | mm | |
| 重量 約16 公斤 | ||
| 最大負載能力 約75 公斤 | ||
| 可調整範圍 垂直傾斜調整 5 至 -25° | ||
| 水平轉動調整 0 至 | ±5° | |
| 水平旋轉調整 0 至 | ±5° | |
| 前/後滑動 | ±30 mm | |

垂直倾斜调整

水平轉動調整

水平旋轉調整

前/後滑動
简易说明书