AGM1096P - Máy xay Ferm - Hướng dẫn sử dụng miễn phí
Tìm hướng dẫn sử dụng thiết bị miễn phí AGM1096P Ferm ở định dạng PDF.
| Thông số kỹ thuật | Máy nghiền thực vật điện, công suất 2400 W, khả năng nghiền đến đường kính 40 mm. |
|---|---|
| Sử dụng | Lý tưởng để nghiền cành, lá và rác vườn, sử dụng ngoài trời. |
| Bảo trì và sửa chữa | Kiểm tra lưỡi dao thường xuyên, làm sạch bình chứa sau mỗi lần sử dụng. |
| An toàn | Trang bị công tắc an toàn, sử dụng găng tay khi xử lý rác thải. |
| Thông tin chung | Trọng lượng thiết bị: 22 kg, bảo hành 2 năm, kích thước: 70 x 50 x 100 cm. |
Câu hỏi thường gặp - AGM1096P Ferm
Câu hỏi của người dùng về AGM1096P Ferm
0 câu hỏi về thiết bị này. Trả lời những câu bạn biết hoặc đặt câu hỏi riêng.
Đặt câu hỏi mới về thiết bị này
Tải xuống hướng dẫn cho thiết bị của bạn Máy xay ở định dạng PDF miễn phí! Tìm hướng dẫn của bạn AGM1096P - Ferm và lấy lại thiết bị điện tử của bạn. Trên trang này được đăng tải tất cả các tài liệu cần thiết để sử dụng thiết bị của bạn. AGM1096P thương hiệu Ferm.
HƯỚNG DẪN NGƯỜI DÙNG AGM1096P Ferm
Khong nhán vao nut khóa truc chinh
trong khi dong co dang chay.

Nguy co chay.

Khong vut bo san pham trong cac thung chura khong thich hop.

San pham rát phu hop voi cac tieu chu an toan ap dung trong cac chi thi chau Au.
1. NHUONG CHI DAN AN TOAN

Doc cac canh bao an toan kem theo, cac canh bao an toan va huong dan bo sung. Vioc khong tuan theo cac canh bao an toan va cac huong dan co the dan den dien giat, hao hoan va /hoac thuong tich nghiem trong. Hay giu taf ca cac canh bao an toan va huong dan de tham khao ve sau.
Hày doc tát ca cac canh bao an toan va tát ca cac huóng dān. Vièc khong tuàn theo cac canh bao va huóng dān co the dan dén dien giāt, hǎo hoàn và /hoac thuong tich nghiem trong.
Các ký hieu sauiday duoc su dung trong huóng dan su dung hoac tren san pham:

Luru tát ca cac canh bao va huóng dān de tham khào trong vè sau.
Thuat ngu "dung cu dien"trong phan canh bao la de cap den su su dung dung cu dien cua ban, loai su dung dien ngon (co day cam dien) hay vanhanh bang pin (khong day cam dien)
1)Khu vuc lam viec an toan
a) Gi'rii lam viec lam viec sach va du anh sang. Noi lam viec bua bon va toi tam de gay ra tai nan.
b) Khong vān hànng dung cu dien trong moi truong de gay no, chang han nuo noi co chat long de chay, khi dot hay rac. Dung cu dien tao ra cac tia lua nén co the lam rac ben chay hay boc khoi.
c) Khong de tre em hay nguroi den xem dung gan khi van hanh dung cu dien. Su phan tam co the dan den mat dieu khien.
2) An toan dien
a) Phich cam cua dung cu dien phai thich hop voi o cam. Khong bao giouc cai bién lai phich cam duoi moi hinh thu. Khong duoc su dung phich tiep hop nao tiep dat (day mat). Phich cam nguyen ban va o cam dung loai se lam giam nguy co bi dien giat
b) Tranh khong de than the tiep xuc voi dat hay cac vát có be mam tiep dāt nhur duong ong, lo suoi, hang rao va tu lanh. Co nhieu nguy co bi dien giat hon néu co the ban bi tiep hay nao dát.
c) Khong duoc de dung cu dien ngoai mua hay o tinh trang am uot. Nuoc vao may se lam tang nguy co bi dien giat.
d) Khong duoc lam dung day dan dien. d) Khong bao giouc nam day dan de xach, keo hay rut phich cam dien nguan dien cam tay. Khong de day gan noi co nhiet do cao, dau nhot, vat nhon ben hay bo phan chuyen dong. Lam hong hay cuon quan day dan lam tang nguy co bi dien giat.
e) Khi su dung dung cu dien ngoai troi, dung day nao thich hop cho viec su dung ngoai troi. Su dung day nao thich hop cho viec su dung ngoai troi lam giam nguy co bi dien giat.
f) Neu viec su dung dung cu dien o noi am uot la khong the tranh khoi, dung dung cu ngat mach tu dong (RCD) bao vengn. Su dung dung cu ngat mach tu dong RCD lam giam nguy co bi dien giat.
3) An toan ca nhān
a) Hay tinh tao, biét rō minh dang lam gi va hyay su dung y thuc khi vān hanh dung cu dien. Khong su dung dung cu dien khi dang mōi hay dang bi anh huong cua chat gay nghién, ruou hay duoc pham. Môt thoáng mat tap trung khi dang vān hàngh dung cu dien co the gay thuong tich nghiém trong cho bàn than.
b) Sû dung thiet bi bao hô ca nhân. Luon deo kinh bao vê mat. Trang bi bao hô nuh khau tranq, giay chong truot, non bao hô, hay dung cu bao vê tai khi duoc su dung dung noi dung cho sé lam giam nguy co thuong tat cho ban than.
c) Phong tranh may khoi dong bat ng. Bao dam cong tac may o vi tri tat truck hki cam vao ngon dien va/hay lap pin vao, khi nhac may len hay khi mang xach may. Ngang ngon tan yao cong tac may de xach hay kich hoat dung cu dien khi cong tac o vi tri mo de dan den tai nan.
d) Lay moi chia khoa dieu chinh ra trucc khi mo dien dung cu dien. Khoa hay chia con gan dinh vao bo phan quay cua dung cu dien co the gay thuong tich cho ban than.
e) Khong rupon nguoi. Luon luon giu tu the dung thich hop va thang bang. Dieu nay tao cho viec dieu khiendung cu dien tot hon trong cac tinh huong bat ngo.
f) Trang phuc thich hop. Khong nen mac quan ao
rong hao mang do trang suc. Guo toc, quan ao va gang tay xa khoi cac bo phan chuyen dong. Quan ao rong, do trang suc hay toc dai co the bu cn vao cac bo phan chuyen dong.
g) Néu có cac dung cu di kém dé néi may hut bui va cac phu kién khac, bao dam cac dung cu nay duoc néi va su dung phu hop. Viec su dung cac dung cu gom hut bui co the lam giam cac mi nguy hai lien quam den bui.
4) Su dung va bao duong dung cu dien
a) Khong duoc ép may. Sut dung dung cu dien dung loai theo dung ung dung cua ban. Dung cu dien dung chuc nang se lam viec tot va an toan hon theo dung tién do ma may duoc thiet ke.
b) Khong su dung dung cu dien nou nhur cong tac bi ket. Bat ky dung cu dien nao khong the dieu khien duoc bang cong tac deu nguy hiem va phai duoc sura chua.
c) Rút phích cám ra khòi nguàn dièn vā/hay pin ra khòi dung cu dièn truóc khi tién hàn hát ký dieu chinh náo, thay pu kien, hay cat dung cu dièn. Các bièn pháp ngàn ngùa nhú vay lam giàm nguy co dung cu dièn khòi dong bat ngò.
d) Cát giu dung cu dien cam xa tam voi cua tre em va khong cho nguo chua tung biet dung cu dien hay cac hong dan nay sur dung dung cu dien. Dung cu dien nguy hiem khi o trong tan ynguo chua duoc chi cach su dung.
e) Bao quan dung cu dien. Kiem tra xem cac bo phan chuyen dong co bi sai lech hay ket, cac bo phan bi ran nut va cac tinh trang khac co the anh huong den kha nang vanh cana may. Neu bi hu hong, phai sutu chura may trucc khi sur dung. Nheiu tai nan xay ra do bao quan dung cu dien kem.
f) Giur cac dung cu cat ben va sach. Bao quan dung cach cac dung cu cat co canh cat ben lam giam kha nang bi ket va de dieu khien hon.
g) Sû dung dung cu dien, phu kien, dαu cai, v.v... dung theo cac chi dan nay, hy luu y den dieu kien lam viec va cong viec phai thuc hien. Su dung dung cu dien khac vovi muc dich thiet ké có the tao nén tinh huong nguy hiem.
5) Su dung va bao duong dung cu vanh bang pin
a) Chi sac lai bang bo sac duoc nhà san xuát quy dinh. Bô sac phu hop cho môt loai pin có the dan dénguy co' chay no khi duoc su dung vovi môt bó nguàn pin.
b) Chi sù dung dung cu dien vói dung nguòn pin duoc quy dinh dac biét. Viéc sù dung bat ký nguón pin não khac có the dan den nguy co thuong tich va hoa hoan.
c) Khi pin khong duoc su dung, de cach xa cac vat dung kim loai khac, nuh kep giay, tien xu, chia khoa, dinh, oc hoac cac vat nhb bang kim loai khac co the lam ket nao tir dien cuc nay den dien cyc kia. Cac cuc sua pin bi chap mach co the gay bong hoac hoa hoan.
d) Trong diéu kien lam dung, chat long co the phun ra t' pin; tranh tiép xuc voi no. Neu vô tinh tiép xuc voi no, rua sach voi nuoc. Neu chat long tiép xuc voi mat, yeu cau kiem tra y te bo sung. Chat long phun ra t' pin co the gay kich ung hoac bong.
6) Bao duong
a) Dua dung cu dien cua ban den tho chuyen mon de bao duong, chi su dung phu tung dung chung loai de thay the. Dieu nay se dam bao su an toan cua may duoc giu nguyen.
Canh bao an toan chung cho cac hoat dong mai hoac cat dut:
a) Dung cu dien nay duoc thiet ke de hoat dong nuhr mot may mai. Doc tatac cac canh bao an toan, hong dan, minh hva thong so ky thuat duoc cung cap voi dung cu dien nay. ViEc khong tuan theo tat ca cac hong dan liet ke duoi day co the dan den dien giat, hoa hao va/hoac thuong tich nghiem trong.
b) Cac hoat dong nhur cha nham, danh bong bang ban chai sat, danh bong khong nen duoc thuc hiien voi dung cu dien nay. Cac hoat dong von khong thuoc chu cang thiet ké cua dung cu co the gay nguy hiem va dan den chan thuong ca nhan.
c) Khong su dung cac phu tung khong duoc thiét ké chuyen biét và khong duoc nha san xuát dung cu khuyen dung. Phu tung cho du co the lap khit vao dung cu dien cung khong có nghia la no sé hoat dong an toan.
d) Toc do dinh muc cua thiet bi phai bang hoac I'on hon toc do toi da ghi trn dung cu dien. Thi et bi co the bi vov a vang xa neu chay nanh hon toc do danh dinh cua chung.
e) Duong kinh ngoai va do day cua dung cu phai nam trong gioi han cong suat cua dung cu dien. Cac dung cu co kich thuoc khong dung
co the s e khong duoc bao v e va kiem soat thich dang.
f) Lap rap ren cua phu tung phai khop voi duong ren truc chinh may mai. Doi voi nhung phu tung duoc lap rap bang maf bich, lo truc chinh cua phu tung phai vu a khit voi duong kinh vi tri maf bich. Cac phu tung co lo truc chin hong khop voi phan cung lap rap cua dung cu dien se khiendung cu ma t can bang, rung qua muc va co the gay mat kiem soat.
g) Khong su dung phu tung da hong. Trucmoin sur dung phai kiem tra lai phu tung, chang han nhxem banh mai co manh vun va vet nut khong, tam do co vet nut, rach hay mon qua mucc khong, choi kim loai co bi long hoac bi dut day khong. Neu lam rot dung cu dien hay phu tung, hyi kiem tra xem may co bi hu hong khong, hoac lap phy tung con nguyen vao. Sau khi kiem tra va lap rap phu tung, ban va nhung nguoi xung quanh nen tranh xa mat phang quay cua phu tung va bat may o toc do khong tai toi da trong vong mot phut. Phu tung hong thuong bi vo thanh tung manh tong thoi bian chay thu nay.
h) Mác thiet bi bao hó ca nhān. Tuy thuoc vao tung loai cóng vièc ma su dung mat na, kinh bao ho hoac kinh an toan. Khi can, nen mang mata chong bui, miéng bao ve tai, gang tay va tam chan co kha näng ngan chan cac manh vun gia cóng hoac bot mai nho. Dung cu bao vê mat phai co kha näng ngan manh vobay ra tur nhieu loai hoat dong khac nhau. Mat na hoac khatrang chong bui phai co kha näng loc cac hat nho phat sinh tuq qua trinh vanh. Tiep xuc lau voi tieng on o curong do cao co the gay mat thinh luc.
i) Giu nhung nguoi khong phan su tranh xa khu vu c lam viec voi khoang cach an toan. Bát ky ai vao khu vu c lam viec deu thai maç thiet bi bao hó ca nhan. Nhung manh vocua phoi gia cong hoac phu tung bi be co the vang xa va gay chan thuong ben ngoai khu vu c van hanh truc tiep.
j) Chi cam dung cu dien o cac be maf da duoc cach dien, khi van hanh may o noi ma dung cu cat co the cham thai he thong day dien ngam hoac day cua dung cu. Dung cu cat cham thai day "co dien" co the lam cho cac bo phan kim loai khong duoc bao boc "co dien" va giat nguoi van hanh may.
k) Dát day tranh xa phu tung dang quay. Néu bān
mát kié m soat,day se co the bi cat hoac vuong vao,vayahoac canh tay cua bānse bi keo vao phu tung dang quay.
I) Khong bao giàd tung cu dién xuóng cho dén khi pu tung ngung hoat dong hàn. Phu tung dang quay có thegam vào be mát va keo dung cu dién ra khoi tam kiem soét cua ban.
m) Khong bāt dung cu dien khi ban dang cam ben nguòi. Vô tinh cham vào phu tung dang quay có the lam quán ao bi vuóng vào, kéo phu tung ve nguòi ban.
n) Thuong xuyen lam sach lo thong gio cua dung cu dien. Quat cua dong co se hut bui vao ben trong vo may va viec tich tu qua nhieu bot kim loai co the gay tai nan ve dien.
o) Khong vān hàngh dung cu gàn cac vát lieu de cháy. Tia lura dien có thebát vao cac vát lieu nay gay cháy.
p) Khong su dung cac phu tung can co chat lam mat dang long. Su dung nuoc hoac chat lam mat dang long khac co the gay giat dien hoac soc.
| AGM1096P | |
| Đếnp含量 | 220-240 V~ |
| Tn s/o luế diế n | 50 Hz |
| Dàu vào cóng suát | 1400W |
| Tóc do annihil | 10.500 /min |
| Mам bàn xé dé mai | |
| Đυòng kinh | 125 mm |
| Lõ khoan | 22.2 mm |
| Dóiday | 6 mm |
| Mам bàn xé dé cát | |
| Đυòng kinh | 125 mm |
| Lõ khoan | 22.2 mm |
| Dóiday | 3 mm |
| Đυòng re n truc chinh | M14 |
| Trong lrtc | 3.9 kg |
| Ap suat am thanh (LpA) | 88 + 3 dB(A) |
| Cộng suat am thanh (LwA) | 99 + 3 dB(A) |
| Rung khi "mài bê mǎt" an, AG | 5.62 + 1.5 m/s² |
Muc do rung
Muc do phat xa rung dong duoc de cap trong sach hóng dan nay da duoc do phu hop voi tiéu chuàn kiem tra duoc dua ra trong EN 60.745; no co the duoc su dung de so sanh giura cac dung cu voi nhau va nhu dān già so bo tiep xuc vovi rung dong khi su dung dung cu cho cac unng dung duoc de cap
Sudung dung cu cho cac ung dung khac, hoac voicac phu kien bao duong kem chat luong co the lam tang dang ke muc do hui
- Thói gian khi dung cu da duoc tát hoac khi no dang chay khong tai co the giam dang ke muc do hui
Bao vē bān khoi cac anh huǒng do rung dōng
bang cach bāo duǒng dung cu va cac phu kien
cua né, giū am tan yā to chúc cac mo hinh
lám vièc cúa ban.
Mô tá
- Dàt may trèn mòt cái bàn vòi tám chan bǎo vê (3) huóng lèn trèn.
Lap māt bich (9) vao truc chinh (8). - Dāt mam bānh xe (10) vào truc chinh (8).
- Nhan giu nut khoa truc sinh (1) và vân chat dai oc lien két (11) vào truc sinh (8) bang cach su dung chia vân dai oc (12).
Tháo
- Dàt may扬尘 cói bàn vovi tí m chán bao vê (3) hóng lén扬尘.
- Nhan giu nut khoa truc chinh (1) và ],long dai oc lien két (11) bang cach su dung cha vang dai oc (12).
- Tháo mám bànxé (10) tu truc chinh (8).
- Nhan giu nut khoa truc chinh (1) và vân chat dai oc lien két (11) bang cach su dung cha vân dai oc (12).
Lap tay cam ben (Hinh A va B)
Tay cam ben (7) co the duoc lap vao mot trong ba ma t diem tiep nao tay cam ben (6).
3. VAN HANH

Hày chac chan rang vát gia cóng duoc do hoac co dinh thich hop va giu'day nguon cach xa khu vu c lam viec.
Bàt và tát (Hinh A)
- De bāt may, nhán giūn nut mo khóa (17) vā saudo nhán cóng tác Bāt/ tát (On/off) (5).
- Dé tátmay,ngat cóng tac Bāt/ tát (5).
Dé may xa vatgia cóng khi bát va tat may vi mam bänh xe co the lam hong vat gia cóng.
-
Kep vát gia cóng vūng chac chan hoac su dung mot phuong phap khac de dam bao no khong the di chuyén trong khi lam viéc.
-
Kiem tra dia thuong xuyn。Mam bànxé bi mon có anh huong tiieu cuc dén hiieu qua cua may. Thay doi môt mam bànxemei trong thoi gian thich hop.
Luon luon ghi nhó là truc hét, phai tát may sau khi su dung va truc cki thao phich cam ra khoi āc am.
Mai nhan (Hinh E)
Mai nhan dat két qua tot nhát oêt goc nghieng 30^ dén 40^ . Di chuyen may voi ap luc nhe. Dieu nay se tranh viéc vátgia cóng bj dou mau hoac tro nen qua nong va tranh tao ra ranh.

Khong bao giou s'dung dia cat da mon de mai nhan!
Cat (Hinh F)
De cat, ban can su dung tam chan bao vé khép kin dac biét (khong duoc bao gôm).
Duy tri tiep xuc tot voi vatgia cng de ngan chan rung va khong lam nghieng hoac su dung ap luc khi cat. Su dung ap luc vua phai khi lam viec,phu hop voi vat liu dang su dung. Khong lam cham mam banh xe bang cach su dung ap luc nguc mot ben. Huong ma ban muon cat rat quan trong.
May phai luon luon lam viec voi huong cat; vi vay, khong bao gi di chuyen may theo huong khac! Co nguy co la may se bat trong mac vao Viet cat, tao ra luc giat lui va khien ban mat kiem soat.
Goi y de srdung toi ru
- Kep vát gia cóng. Sū dung mòt thiet bi kēp cho vāt gia cóng nhò.
Giúmaybangcahai tay.
Bhat may. - Cho cho dén khi may dā dat tóc do dai du.
- Dāt mam bānh xē trēn vāt gia cóng.
- Tú tú di chuyen may cung vát gia cóng, an mânh mám bánh xe lén vát gia cóng.
- Khong su dung qua nhieu ap luc tren may. Hay de may lam viec.
Tat may va cho cho may dung hoan toan truckhi datt may xuong.
4. BAO DUONG

Truoc khi lam sach va bao duong, phai luon tat may va rut phich cam ra khoi nguon dien.
Lau chui v may thuong xuyen voi mot mieng vai mim, tot nhat la sau moi lan su dung. Dam bao cac khe thong gio khong co bui ban. Loai bo bui ban dai dang bang mot mieng vai mem tam nuoc bot xa phong. Khong su dung bat ky dung moi nux xang, con, amoniac, vv Hoa chat nuv vay se lam hong cac thanh phan tong hop.
Thay the day nguon
Neu day ngon bi hong, no thai duoc thay the boi nha san xuat, dai ly dich vu hoac ngoio co trinh do de tranh gay nguy hiem.
BAO HANH
Cac dieu kien bao hanh co the duoc tim thay tren the bao hanh rieng kem theo.
MÔI TRU’ONG

Cac thiet bi dien, dien tur bi loi va/hoac loai bo phai duoc thu gom tai cac dia diem tai che thich hop.
Chi dānh chocac nuocLien minh Chau A
Khong vut bo dung cu dien cam tay vao chat thai sinh hoat. Theo Huong dan cua chau Au 2012/19/ EU vé chat thai tu cac thiét bi dien va dien tu va thuc hién nhu quyen loi quoc gia, cac dung cu dien khong con su dung phai duoc thu gom rieng biét va duoc xu ly mot cach than thien voi moi truong.
San pham va hóng dan su dung co the duoc they doi. Thong so ky thai co the thay dai ma khong can thong bao them.
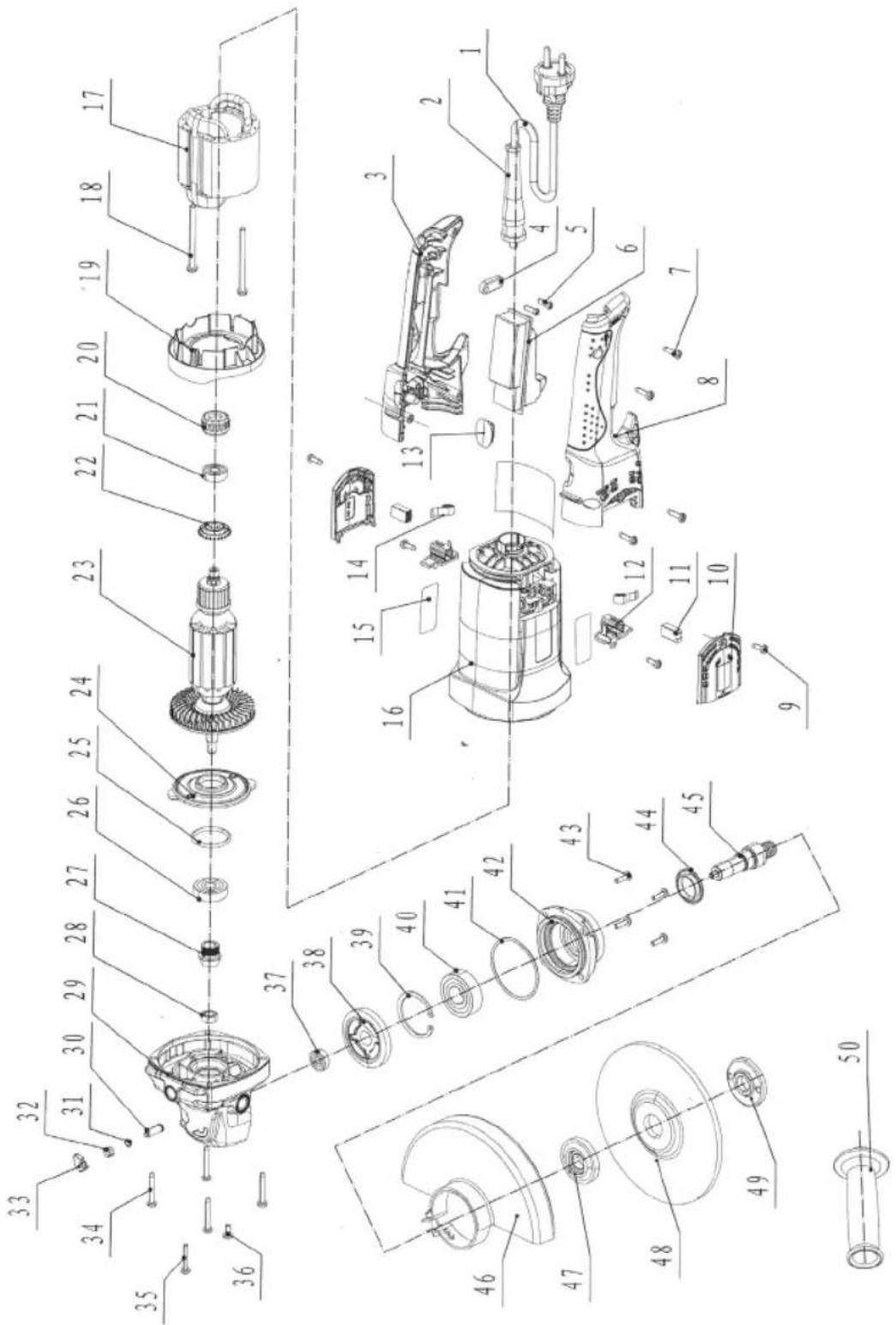
Spare parts list
AGM1096P
| Article no. Description | Position no. | |
| 410234 Handle complete | 3|7|8 | |
| 410235 Carbon brush cover set (2pcs) 10 | ||
| 410236 Carbon brush set (2pcs) 11 | ||
| 410237 Carbon brush holder set (2pcs) 12|13 | ||
| 410238 Stator 17 | ||
| 410239 Wind ring 19 | ||
| 410240 Rear rotor bearing + sleeve 20|21 | ||
| 410241 Rotor 22|23 | ||
| 410242 Ball bearing 6200 | 26 | |
| 410243 Pinion gear 27 | ||
| 410244 Spindle lock complete | 30..33 | |
| 410245 Ball bearing 626 | 37 | |
| 410246 Spindle complete | 37..45 | |
| 410247 Guard | 46 | |
| 410248 Inner flange | 47 | |
| 410249 Outter flange | 49 | |
| 410250 Side handle | 50 | |
| 410251 Flange key | ||

Exploded view
CE
DECLARATION OF CONFORMITY AGM1096P - ANGLE GRINDER
(EN) We declare under our sole responsibility that this product is in conformity with directive 2011/65/EU of the European parliament and of the council of 8 June on the restriction of the use of certain hazardous substances in electrical and electronic equipment is in conformity and accordance with the following standards and regulations:
(DE) Der Hersteller erklart eigenerverantwortlich, dass这点 Produkt der Directive 2011/65/EU des Europäischen Parlaments und des Rats vom 8. Juni 2011 über die Einschränkung der Anwendung von bestimmten gefährlichen Stoffen in elektrischen und elektronischen Geräten entspricht. den folgenden Standards und Vorschriften entspricht:
(NL) Wij verwlaren onder once volledige verantwoordelijkheid dat dit product voldoet aan de conform Richtlijn 2011/65/EU van het Europees Parlement en de Raad van 8 Juni 2011 betreffende beperking van het gebruik van bepaalde gevaarlijke stoffen in elektrische en elektronische apparatuur en in overeenstem ming is met de volgende standardieren en reguleringen:
(FR) Nous déclarons sous notre seule responsabilité que ce produit est conforme aux standards et directives suivants: est conforme à la Directive 2011/65/EU du Parlement Européen et du Conseil du 8 juin 2011 concernant la limitation d'usage de certaines substances dangereuses dans l'équipment électrique et électronique.
(ES) Declaramos bajo nuestra exclusiva responsabilidad que este producto cumple con las siguientes nomas y estandares de funcionaimiento: se encontrartra conforme con la Directiva 2011/65/UE del Parlamento Europeo y del Consejo de 8 de junio de 2011 sobre la restricción del uso de determinadas sustancias peligrosas en los equipos electricos y electrónicos.
(PT) Declaramos por esta total responsabilitá-de que este produto está em conformidade e cumple as normas e regulações que se seguem: está em conformidade com a Directa 2011/65/EU do Parlamento Europeu e com o Conselho de 8 de Junho de 2011 no que respeita a restruição de享用ação de determinadas substancias perigosas existentes em equipamento eletrico e电子rico.
(II) Dichiariamo,除去la nostra responsabilità, che questo prodotto è conformare alle normative e ai regolamenti segunti: è conforme alla Direttiva 2011/65/UE del Parlamento Europeo e del Consiglio dell'8 giugno 2011 sua limitazione dell'uso di determinate sostancze pericolose nelle appearecchaturature elettriche ed elettroniche.
(SV) Vi garanterar pe eget ansvar attenna produit uppyller och foljer fojande standarder och bestammelser: uppyller direktiv 2011/65/EU fran Europeiska parliamentet et ech EG-radet fran den 8 Juni 2011 om begransingen av anvandning av farliga substanser i elektrisk och elektronikn utrustning.
(FI) Vakuutamme yksinomaan omalla vastaullamme, etta tama tuote tayttaa seuraavat standardit ja saadokset: tayttaa Euroopan parlementin ja neuvoston 8. kesakuta 2011 pavityn direktivn 2011/65/EU vaatumekst koskien vaarallinen aineiden kayton rajaistusa sahko- ja elektronisissa laiteiissa.
(NO) Vierklaerer und vart eget ansvar at dette produkt er i samsvar med folgende standarder og regler: er i samsvar med EU-directivet 2011/65/EU fra Europa-parliamentet og Europa-radet, pr. 8 Juni 2011, om begrensning i brumen av visse farlige stoffer i elektrik og elektronisk ustyr.
(DA) Vi erkræder un eget ansvar, at dette produit er i overensstammelse med falgende standarder og bestemmelser: er i overensstammelse med direktiv 2011/65/EU fra Europa-Parliamentet og Rådt af 8. Juni 2011 om begraesning af anvendelsen af visse farlige stoffer i elektrisk og elektronikud dystr.
(HU) Felelofsegunk teljes tudataban kijelentjuk, hogy ez a termek teljes mertekben megfelel az alabbi szabvanyoknak es eliorasoknak: je v souladu se smernici 2011/65/EU Evropskeho parlamentu a Rady EU ze dne 8. cerva 2011, ktera se tykå omezeni pouziti urcitych nebezpecnych latek v elektrickych a elektronickych zaifzenich.
(CZ) Na nasi vlastn zodpovédnost prohrašujeme, ze je tento vyrobek v souladu s naslédujicimi standardy a normami: Je v sulade s normou 2011/65/EU Europskeho parliamentu A Rady z 8. juna 2011 týkajúcej sa obmedzióna používania určitych nebezepečnéchátok v elektrickom a elektronickom vybaveni.
(SK) Vyhtasujeme na nasu vyhradnú zodpovednost, ze tento vyrobok je v zhode a sulade s nasledujuciimi normami a predisimi; Je v sulade s normou 2011/65/EU Europske ho parliamentu a Rady z 8. juna 2011 týkajucej sa obmedzenia použivania určitych nebepezćnéch latok v elektrickom a elektronickom vybaveni.
(SL) S polno odgovomostjo izjavlamo, da je ta izdelek v skladu in da odgovarja naslednjinim standardom terpredpisom: je v skladu z direktvo 2011/65/EU Evropsega parlementa in Sveta z dne 8. jun 2011 o omejevanju uporabe dolocenih nevarinh snovi v elektrichi in elektronski opremi.
(PL) Deklarujemy na wlasna odpwiedzialnosc, ze ten produkt spelnia wymogi zawarte w nastepujacych nomach i przypeisach: jest zgodny z Dyrektywa 2011/65/UE Paria mentu Europejskiego i Rady z dnia 8 czerwca 2011 r. w sprawie agricanzenia stosowania niedtorych niebepeziecznach substanci w sprezie elektrycznym i elektronicznym.
(LT) Prisiimdami visa atsakomybe deklarucjame, kad sis gaminys atitinka zemiau paminetus standartus arba nuostatus: atitinka 2011 m. birzeli 8 d. Europos Parliamento ir Tarybos direktyva 2011/65/EB del tam tikru pavojingu medziag naudojo melektri elekrtonineje jangoje apribojimo.
(LV) Ir atbiłsōa Eriopas Parliamenta un Padomès 2011. gada 8. jüninja Direktivá 2011/65/ES par dazu bistamu vielu izmantoşanas ierobezoşanu elektriskás un elektroniskás ekárías.
(ET) Agpalvojam ar visu atbildibu, ka sis produits ir saskana un atbilst sekojsiem stand-artiem un nolikumiem:ir atbilstosa Eiropas Parimenta un Padomes 2011. gada 8. junja Direktvai 2011/65/ES par da zu bistamu vii izmantoisan aerobezsoanu elektriskas un elektroniskas iekartas.
(RO) Declar am prin aceasta cu raspunderea depina c produsul acesta este in conformitate cu urmatatoarele standarde sau directive: este in conformitate cu Direcva 2011/65/UE a Parliamentului European si a Consiliulii din 8 unie 2011 cu privire la interizerea utilizani anumitor substante periculoase la echipamentele elec trice si elec tronice.
(HR) Izjavljemo pod vistitom odgovomol, su da je stojem ukladan sa siljedesim standardima ili standardiziranim Dokumentima i u skladu sa odredbama: uskladeno s Direktivom 2011/65/EU europskog parlamenta i vija izdanom 8. lipna 2011. oogranočenju koristjenja odreedeni opasinn tvari u elektrichnoj elektronickoj oprimi.
(SRL)Pod punom odgovronscu izjavljume da je usaglasen sa sledecim standardima li normama: usaglasen sa direktivom 2011/65/EU Evropskog parlamenta i Saveta od 8.juna.2011.godine za restriciju upotrebre odredenih opasnih materija u elektrnicj o elektronskj opremi.
(RO) NIO CBOO OTBETBCHHOCTB 3AEBNEM, YTO DAHNOE H2DEINIE COOTBCTBYET CNEUYDUMTAMCNOHPOMM TCTBCTBYET TpeBOAHNIM DINEKTPBBI 2011/65EU EBponeCKTO npnAmEnTHa nCoBETA oT 8MHNA 2011.r no ORpAnHKO INCNIOBaoBHANOpEeNENHbX ONaChbX BBeIECTBA 3JNEKTpyeCKOM IneKPTPOHNOOBOPDOBAHNI
(UK) Ha cbo bnachy biinnoiabnHtcb 3aBnme mo, 0o dahe o6naHnHb iDnObiad HacTyNHm CTandpam I HopmatBAM: 3aoBO9bHre BmOnr DInpeKTHBn 2011/65/ EC CbponeiCkoI PaPnAmEHTy Ta PaNl Bi8 8epeHb 2011 pOKy HA o6MeKeHHB BkOpcTAnHRe DeKHX He63neuHx peOHnB B eNEKTPnHOMy Ta eNEKTPOHOMy 6bNaHnHi.
EL) Anivoume UteBua On To Pioov auto Suuaviwe Ke Tne Toupakatow Kavovaiouc Ka npitua Oauuupvotae ne IVOnyia 2011/85/EE tou Eupmaikou KoivouBouaiou Ka Tou SuouBouaiou Nts Iouviou 2011 vov Tepiopiao nTx pohos opoeuv Evntivduuuv uouw oue NkEkpriK kNkEpproVK eGtAmuO.
(AR)
(TR) Tek sorumlusuBiz alarak bu tiriun un asagidaki standart ve yongeralere uygun oldugu benan ederiiz.
EN 55014-1, EN 55014-2, EN 61000-3-2, EN 61000-3-3, EN 60745-1, EN 60745-2-3
2014/35/EC, 2006/95/EC, 2014/30/EC, 2011/65/EU,2012/19/EU
Zwolle, 01-09-2020
H.G.FRosberg CEO FERM
FERM - Lingenstraat 6 - 8028 PM - Zwolle - The Netherlands
HướngDẫnDễ