Solamagic SMS1PLUS1400T - Uppvärmning Etherma - Gratis bruksanvisning och manual
Hitta enhetens manual gratis Solamagic SMS1PLUS1400T Etherma i PDF-format.
Användarfrågor om Solamagic SMS1PLUS1400T Etherma
0 fråga om denna apparat. Svara på dem du kan eller ställ din egen.
Ställ en ny fråga om denna apparat
Ladda ner instruktionerna för din Uppvärmning i PDF-format gratis! Hitta din manual Solamagic SMS1PLUS1400T - Etherma och ta tillbaka ditt elektroniska enhet i hand. På denna sida publiceras alla dokument som behövs för att använda din enhet. Solamagic SMS1PLUS1400T av märket Etherma.
BRUKSANVISNING Solamagic SMS1PLUS1400T Etherma
Monterings- och bruksanvisning
S1 IR-värmeaggregat 1400 W, IP44 (IR05001; IR05026)
S1 IR-värmeaggregat 2000 W, IP44 (IR05002; IR05027)
S3 IR-värmeaggregat 2500 W, IP44 (IR05008; IR05028)
D3 IR-värmeaggregat 2000 W, IP44 (DS05002; DS05028)
D3 IR-värmeaggregat 2000 W, IP45 (DS 05006)
Innehållsförteckning
Sakerhets- och användningsinformation 83
Sakerhets- och användningsinformation
Beakta foljande information:
- Läs bruksanvisingen noga fore monteringen och spara den for senare användning.
- Värmeaggregatet År avsett För montering utomhus, på väggar i byggnader och på andra fasta konstruktioner. Det År inte avsett für uppvärmning inomhus.
- Aggregatet fär endast användas av vuxna. Barn fär inte leka med varmeaggregatet. Barn under 3 ar fär endast uppehalla sig i narheten under uppsikt. Barn under 8 ar fär inte slå på och stänga av aggregatet, inte satta i kontakten i eluttaget, inte rengörä aggregatet och inte utföra underhällarsarbeiten.
Varning - vissa delar av Produkten kan bli mycket varma och orsaka brännskador. Var särskilt fösiktig i narheten av barn och personer med särskilda skyddsbehov.
- Monteringen ske ske fackmannamässigt enlicht installationsanvisingarna VDE 0100 (beakta vid behov även del 559 och 701) enlicht utbildad personal.
- Koppla alltid elsystemet spanningsfritt inför alla arbeten (lossa elkontakten, stäng av sakringen). Tillkoppla inte värmeaggregatet fällan alla ledningsanslutningar ar monterade.
- Husinstallationen für elförsjningen für varmeaggregatet maste ha en brytare och en sakring på minst 16 A (typ C16A).
Värmeaggregatet fär inte monteras direkt under eluttag, fördelardosor, brytare eller elledningar. - Eluttagen fãr endast vara placerade pã de tvã stallen som anges i bilaga 2.
Värmeaggregat fär inte placeras i narheten av gardiner erller brännbara föremål enlighet med VDE 0100 del 559. - Aggregatet uppfyller kapslingsklass IP24 när alla kontakter (aggregatkontakt, kontakter für utbyggnadskomponente) ar anslutna och är godkänt für användning utomhus.
- Lat aldrig aggregat vara pa utan uppsikt.
- Täck inte über aggregatet när det ar pa eller ar varmt - brandrisk.
- Stäng av och låt aggregatet svalna innan strälningsriktningen öndras.
- Titta aldrig rakt in i IR-halogenlamporna under langre tid aller nara nar de ar i drift.
- IR-halogenlamporna ar känsliga für direkt hudkontakt (vidrör dem inte med fingrarna). Ta bort fett aller annat smuts med en trasa fuktad med alkohol.
For att sakerstalla en lang livslangd for IR-halogenlampan ske den skyddas
mot vibrationer, stotar och skadliga amnen som t.ex. syra, cementdamm, etc.
- Skydda IR-halogenlampan mot mekaniska pafrestninger. De maste bytas ut om missfargning ( mörka fläckar, deformationer ) ar synliga eller mark liv uppnas
- Skadade aggregatemelem som t.ex. anslutningsledning, vippkontakt, tätningsmanschett aller värmerör maste absolut bytas ut. Aggregatet maste genast demonteras och forvaras torrt.
- Reparationsarbeiten (byte av en defekt anslutningsledning erer en defekt värmelampa aller liknande) fär endast utforas av tillverkarens kundservice erer en auktoriserad Återförsäljare.
- Rengörings- och underhällsarbeten fär endast utföras av vuxna med tillräcklig fackunskap.
Leveransomfattning
IR-värmeaggregat
Elkabel (pà aggregatutan fast ansluten ledning)
hällare inkl. monteringstillbehör (medfoljer)
Monterings- och bruksanvisning
Monteringsinformation
Värmeaggregatet fär endast monteras med lampliga monteringstillbehör (t.ex. skruv M6 x 60 med metallplugg pa sten eller belong) på fast, bärkraftigt, normal-,svár-ller icke-antändigt underlag.
- Om värmeaggregatet och eluttaget inte monteras på samma yta maste man sakerställa att strålningsfältet inte kan riktas mot eluttaget. Kontrollera i annat fall att eluttaget inte kan varmas upp till over 70^ i strålningsdrift.
Folj sakerhetsavständen i bilaga 2.
- Området for värmeeffekten kan upskattas med hjälp av stråningsdiagrammet (bilaga 3). Där anges storleken på stråningsytorna für värmeaggregatet på olika avständ och respektive max. stråningsintensitet.
- Monteringshöjd: minst 1,80 m over golvet
- Värmeaggregatet ska monteras med T-spårmutrar riktade uppåt. T-spårmuttrarna syns på sidan av höljet med anslutningsledningen (se bild nedan).

Vid montering alltid uppe
Vid montering alltid nere
- Värmeaggregatet S3 och D3 (IR 05008, IR 05028, DS 05002, DS 05006, DS 05028) fär endast monteras och användas i vågrät riktning.
- Endast for typerna IR 05001 och IR 05002: Vid sned takmontering och vertikal vaggmontering skag aggregatet monteras med anslutningsledningen "nedåt".
1. Montering avvärmeaggregat med bygel

| Aggregatyp Effekt | Väggmontering Takmontering | |||
| horisontell vertikal horisontell vertikal | ||||
| IR 05001 1400 W | ✓ | ✓ | ✓ | |
| IR 05002 2000 W | ✓ | ✓ | ✓ | |
- Beakta sakerhetsavstanden och sakerhets- och användningsinformationen vid monteringen av bygeln (se anlaggning 2).
- Montera bygeln med två skruvar med ett avständ på 200 mm på fästytan.
- Om tillbehören används skabygelns yttre faspunkt användas (avstand 350~mm
- Börja med sida B och För på varmeaggregatet och böj samtidigt bygeln nagot. (Information: "T-sparmuttern" skara vara uppat)
- Sida A; Montera den räfflade muttern och hattmuttern M6/NV10.
- Dra at den räfflade muttern for hand och hattmuttern med U-nyckel NV10.
- Sida B: Montera tallriksfjader, bricka, excenterspannare och räflad mutter M6.
Dra at den räflade muttern M6 for hand till excenterspäännarens tryckpunkt. Spann excenterspäännaren i riktning mot bygeln.

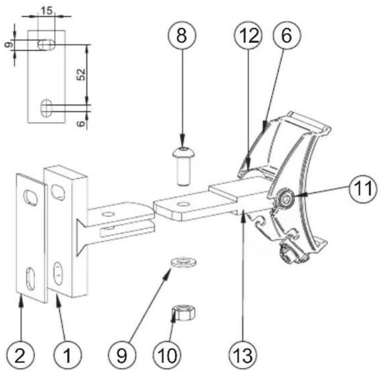
2a. Montering av värmeaggregat S1 med T-hällare

| Aggregatyp Effekt | Väggmontering Takmontering | |||
| horisontell vertikal horisontell sned | ||||
| IR05001 1400 W | ✓ | ✓ | ||
| IR05002 2000 W | ✓ | ✓ | ||
Endast godkänd für vaggmontering!
Steg 1:Montera T-hallare
- Montera T-hällaren (1) med silikonplatta (2) under med två skruvar på monteringsytan,enligt följande bild.

Steg 2: Montera adaptrar på T-hållaren
- Skjut in adaptern (6) i T-fästet (1) som ar monterat på uppfästningsytan. Sätt i skruven M8x20/SW5 (8) i hålet. Lagg under bricka (9) och draatory med mutter M8/SW13 (10).
- Om det inte går att rikta adaptern (6) nedät skra skruvarna (8) till (10) lossas och adaptern tas bort frän fästet. Demontera därefter skruvarna (11) och montera mittstycket (13) med skivan (12) vriden med 180^ på nytt på adaptern (6). Montera därefter aggregatet på vaggfästet.
Steg 3: Montera värmeaggregatet på vagghällaren
- Skjut in låsblecken (3) med ringen (4) frän vänster i laxstjärtpåret ca 220 mm brett.
- Dra at skruv 3,5x6,5 (5).
- Rikta in den excenterspäännaren (7) på adapterkloen (6) i vertikal riktning (C), se bild nedan.
- Fäst varmeaggregatet (B) upptill på sidan med T-spårmuttrarna på adaptersen (6) och fäll in det nedtil på sidan med excenterspäännaren (7).
Varning: Adaptern ske gripa tag i bada sparen pa aggregatet (kontrollera visuellt)
- Dra at excenterspäännaren (7) med medfoljande insexyckel 5 mm medsols (ca 80^ vridvinkel). Värmeaggregatet fär inte glappa utan sca sitta fast korrekt med adaptern.
Varning! Inget vridändlage - dra inte 180^ - dra inte at excenterspäänen for här!
- Fäst lásringen (4) i urfrösningen (A) på adaptern (6).
- Lossa skruvarna (11) med insexnyckeln NV5 for att stalla in erler justera strårlriktningen. Rikta varmeaggregat i önskad riktning och dra at skruvarna (11).

2b. Montering av varmeaggregat S3 och D3 med T-hallare

| Aggregatyp Effekt | Väggmontering Taktmontering | |||
| horisontell vertikal horisontell sned | ||||
| IR050082500 W | ✓ | ✓ | ||
| DS050022000 W | ✓ | ✓ | ||
| DS050062000 W | ✓ | ✓ | ||
Information:
Stralningsvärmaren har att ensidigt vridningsomrade i riktning mot den avlänga halsidan, beroende pa monteringsorienteringen på T-fastet.
Vid montering pa en vagg maste T-fastet monteras med den avlanga hal-sidan langst ner (bild nedan), nar den monteras i taket med den avlanga halsidan framfor.
Steg 1:Montera T-haillare
- S3 aller D3 Värmeaggregat ska monteras med två T-hällare med att avständ på 400 mm under beaktande av sakerhetsavstand och sakerhetsanvisningar (se bilaga 2).
- För att gōra monteringen enklare, ta bort adapterkloen (6)—from T-fastet (1) genom att lossa skruvarna (11) (bilden nedan).
- Montera T-fästet (1) med silikonplattan (2) under med vardera två skruvar på monteringsytan,enligt bilden nedan.

Steg 2: Montera adaptrar på T-hållaren
- Montera adaptrarna (6) på T-fästena som är monterade på de båda fästytorna, montera en läsbricka (12) mellan T-fästet och adaptern och skruva in skruvarna med cylindriskt huvud (11) i T-fästet (Illustration oven). För takmontering skadapterklo skruvas fast på hällaren, roteras 180^ , i motsats till bilden.
Steg 3: Montera värmeaggregatet på T-hällaren
- För in låsblecket (3) med ringen (4) från ledningssidan i laxstjärtpåret med ca 530 mm och 130 mm.
Dra at skruvarna 3,5x6,5 (5). - Rikta in den excenterspäännaren (7) på adapterkloen (6) i vertikal riktning (C), se bild nedan.
- Fäst värmeaggregatet (B) upptill på sidan med T-spårmuttrarna på adaptrarna (6) och fäll in det nedtill på sidan med excenterspäännaren (7).
Varning: Adaptrarna ske gripa tag i báda spåren på aggregatet (kontrollera visuellt)
Lásblecken (3) maste nu befinna sig precis bredvid adaptrarna (6).
- Dra at excenterspäännaren (7) med medfoljande insexyckel 5 mm medsols (ca 80^ vridvinkel). Värmeaggregatet fär inte glappa utan sca sitta fast korrekt med adaptern.
Varning! Inget vridändlage - dra inte 180^ - dra inte at excenterspannaren for hart!
- Fäst lásringen (4) i urfräsningen (A) pá adaptern (6).
- Ställ in strälningsriktningen genom att lossa skruven (11; vänster sida av adaptern enligt bilden nedan) med insexyckeln 5mm . Vrid varmeaggregatet till önskad strälningsriktning och dra at skruven (11) på nytt.


med takinbyggnadsram
- Takinbyggnadsramen ar endast lamplig for montering i takskivor som ar minst 10 mm och max. 30 mm (Ram-version max. 25 mm) tjocka.
- På aggregat med ljus ytbeläggning (t.ex. vitt) kan ytans färg forändras vid kontinueregl drift.
- Monteringen fär inte Förändra eller päverka takets statik.
- Minimiavständen i enlighet med tillagg 2 maste jakttas.
- Takmonteringsutrymmet skall uppfylla foljande minimimatt for nodvandig luftcirkulation:
| Aggregatyp Bredd i mm Längd i mm | |
| IR05026 | min. 500 min. 900 |
| IR05027 | |
| IR05028 | min. 600 min. 1200 |
| DS05028 |
De öppna utrymmena fär inte vara forträngda eller täckta av isolerande material aller på annat sätt.
För monteringen krävs två personer.
Den elektriska anslutningen maste goras utanfor monteringsramen (kontrollucka).
3a. Variant direkt montering:
- ① För på den stora underlöggsbrickan på pinnskruven på varmeaggregatet.
② Satt in varmeaggregatet snett i kapan tills skruven fors in i halet pa kapan. - ③ Fäll in aggregatet helt i kapan och dra at pinnskruven tilländläge med verktyg (0,5 Nm)
- ④ Sätt på två tallriksfjädrar: den Första med den välvda sidan mot kapan och den andra med den välvda sidan utåt. För på den lilla underlöggs-brickan på skruven, skruva på sexkantmattern och lås den mot en andra sexkantmutter. Det måste gå att vrida/vinkla aggregatet i kapan med ettlett motständ.


Steg 2: Förbered monteringsutrymmet
Gorp a plats en takutskarning med dimensionerna (x) mm och (y) mm:
| Aggregatyp | Takutklippi mm | Avständ mellan fällning häl i mm | |||
| Bredd (x) | Längd (y) a b c | ||||
| IR05026 | 280 625 | 495 247,5 310 | |||
| IR05027 | |||||
| IR05028 | 280 850 | 720 360 310 | |||
| DS05028 | |||||
Gör fästhälén a och b i takskivan.

Steg 3: Montera aggregatiet monteringsutrymmet
- Anslut aggregatet elektriskt, men koppla inte till det.
- Placera aggregatet i takutskärningen.
Varning!
Anslutningsledningen mäste dras bort direkt fran aggregatet. Den ská dras i inbyggnadsutrymmet utanfor utskärningen.
- Skruva fast inbyggnadsramen fran utsidan med sex skruvarsom har en nomi-nell diameter på 4mm i takskivan.
Varning!
Dra Åt skruvforbanden ordentlich så att de sitter säkert permanent
Vid behov, Använd ytterligare monteringsramar (tillbehör)!
3b. Varianter av fönsterkarmar:
Gorpa plats en takutskarning med dimensionerna (x) mm och (y) mm:
| Aggregattyp | Takutklipp i mm | |
| Bredd (x) Längd | (y) | |
| IR 05026; IR 05027 300 625 | ||
| IR 05028; DS 05028 300 850 | ||
- Placera monteringsramen bakom taket sà att de inre flikarna nár in i takutskärningen.
- Centrera monteringsramen i forhällande till utskärningsen och skruva på baksi-dan ihop den med de inre flikarna med hjälp av takplattan.
- Montera monteringsramen i skärningen och skruva fast den på frontpanelen med takplattan. För tunna takpaneler (< 15 mm), böj eller ta bort monteringsflikarna om det behövs. (Detalj A)
Steg 2: Montera aggregatet i monteringsutrymmet
- Anslut encheten elektriskt utan att slå på den.
Fast aggregatet med monteringsramen med sex skruvar M 4 x 18 och brickor. - Dra at skruvarna ordentlich

Steg 3:Montera ramen
Varning: Risk for personskador!
Använd alltid arbetshandskar!
- ① Spann fjädrarna tills de hakar fast i spärren.
Varning: Klämrisk på grund av Återfjädrande fjädrar. För aldrig in händerna i området vid flåkthjulet!
- ② Fäst upplåsningsenheter vid brytstället på alla fjädrar och lát dem hänga ut ur ramurtaget.

- ③ Placera ramen: Satt in de spanda fjaderspetsarna i mellanrummet på aggregatets kapa.
- ④ Tryck ramen mot takurtaget
- ⑤ Dra ner upplåsningsenheterna och låt fjädrarna haka fast i monteringsra-men.
Information: Spara upplåsningsenheterna eftersom de krävs für senare demontering och montering
Demontering:
- Dra ner ramen vid ytterkanten fran taket tills det gär att nå klämfjädrarna i melanrummet.
Varning: Risk for personskador!
Använd alltid arbetshandskar!
- Tryck tillbaka fjadrarna och fäll ut ramen frän monteringsutrymmet. Avlasta fjadrarna langsamt.
4. För tillbehör till varmeaggregatet
TILLVAL
- Tillbehör fär uteslutande användas till de avsedda aggregattperna.
- Vid användning av tillbehör ska tillhörande monterings- och braksanvisning absolut beaktas.
- Om tillbehören (t.ex. tradlós modul) används, andras teknika data i bilaga 1.

Idrifttagande
- Ta bort transportsparren helt fran reflektorn om det finns nagon sadan.
- Anslut den bifogade elkabeln (A) till varmeaggregatet (B) och fasp den med lasbygeln (C).
- Anslut elkabeln till elnätet (jordad kontakt).

På modellerutan brytare startup varmedriften direkt nar elkontakten sats i eluttaget. På modeller med brytare erer radiomottagare startas varmedriften genom att aktivera brytarna erer med fjarrkontrollen.
Rengöringsinformation
- Frankoppla värmeaggregat frän elnätet.
Låt kåpan svalna. - Torka kapan med en fuktig, mjuk trasautan rengoringsmedel.
Dränk aldrig värmeaggregat i vätska och spruta aldrig på det.
Skyddsgallret kan eventuellt missfargas på grund av värmen. Detta är helt normalt och inget fabrikationsfel.
Garantivillkor S1, S3 och D3-aggregat
För dessa encheter lämnar vi garanti enligt nedanstäende villkor:
- Vi Åtgårdar skador eller brister på produitutan kostnad enligt foljande regler. Skadorna eller bristerna sca bevisligen bero på att fabrikationsfel och ske annmälasutan fordrojning after att de fastställs och senast inom 5 arfter leveransen till slutkunden. Garantitiden for varmelamporna ar 12 manader med max. 5000 drifttimmar underenna tid. Garantin omfattar inteindre avvikelser fran de beskrivna egenskaperna och som ar obetydliga for användningen av produits. Garantin omfattar inte heller skador på grund av typiska miljöforhällanden erler felaktiga driftforhällanden. Garantin omfattar inte heller skador på grund av särskilda klimatforhällanden, extrema miljöforhällanden erler felaktiga driftvillkor. Din Återförsäljare hjälper dig gärna i fraga om aggregatmodeller for liknande användninger.
Garantin omfattar inte heller skador eller brister på aggregatet på grund av felaktig montering eller underlåtelse att följaBruksanvisningen. - Vi forbehaller oss ratten attutan kostnad reparera bristfälligaprodukterEller ersatta dem med fungerandeprodukter. Produktser som uppfyller villkoren for garantiansprak sca overlamnas eller skickas till tilverkaren ell er an auktoriserad aterforsajare. BRisken for transporten aligger avsändaren.Frakt-,transport-, vag- och arbetskostnader for slutkunden ersa's inte.Kvitto med inkops- och/ eller leveransdatum samt en detailjerad felbeskrivning ske uppvisas.Aganderatten till ersattaprodukter tillfaller oss.
- Garantin gäller inte om reparationer eller ingrepp utförts av personer som inte ar auktoriserade av oss erler om våraprodukter utrustas med reservdilar, kompletterings- aller tillbehördsdilar som inte ar originaldilar och har orsakat defekten. Detsamma gäller om typskylten ellerproduktnumret har tagits bort ell er lgorts oläslig.
- Garantin gäller inte heller om skador eller bristerna beror på felaktig anslutning, felaktig hantering, mekaniska skador och tatsäch kilt på värmelamporna samt om monteringsanvisningar och bruksanvisningar inte beaktats. Garantin omfattar inte följdskador.
- Garantiarbeten frolanger inte garantitiden och inte heller innebär de att en ny garantifrist inleds. Garantifristen for monterade reservdilar gär ut samtidigt som garantifristen for helaprodukten. Om skador erler brister inte kan atgårdas aller om en forbättring nekas frän var sida erller försenas orimligt, kan slutkunden begära leverans av en likvärddig produkt. Vid ersättningsleverans forbehäller vi oss ratten fürett rimligt tillgodoräknande av användningstiden for användningen fram till detta tillfälle.
Dessa garantivillkor gäller fr.o.m. 2021-01-01 fürprodukter som salts i ett EU-land, även dà de används utomlands. Garantivillkoren päverkar inte lagstadgade garantiansprák.
Komplettenderine information
Med forbéhäll for tekniska andringar.
Tillverkad i Tyskland.
Fler produit frän SOLAMAGIC
och tillbehör finns har:
www.SOLAMAGIC.com
Beakta följande begrepp bilagan:
Bilaga 1: Tekniska data
Bilaga 2: Sakerhetsavstand
| 0 | Aggregattyp | 6 | Mätt langd x bredd x höjd (mm) |
| 1 | Effekt (W) | 7 | Vikt (kg) |
| 2 | Elanslutting | 8 | Extra vikt für versionen med ram (kg) |
| 3 | Kapslingsklass | 8 | Medellivsländg (h) |
| 4 | Skyddsklass | 9 | Avständ (mm) |
| 5 | Kontrollmärke |
| 0 | Aggregattyp | 6 | Vy framifràn |
| 1 | Väggmontering, horisontell (inte lämpligt für aggregattyp IR 05026, IR 05027, IR 05028, DS 05028) | 7 | Vy uppifràn |
| 2 | Minsta avständ i mm | 8 | Takmontering |
| 3 | Effekt (W) | 9 | (för,enhet av typ IR 05001 och IR 05002 uteslutande med U-bygel) |
| 4 | Väggmontering, vertikalt (endast För aggregattyp IR 05001 och IR 05002) | 10 | Sned montering endast För aggregat IR 05001 (1400 W) och IR 05002 (2000 W) |
| 5 | Vid vertikal montering skä alltid anslutningsledningen vara nedåt! | 11 | Takinbyggnad endast För aggregattyp IR 05026, IR 05027, IR 05028 och DS 05028 |
| A1 | Avständ till bestrålade ytor A5 Avständ till bokonliggande vagg | ||
| A2 | Avständ till eluttag A6 Avständ till bestrålac | vagg | |
| A3 | Avständ till sidovagg A7 | Takinbyggnadsdjup / avständ till mellantaket | |
| A4 | Avständ till overliggande tak a Installningsområde | ||
| D | Avständ golv/aggregat | ||
Bilaga 3: Stralningsdiagram
| ① | Maximal värmedensitet | ② | Värmeyta |

Tekniska data, sakerhetsavstand, strälningsdiagram
EnkelManual