GBB61BLHEC - Hladilnik LG - Brezplačna navodila za uporabo
Brezplačno poiščite navodila za napravo GBB61BLHEC LG v formatu PDF.
Prenesite navodila za vaš Hladilnik v formatu PDF brezplačno! Poiščite svoja navodila GBB61BLHEC - LG in vzemite svojo elektronsko napravo nazaj v roke. Na tej strani so objavljeni vsi dokumenti, potrebni za uporabo vaše naprave. GBB61BLHEC znamke LG.
NAVODILA ZA UPORABO GBB61BLHEC LG
Ovo je katka verzija uputa za uporabu.
Za vishe informacija posjetite LG internetsku stranicu na adresi http://www/lg.com

Rjesavanje problema

SIGURNOSNEUPUTE
HR
*Australija, Indija, Kenija
NAPOMENA
Urej s oznakom od SN do T namijenji su upotrebi na temperaturizmedu 10^ i 43 C.
Napomene za rad
*Australija, Indija, Kenija
PASTABA
Prietaaisai, kurie priskiriami klasei nuo SN iki T, skirti naudoti 10-43 ^ C temperaturos aplinkoje.
Naudiojimo pastabos
*Australija, Indija, Kenija
PIEZIME
Iekartas ar apzimejumu no SN lidz T ir paredzetas izmantoisanai apkartejas vides temperatura no 10 ^ C lidz 43 ^ C
Sakotnejäiekartas registracija
Lai registretu iekartu, palaidiet lietojumprogrammu LG ThinQ un izpildiet tas noradijumus.
lekartas atkartota registracija vai citalietotajeregistracija
- Piespieddiet un 3 sekundes turiet piespiestu pogu Wi-Fi, lai to islaicigi izslegtu. Lai registreTu iekartu, palaidiet lietojumprogrammu LG ThinQ un izpildiet tAs noradijumus.
PIEZIME
Lai atspejotu Wi-Fi funkcjju, piespieiediet un 3 sekundes turiet piespiestu pogu Wi-Fi. ikona tikis izslegtta.
Atverta pirmkoda programmaturas informacija
Lai iegutu avota kodu saskaar GPL, LGPL, MPL un citam atverta pirmkoda licencem, kuram ir pienakums atklat saja produkta esoso avota kodu un pieklut visiem minetajiem licences noteikumiem, pazinojumiem par autortiesibam un citiem atbilstoism dokumentiem, ludzu, apmeklejet vietni https://opensource.lge.com.
LG Electronics izniedz atklato pirmkodu arikompaktdiska, iekasejot par to sada izplatiñasveida izmaksam atbilstošu maksu (datu neseja, taapstrades un piegades izmaksas); lai sanemtu kudu, tas japiegrasa pa e-pasta: opensource@lge.com. Sis piedavajums ir derigs ikvienam, kurš sanem soinformaciju tris gadus pecmusu pedejā ši produktanosutīñas.
Noradijumi part tirisanu
Ta priročnik lahko vsebuje slike ali vsebino, ki se razlikuje od modela, ki ste ga kupili.
Ta priročnik lahko proizvajalec dopolnjuje.
VARNOSTNA NAVODILA 3
Pomembna varnostna navodila 3
NAMESTITEV 9
Dimenzije in razdalje 9
Temperatura v ambientu 9
DELOVANJE 10
Opombe za delovanje 10
Predal dodatne svezine (^*) 11
Predal za svezo zelenjavo (^*) 11
Nadzorna plošča 13
PAMETNE FUNKCIJE 15
To je skrajsana verzija prirocnika za lastnika.
Za več informacij prosim, da obišćete internetno
stran LG na http://www/lg.com

Odpravljanje težav

VARNOSTNA NAVODILA
SL
Naslednja varnostna navodila so namenjena preprečevanju nepredvidenih tveganj ali škode zaradi nevarnega ali nepravilnega delovanja naprave.
Navodila so ločena na oznaki 'OPOZORILO' in 'POZOR', kot je opisano v nadaljevanju.

Prikazani simboli nakazujejo stanja in dejavnosti, ki lahko povzročijo tveganje. Da bi se izognili tveganju, sledite navodilom in skrbno preberite del s tem simbolom.

OPOZORILO
Oznacuje, da lahko zaradi neupostevanja navodil pride do huidih poškodb ali smrti.

POZOR
Oznacuje, da lahko zaradi neupostevanja navodil pride do lažjih poškodb ali poškodb naprave.
Pomembna varnostna navodila

OPOZORILO
Da bi pri uporabi naprave zmanjsali nevarnost eksplozije, požara, elektricnega udara ali opeklin, upoštevajte osnovne varnostne ukrepe, vključno z naslednjimi:
Otroci v gospodinjstvu
- Naprave ne smejo uporabljati osebe (vključno z otroki) z zmanjsanimi telesnimi, šcutnimi ali duševnimi sposobnostmi ali osebe s pomanjkanjem izkušenj in znanja, razen ce jih pri uporabi nadzoruje ali jim svetuje oseba, odgovorna za njihovo varnost. Nadzorujte otroke in poskrbite, da se z napravo ne bodo igrali.
- Ce je naprava opremljena s ključavnico (samo nekateri modeli), skrijte ključ, da bo nedosegljiv za otroke.
Za uporabo v Evropi:
- Napravo lahko uporabljajo otroci, stari 8 let in vec, ter osebe z zmanjsanimi telesnimi, Čutnimi ali duševnimi sposobnostmi ali osebe s pomanjkanjem izkušenj in znanja, Če imajo nadzor ali napotila glede varne uporabe ter se zavedajo nevarnosti uporabe. Otroci se ne smejo igrati z napravo. Otroci naprave ne smejo Čistiti ali vždrževati brez nadzora.
- Otrokom, starim 3 do 8 let, je dovoljeno polniti in prazniti hladilne naprave.
Namecitev
- Napravo raj prenasata dve ali več oseb s trdnim oprijemom.
-
Poskrbite, da je vtičnica ustrezno ozemljena in da priključek na napajalnem kablu ni poskodovan ali odstranjen. Za več podrobnosti o ozemljitvi se obrnite na informacijski center za stranke LG Electronics.
-
Naprava je opremljena z napajalnim kablon, ki ima prevodnik ozemljitve in ozemljitveni vtič. Vtič priključite v ustrezno vtičnico, ki je namesčena in ozemljena v skladu z vsemi lokalmimi predpisi ter odloki.
-
Ce je napajalni kabel poskodovan ali vtikač razrahljan, napajalnega kabla ne uporabljajte. Obrnite se na pooblasčen servisni center.
-
Ne vključite naprave v vtikalno dozo z vec vtikaci, ki nima elektricnega kabla (montiranega).
-
Napajalega kabla ne spreiminajte ali podaljsujte.
- Naprava mora biti povezana s temu namesjeno vrsto napajanja, ki je ločeno zlita.
-
Ne uporabljajte multi vtikalne doze, ki ni pravilno ozemeljena (prenosna). V primeru, da uporabljate pravilno ozemljeno multi vtikalno dozo (prenosna), uporabljaje multi vtikalno dozo s trenutno kapaciteto elektricnega kabla za stroj ali visjo in samo za napravo uporabite multi vtikalno dozo.
-
Napravo namestite tam, kjer boste imeli lahek dostop do vtica.
-
Pazite, da vtiča ne obrnete na glavo ali da se naprava ne nagiba proti njemu.
-
Napravo namestite na trda in ravna tla.
-
Naprave ne postavljaje na vlažna in prašnata mesta. Naprave ne namestite ali hranite zunaj ali na katerem koli mestu, kjer bi bila podvržena vremenskih razmeram, kot so neposredna sončna svetloba, veter,dezali temperature pod ničlo.
-
Naprave ne izpostavlajte neposredni soncni svetlobi ali toploti, ki jo oddajajo toplotne naprave, kot so štedilniki ali grelniki.
Pazite, da med namestitvijo ne izpostavljate hrbtne strani naprave.
Pazite, da vam med montaço in demontaço ne padejo vrata naprave. - Pazite, da med montaço in demontaço vrat naprave ne ušćipnete, stisnete ali poškodujete napajalnega kabla.
- Ne povezujte adapterja za vtikač ali druge dodatke z elektrichnim vtikačem.
Delovanje
- Naprave ne uporabljajte za noben drug names (npr. za shranjevanje medicinskih materialov ali materialov za poskuse in posiljanje), razen za uporabo v gospodinjstvu.
- Med grmenjem, bliskanjem ali daljsim odobjem neuporabene napravo vedno odklopite iz napajanja.
Vtica ali kontrolnikov naprave se ne dotikajte z mokrimi rokami. - Napajalega kabla ne upogibajte in nanj ne odlagajte težkih predmetov.
- Če v elektricne delie naprave vdre voda, izključite vtic in stopite v stik z informacijskim centrom za stranke LG Electronics.
-
Rok ali kovinskih predmetov ne postavljaje znotraj področja hladnegа zraka, naPokrov ali na vročo resetko na hrbtni strani naprave.
-
Ne uporabljajte prevelike sile in ne udarjajte po hrbtni strani naprave.
Zivih zivali, kot so hisni ljubljencki, ne postavlajte v napravo.
- Ko odpirate ali zapirate vrata, pazite na varnost otrok v blizini. Vrata lahko otroka udarijo in poškodujejo. Nikomur ne dovolite oběsanja na nobena vrata, sj se lahko sicer naprava prevrne in povzroci hude telesne poškodbe.
Pazite, da se otroci ne ujamejo v napravo. Otrok, ujet v napravi, se lahko zadusi.
- Ne namescajte tezkih ali lomljivih predmetov, posod, ki so napolnjene s tekocino, gorljivih snovi, vnetljivih predmetov (kot so svece, svetilke itd.) ali grelnne naprave (kot so pečice, grelniki itd.) na napravo.
V primeru uhajanja plina (izobutan, propan, zemeljski plin itd.) se ne dotikajte naprave ali vtica ter takoj prezracite prostor. Ta naprava uporablja plin v hladilmem sredstvu (izobutan, R600a). Čeprav uporablja majhno kolićino plina, je še vedno vnetljiv. Uhajanje plina med prevozom, namestitvijo ali delovanjem lahko zaradiISKrenja povzroči požar, eksplozijo ali poškodbe.
V blizini naprave ne uporabljajte ali shranjujte vnetljivih ali gorljivh snovi (eter, benzen, alkohol, kemikalije, utekocinjeni naftni plin, vnetljivo razpršilo, insekticid, osvežilec zraka, kozmetika itd.).
- Ce zaznate neobicajen hrup, vonj ali dim, takoj izkljucite vtic in se obrnite na informacijski center za stranke LG Electronics.
- Ledomat in posodo avtomata za vodo napolnite samo s pitno vodo.
- Ne poskodujte hladilnega krogotoka.
- Med uporabo v notranjost naprave ne postavlajte drugih elektronskih naprav (grelec, mobilni Telefon).
Vzdrževanje
- Pred ciscenjem naprave ali zamenjavo notranje lucke (ce je namescena) iztaknite napajalni kabel.
- Po odstranitvi vlage ali prahu vtic previdno prikljucite v vticnico.
- Naprave nikoli ne izkljucite z vlecenjem za napajalni kabel. Vtic vedno trdno primite in ga iztaknite iz vticnice.
- Ne škropite z vodo ali vnetljivimi snovmi (zobna pasta, alkohol, razredcevalec, benzol, vnetljiva tekocina, brusilo, itd.) v notranjosti ali zunanjosti naprave, da bi jo očistili.
- Naprave ne Čistite s krtacami, krpami ali gobicami s hrapavo povrsino ali iz kovinskega materiala.
- Napravo sme razstavljati, popravljati ali spreminjati samo usposobljeno servisno osebje iz servisnega centra LG Electronics. Če napravo premikate in namesčate na drugo lokacijo, stopite v stik z informacijskim centrom za stranke LG Electronics.
- Za sušenje notranjosti naprave ne uporabljajte susilca za lase, prav takopa v notranjost naprave ne postavljajte sveče, da bi odstranili neprijjetne vonjave.
Zpospešitev odmrzovanja ne uporabljaje mehanskih pripomočkov ali drugih sredstev.
Odstranjevanje
- Ko boste napravo odlagali, odstranite tesnila vrat ter pustite police in košare na njihovih mestih, otroke pa držite proč od naprave.
- Ves embalažni material (plasticne vrečke in stiropor) odložite na mesto izven dosega otrok. Embalaža lahko povzroči zadusitev.
Tehnična varnost
- Prezračevalne odprtine v ohisju naprave ali v vgrajeni strukturi naj Bodo vedno proste.
-
Ne uporabljaje elektrichnih naprav znotraj hladilnika.
-
Hladilno tekocino in izolacijski plin, ki se uporabljata v napravi, je treba pravilno odstraniti. Preden ju zavržete, se posvetujte s pooblasčenim zastopnikom ali usposobljeno osebo.
- Hladilna tekocina, ki uhaja iz cevi, se lahko vname ali povzroci eksplozijo.
- Količina hladilnega sredstva je navedena na informacijski plošćici v notranjosti naprave.
- Nikoli ne vklopite naprave, ki kaze kakrsne koli znake poškodb. Če ste v dvomih, se posvetujte s trgovcem.
- Naprava je namenjena le za uporabo v gospodinjstvu in v podobnih prostorih. Naprave ne smete uporabljati za komercialne namene in strežbo ali za potovanja, kot recimo s počitniškimi prikolicami ali čolni.
- V tej napravi ne hranite eksplozivnih snovi, kot so plocevinke z vnetljivim plinom.
Hladilna naprava ni namenjena za vgradnjo. - Naprava ni namenjena za uporabo na prenosljivih ali mobilnih mestih, npr. na plovilih ali avtodomih, kjer bi bila med delovanjem v gibanju.
Tveganje požara in vnetljivi materiali

Prikazani simbol vas obvešca o vnetljivih materialih, ki se lahko vžgejo in povzročijo požar,Če ste neprevidni.
- Ta naprava vsebuje majhno kolićino izobutana v hladilnem sredstvu (R600a), toda je tudi vnetljiv. Med prevažanjem ali namestitvijo naprave bodite posebej pozorni, da ne poškodujete nobenega dela krogotoka hladilnega sredstva.
- Ce odkrijete mesto, kjer pušča, se napravine priblžujte z odprtim plamenom ali morebitnimi viri vžiga ter prostor, kjer je naprava, vec minut zracite. Da bi v primeru puščanja v hladilnem krogotoku preprečili nastajanje vnetljive mešanice plina in zraka, mora velikost prostora, kamor boste namestili napravo, ustrezati količini uporabljenega hladilnegа sredstva. Prostor, v katerega boste napravo postavili, mora imeti za vsakih 8 g hladilnega sredstva R600a 1 m² prostornine.
-
Ko namescate napravo, zagotovite, da napajalni kabel ni zatakjen ali poškodovan.
-
Ob zadnji strani naprave ne namescajte elektrichnih podaljskov in razdelilcev ali elektrichnih generatorjev.
POZOR
Da pri uporabi tega izdelka zmanjsate tveganje za lažje telesne poškodbe, okvare ali poškodbe izdelka ali lastnine, upoštevajte osnovna navodila, vključno z naslednjim:
Namecitev
Pri prevozu naprave ne nagibajte ali potiskajte.
- Prepricajte se, da del telesa, kot sta roka ali noga ne obtičita, ko premikate napravo.
Delovanje
Zamrznjenehranealikovinskihdelovszamrzovalnikasene dotikajte z mokrimi ali vlažnimi rokami. To lahko povzroci ozebline.
- Nepostavitesteklenihposod, steklenicali plocevink (posebnotistih, ki vsebujejo gaziranepiace) v zmrzovalni del, na police ali v posodo z ledom, kjer bodo izpostavljene temperaturam pod zmrzovanjem.
- Temperirano steklo na sprednji strani vrat naprave ali policah se lahko poškoduje z udarcem. Če se zdrobi, se ga ne dotikajte z rokami.
- Neobesajtesenavratanaprave, skladiščni prostor ali police in se ne vzpenjaje nanje.
- Nehranitepretirane količine steklenic z vodo ali posod za prilogov košarah vrat.
- Zivalim preprečite grizljanje napajalega kabla ali cevi za vodo.
Vrat ne odpirajte ali zapirajte s pretirano silo.
- Ce je tečaj vrat naprave poskodovan ali deluje nepravilno, prenehajte z uporabo in se obrnite na servisni center LG Electronics.
- Nečistite steklenih polic aliPokrival s toplo vodo, ko so ta hladna.
- Nikoli nejejte zamrznjene hrane takoj po tem, ko jo vzamete iz zamrzovalnika.
- Prepricajte se, da roka ali noga neobtičita ob odpiranju ali zapiranju vrat naprave.
Vzdrževanje
- Ne vystavljaje polic postavljenih na glavo. Police lahko padejo.
- Ce Želite odstraniti zmrzal iz notranjosti naprave, se obrnite na informacijski center za stranke LG Electronics.
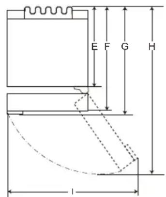
Dimenzije in razdalje
Premajhma razdalja od bliznijih predmetov lahko povzroci zmanjsanje sposobnosti zmrzovanja in poveca stroške za elektriko. Omogočite preko 50 mm razmika med vsako bliznjo steno, ko namešcate napravo.


1

2
| 1 | 2 | |||
| Velikost [mm] | ||||
| Stranski ročaj Zunanji ročaj Stranski ročaj Zunanji ročaj | ||||
| A | 595 595 595 | 595 | ||
| B | 1 860 / 2 030 | 1 860 / 2 030 | 1 860 / 2 030 | 1 860 / 2 030 |
| C | 682 718 675 | 712 | ||
| D | 2 100 | 2 100 | 2 100 | 2 100 |
| 616 | 616 610 | 610 | ||
| F | 682 682 | 675 | 675 | |
| G | - | 718 | - | 712 |
| H | 1 230 | 1 237 | 1 225 | 1 232 |
| I | 995 | 995 995 | 995 | |
OPOMBA
- Meritve v zgornji tabeli so približne.
Temperatura v ambientu
- Naprava je oblikovana, da deluje v omejenem temperaturnem obsegu v ambientu, odvisno od klimatske cone.
- Na notranjo temperaturo lahko vpliva lokacija naprave, temperatura v ambientu, pogostost odpiranja vrat in takol dalje.
Klimatski razred lahko najdete na etiketi.
| Klimatski razred Obseg temperature | v ambientu °C |
| SN (Povečana Temperatura) +10 - | +32 |
| N (Temperatura) +16 - +32 | |
| ST (Subtropska) +16 - +38 | |
| T (Tropska) +16 - +43 / +10 - +43* |
*Avstralija, Indija, Kenija
OPOMBA
Naprave, ocenjene od SN do T, so namenjene, da se uporabijo na sobni temperaturi med 10^ in 43^ .
Opombe za delovanje
- Ko je med poletjem visoka vlažnost, lahko pride do zmrzali, ce vrat ne zaprete popolnama ali jih prepogosto odpirate.
Zagotovite dovolj prostora med hrano na policah in v kosarah vrat, da jih boste lahko popolnama zapri. - Ce ostanejo vrata odprta dlje chasa, lahko to pouzroci znaten dvig temperature v predalih naprave.
- Ce ostane hladilna naprava dlje Časa prazna, jo izklopite, odtalite, očistite, posušite in pustite z odprtimi vrati, da preprećite nastanek plesni znotraj naprave.
Nasveti za varcevanje z energijo
Zagotovite dovolj prostora med shranjeno hrano. Tako bo lahko hladen veter krozil enakomerno, s cimer boste zmanjsali račun za elektriko.
Vroco hrano shranite v naprave le, ko se ohladi, da preprecite roso ali zmrzal.
Pri shranjevanju zivil v zamrzovalnik, nastavite temperatoz pamrzovalnika na nizjo, kot je navedena na zivilih.
- Ne postavlajteŽivil blizu temperaturnega senzorja hladilnika. Ohranite razdaljo najmanj 3 cm od senzorja.
- Dovoljeni razpon dviga temperature po odmrzovanju je navenen v specifikacijah naprave. ČeŽelite zmanjsati vpliv dviga temperature na shranjenaŽivila, jih zaprite v posodo ali pa shranjenaŽivila zavijte v več slojev.
Avtomaticni system odmrzovanja v napravi zagotavlja, da oddelki ostanejo brez kopi'enja ledu ob normalnih pogojih delovanja.
- Za najučinkovitejso porabo energije hranite vse notranje dele (npr. posode na vratih, predale in police) na prvotnem mestu.
- Ne nastavljaje temperature naprave nižje, kot je treba.
Zamrznjeno in hlajeno hrano hranite v zaprtih posodah.
- Preverite rok uporabe in deklaracijo (napotki za shranjevanje) se preden boste začeli shranjevati hrano v napravi.
Zivil, ki se zlahkaPokvarijo pri nizki temperaturi, ne shranjujte za dolgo (za vec kot stiri mesece).
- Hlajeno ali zamrznjeno hrano postavite v hladilnik ali zamrozvalnik takoj po nakupu.
- Surovo meso in ribe shranite v hladilnik v ustreznih posodah, da ne pridejo v stik z drugimi ziivili oziroma povzrocijo kapljanja na druga ziivila.
- Ne zamrzujte Živil, ki so bila popolnama odtaljena. Odtaljena Živila, ki jih boste ponovno zamrozvali,体系建设的建设性
- Ne shranjujte zelenjave, zavite v chasopis. Tiskarski materiali chasopisov in druge tuje snovi se lahko prenesejo na zhivila in jih onesnažijo.
- Naprave ne prenapolnite. Hladen zrak ne more pravilno kroziti, ce je naprava prenapolnjena.
- Ce boste nastavili pretirano nizkotemperaturo, bodo zivila zamrznila. Temperature ne nastavite na nijo, kot je potrebno za pravilno shranjevanje zivil.
Za vec prostora lahko odstranite stojalo za steklenice, pladenj za jajca, pladenj za led in predal za ochranjanje svezine.
Zivila lahko zamrznejo ali sePokvarijo,ce jih boste shranjevali pri neustrezni temperaturi. Nastavite ustrezno temperato za shranjevanje zivil.
Največja zmogljivost zamrzovanja
- Funkcija Express Freeze bo zamrzovalnik nastavila na njvečjo zmogljivost zamrzovanja. To obicajno traja do 24 h in se nato samodejno izklopi.
- Ce zeite uporabiti najvecjo zmogljivost zmrzovanja, je treba funkcijo Express Freeze vklopiti sedem ur, preden se svezi proizvodi bajo v zamrzovalnik.
Zamrzovanje največje količine Živil
- Za boljše kroženje zraka vstavite vse predale
- Ce nameravate shranjevati vecje količine Živil, iz naprave odstranite vse predale ter Živila naložite reposredno na polico (ali police) zamrzovalnika.
OPOMBA
- Ce zeilite odstraniti predale, najprej iz predalo odstranite zivila in nato predale previdno izvlecite. V nasprotnem primeru se lahko poskodujete oziroma poskodujete predale.
- Oblika vsakega predala je lahko razlicna, zato jih pravilno vstavite.
Nastavitev temperature
Tukaj se nastavi temperatura hladilnika ali temperatura zamrzovalnika.
- Ce ze lite preragoditi temperaturo, pritisnite gumb Fridge ali gumb Freezer.
- Temperaturo lahko prilagodite.
Hladilnik: od 1 °C do 7 °C
Zamrzoyalnik od-15 ^ C do-23 ^ C
-
Začetna temperatura je nastavljena.
-
Hladijnik: 3^
Zamrzovalnik: -18 °C
Dejanska notranja temperatura je odvisna od stanja hrane, saj je navedena nastavljena temperatura ciljna temperatura, ne pa dejanska temperatura v hladilniku.
OPOMBA
Nastavljiva temperatura se lahko razlikuje, odvisno od naprave.
- Za optimalno shranjevanje hrane priporocamo povecanje ali znižanje za 1 °C ali za eno stopnio od privzete temperature za vsak predal.
- Po priklujcitvi naprave v elektricno omrezej, pocakajte 2 ali 3 ure preden boste vanjo shraniji brano.
- Za izdelavo ledu v normalnih pogojih mora biti temperatura zamrozvalnika nastavljena na -18°C ali njzie.
Alarm previsoke temperature
Ta funkcija je na voljo samo pri dolocenih modelih. Alarm previsoke temperature je funkcija, ki vas opozori, kadar se temperatura zamrzovalnika zviša do mere, da lahko nastane težava. Lucek LED prikaza temperature v zamrzovalniku utripa inzaslisi se alarm.
-
Ta alarm se oglasi y naslednijh primerih:
-
ob prvem vklopu naprave (zato je temperatura zamrozvalnika visoka).
- kadar so vrata zamrzovalnika dolgo odprata oziroma se pogosto odpirao:
- v primeru dolgega izpada oskrbe z elektricno enerjiio;
- Ko je v zamrozvalnik vstavljena vecja količina vroče brane.
Izklop alarma
Pritisnite gumb Freezer in ga pridrzite, dokler alarm ne neha zvoniti. LED-lucka preneha utripati, ko se predal zamrozvalnika zadostno ohladi.
Predal dodatne svežine (\*)
Kot hladilni prostor lahko temperaturo v predalu dodatne svezine uravnavate tako, da potisnete rocico 1, ki se nahaja pred predalom, v katero koli smer.
Zelenjave in sadja ne shranjujte v načinih Fish in Meat v predalu za hlajenje, saj lahko zaradi nižje temperature zmrzeta.

2 za hranjenie zelenjave. (Priporočljivo)
3 za hranjenie rib.
4 za hranjenie mesa.
OPOMBA
· (*) : Ta lastnost je odvisna od kupljenega modela.
V predalu za zelenjavo se vlaznost lahko prilagaja s premikanjem gumba 1.

za hranjenie zelenjave. (Priporočljivo)
3 za hranjenje sadja.
OPOMBA
(^*) : Ta lastnost je odvisna od kupljenega modela.
Predali za shranjevanjeŽivil Shranjevanje hrane v hladilniku
- Polica v hladilniku
-Tukaj so shranjena hlajena zivila in drugi izdelki.
-Višino police je možno prerilagoditi tako, da jo enostavno vstavite v drug utor. - Shranite Živila z visjo vsebnostjo vlage na sprednjem delu police.
-Dejansko stevilo polic se razlikuje od modela do modela. - Držalo za steklenice ()
-Tukaj so shranjene visoke steklenice za pijaco ali posode.
Zložljiva polica (^)
-Tukaj so shranjena hlajena zivila in visoki izdelki.
Predal za svezo zelenjavo (^*)
Tukaj se shranjuje sadje in zelenjava, da je zagotovljena prava svežina, ki se prilagodi z regulatorjem vlažnosti. - Videz ali sestavni deli naprave se lahko razlikujujo od modela do modela.
Predal dodatne svezine (^*) - Je hladilni predal, kjer so shranjeni meso, ribe in zelenjava. Predal pomaga ohranjati svezino s prerlagajanem regulatorja vlaznosti, ki se nahaja na zadnji strani hladilnega predala.
-Za več prostora lahko v hladilnem območju odstranite polico za hladilni predal. - Premikajovi se podstavek za jajca
Tukaj so shranjena jajca.
-Lahko ga premikate in uporabljate na zenelenm položaju. Vendor ga ne uporabljaje kot zbiralnik za led, ali ga postavljaje na najvisjo polico v zamrozvalniku ali na polico za zelenjavo.
- Hladilna kosara v vratih
-Tukaj se shranjujejo manjsa pakiranja hlajenih zivil, pijace in omake v posodah.
Zbiralnik za vodo (^*)
-Tukaj je shranjena voda zbiralnika za vodo ali samodejnega ledomata. Poljenje poteka rocno (le za modele, ki nisovodovodni).
Shranjevanje hrane v zamrzovalniku
- Pladenj za led
-Tukaj je izdelan in shranjen led.
-Za več prostora lahko odstranite pladenj za led ali vedro za kocke ledu.
Predal zamrozovalnika
-Namenjenje za dolgoročno shranjevanje zamrznenih Živil.
- Ce ze lite zhivila hitro zamrzniti, jih shranite na levo stran zgornjega predala. Zivila bodo v predalu najhitreje zamrznila.
OPOMBA
(^*) : Ta lastnost je odvisna od kupljenega modela.
- Za vec informacij o drugih predalih obiscite splte no mesto lg.com in prenesite uporabniiske prirocnike.
Nadzorna plošča
Dejanska nadzorna plošca se lahko razlikuje od modela do modela.
*1 Ta funkcija je na voljoismo pri dolocenih modelih.
Nadzorna plošca se nahaja na vratih hladilnika ali v hladilniku, odvisno od modela.

Vrsta A


Vrsta B

1 Fridge
Zaporedoma pritiskajte ta gumb, da izberete zeeleno temperaturo med 1^ in 7^ .
- Privzeta temperatura hladilnika je 3^ .
Express Cool
Ta funkcija lahko v kratkem casu ohladi veliko kolićino hrane, kot je zelenjava, sadje itn.
- Ta funkcjja je omogocena in onemogocena vsakič, ko pritisnete gumb za 3 sekunde.
3 Freezer
Zaporedoma pritiskajte ta gumb, da izberete zeeleno temperaturo med -15 °C in -23 °C.
- Privzeta temperatura zamrzovalnika je -18^ .
4 Express Freeze
Ta funkcjja lahko hitro zamrzne veliko kolićino ledu ali zamrnjenih Živil.
- Pritisnite gumb Express Freeze, da aktivirate funkcijo za 24 ur. Funkcija se po 24 urah samodejno izklopi.
- Ta funkcjja je omogocena in onemogocena vsakič, ko pritisnete gumb za 3 sekunde.
- Kadar je ta način vklopljen, se lahko pojavi dolocen zvok in poraba energije se lahko poveča.
Vacation
Ta funkcjja pride prav tedaj, ko ste na pocitnicah. Kadar je vklopljena, znaša temperatura v hladilniku 7^ , v zamrzovalniku pa -15^ . Kadar je funkcjja izklopljena, se temperaturi v hladilniku in zamrzovalniku vrmeta na predhodne nastavitve.
- Ta funkcija je omogocena in onemogocena vsakič, ko pritisnete gumb.
- Kadar je ta način vklopljen, drugi gumbi, z izjemo gumbov Lock in Wi-Fi, ne delujejo.
- Funkcija Eco Friendly je bila preimenovana v Vacation.
APozOR
- Kadar je ta funkcjija vklopljena, bodite pozorni pri shranjevanjuŽivil, ki jih je treba shranjevati pri njizi temperaturi od privzete.
- Cim se vnete domov, ne pozabite izklopiti te funkcije, da s tem odklenete ostale gumbe in vnete hladilnik na njegov prejsnje temperaturne nastavitve.
6 Wi-Fi
Ta gumb poveze napravo z domacim omrezejem Wi-Fi. V poglavju SMART FUNCTIONS najdete informacione o zaćetni nastavitvi aplikacije LG ThinQ.
7 Lock\*1
Ta zaklene gumbe na nadzorni plošci.
- Če Želite zakleniti gumbe na nadzorni plošci, pritisnite in za 3 sekunde pridržite gumb Lock, dokler funkcjja ni aktivirana.
- Če Želite onemogociti funkcijo, pritisnite in za 3 sekunde pridržite gumb Lock, dokler fungcija ni deaktivirana.
OPOMBA
- Za optimalno shranjevanje hrane priporočamo povečanje ali znižanje za 1 °C ali za eno stopnjo od privzete temperature za vsak predal.
- Prikazana temperatura je ciljna temperatura, ne pa dejanska temperatura v napravi.
- Dejanska temperatura v napravi je odvisna od naslednjih dejavnikov: sobna temperatura, količinaŽivil in pogostost odpiranja vrat, prostor, kjer se nahaja naprava. Temperaturo morate nastaviti glede na te dejavnike.
- Nadzorna plošca se zaradi varčevanja z energhi samodejno izklopi.
- Ce se boste ob brisanju dotaknili nadzorne plošće s prstom ali kožo, bo morda začela delovati izbrana funkcija.
Aplikacija LG ThinQ
Ta funkcjja je na voljo le pri modelih s povezavo Wi-Fi.
Aplikacija LG ThinQ vam omogocá, da z napravo komunicirate prek pametnega Telefona.
Funkcije aplikacije LG ThinQ
Z napravo lahko komunicirate preko pametnega telefona.
Smart Diagnosis
- Ce pri uporabi aplikacije naletite na tezave, vam bo funkcija Smart Diagnosis pomagala prepoznati tezavo.
Nastavitve
- Omogocajo vam, da v aplikaciji nastavite razliche moznosti delovanja naprave.
OPOMBA
- Ce spremenite vaš brežični rutar, ponudnika internetnih storitév ali geslo, izbrišite prijavljeno napravo iz aplikacije LG ThinQ in jo ponovno prijavite.
- Aplikacija je predmet spremb in izboljsav o katerih vas ne bomo v naprej obvešçali.
- Funkcije se pri razlichnih modelih razlikujejo.
Pred uporabo aplikacije LG ThinQ
1 Preverite razdaljo med napravo in brezzičnim rutarjem (Wi-Fi omrežje).
- Ce je razdalja med napravo in brezici nim rutarjem predolga, postane moč signala šibka, mordaTRAJa dolgo Časa, da se registrarate ali pa je instalacija morda neuspešna.
2 Ugasnite Mobilne podatke ali Podatki iz mobitela na vašem pametnem Telefonu.

3 Povežite vaš mobilni Telefon z brežićnim rutarjem.

OPOMBA
- Za potrdev povezave Wi-Fi preverite, ali na nadzorni plošci sveti ikona
- Naprava podpira samo omrezej 2,4 GHz Wi-Fi. Da preverite frekvenco va-sega omrezej, kontaktirajte dobavitelja va-se internetne storitve ali se sklicujte na prirochnik o vašem brežičem rutarju.
LG ThinQ ne odgovarja za napake v delovanju omrežja, niti za ostale okvare ali težave glede omrežne povezave. - Ce se naprava s težavo poveže z omrežjem Wi-Fi, je mogoč prevec oddaljena od usmerjevalnika. Kupite brežicni Wi-Fi repetitor za podaljsanje dometa in izboljsanje moči signala Wi-Fi.
- Povezave z omrežjem Wi-Fi morda ni mogoce vzpostaviti ali pa je ta morda zaradi domačega omrežnegā okolja prekinjena.
- Odvisno od parametrov, ki jih doloca ponudnik internetnih storitev, omreznapovezava morda ne bo prvilno delovala.
- Stanje brezickega omrežja lahko tudi upocasnjuje delovanje storitve.
- Naprava ne more biti registrirana zaradi tezav s prenosom brezzičega signala. Izklopite napravo in počakajte priblizno minuto, preden ponovno poskusite. Če je omogocen požarni zid na vašem brezzičné rutarju, ga onemogocite ali k njemu dodajte izjemo.
- Ce je omogocen pozarni zid na vašem brežičem rutarju, ga onemogocite ali k njemu dodajte izjemo.
- Ime brezzičega omrežja (SSID) mora biti kombinacija anglešikh crk in stevilk. (Ne uporabljajte posebnih znakov)
Vmesnik za uporabnika pametnega Telefona (UI) se lahko razlikuje glede na mobilni operacijski system (OS) in izdelovalca.
- Ce je varnostni protokol usmerjevalnika nastavljen na WEP, morda ne bo mogoce vspostaviti omrežja. Prosimo, da ga spremenite v drug varnosti protokol (WPA2 je priporočen) in izdelek ponovno registirajte.
Namestitev aplikacije LG ThinQ
Aplikaciono LG ThinQ poiscite v trgovini Google Play & Apple App na pametnem Telefonu.
- Sledite napravam za prenos in namestitev aplikacije.
Povezava z Wi-Fi
Ce gumb Wi-Fi uporabljate skupaj z aplikaciono LG ThinQ, Iahko napravo povezete v domace Wi-Fi omrezej. Ikona prikazuje status omreznepovezane naprave. Ko je naprava povezana v omrezej Wi-Fi, ikona utripa.
Zacetna registracija naprave
- Zazenite aplikacijo LG ThinQ in sledite navodilom v aplikaciji, da registrarapravo.
Ponovno registrirajte napravo ali registrirajte drugega uporabnika
- Pritisnite in držite Wi-Fi gumb za 3 sekunde, da ga začasno izklopite. Zaženite aplikacijo LG ThinQ in sledite navodilom v aplikaciji, da registrirate napravo.
OPOMBA
- Da onemogocite fungkijo Wi-Fi, pritisnite in za 3 sekunde pridržite gumb Wi-Fi. Ikona zo izklopljena.
Informacije o obvestilu o odprtokodni programski opremi
Za pridobitev izvorne kode v skladu z GPL, LGPL, MPL in drugimi odprtokodnimi licencami, ki so obvezane razkriti izvorno kodo, ki jo vsebuje ta izdelek, ter za dostop do vseh navenenih licencnih pogojev, obvestil o avtorskih pravicah in drugih veljavnih dokumentov obiscite splte no mesto https://opensource.lge.com.
LG Electronics vam odprto kodo zagotovi tudi na CD-ROM-u na zahtevo preko elektronske poiste na naslov opensource@Ige.com ob placilu zneska, kiPokriva stroške tovrstne distribucije (kot so stroški nosilca, posiljanja in obdelave).
Ta ponudba je veljavna za vsakega prejemnika teh informacij za odobje treh let od zadnjega posiljanja tega izdelka.
VZDRŽEVANJE
SL
Opombe za ciscenje
- Ko boste odstranjevali polico ali predal iz notranjosti naprave, odstranite vsa shranjenaŽivila iz polic in predalov, da ne poškodujete sebe ali naprave.
-V nasprotnem primeru lahko zaradi teze shranjenih zivil pride do telesnih poskodb. - Ce boste cistili izpušne cevi za zrak naprave s pomočjo sesalca, izkljucite napajalni kabel iz vticnice, da preprecite staticno razelektritev, ki lahko poskoduje elektroniko ali povzroci elektrici udar.
- Izvlecite police in predale ter jih umijte Z vodo. Preden jih ponovno namestite, jih ustrezno posusite.
- Tesnilo vrat redno obrisite z mokro in mehko brisačo.
- Razlitja in madezi na kosari vrat je treba očistiti, saj lahko vplivajo nazmogljivost shranjevanja kosar in jih morda tudi poškodujejo.
- Po ciscenju preverite, ali je napajalni kabel poskodovan, vroč ali nepravilno prikljucen.
-
Redno cristite izpušne cevi za zrak na zunanjem delu naprave.
-
Blokirane izpušne cevi za zrak lahko povzročijo požar ali poskodbe naprave.
-
Ce cistite notranjost ali zunanjost naprave, je ne obrišite z grobo krtaco, zobno pasto ali vnetljivimi materiali. Ne uporabljaje cistil, ki vsebujejo vnetljive snovi.
-
To morda povzroci razbarvanje ali povzroci skodo na napravi.
-Vnetljive snovi: alkohol (etanol, metanol, izopropilni alkohol, izobutilni alkohol, itd.), razredcevalec, belilo, benzol, vnetljiva tekočina, razjedljivo sredstvo, itd.
- Za zunanzi del naprave uporabite cisto gobo ali mehko krpo in nezen detergent v topli vodi. Ne uporablajte sredstva za poliranje. Temeljito posusite z mehko krpo.
-
Polic ali posod nikoli ne pomivaje v pomivalnem stroju.
-
Deli se lahko izoblicijo zaradi toplote.
-
Redno Čistite povrsine, ki so v stiku z zivili, in dostopne odtoke.
- Ce ima naprava LED lucko, ne odstranjujtePokrova in LED lucke, niti ne poskusajte okvare odpraviti siomi. Posvetujte se z informacijskim centrom za podporo strankam LG Electronics.
Odstranjevanje vašega starega aparata

- Na izdelku prečrtan simbol smetnjaka opozarja, da je treba odpadne elektricne in elektronske izdelke (OEEI) odstranjevati ločeno od ostalih komunalnih odpadkov.
- Odpadni elektricni izdelki lahko vsebujejo nevarne snovi, zato s pravilnim odstranjevanjem starega aparata priptomorete k preprecevanju morebitnih negativnih vplivov na okolje in zdrajve ljudi. Vas stari aparat lahko vsebuje dele, ki bi jih bilo mogoce uporabiti za popravilo drugih izdelkov, in druge dragocene materiale, ki jih je mogoce recikirati in s tem ohranjatiOMEJENEVIRE.
- Vaš aparat lahko odnesete bodisi v trgovino, kjer ste kupili ta izdelek, ali pa se obrnite na lokalni urad za odstranjevanje oppadkov glede podrobnosti o najblizjem pooblasčemem zbirnem mestu za OEEI. Za njnovejše informacije za vašo državo si oglejie www/lg.com/global/recycling
Skrb za stranke in servis
Obrnite se na informaciji skier za stranke LG Electronics.
- Informaciè o pooblascenem servisem centru LG so na voljo na splletni strani www/lg.com.
- Napravo Iahko razstavi, popravi ali spreminja le usposobljeno servisno osebje v pooblašćenem servisem centru LG.
- Garancijsko obdobre za hladilno napravo traja majmanj 24 mesecev.
- Za nakup rezervnih delov se obrnite na informacijski center za stranke LG Electronics ali obišcite spltetno stran www/lg.com.
- Rezervni deli, navedeni v uredbi EU 2019/2019, so na voljo najmanj za odobje 7 let (samo tesnila za vrata so na voljo 10 let).
OPOMBA
- Za več informacij o energetski učinkovitosti naprave obišcite splétrno stran https://eprel.ec.europa.eu in iskanje opravite na podlagi imena modela (velja od 1. marca 2021).
- Uredba EU 2019/2019, ki velja od 1. marca 2021, se nanaša na razrede energijske učinkovitosti, ki jih ureja uredba EU 2019/2016.
- Skenirajte kodo QR, ki se nahaja na energijski nalepki, dobavljeni z napravo, ki zagotavlja spltetno povezavo do informacij, povezanih zzmogljivostjo naprave v podatkovni bazi EU EPREL. Energijsko nalepko skupaj z drugimi dokumenti, ki ste jih prejeli z napravo, shranite za kasnejso uporabo (velja od 1. marca 2021).
- Ime modela je navedeno na tipski nalepki naprave.
- Ta izdelek vsebuje vir svetlobe, ki se uvršča v razred energijske učinkovitosti G.

Pretvaračsvežine (^*) 11
Fioka za sveze povrce (^*) 11
Kontrolna tabla 13
PAMETNE FUNKCIJE 15
Aplikacija LG ThinQ 15
ODRZAVANJE 17
Napomene za cijscenje 17
Odaganje starog aparata 17
RESAVANJE PROBLEMA 18
Zakorischenje u Evropi:
*Australija, Indija, Kenija
NAPOMENA
Predlog za uštedu energije
- Obezbedite dovoljno prostora izmedu hrane koja se cuva. Ovo omogucava da hladan vazduh ravnomerno cirkulise, pa se na taj način smanjuju i računi za struju.
- Ugrejanu hranu stavite unutra tek nakon sto se ohladi, da ne biDoslo do vlazenja ili zaledivanja.
Kada cuvate hranu u zamrzivaču, podesite da temperatura zamrzivača bude niža od temperature koja je navedena na hrani.
- Ne stavljajte hranu blizu senzora koji se nalazi u frižideru. Održavajte rastojanje od najmanje 3 cm od senzora.
-
Imajte na umu da porast temperature nakon odledivanja ima dozvoljeni opseg koji mozte naci u specifikacijama uredaja. Ako zelite da umanjite uticaj koje ovo moze da ima na cuvanje hrane zbog porasta temperature, uvezite ili umotaje hranu u vishe slojeva.
-
Sistem za automatisko otapanje u ovom uredaju obezbeduje potpuno otapanje naslaga leda nastalih pri radu uredaja u uobičajenim radnim uslovima.
Za najefikasniju upotrebu energia, proverite da li su svi unutrasnji delovi (npr. korpe u vratima, fioke i police) na svojim mestima. - Nemojte da podesavate temperaturu uredajana nizu negro sto je to potrebno.
Delotvorno cuvanje hrane
- Cuvajte smrznutu hranu ili ohladenu hranu u zatvorenim posudama.
Proverite rok trajanja i nalepnicu (uputstva za skladistenje) pre skladistenja hrane u urejad.
- Ne skladišite hranu jako dugo (duže od 4 nedelje) akso lake kvari na niskim temperaturama.
- Stavite ohladenu hranu ili smrznutu hranu u frižider ili zamrzivač odmah nakon kupovine.
Zivo meso i ribu cuvajte u odgovarajućim posudama u frižideru, takao da ne budu u dodiru sa drugom hranom i takao da ne kaplju na nju.
Notice-Facile