GBB61BLHEC - Nevera LG - Manual d'usuari gratuït
Trobeu gratuïtament el manual del dispositiu GBB61BLHEC LG en format PDF.
Descarrega les instruccions per al teu Nevera en format PDF gratuïtament! Trobeu el vostre manual GBB61BLHEC - LG i torna a tenir el teu dispositiu electrònic a les mans. En aquesta pàgina es publiquen tots els documents necessaris per a l'ús del teu dispositiu. GBB61BLHEC de la marca LG.
MANUAL D'USUARI GBB61BLHEC LG
Llegiu detingudament aquest manual del proprietari abans d'utilizar l'aparell i tinguieu-lo a ma com a referencia en tot moment.
INSTRUCCIONS DE SEGURETAT 3
INSTRUCCIO IMPORTANT DE SEGURETAT 3
INSTAL·LACIO 10
Dimensions i espais Iliures 10
Temperatura ambient 10
FUNCTIONAMENT 11
Eliminació del seu vell electrodomèstic. 18
SOLUTIONAR PROBLEMES 19
Informació adicional Del Manual
Aquesta es una versio curta del manual del propietari. Per obtaining més informació, visiteu el lloc web de LG a http://www/lg.com

Les seguents directrius de seguretat tenen l'objectiu d'avitar riscos o danys imprevistos deguts a un fonctionament insegur o Incorrecte de I'aparell. Les directrius es dividexen en 'ADVERTENcia' i PRECAUCIO', tal com es descriu a continuacion.

Aquest-symbol es是我的a per indicar questions i operaciones que poder suposar un risc. Llegiu atentament la part amb aquest-symbol i seguiu les instruccions per evitar riscos.

ADVERTÉNCIA
Indica que no seguir les instruccions pot causar lesions greus o la mort.

PRECAUCIó
Indica que no seguir les instruccions pot causar lesions Ileus o danys al producte.
INSTRUCTIONS IMPORTANTS DE SEGURETAT

ADVERTÉNCIA
Per reduir el risc d'explosió, incendi, mort, descàrrega electrica, lesions o escaldades a les personnes quam utilisezau aquest producte, seguiu les precaucions basiques, incloses les següents:
Nens a la llar
- Aquest aparell no está pensat per ser utiliser per personnes (inclosos nens) amb capacités fisiques, sensorials o mentals reduièdes, o amb manca d'expérience i coneixements, tret que hagin rebut la supervisió o instruccions sobre l'us de l'aparell per part d'une persona responsable de la seva segurette. Cal vigilar que els nens no juguin amb l'aparell.
- Si l'aparell està Equipat amb pany (només alguns models), mantingueu la clau fora de l'abast dels nens.
Per al seu u s a Europa:
- Aquest aparell pot ser utiliser per infants a partir de 8 anys i per personnes amb una disminución de les capacités fisiques, sensorials o intel-lectuals o sense experiência ni coneixements siREEN supervisión o instruccions relatives a un u's prudent de l'aparell i entennen el riscos que aixo comporta. Els infants no han de hacer amb l'aparell. La neteja i el mantenimiento de l'usuari no els poder fer infantensense supervisión.
- Els nens de 3 a 8 anys podercarregar i descarregar aparells frigorifics.
Instal·lació
- Aquest aparell només el PODEN Transportar dues o més personnes que el puguin subjectar de manière segura.
- Assegureu-vos que la presa de corrent está correctamente connectada a terra i que la clavilla de terra del cable d'alimentacion no está malmesa ni desconnectada de l'endoll. Per a més detalls sobre la connexión a terra, informeu-vos en un centre d'informatío al client d'LG Electronics.
- Aquest aparell está equipat amb un cable d'alimentacion que te un conductor de connexio a terra de l'equip i un endoll d'alimentacion amb connexio a terra. L'endoll ha de connectar-se a una presa de corrent adequat que estigui installada i connectada a terra d'acord amb tots els codis i ordinances locals.
- Si el cable d'alimentacion está malmes o l'orifici de la presa de corrent está solt, ha de substituir-se. No/utilizeu el cable d'alimentacion i poseu-vos en contacte amb un centre de servei autoritzat per evitar situaciones de perill.
- No connecteu l'aparell a un adaptor multiendoll que no dispos de cable d'alimentazio (muntat.)
- No modifiqueu ni prolongueu el cable d'alimentació.
- L'aparell ha de connectar-se a una linia d'alimentació exclusiva amb fusibles independents.
- No utiliser una presa de current multiple que no estigui degudamente connectada a terra (portàtil). Ha de complir les espécificaciones技术和es de l'aparell i només pot utiliser-se per a aquest.
- Instal-leu l'aparell en un lloc on sigui fácil desendollar-lo.
- Aneu amb compte de noDEXAR CAURE la porta de l'aparell durant el muntege o desmuntege.
-Instal-leu l'aparell en una superficie ferma i anivellada. -
No instal-leu l'aparell en un lloc humit i Polsos. No instal-leu ni
-
emmagatzemeu l'aparell a l'exterior ni a llocs exposats a condiencies meteorologiques com ara la illum solar directa, el vent, la pluja o temperatures sota zero.
- No colloqueu l'aparell a la llum directa del sol ni l'exposeu a la calor d'aparells de calefaccio com ara estufes o calefactors.
- Aneu amb compte de no exposar la part posterior de l'aparell en instal-lar-lo.
- Aneu amb compte de noDEXAR caURE la porta de l'aparell durant el muntege o desmuntege.
- Aneu amb compte de no pessigar, aixafar o malmetre el cable d'alimentació durant el muntege o desmuntege de la porta de l'aparell.
- Aneu amb compte de no apuntar l'endoll cap amunt ni deixar que
- l'aparell es recolzi en l'endoll.
Funcionament
- Noutilizeu l'aparell per a cap autre fi (emmagatzematge de materials medics o experimentals o enviament) que no sigui I'emmagatzematge domestic d'aliments.
- Desendolleu la clavilla d'alimentació durant tempestes electriques fortes o llampecs, o quam no aneu a utiliser l'aparell durant un llarg期内e de temps.
- No toqueu l'endoll niels controls de l'aparell amb les mans humides.
- No doblegueu en excès el cable d'alimentació ni hi col-loqueu objectes pesats a sobre.
- Si penetrà aigua en les parts electrolyques de l'aparell, disconnectéu l'endoll i poseu-vos en contacte amb un centre d'informatió al client d'LG Electronics.
- No colloqueu les mans ni objectes metallics dins de la zona d'émission d'aire fred, la coberta o la reixeta d'alliberament de calor de la part posterior.
- No forceu excessivament ni colpegeu la tapa posterior de l'aparell.
- No introduiu animals, com ara mascotes, a l'aparell.
- Aneu amb compte amb els nens que es trobin a prop quando obriu o tanqueu la porta de l'aparell. La porta pot colpejar el nen i causar-li lesions.
- Eviteu el perill que els nems quedin atrapats dins de l'aparell. Un nen atrapat a l'interior de l'aparell pot sofrir asfixia.
-
No colloqueu objectes pesats o fragils, recipients plens de liquid, substantencies combustibles, objectes inflamables (com a espelmes, llums, etc.) ni aparells de calefaccio (com ara estufes, calefactors,
-
etc.) sobrel'aparell.
- Si hi ha una fuga de gas (isobutà, propà, gas natural, etc.), no toque l'aparell ni l'endoll i ventileu la zona immediatamente. Aquest aparell utilita un gas refrigerant (isobutà, R600a). Encara que utilizes una petite quantitat del gas, continua sent un gas combustible. Una fuita de gas durant el transport, la instal-lació o el funcionament de l'aparell pot provocar un incendi, una explosión o lesions si es produeixen espurnes.
- No utilisez neu emmagatzemeu substancies inflamables o combustibles (eter, benzè, alcohol, productes químics, GLP, aerosols combustibles, insecticides, ambientadors, cosmétics, etc.) prop del'aparell.
- Desendolleu immediatamente l'endoll i poseu-vos en contacte amb un centre d'informacion al client d'LG Electronics si detecteu un soroll estrany, olor o fum queURT de I'aparell.
-
Ompliu només amb aigua potable.
-
Si utilizes unequina de gel o un dipòsit dispensador d'aigua, assegoure-vos d'omplir-lo només amb aigua potable.
-
No malmeteu el circuit refrigerant.
- No colloqueu cap aparell electronic (com ara calefactors i Telefon mobils) dins de l'aparell.
Manteniment
- Desconnecteu el cable d'alimentació abans de netejar l'interior o l'exterior de l'aparell.
- Connecteu l'endoll de manière segura a la presa de corrent despres d'éliminar completament la humitat i la pols.
- No disconnecteu mai l'aparell estirant el cable d'alimenta agafeu sempre l'endoll amb fermesa i estireu-lo directament de la presa de corrent.
- No polvoritzeu aigua o substantencies inflamables (pasta de dents, alcohol, diluent, benzé, liquid inflatable, abrasiu, etc.) sobre l'interior o l'exterior de l'aparell per netejar-lo.
- No netegeu l'aparell amb raspalls, draps o esponges de superficie rugosa o de material metallic.
-
Només el personal qualificat del servei专业技术 d'LG Electronics ha de desmuntar o reparar l'aparell.
-
No utilizezeu un assegador de ma per assecar l'interior de l'aparell ni colloqueu una espelma en el seu interior per eliminar les olors.
- No utilitzeu dispositius mecânci s o autres mitjans per accelerator el proces de descongelació.
Eliminació
- Quan rebutgeu l'aparell, retireu la junta de la portadeerixant els prestatges i les cistelles en el seu llloc i mantingueu als nens allunyats de l'aparell.
- Llenceu tots els materials d'embalatge (com ara bosses de plastic i escuma de poliestirè) de manière que els nens no hi tinguin accés. Els materials d'embalatgelopen provoc asfixa.
- Seguretat tècnica
- Mantingueu les obertures de ventilacio, en el recinte de l'aparell o en l'estructura incorporada, liures d'obstruccions.
- No utiliser aparells électrics dins dels compartments d'emmagatzematge d'aliments de l'aparell, tren que siguin del tipus recomanat pel fabricant.
- El refrigerant i el gas aillant utilizesn l'aparell requereixen procediments especials d'éliminació. Consulteu al servei技术和 a una persona amb提供优质 similar abans d'éliminar-los.
- Les fuites de refrigerant per les canonades podrien incendiar-se o provocar una explosio.
- La quantitat de refrigerant del vosre aparell s'indica en la placad identificació de l'interior de l'aporell.
- No poseu mai en marxa un aparell que presente signes de deterioracion. En cas de dubte, consulteu al vosre distribuidor.
-
Els usos previstos d'aquest aparell són les aplicaciones domestiques o similars com ara:
-
ârees de cuina de personal en botigues, oficines i autres entorns de treball;
-
cases de camp i per clients en hotels, motels i autres entorns de tipus residencial;
-
entorns de tipus allotjament i esmorzar;
-
servei d'apats i aplicaciones similars no commercials.
-
No guardeu substancies explosives, com ara aerosols amb propel-lent inflatable, en aquest aparell.
- Aquest aparell frigorific no está destinat a ser utiliser com a aparell encastat.
- Aquest aparell no es per a u s en installacions portàtils o mobils, com ara usos marins o de vehicles recreatus, on estarà en moviment nelle direccion.
Risc d'incendi materials inflamables

Aquestsymbolusalertasobrematerialsinflammablesque podencendre'siprovocar un incendi sino aneu amb compte.
- Aquest aparell conté una petite quantitat de refrigerant isobutà (R600a), que también és combustible. En transporte i instal·lar l'aporell, aneu amb compte de no malmetre cap peça del circuit de refrigeracion.
- Si es detecta una fuita, eviteu qualsevol flama o font potencial d'ignacio i ventileu l'habitacion en la qual es trobi l'aparell durant diversos Minutes. Per evitar la formacion d'une mescla de gas i aire inflamable en cas de fuita en el circuit frigorific, la grandaria del local en el qual s'utiliza l'aparell ha de correspondre a la quantitat de refrigerant utilizzada. El local ha de tener una grandaria d^1m^2 per cada 8 g de refrigerant R600a a l'interior de l'aparell.
- En col·locar l'aparell, assegureu-vos que el cable d'alimentació no quEDI atrapat ni es malmeti.
- No colloqueu diverses preses de corrent portàtils o fonts d'alimentació portàtils en la part posterior de l'aparell.

PRECAUCIó
Per.Reduir el risc de lesions Ileus, avaries o danys al producte o a I'habitatge quan utiliseu aquest producte, seguiu les precaucions basiques, incloses les seguents:
Instal-lació
- Transporteu l'aparell unicament en posicio vertical i no l'inclineu.
- Assegureu-vos de no introduir cap part del cos, com la ma o el peu, en moure l'aparell.
Funcionament
- No toqueu els alimentes congelats ni les peces metal⋅liques del compartment del congelador amb les mans mullades o humides. Pot provocar congelació.
- No colloqueu recipients de vida, ampôles o llaunes (especially les que continguin begudes gasoses) en el compartment del congelador, els prestatges o la glaconera que vagin a estar exposats a temperatures sota zero. El contigutedia expandir-se en congelar-se, trencar el recipient i causar lesions.
- El cristall temperat de la part frontal de la porta de l'aparell o dels prestatges pot resultar danyat per un impacte. Si es trenca, no el toqueu amb les mans.
- No us pengeu de les portes de l'aparell, del magatzem o de la prestatgeria.
- No guardeu una quantitat excessiva d'ampolles d'aigua o recipients per a guarnicions en les cistelles de les portes.
- Eviteu que els animals mosseguin el cable d'alimentació o la manega d'aigua.
- No obriu ni tanqueu la porta de l'aparell amb excessiva forca.
- Si la frontissa de la porta de l'aparell está malmesa o no funciona correctamente, deixeu d'utilizar l'aparell i poseu-vos en contacte amb un servei专业技术zat.
- No netegeuelsprestatgesdecristallnles tapesambaigua calenta.
quanestiguinfreds.Podrien trencar-se ssexposenacanvis bruscos de temperature. - No:Mengeu mai alimentes congelats immediatamente despres d'haverlos tret del congelador. Existeix risc de congelacion o de formacion de butllofes per gebre. PRIMERS AUXILIS: Mantingueuho immediatamente sota el doll d'aigua freda. No estireu.
- Procureu no enxampar-vos una mà o un peu en obrir o tancar la porta de l'aparell o la porta dins de la porta.
Manteniment
- No colloqueu els prestatges boca avall. Els prestatges podrien caure's.
- Si es forma gel en el compartment del congelador, poseu-vos en contacte amb el servei d'atencion al client d'LG Electronics.
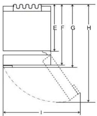
INSTAL·LACIó
CA
Una distancia massa petite dels elements adjacents pot provocar la degradacion de la capacitat de congelacion i l'augment dels costos d'electricitat. Deixeu més de 50 mm d'espa i Iliure des de cada paret adjacent en instal-iar I'aparell.


1

2
| 1 | 2 | |||
| Mida (mm) | ||||
| Maneta de butxaca | Maneta de barra | Maneta de butxaca | Maneta de barra | |
| A 595 595 595 | 595 | |||
| B 1860 / 2 030 1 860 / 2 030 | 1860 / 2 030 1 860 / 2 030 | |||
| C 682 718 675 712 | ||||
| D 2 100 | 2 100 | 2 100 | 2 100 | 2 100 |
| 616 | 616 610 610E | |||
| 682 682 | 675 675F | |||
| - | 718 | - 712G | ||
| 1 230 | 1 237 1 225 1 232H | |||
| I 995 | 995 995 995 | |||
NOTA
- Les mesures de la taula anterior sónapproximades.
Temperatura de l'ambient
- L'aparell està dissenyat per functior dins d'un rang limite t de temperatures de I'ambient, depenent de la zona climàtica.
- Les temperatures internes poden veure's afectades per la ubicacion de l'aparell, la temperatura ambient, la frequencia d'obertura de la porta, etc.
La classe climatica s'indica en l'etiqueta de caractéristiques de l'aparell.
| Classe climàtica | Rang de temperatura ambient °C |
| SN (Temperat extens) | +10 - +32 |
| N (Temperat) | +16 - +32 |
| ST (Subtropical) | +16 - +38 |
| T (Tropical) | +16 - +43 / +10 - +43* |
- Australía, l'India, Kenya
NOTA
- Els aparells classificats de SN a Tstan destinats a ser utiliserzats a una temperatura ambiente compresa entre 10^ i 43^ .
- Els usualis han de tener en compte que es pot formar gébre si la porta no es tanca completeness o si la humitat es alta durant l'estiu.
- Comproveu que hi hagi suficient espai entre els alimentents emmagatzemats en el prestatge o en la cistella de la porta per permetre que la porta es tanqui completeness.
- L'obertura prolongada de la porta pot provocar un augment significativi de la temperature enels compartments de l'aparell.
- Si l'aparell frigorific es deixa buit durant llargs periodes, apagueu-lo, descongeleu, netegeu, assequeu i deixeu la porta oberta per evitar la formacion de floridura a l'interior de l'aparell.
Suggeriment per estalviar energia
- Comproveu que hi hagi suficient espai entre els alimentents emmagatzemats. Aixo permet que l'aire fred circuli uniformement i reduex la factura de la illum.
- Guardeuels alimentscalents nomesdesprés que s'hagin refredat per evitar la condensacion o el gebre.
- Quan emmagatzemeu aliments en el congelador, ajusteu la temperatura del congelador a un valor inferior a l'indicat en l'aliment.
- No colloqueu alimentes prop del sensor de temperatura del compartment frigorific. Mantingueu una distancia minima de 3 cm del sensor.
- Tingueu en compte que l'augment de temperature despres de la descongelacion te un rang admissible en les specifications de I'aparell. Si desitgeu minimzar I'impacte sobreels alimentes emmagatzemats a causa d'un augment de temperature, segelleu o emboliqueu els alimentes emmagatzemats en diverses capes.
- I Sistema de descongelació automatàica de l'aparell garantéix que el compartment romanguí llioure d'acumulación de gel en conditions normals de funcionament. Elsewareis no necessiten descongelar-lo manualment.
- Per a un us més eficient de l'energia, mantingueur totes les peces interiors (per exemple, compartments de la porta, calaixos i prestatges) en la seva ubicació original. Alterar-ne la ubicació podria provocar un consum d'energia i un rendiment menys eficients.
Emmagatzemar els alimentés de manière eficinaç
- Guardeuels alimentedscongelats or refrigeratedins de recipientshermétics.
- Comproveu la data de caducitat i l'etiqueta (instruccions d'emmagatzematge) abans de guardar alimentes en I'aparell.
- No guardeu alimentes durant molt de temps si es fan malbe fácilment a baixa temperatura.
- Eviteu tornar a congelar qualsevol aliment que hagi estat completeness descongelat. Si torneu a congelar un aliment que s'ha descongelat per complet, es reduira el seu sabor i el seu valor nutritiu.
- No emboliqueu i deseu verdures amb paper de diari. El material d'impressio de diaris o autres substantencies estranyes pot tacar i contaminar els aliments.
- No ompliu massa l'aparell. L'aire fred no pot circular correctament si l'aparell està massa ple.
- Si ajusteu una temperatura excessivamente baixa per als alimentés, aquests PODen congelar-se. No fixeu una temperatura inferior a la nécessaria per a l'aliment que emmagatzemareu.
- Per obtenir més espai, podeu treure l'ampolla, la safata d'ous, la safata de gel i el calaix convertidor de frescos. Emmagatzemeu la carn i el peix crus en recipients adequats a la nevera, de manière que no entrada en contacte amb autres alimentés ni degoti sobre.
Colloqueu els alimentes refrigeratsocongelats en cada compartment del frigorificocongelador immediatamente despres de comprar-los. - Els alimentés poder congelar-se o fer-se malbé s'emmagatzemen a una temperatura incorrecta. Ajusteu el frigorific a la temperatura adequada per a l'aliment que emmagatzemareu.
Capacitat maxima de congelació
- La funciona Express Freeze/permetra que el congelador aconsegueixi la seva maxima capacitat de congelacion. Generalment triga fins a 24 hores i es disconnecta automatisticamente.
- La funciona Express Freeze ha d'estar encesa durant 7 hores abans d'introduir productes frescos en el congelador.
Congelar la quantitat maxima d'aliments
- Per aconseguir una millor circulació de l'aire, introduiti totes les peces interiors com ara cistelles, calaixos i prestatges. Si s'emmagatzemen grans quantitats d'aliments, es trauran de I'aparell tots els calaixos del congelador (consulti la seccio Desmunteg i muntege del calaix del congelador). A continuació, s'apilaran els aliments directamente sobre el prestatge (o prestatges) del congelador.
NOTA
- Per extreure els calaixos, retireu primer els alimentes dels calaixos i, a continuació, estireu els calaixos amb cura. No fer-ho podria causar lesions o danys en els calaixos.
La forma de cada calaix pot ser différent, insertiulos en la posicio correcta.
- La configuracion de temperatura predeterminada pot variar segons l'aparell.
- Per a una conservacion optima dels alimentes, es recommana augmentar o disminuir 1^ o un nivell de la temperatura predeterminada per a cada compartment.
- Espereu fins que hagin passat 2 o 3 hores\ després de connectar l'aparell a la presa de\ corrent abans d'emmagatzemar alimentes a\ l'aparell.
- Per a la fabricacion de gel en climes normals, les temperatures del congelador s'han d'ajustar a -18 °C o menys.
Alarma de porta oberta
Aquesta caracteristica nomes esta disponible en algoins models. L'alarma d'alta temperatura es una referencia que avisas quan la temperatura del congelador ha augmentat prou per ser un problema. L'indicador LED de la temperatura del congelador s'il-lumina i sola una alarma.
- Aquesta alarma sona en els seguents casos:
-
Quan l'aparell s'encen per prima vegada (pertant, la temperatura del congelador es alta).
-
Quan la porta del congelador roman oberta durant molt de temps o s'obre amb molta frequencia.
-
Quan se'n va la llum durant un llarg periodo de temps.
- Quan s'introduexeixen grans quantitats d'aliments calents en el congelador.
Apagar l'alarma
Premeu el botó Freezer fins que l'alarma deixi de sonar. El illum LED deixa d'il-luminar-se quando el compartment Congelador s'ha refredat prov.
Fresh Converter (^*)
Com a compartment frigorific, la temperature en el Fresh Converter pot controlar-se lliscant la palanca situada davant del compartment, en qualsevol direccio.
No guardeu verdures i fruites amb el mode Fish o Meat en el compartment frigorific, ja que podrien congelar-se a causa de la temperatura més baixa.

2 Per a emmagatzemar verdures. (Recomanat)
Per a emmagatzemar peix.
4 Per a emmagatzemar carn
NOTA
· (^) :Aquestacharacteristicavaria segons el model adquirit.
- Prestatge del frigorific
- Aquí és on els alimentés refrigeratés i autres s'emmagatzemen els articles.
- L'altura del prestatge pot ajustar-se inserti en prestatge en una altra ranura de differenl alteura.
- Emmagatzema els alimentents amb major contingut d'humitat en la part davantera del prestatge.
- El nombre real de prestatges sera différent
- model a model.
- Ampoller (*)
- Permet guardar-hi recipients i ampolles grans.
- Prestatge plegable(*)
- Es ajustable per a satisfier les necessities individuels d'emmagatzematge.
- Calaix de la fruita\*
Aquí és on s'emmagatzemen fruites i verdures per ajudar a mantener la frescor ajustant el controlador d'humitat.
- L'aspecte oels components de l'aparell foden diferir d'un model a un autre
- Convertidor Fresc(*)
- Com a compartment de refrigeracion, es on s'emmagatzemen la carn, el peix i les verdures. Ajudeu a tenerir la frescor ajustant el controlador d'humitat situat a la part posterior del compartment de la nevera.
- Per obtaining espaí, podeu utilizes a zona de refrigeración sense calaix del compartment de refrigeración.
- Ouera mòbil
- Emmagatzema ous.
- Podeu moure aquesta ouera a la posicio que desitgeu, excepte al prestatge superior del frigorific o al calaix de les verdures.
Cistella de la porta del frigorific
- Emmagatzema petits envasos d'aliments refrigerats, begudes i salses.
- Dipòsit del dispensador d'agua (*)
- Permet emmagatzemar-hi aigua per subministrar-la al dispensador. Es requereix omplir-lo manualment.
Emmagatzemeu Aliments En EI Congelador
- Safata de gel
Aqués on es produeix manuallyt el gel.
- Per a disposar de més espai, podeu retirar la safata de gel o la glaçonera.
- Calaix congelador
- Emmagatzema alimentes congelats per a una conservacion.mes prolongada.
- Per congelar alimentes rrapidamente, guardeu-los al costat esquerre del calaix superior. Els alimentes es congelaran més rrapidamente al calaix.
NOTA
(^*) :Aquesta caractéristica varia segons el model acquireit.
- Per obtenir más informació sobre altevespecialidades, visiteu lg.com i descarregueu elsmanuals del propietari.
Panell de control
El panel de control pot ser différent en configuré del model.
Panell de control ifuncs
*1 Aquesta caractéristica només está disponible en alguns models.
El panell de control pot estar situat a la porta del frigorific o a l'interior del frigorific segons el model.

Tipus A


Tipus B

Fridge
Premeu aquest botó diverses vegades per seleccionar la temperatura desitjada entre 1^ i 7^ .
- La temperatura predeterminada del frigorific es de 3^ .
Express Cool
Aquesta funci pot refredar rapidamente una gran quantitat d'aliments com verdura, fruta i altres.
- Aquesta funció s'activà i desactiva cada cop que premeu el botó durant 3 segons.
3 Freezer
Premeu aquestbotodiversesvegadesper seleccionarlatemperaturadesitjadaentre-15 ^ C i-23 ^ C
- La temperatura per defecte del congelador es de -18 °C.
4 Express Freeze
Aquesta funci o per met congelar rapidamente un gran quantitat de gel o alimentes congelats.
- Premeu el botó Express Freeze per activar la funciona durant 24 hores. La funciona es desactivar automatistically despres de 24 hores.
- Aquesta funció s'activà i desactiva cada cop que premeu el botó durant 3 segons.
- Quan aquest mode está activat, es pot produir soroll i el consum d'energia pot augmentar.
5 Vacation
- Aquesta funció s'activi i desactiva cada cop que premeu el botó.
- Quan aquest mode està activat, els autres botons excepte els botons Lock i Wi-Fi no fonctionen.
- S'ha substituţi la denominació Eco Friendly per Vacation.
PRECAUCIO
- Quan aquesta funcio estigui activada, aneu amb compte en emmagatzemar alimentes que requereixin una temperatura inferior a la predeterminada.
- Quan torneu a casa, recordeu desactivar aquesta funcio per a desbloquejar els alteus botons i returnar el frigorific als seuas ajustos de temperatura anteriors.
Wi-Fi\*1
Aquest botó/permet que l'aparell es connecti a la xarxa Wi-Fi domèstica. Consulteu SMART FUNCTIONS per a informaci sobre la configuración inicial de l'applación LG ThinQ.
Lock *1
Bloqueja els botons del panel de control.
- Per bloquejar els botons del panei de control, mantingueu premut el botó Lock durant 3 segons fins que s'activi la funció.
- Per desactivar la funciona, mantingueur premut el botó Lock durant 3 segons fins que la funciona es desactivi.
NOTA
- Per a una conservacion optima dels alimentes, es recomana augmentar o disminuir 1^ o un nivell de la temperatura predeterminada per a cada compartment.
- La temperatura que es是我的a és la temperatura objectiu i no la temperatura real de l'interior de l'aparell.
- La temperatura real de l'interior de l'aparell depen dels factors seguents: la temperatura de l'ambient, la quantitat de menjar, com de sovint s'obren les portes i on es l'aparell. Configureu les temperatures teninternet compte acests factors.
- El panel de control s'apagarà automatàcament per estalviar energia.
- Si es produeix algo nacte dels dits o la pell amb el panell de control durant la seva neteja, la funci de botó pot funcir.
Aplicació LG ThinQ
Aquesta caracteristica nomes esta disponible en models amb Wi-Fi.
L'aplicacion LG ThinQ us permit comunicar-vos amb l'aparell mitjancant un Telefon intel-ligent.
- Us permit configurar diverses options en l'aparell i en l'aplicació.
NOTA
- Si canvieu l'encaminador sense fil, el proveidor de serveis d'Internet o la contrasenya, elimineu l'aparell registrar de l'aplicacion LG ThinQ i registreu-lo de nou.
L'apuracion está subjecta a canvis amb finalitats de millora de l'aparell sense previa vis als usuaris. - Lesfuncs podenvariar segonsel model.
Abans d'utilizar l'aplicacion LG ThinQ
1 Comproveu la distancia entre l'aparell i I'encaminador sense fil (xarxa Wi-Fi).
- Si la distancia entre l'aparell i l'encaminador sense fil es massa gran, la intensitat del senyal s'afebleix. La connexio pot trigar molt de temps o la instal-lacion pot fallar.
2 Desactiveu les dades mobils del vostre telfon intel-ligent

3 Connecteu el vosre Telefon intel-ligent a l'encaminador sense fil

NOTA
- Per a verificar la connexio Wi-Fi, comproveu que l'indicador Wi-Fi del panell de control esta encès.
- L'aparell només es compatible amb xarxes Wi-Fi de 2,4 GHz. Per a comprovar la frequência de la frequency, àstra xarxa, poseu-vos en contacte amb el vostre proveiador de serveis d'Internet o consulteu el manual del vostre encaminador sense fil.
LG ThinQ no es fa responsable dels problemes de connexio a la xarxa ni de les fallades, mal fonctionamento o errors causats per la connexio a la xarxa. - Si l'aparell te problemes per a connectar-se a la xarxa Wi-Fi, es possible que estigui massa lluny de l'encaminador. Adquiriu un repetidor Wi-Fi (extensor d'abast) per a millorar la intensitat del senyal Wi-Fi.
- Es possible que la connexión Wi-Fi no es connecti o s'interröpmi a causa de l'entorn de la xarxa domestica.
- Es possible que la connexión Wi-Fi no es connecti o s'interröpmi a causa de l'entorn de la xarxa domestica.
L'entorn sense fil circumdant pot fer que el servei de xarxa sense fil funzioni lentament. - L'aparell no pot connectar-se a causa de problemas amb la transmissio del senyal sense fil. Desendolleu l'aparell i espereu aproximadamente un minut abans de tornar a intentar-ho.
- Si el tallafocs de l'encaminador sense fil está activat, desactiveu-lo o afegiu-li una exception.
-
El nom de la xarxa sense fil (SSID) ha de ser una combinacion decretres inumeros en angles. (No utilizezueu caracters especials.)
-
La interficie d'usuari (UI) del Telefon intel-ligent pot variar en funció del sistemas operatiu (OS) del mobili del fabricant.
- Si el protocol de seguetat de l'encaminador está configurat com WEP, es possible que Canvieu-ho a un autre protocol de seguetat (es recomana WPA2) i torneu a connectar el producte.
Instal-lar l'aplicacion LG ThinQ
Cerqueu l'apuracion LG ThinQ a Google Play Store o Apple App Store en un téléphone intel- ligent.
- Seguiu les instruccions per descarregar i instal-lar l'aplicació.
Connexión a Wi-Fi
El botó Wi-Fi, quan s'utiliza amb l'aplicació LG ThinQ, permit que l'aparell es connecti a una xarxa Wi-Fi domestica. La icona mostra l'estat de la connexión de xarxa de l'aparell. La icona s'il-lumina quand l'aparell está connectat a la xarxa Wi-Fi.
Registre inicial de l'aparell
- Executeu l'aplicació LG ThinQ i seguiu les instrucciones de l'aplicació per registrar l'aparell.
Tornar a registrar I'aparell o registrar un autre usuari
- Mantingueu premut el botó Wi-Fi durant 3 segons, per apagar-lo temporalment. Executeu l'aplicació LG ThinQ i seguiu les instrucciones de l'aplicació per registrar l'aparell.
NOTA
Per a desactivar la direccion Wi-Fi, mantingueur premut el boto Wi-Fi durant 3 segons. L'indicador Wi-Fi s'apagarà.
Informació d'avís de programari de codi obert
Per tener el codi font que conte aquest producte, d'acord amb GPL, LGPL, MPL i autres licenciés de codi obert que tenen l'obligació de revelar el codi font, i per acceder a tots els termes de llicencia, avisos de detrs d'autor i autres documents rellevants, visiteu https://opensource.lge.com.
LG Electronics también us facillarà el codi font obert en CD-ROM per un import que cobreixi el cost de realizzar aquesta distribución (com ara el cost dels mitjans, l'enviament i la manipulació), previa peticío per correu electronic a opensource@lge.com.
Aquesta oferta es valida per a qualsevol persona que rebi aquesta informacao durant un periode de tres anys a partir del darrer enviament d'aquest producte.
Notes - Neteja
- Abans de retiring un prestatge o calaix de l'interior de l'aparell, retireu tots els alimentents emmagatzemats en el prestatge o calaix per evitar lesions o danys a l'aparell.
- En cas contrari,poden produit-se lesions a causa del pes dels alimentes emmagatzemats.
- Quan netegeu les reixetes de ventilacion exterioris de I'aparell mitjancant aspiracion, haureau de desendollar el cable d'alimentacion de la presa de corrent per evitar qualsevol descarrega estatica que pugui danyar els components electronic o provocar una descarrega electrica. Es recomana la neteja periodica de les cobertes de ventilacion posterior i lateral per tener un functioment fiable i economice de I'aparell.
- Desmunteu els prestatges i calaixos, netegeu-los amb aigua i un detergent suau, i assequeu-los abans de tornar a col-locar-los.
- Netegeu habitualment les jentes de la porta amb una tovallola suau humida.
- Els vessements i taques en la cistella de la porta han de netejar-se, ja que PODen comprometre la capacitat d'emmagatzematge de la cistella i fins i tot podrien malmetre-la.
- ADesprés de la neteja, comproveu si el cable d'alimentacion está malmès.
-
Mantingueu netes les reixetes de ventilacion de l'exterior de I'aparell.
-
Les reixetes de ventilacio obstruides poder invocar incendis o danys en l'aparell.
-
Quan netegeu l'interior o l'exterior de l'aparell, no ho feu amb un raspall aspre, pasta de dents o materials inflamables. No utiliseu produits de neteja que continguin substantiencies inflamables.
-
Podrien descolorir o malmetre l'aparell.
-
Flammable substances: alcohol (ethanol, methanol, isopropyl alcohol, isobutyl alcohol, etc.), thinner, bleach, benzene, flammable liquid, abrasive, etc.
-
Per a l'exterior de l'aparell, utilisezeu una esponja neta o un drap suau i un detergent suau en aigua tèbia. No utilisezeu netejadors abrasius o forts. Assqueeu-lo bé amb un drap suau.
-
Mai netegeuelsprestatgesorecipientsenelrentavaixella.
-
Les peces doivent deformar-se a causa de la calor.
-
Netegeu habitualment les superficies que puguin entra en contacte ambels alimentes.
- Aquest aparell está equipat amb un Ilum interior LED que no requereix manteniment. No retireu la coberta ni el Ilum LED per intentar reparar-lo o canviar-lo. Poseu-vos en contacte amb un centre d'informati el client d'LG Electronics.
Eliminació de l'aparell antic

- Aquest symbol d'un contrôle ratllat queels residues de productes electrics i electronics (RAEE) s'han d'eliminar per separat de la resta de residues municipals.
- Els productes electrics antics antics PODEN containir substantancies perilloses, de manners que l'éliminacio correcta del vosre aparell antic ayudar a prevenir possibles consecuencias negatives per al medi ambient i la salute humana. Elvosre aparell ante pot containir peces reutilizables que es podrien utilizezar per reparar altres productes i altres materials valuosos que es PODen reciclar per conservar recursos limitats.
- Podeu portar el vosre aparell a la botiga on el vau comprar, o be posar-vos en contacte amb l'oficina de residus de la yostra administracion local per tal d'obtenir informacion sobre el vosre punt de recollida de RAEE autoritat més proper. Per tener la informacion mésactualitzada del vosre pays, consulteu www/lg.com/ global/recycling.
Abans de truncar al servei de reparaciones
Atencion al client i servei ttecnic
Poseu-vos en contacte amb un centre d'informati el client d'LG Electronics.
- Per obtaining information about the centres of servei autoritzats d'LG, visiteu el nombre llloc web a www.lq.com.
- Només el personal qualificat del centre de servei autoritzat LG ha de desmuntar, reparar o modifier l'aparell.
- El periode minim de garantia d'aquest aparell frigorific es de 24 mesos.
- Les peces de recanvi a les quals fa reference el Reglament UE 2019/2019 estan disponibles durant 7 anys (nomes les juntes de la porta estan disponibles durant 10 anys.)
- Per adquirir peces de recanvi, poseu-vos en contacte amb un centre d'informacion al client d'LG Electronics o amb el nostre lloc web a www/lg.com.
NOTA
- El Reglament UE 2019/2019, vigent a partir de l'1 de mars de 2021, esta relacionat amb les classes d'eficiencia energetica recollides al Reglament UE 2019/2016.
- Per obtenir más informació sobre l'eficiência energetica de l'electrodomestic, visiteu https://eprel.ec.europa.eu i cerqueu mitjançant el nom del model (valid a partir de l'1 de mars de 2021).
- Escanogeu el codi QR de l'etiqueta energetica subministrada amb l'electrodomestic, que proportiona un enllac web a la informacion relacionada amb el rendiment de l'electrodomestic en la base de dades EPREL de la UE. Conserveu l'etiqueta energetica com a referencia i tots els autres documents subministrats amb I'aparell (valid a partir de I'1 de mars de 2021.)
- Elnom del model es troba en l'etiqueta de classificacion de l'aparell.
- Aquest produit conté una font de illum de classe d'éficiência energetica G.

PRÍRUČKA UžIVATELE
CHLADNIČKA S MRAZNIČKOU
LG ThinQ Applikació 16
Notice-Facile