GBB61BLHEC - Külmik LG - Tasuta kasutusjuhend
Leidke seadme juhend tasuta GBB61BLHEC LG PDF-formaadis.
Laadige alla juhend oma Külmik PDF-formaadis tasuta! Leidke oma juhend GBB61BLHEC - LG ja võtke oma elektrooniline seade uuesti kätte. Sellel lehel on avaldatud kõik teie seadme kasutamiseks vajalikud dokumendid. GBB61BLHEC kaubamärgi LG.
KASUTUSJUHEND GBB61BLHEC LG
Enne seadme kasutusele vötmist lugege LABi kasutusjuhend ning hoidke seda tuleviku tarvis alati käepärast.
See kasutusjuhend võib sisaldada pilte või teksti, mis erinevad teie poolt ostetud mudelist.
Seda kasutusjuhendit revideerib tootja aeg-ajalt.
OHUTUSJUHISED 3
Möotmed ja vahemaad 10
Markused kasutamise kohta 11
Varskuskonverter (^*) 12
Värskete kögiviljade sahtel (*) 12
Juhtpaneel 14
NUTIFUNKTSIOONID 16
LG ThinQ rakendus 16
HOOLDAMINE 18
Markused puhastamise kohta 18
Teie vana seadme havitamine 18
VEA SELGITAMINE 19
See on kasutusjuhendi luhiversoon.
Lisainfo saamiseks palun kulastage LG veebilehte aadressil http://www/lg.com

Vea selgitamine

OHUTUSJUHISED
ET
Allpool toodud ohutusjuhised aitavad ära hoida ettenägematuid riske ja kahjustusi, mis voivad tekkida toote mitteturvalisest vöi valest kasutamisest.
Juhised on jaotatud teemadeks „OHT” ja „ETTEVAATUST”, nagu edaspidi kirjeldatud.

See sumbol viitab asjaoludele ja toimingutele, millega voib kaasneda risk. Lugege selle sumboli juures olev osa hoolikalt labi ja jargige antid uhiseid riski arahoidmisesk.

OHT
Viitab asjaolule, et juhiste eiramine voib pöhjustada tõsiseid vigastusi voi surma.

ETTEVAATUST
Viitab asjaolule, et juhiste eiramine võib tekitada tootele väiksemaid või suuremaid kahjustusi.
Tulekahju, elektrilöogi voi inimvigastuste vältimiseks järgige toote kasutamisel üldisi, k.a alljärgnevoid ohutusnõudeid.
Lapsed majapidamises
- Seda seadet ei tohi kasutada isikud (k.a lapsed), kellel on piiratud füusilised, sensoorsed voi mentalaïsed voimed voi kellel puuduvad kogemused ja teadmised masina kasutamise kohta, kui puudub järevalve voi nende turvalisuse eest vastutav isik ei ole andnud neile juhiseid seadme kasutamise kohta. Lapsi tuleb valata, et nad ei hakkaks seadmega mangima.
Kui seadmel on lukk (ainult mõned mudelid), hoidke võtit lastele kättesaamatus kohas.
Kasutamine Euroopas
- Seda seadet tohivad kasutada lapsed alates 8. eluaastast ning piiratud füusiliste, sensoorsete ja mentala sete vöimetega isikud, vöi isikud, kelle puuduvad kogemused ja teadmised seadme kasutamise kohta ainult siis, kui neile on tagatud jarelevalse vöi antud juhised seadme turvalise kasutamise kohta ja nad saavad aru voimalikest ohtudest. Lapsed ei tohi seadmega mangida. Lapsed ei tohi teha seadme puhastus- ja hooldustöid ilma jarelevalse.
- Lapsed vanuses 3 kuni 8 aastat tohivad kulmutusseadmeid taita ja tuhjendada.
Paigaldamine
- Seda seadet peaks transportima vaid kahe voi enama inimese abi seadet kindlalt kinni hoides.
- Veenduge, et pistikupesa oleks korralikult maandatud ning et voolujuhtme maanduspolt ei oleks kahjustatud ega pistikust eemaldatud. Kusige lisateavet maanduse kohta LG Electronics teeninduskeskusest.
Seade on varustatud toitejuhtmega, millel on maandussoon ja maanduspistik. Pistik peab olema uhendatud sobivasse pistikupesasse, mis on paigaldatud ja maandatud vastavalt kokiidele kohalikele eeskirjadele ja märustele.
Kui toitejuhe on kahjustatud voi pistikupesa logiseb, arge toitejuhet kasutage ja votke ühendust volitatud teeninduskusega.
- Arge ühendage seadet (paigaldamata) toitekaablita mitmikpistikupesaga adapteriga.
- Arge mutke ega pikendage toitejuhet.
Seade tuleb ühendada spetsiaalse elektrliniga, millel on eraldi kaitse. - Arge kasutage mitmik-pistikupesa, mida pole korralikult maandatud (kaasaskantav). Kui kasutate korralikult maandatud mitmik-pistikupesa (kaasaskantav), peab selle nimivaartus olemavordne voi suurem praegusest voimsuset ja kasutage ainult seadme jaoks moeldud pistikupesa.
- Paigaldage seade kohta, kus seda oleks voimalik lihtsalt vooluvorgust eemaldada.
-
Olge ettevaatlik ja arge tommake toitejuhet pingule ning vaadake, et seade ei toetuks toitejuhtme peale.
Paigaldage seade kindlale ja tasasele aluspinnale. -
Age paigaldage seadet niiskesse voi tolmusesse ruumi. Arge paigaldage ega kasutage seadet valitingimustes voi kohas, kus seda voivad mojutada ilmastikutingimused nagu päike, tuul, vihm voi miinuskraadid.
- Arge paigaldage seadet otsese päikesevalguse kättve vöik kütteseadmete lahedusse, nt ahjude vöi plitide körvale.
Paigaldage seade nii, et selle tagakulg ei jaaks avatuks. - Arge laske seadme uksel selle paigaldamise voi eemaldamise käigus maha kukkuda.
- Arge muljuge, pigistage ega kahjustage toitejuhet seadme ukse paigaldamise voi eemaldamise käigus.
- Arge ühendage toitepistikuga adapterit ega teisi lisaseadmeid.
Kasutamine
- Arge kasutage seadet mingil muul otstarbel (meditsiniliste voi katsematerjalide houstamiseks voi transportimiseks), kui vaid koduses majapidamises toidu hoidmiseks.
Lulitage seade vooluvorgust valja aikesetormi ajal voi kui te seadet pikemat aega ei kasuta. - Arge puudutage elektrühendust ega seadme juhtimissüsteemi märgade kätega.
- Arge painutage toitejuhet liigselt ega jatke seda raskete esemete alla.
- Kui vesi satub elektriosadesse, eemaldage pistik vooluvorgust ning poorduge LG Electronics teeninduskeskuse poole.
- Arge pange käsi vöi metallesemeid piirkonda, kust eraldub jahedat ohku, katte sisemusse ega seadme tagaküljel olevasse vöresse, kust eraldub soojust.
- Arge rakendage seadme tagakülje kattele üleiigset jõudu.
- Age pange seadmesse elusolendeid, nt lemmikloomi.
- Jälgige laheduses olevaid lapsi, kui avate vöi sulgete seadme ust. Uks voib lapsele hoobi anda ja tekitada vigastusi.
- Ennette olukordi, kus lapsed seadme sisse loksu voiksid jäada. Seadme sisse kinni jaanud laps vöib lambuda.
- Arge asetage seadme peale raskeid ega ornu esemeid, vedelikke tais mahuteid, suttivaid aineid, polevaid esemeid (nagu kuunlad, lambid jms) voi kutteseadmeid (nagu plite, radiaatoreid jms).
Kui on tegemist gaasilekkega (isobutaani, propaani, loodusliku gaasi vms), arge puudutage seadet ega selle toitejuhet ning ventileerige ruum viivitamatult. Seade kasutab kulmutusagensisi (isobutaan, R600a). Kuigi kasutatava gaasi kogus on vaike, peab siiski arvestama, et see on tuleohtlik. Gaasi lekkimine seadmetransportimise, paigaldamise voi kasutamise ajal voib pohjustada tulekahju, plahvaturse voi sademete eraldumise korral vigastusi.
- Arge kasutage ega hoidke seadme laheduses kergesti suttivaid ja tuleohtlikke aineid (eetrit, benseeni, alkoholi, kemikaale, vedelgaasi (LPG), tuleohtlikke aerosoole, putukatorjevahendeid, ohuvarskendajaid, kosmeetikat vms).
Kui markate seadme juures ebatavalist heli, lohna voi suitsu, uhendage seade koheselt vooluvorgust lahti ja poorduge LG Electronics teeninduskeskuse poole.
Täitke joogiveega ainult jaämasa voi veejaoturi veepaaki.
- Arge kahjustage torusid, kus kulmaagent ringleb.
- Arge asetage seadme sisse elektronikaseadmeid (nt kuttekehi ja mobiltelefone).
Hooldamine
- Ühendage seade vooluvörgust lahti enne, kui hakkate seda puhastama voi selle sisevalgusti lampi vahetama (kui see on olemas).
- Ühendage pistik turvaliselt pistikupesasse, kui olete niiskuse ja tolmu täielikult eemaldanud.
- Arge kunagi tommake toitejuhtmest, kui seadet toitevorgust lahutate. Pistikupesast eemaldamisel hoidke pistikust alati kindlalt kinni ja tommake seda otsesuunas.
- Arge pritsige vett ega suttivaid aineid (hambapasta, alkohol, lahusti, benseen, suutevedelik, hare jms) puhastamiseks seadme peale ega sisse.
- Arge puhastage seadet karedate voi metallis sisaldavate harjade, lappide voi nuustikutega.
- Seadet tohib lahti vötta, parandada vöi muuta vaid LG Electronics teeninduskeskuse poolt volitatud personal. Seadme paigaldamisel teise asukohta vötke ühendust LG Electronics teeninduskeskusega.
- Arge kasutage seadme sisemuse kuivatamiseks juuksefööni, ega pange halva löhna eemaldamiseks seadmesse kūnalt.
- Arge kasutage sulatamise protssesi kiirendamiseks mehaanilisi seadmeid voi muid vahendeid.
Käitlemine
- Seadme ära viskamisel eemaldage uksetihend ja jatke kõik riiulid ning korvid omale kohale. Hoidke lapsed seadmest eemal.
- Pange kogu pakkematerialjal (kilekotid ja stüroplast) lastele kattesaamatusse kohta. Pakkematerialjalid voivad pöhjustada lambumist.
Tehniline ohutus
- Hoidke seadme ventilierimisavad selle sisemuses voi sisseehitatud osades takistustest vabad.
- Arge kasutage külmiku sees elektriseadmeid.
Külmaagendi ja isolatsioonigaasi kaitlemiseks kehtivad erireeglid. Konsulteigerene nene nende utiliseerimist teeninduse esindajaga voi muu samavaärse kvalifikatsiooniga isikuga. - Torudest valja lekkiv kulmaagent voib suttida voi pohjustada plahvatust.
- Konkreetselt teie seadmes oleva kulmaagendi kogus on valja toodud seadme sees oleval sildil.
- Arge kunagi käivitage seadet, millel on kahjustusi. Kahtluse korral konsulteerie om edasimüjaga.
- See seade on mõeldud kasutamiseks vaid koduses majapidamises ja sarnastes kohtades. Seda ei tohi kasutadaCOMMertslik eesmärkidel voi toitlustuse alal ega ka liikuvatel alustel nagu karavanid voi paadid.
-
Arge hoidke seadmes plahvatusohtlikke aineid, nagu kergestisuttivate ainete aerosoolpudeleid.
-
See jahutusseade ei ole moeldud kasutamiseks sisseehitatud seadmena.
- See seade ei ole moeldud kasutamiseks kaasaskantavates voi liikuvates paigaldustes, naiteks laevadel voi söidukelamutel kasutamiseks, kus see too ajal liigub.
Tulekahju oht ja tuleohtlikud materjalid

See sumbol juhib teie tahaelepanu tuleohtlikele materjalidele, mis voivad ettevaatamatuse korral suttida ja pohjustada tulekahju.
- See seade sisaldab väikest kogust isobutaan-külmutusagensi (R600a), kuid see on tuleohtlik. Seadme transportimise ja paigaldamise ajal peab jalgima, et kulmaagendi ringluse osad ei saaks kahjustada.
- Kui olete avastanud lekke, valtige lahtist tuld ning teisi suttimist pohjustavaid allikaid ruumis ja ohutage ruumi, kus seade mitmeid minuteid seisma peab. Kulmaagendi ringluses tekkinud lekke korral gaasi ja ohu segu suttimise valtimiseks peab ruumi suurus, kus seadet kasutatakse, vastama seadmes kasutatud kulmaagendi kogusele. Iga 8 g kulmaagent R600a kohta peab ruumis olemapinda 1m^2
- Seadme paigutamisel veenduge, et toitekaabel ei takerdu ja seda eikahjustata.
- Arge paigutage seadme taha mitmeid pikenduskaableid ega toiteseadmeid.
ETTEVAATUST
Vigastuste ohu, seadme rikete, seadme voi muu vara kahjustada saamise ohu vahendamiseks jargige üldiseid ohutusnõudeid, k.a alljargnevat:
Paigaldamine
- Arge kallutage ega lukake seadet selle transportimise ajal.
Veenduge, et te ei jataks uhtki kehaosa, nagu naiteks katt voi jalga, seaded liigutades selle vahele.
Kasutamine
-
Arge puudutage sugavkülmikus olevat külmunud toitu ega metallosi margade voi niiskete katega. See voib pohjustada külmakahjustusi.
-
Arge pange klaasist mahuteid, pudeleid ega purke (eriti neid, mis sisaldavad gaseeritud jooke) sugavkulmkambrisse, riuiltesse ega jäakambrisse, kus temperatuur on alla nulli.
-
Seadme ukse või riulite esiküljel olev karastud klaas võib lõogi tõttu puruneda. Kui see on katki, arge seda paljaste kätega puudutage.
-
Arge asetage keharaskust seadme ustele, houstamiskohtadele, riiulitele ja arge ronige nende peale.
-
Arge hoidke üleiigset kogust veepudeleid voi purke uksel olevates korvides.
Jalgige, et loomad ei nariks toitejuhet ega veetoru.
-
Arge kasutage seadme ukse avamiseks voi sulgemiseks liigset joudu.
-
Kui seadme uksehing on kahjustatud voi ei tota korralikult, siis lopetage seadme kasutamine ja vötke ühendust volitatud teeninduskeskusega.
-
Arge puhasage klaasist riuleid ja katteid sooja veega, kui nad on veel kulmad.
-
Arge kunagi sööge külmutatud toitu kohe pärast selle sugavkülmikust valjavötmist.
Veenduge, et te ei jataks katt ega jalga seadme seda avades seadme ukse vahele.
Hooldamine
-
Arge sisestage riuleid tagurpidi. Need voivad maha kukkuda.
-
Seadmest jäa eemaldamiseks poörduge LG Electronics teeninduskeskuse poole.
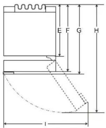
Mööttmed ja vahemaad
Kui seade asub külgnevatele esemetele liiga lahedal, siis viob see pohjustada külmumisvõime halvenemist ja elektrikulude suurenemist. Seadme paigaldamisel jatke seadme ja külgnevate seinte vahele vahemalt 50 mm.


1

2
| 1 | 2 | |||
| Suurus [mm] | ||||
| Süviskäepide Eendu v käpid e | Süviskäepide Eendu v käpid e | |||
| A | 595 595 595 | 595 | ||
| B | 1 860 / 2 030 | 1 860 / 2 030 | 1 860 / 2 030 | 1 860 / 2 030 |
| C | 682 718 675 | 712 | ||
| D | 2 100 | 2 100 | 2 100 | 2 100 |
| 616 | 616 610 | 610 | ||
| F | 682 682 | 675 | 675 | |
| G | - | 718 | - | 712 |
| H | 1 230 | 1 237 | 1 225 | 1 232 |
| I | 995 | 995 995 | 995 | |
TAHELEPANU
- Ülaltoodud tabelis esitatud mõotmed on ligikaudsed.
Umbritsev ohutemperatuur
Seade on moeldud kasutamiseks piiratud valistemperatuuriga kliimatingumistes.
- Sisetemperatuuri voivad mojutada seadme asukoht, ümbritsev òhutemperatuur, ukse avamise sagedus jne.
Kliimatuubi leiate andmesildilt.
| Klimatuüp Välistemperatuuri vahemik °C | |
| SN (Laiendatud Parasvööde) +10 - | +32 |
| N (Parasvööde) +16 - +32 | |
| ST (Subtroopiline) +16 - +38 | |
| T (Troopiline) +16 - +43 / +10 - +43° | |
*Australia, India, Keenia
TAHELEPANU
Seadmed hinnanguga SN kuni T on moeldud kasutamiseks umbritsevas keskkonnas temperatuurivahemikuga 10^ kuni 43^ .
Markused kasutamise kohta
- Kasutajad peaksid meeles pidama, et ukse mittetäielik sulgemine, korge niiskustase suvisel ajal ja sugavkülmiku ukse sage avamine vöib pöhjustada jäa teket.
- Jätke riiulil voi uksesahtlis sailitatavate toiduainete vahele piisavalt ruumi, see voimaldab ukse korralikku sulgemist.
- Ukse avamine pikaks ajaks voib pohjustada seadme sahtites temperatuuri markimisvaarset suurenemist.
- Kui kulmutusseade jäetakse pikemaks ajaks tuhjaks, lulitage see valja, sulatage, puhastage, kuivatage ja jatke selle uks lahti, et valtida hallituse tekkimist seadmes.
Soovitused energia säastmiseks
- Jätke sailitatavate toiduainete vahele piisavalt ruumi. See voimaldab külmal ñhul ühtlaselt ringelda ja säästab energiat.
- Asetage soe toit külmikusse alles pärast maha jahutamist, see hoiab āra kaste ja külmumise tekke.
Kui hoiate toitu sugavkulmikus, seadistage sugavkulmiku temperatuur madalamaks, kui toiduainetele margitud. - Arge pange toiduaineid külmiku temperatuurianduri lahedale. Hoidke andurist vahemalt 3 cm vahemaad.
- Pange tähele, et vastavalt seadme spetsifikatsoonile voib temperatuur teatud piirini tõusta. Kui te soovite antud temperatuuri tõusu moju toiduainetele vähendada, pakkige toiduained mitmekihilisse pakendisse.
Seadme automaatne sulatamissusteem tagab, et tavalistes tootingimustes jaa seadmesse ei kogune.
Köige tohusama energiakasutuse tagamiseks hoidke koik sisemised osad (nt uksekorvid, sahtlid ja riiulid) originaalasukohas. - Arge seadistage seadme temperatuuri madalamaks kui vaja.
Toiduainete efektivne sailitamine
- Hoidke kulmutatud voi jahutatud toitu kaanega anumates.
- Vaadake aegumistähaegasid ja toiduainete silte (hoiustamistingimusi) enne kui toidu seadmesse asetate.
-
Arge sailitage toitu pika aja valtel, kui see madalatel temperatuuridel kiiresti rikneb.
-
Pange jahutatav voi kulmutatav toit sugavkulmikusse voi kulmikusse voimalikult kiaresti parast toidu ostmist.
Sailitage toorest liha ja kala kulmikus sobivates mahutites, et need ei puutuks kokku teiste toitudega ega tilguks nendele.
Valtige toidu uueskulmutamist, kui see on kord juba ules sulatud. Taiesti ulesse sulanud toidu taaskulmutamine kaotab ara toidu maitse ja toitevaartuse.
- Arge mahrkige ja hoiustage kooqivilju ajalehepaberis. Ajalehtede trukivarv ja teised vorad ained vovad toitu maarida ja saastada.
- Arge koormake seadet üle. Külm öhk ei saa korralikult ringelda, kui seade on ülekoormatud.
- Kui te seadistate toidu sailitamiseks vaga madala temperatuuri, voib see labi kulmuda. Arge seadistage temperatuuri madalamaks kui toidu oigeks sailitamiseks noutav temperatuur.
艹 aiendava ruumi saamiseks voite eemaldada pudeliriuli, munakandiku, jakandiku ja varskuskonverteri sahtli.
12 Vale temperatureuril sailitamisel voib toit kulmuda voi rikneda. Seadistage kulmik sailitatava toidu jaoks oigele temperatuurile.
Maksimaalne sugavkulmutamise voimsus
- Ekspresskulmutamise funktsoon lulitab sugavkulmiku salle maksimaalsele kulmutamisvoimsusele. Tavaliselt votab see aega kuni 24 tundi ja lulitub automaatsalt valja.
- Maksimaalse sugavkulmutamise voimsuse kasutamisel tuleb ekspresskulmutamine lulitada sisse seitse tundi enne varskete toiduainete asetamist sugavkulmikusse.
Maksimaalse toidukoguse külmutamine
- Parema ðhuringluse saamiseks sisesta kõik sahtlid.
Kui hoiustatakse suures koguses toitu, tuleb koik sugavkulmiku sahtlid seadmest valja vottaning toit tuleb laduda virna otse sugavkulmiku riiulile (voi riulitele) voi sugavkulmiku kambrisse.
TAHELEPANU
- Sahtlite eemaldamiseks vötke esmalt sahtlitest toit välja ning seejärel tommake sahtlid ettevaatlikult välja. Juhiste eiramine vöib pöhjustada vigastusi vöi kahjustada sahtleid.
- Iga sahtli kuju võib olla erinev, sisestage need ùiges asendis.
Temperatuuri seadistamine
Seadistab sugavkuliku voi kulmuku temperatuuri.
- Temperatuuri reguleerimiseks vajutage nppu Fridge voi nppu Fridge.
- Temperatuuri saab seadistada.
Külmik: alates 1 °C kuni 7 °C
- Sögavkulnik: alates -15 °C kuni -23 °C
- Esialgne temperatuur on märarutud.
Kulmik: 3^
-Sugavkulmk:-18°C
Tegelik siseturatuur erineb olenevalt toiduainete olekust, kuna naidikul olev seadistatud temperatuur on soovitud temperatuur, mitte tegelik temperatuur seadmes.
TAHELEPANU
- Vaikimisi temperatuuriseadistus voib vastavalt seadmele erineda.
- Toidu optimaalse sailitamise tagamiseks on iga kambri puhul soovitatud 1^ voi uhe taseme vorra suurendamine voi vahendamine vorreldes vaikimisi temperatuuriga.
- Oodake pärast seadme sisselülitamist 2 kuni 3 tundi, enne kui panete selle sisse toidu.
- Normaalse kliima juures peaks temperatuur jää valmistamiseks olema seadistatud alla -18 °C vöi kulmemaks.
Körge temperatuuri höre
See funktssoon on olemas ainult teatud mudelitet. Korge temperatuuri hairo on funktssoon, mis hoiatab juhul, kui sugavkulmiku temperatuur touseb probleemsele tasemele. Sugavkulmiku temperatuuri naidiku LED-tuli hakkab vilkuma jakestub haire.
-
Häire kostub järgmistel juhtudel:
-
Seadme esmakordsel sisselulitamisel (seetottu on sugavkulmiku temperatuur liiga korge).
- Sögavkülmiku uks on pikka aega avatud voi seda avatakse vaga sageli.
- Pikaajaline voolukatkestus.
- Kui sugavkulmikusse asetatakse suured kogused kuuma toitu.
Häire valjalulitamine
Vajutage nuppu Freezer kuni hairie vaikib. LED Iopetab vilkumise, kui sugavkulmiku kamber jahtub piisavalt.
Värskuskonverter (*)
Jahutuskambrina saab varskuskonverteri temperatuuri reguleerida kambri eesosas asuvat kangi 1 kummaski suunas libistades.
Arge sailitage koogi- ja puuvilju Fish voi Meat reziimides jahutuskambris, kuna need voivad madalama temperatuuri tottu kulmuda.

Köogiviljade sailitamiseks. (Soovitatav)
3 Kala sailitamiseks.
4 Liha sailitamiseks.
TAHELEPANU
- (*): See omadus soltub ostetud mudelist.
Värskete köögiviljade sahtel (*)
Köogiviljade kambris saab nuppu liigutades reguleerida niiskust 1.

2 Kooigiviljade sailitamiseks. (Soovitatav)
3 Puuviljade sailitamiseks.
TÄHELEPANU
- (*): See omadus soltub ostetud mudelist.
Toidu sailituskambrid
Toidu hoidmine külmikus
Kulmiku riiul
- Siin saab hoida jahutatud toiduaineid jms.
- Riiuli korgust saab seadistada, sisestades riiuliteise, erineva korgusega pilusse.
- Hoidke suurema niiskusesisaldusega toiduaineid riiuli eesosas.
-
Riulite tegelik arv võib olenevalt mudelist erineda.
-
Pudeliriul (*)
- Siin saab hoida körgetes pudelites voi mahutites jooke.
- Kokkupandav riiul (*)
- Siin saab hoida jahutatud toiduaineid ja korgeid esemeid.
Värskete köögiviljade sahtel (*) - Siin saab hoida puu- ja köögivilju, säilitades niiskuse regulaatori reguleerimise teel nende värskust.
-
Seadme osad voivad olenevalt mudelist pisut erineda.
Varskuskonverter (^*) -
Jahutuskambrina saab siin hoida liha, kala ja köögivilju. Saate värskuse sāilitamisele kaasa aidata reguleerides kūlmiku kambri tagaosas asuvat niiskuse regulaatorit.
Täiendava ruumi vajamisel saate jahutusala kasutada ilma jahutuskambri sahtlita.
- Liigutatav munakandik
-
Siin saab hoida mune.
-
Saate seda vastavlt vajadusele liigutada ja kasutada seda soovitud asendis. Siiski ei tohi seda kasutada jäkonteinerina ega asetada külmiku ülemisele riulile ega kögiviljade sahtlisse.
Kulmikuuksekorv
-
Siin saab hoida väikesejdhutatud toiduainete pakke, jooke ja kastmepurke.
-
Veejaoturi mahuti (*)
- Siin hoitakse vett jaoturi voi automaatse jäamasina toite jaoks. See vajab käsitsi taitmist (vaid veeuhenduseta mudelitel).
Toidu hoidmine sugavkülmikus
-
Jäakandik
-
Siin toimub jäa valmistaminja hoiustamine.
Taiendava ruumi vajamisel saate eemaldada jakandiku voi jakuubikute ambri.
Sugavkulmiku sahtel
See on koht kulmutatud toiduainete pikaajaliseks sailitamiseks.
- Toiduainete kiireks külmutamiseks sāilitage toitu ülemise sahtli vasakul poolel. Toiduained külmuvad koige kiiremini selles sahtlis.
TAHELEPANU
(^*) : See omadus soltub ostetud mudelist.
- Lisateabe saamiseks teiste osade kohta kulastage veebisaiti lg.com ja laadige alla kasutusjuhendid.
Juhtpaneel
Tegelik juhtpaneel voib mudelitel olla erinev.
Juhtpaneel ja funktsioonid
*1 See funktsoon on olemas ainult teatud mudelitel.
Juhtpaneel asub olenevalt mudelist kas külmiku uksel voikulmiku sisemuses.
Tuup A


Tuup B


1 Fridge
Vajutage seda nuppu korduvalt, et valida soovitud temperatuur vahemikus 1^ kuni 7^ .
Kulmiku temperatuur on vaikimisi 3^
Express Cool
See funktsion voimaldab kiiresti jahutada suurt kogust toitu, nagu koogiviljad, puuviljad jne.
- See funktsioon hakkab toole voi lakkab tootamast, kui hoiate seda nuppu 3 sekundit all.
3 Freezer
Vajutage seda nuppu korduvalt, et valida soovitud temperatuur vahemikus -15 °C kuni -23 °C.
- Sögavkülmiku temperatuur on vaikimisi -18 °C.
4 Express Freeze
See funktsion voimaldeb suurt kogust jaed voi toitu kiiresti kulmutada.
Vaj utage nuppu Express Freeze funktsiooni 24 tunniks aktiveerimiseks. Funktsion lulitub 24 tunni jarel automaatsetl valja.
- See funktsoon hakkab toole voi lakkab tootamast, kui hoiate seda nuppu 3 sekundit all.
- Kui see režiim on sisse lūlitatud, vōib esineda mūrā ja energiatarbimine vōib suureneda.
5 Vacation
See funktsoon on kasulik, kui olete puhkuse ajal eemal. Kui see funktsoon on sisse lulitud, on külmiku temperatuur 7^ ja sugavkulmiku temperatuur -15^ . Kui see funktsoon on valja lulitad, lulituvad külmik ja sugavkulmik tagasi varasematele temperatuuriseadistustele.
- See funktsoon hakkab toole voi lakkab tootamast, kui vajutate seda nuppu uuesti.
- Selle funktsiooni too ajal ei tota teised nupud, valja arvatud Lock ja Wi-Fi.
- Eco Friendly uueks imeks on Vacation.
ETTEVAATUST
- Kui see funktsoon on sisse lulitad, olge vaikimisi temperatuurist madalamat temperatuuri vajavate toiduainete sailitamise suhtes ettevaatlik.
- Koju tagasi pöördumise l pidage meees see funktsion valja lülit ada, et avada teised nupud ja viia külmkapp tagasi selle eelmistele temperatuuriseadistustele.
6 Wi-Fi
See nupp voimaldab seadmel ühendud a kodu Wi-Fi-vorguga. Teavet LG ThinQ rakenduse esialgse seadistamise kohta vt SMART FUNCTIONS.
7 Lock\*1
Lukustab nupud juhtpaneelil.
- Juhtpaneeli nuppude lukustamiseks hoidke nuppu Lock 3 sekundit all kuni funktsiooni aktiveerimiseni.
- Funktsoiomi tühistamiseks hoidke nuppu Lock 3 sekundit all, kuni funktsion deaktiveeritakse.
TAHELEPANU
- Toidu optimaalse sailitamise tagamiseks on iga kambri puhul soovitatud 1^ voi uhe taseme vorra suurendamine voi vahendamine vorreldes vaikimisi temperatuuriga.
- Kuvatud temperatuur on sihttemperatuur, mitte tegelik temperatuur seadmes.
- Tegelik temperatuur seadme sisemuses oleneb järgmistest teguritest: ruumi temperatuur, toidu kogus ja uste avamise sagedus, seadme asukoht. Märake temperatuurid nende teguritega arvestades.
- Juhtpaneel lulitub energia säästmiseks automaatsetl välja.
- Kui juhtpaneeli puhastamise käigus puutub teie sörm vöi nahk paneeli vastu, vöib puudutatud nupp toöle hakata.
LG ThinQ rakendus
See funktsion on saadaval ainult WiFi-ga mudelitet.
Rakendus LG ThinQ voimaldab teil nutitelefoni abil seadmega suhelda.
Rakenduse LG ThinQ omadused
Suhelge seadmega nutitelefoni abil, kasutades mugavaid nutifunktsioone.
Smart Diagnosis
- Kui teil esineb seadme kasutamisel probleeme, aitab see nutika diagnostika funktsoon teil probleemi diagnoosida.
Seaded
Vöimaldab teil seadistada seadme ja rakenduse erinevaid valikuid.
TÄHELEPANU
- Kui muudate omatraadita ruuterit, Interneti-teenuse pakkujat voi parooli, kustutage registreeritud seade LG ThinQ rakendusest ja registreerige see uuesti.
Rakendus voib muutuda rakenduse taiustamise eesmargil, ilma kasutajaid eelnevalt teavitamata. - Omadused voivad mudeli kaupa erineda.
Enne LG ThinQ rakenduse kasutamist
1 Kontrollige vahemaad seadme ja WiFi-ruuteri vahel (WiFi-värk).
Kui vahemaa seadme ja juhtmevaba ruuteri vahel on liiga suur, muutub signaali tugevus norgaks. Registreerimine voib kaua aega votta voi paigaldamine ebaonnestuda.
2 Lulitage oma nutitelefoni Mobiilne andmevahetus valja.

3 Ühendage om nutitelefon juhtmevaba ruuteriga.

TÄHELEPANU
- WiFi-uhenduse kindlaks tegemiseks kontrollige, kas ikoon uhtpaneelil poleb.
Seade toetab ainult 2,4 GHz WiFi-vörke. Oma vörgu sageduse kontrollimiseks vötke ühendust omainternetiteit use pakkujaga vöi vaadake omawifi-ruuteri juhendist.
LG ThinQ ei vastuta mistakes vorguuhenduse probleemide ega defektide, rikete voi vigade eest, mis voivad olla pohjustatud vorguuhendusest. - Kui seadmel on WiFi-uhendusega probleeme, voib see asuda ruuterist liiga kaugel. WiFi-signaali tugevuse parandamiseks osta WiFi-kordaja (töraadiuse suurrendaja).
- WiFi-uhendus võib jäada loomata või olla katkendlik koduse võrgukeskkonna tõttu.
Vorguuhendus ei pruugi korralikult tootada interneti teenusepakkuja tottu. - Umbritsev juhtmevaba keskkond vöib pannä juhtmevaba teenageruse aeglaselt tõtama.
- Seadme registreerimine ebaönnestus WiFi-signaali edastamise tottu. Vötke seade pistikust valja ja oodake enne uesti proovimist umbes minut aega.
- Kui teie juhtmevaba ruuteri tulemuur on sisse lulitatud, lulitage see valja voi lisage sellele erand.
-
Juhtmevaba vörgu nimi (SSID) peaks olemakombinatsion ingliskeelse tähestiku tahtedest ja numbritest. (Arge kasutage erisümboleid.)
-
Nutitelefoni kasutusliides (UI) vöib olla erinev olenevalt mobili operatsioonisüsteemist (OS) ja tootjast.
Kui ruuteri turvaprotokoll on märaratud WEP peale, vöib vörgu üles seadmine ebaönnestuda. Palun muutke see teiste turvaprotokollide peale (soovitav on WPA2) ja registreerige toode uuesti.
LG ThinQ rakenduse paigaldamine
Otsige nutitlefonis Google Play Store'iist voi Apple App Store'iist rakendust LG ThinQ.
- Järgige allalaadimise juhiseid ja paigaldage rakendus.
Uhendamine Wi-Fi-ga
Wi-Fi-nupu kasutamine koos LG ThinQ
rakendusega voimaldab seadmel uhenduda kodu
Wi-Fi-vorguga. Ikoon koon naitab seadme
vorguhenduse olekut. Ikoon suttib, kui seade on
Wi-Fi-vorguga uhendatud.
Esmane seadme registreerimine
- Seadme registreerimiseks käivitage LG ThinQ rakendus ja järgige rakenduse juhiseid.
Seadme uuesti registreerimine voi teise kasutaja registreerimine
Vajutage ja hoidke all nuppu Wi-Fi 3 sekundit, et seade ajutiselt valja lulitada. Seadme registreerimiseks käivitage LG ThinQ rakendus ja järgige rakenduse juhiseid.
TAHELEPANU
- WiFi-funktsiooni tühistamiseks vajutage ja hoidke all nuppu Wi-Fi 3 sekundit. Ikon lulitatakse valja.
Teave avatud lahtekoodigatarkvara markuse kohta
Selles tootes olevate GPL, LGPL, MPL ja muude lahtekoodi avaldamise kohustusega
vabatarkvarilitsentside alusel lahtekoodi
saamiseks ning ligipääsuks kõigile viidatud
litsentsitingimustele, autoröiguste teadetele ja muudele asjakohastele dokumentidele kulastage palun veebisaiti http://opensource.lge.com.
LG Electronics pakub teile avatud lahtekoodi
CD-plaadil hinnaga, mis katab selle levitamisega seotud kulud, nagu andmekandja kulud, tarnimise ja käsitsemise kulud, ning mille saate tellida, saates e-kirja aadressile opensource@lge.com.
See pakkumine kehtib kõigile, kellele see teave edastati, kolm aastat pärast selle toote viimast tarnimist.
Markused puhastamise kohta
- Kui hakkate seadme seest eemaldama riulit voi sahtlit, votke enne valja selles olevad toiduained, see hoiaab ara vigastused ja seadme kahjustamise.
Vastasel juhul voib toidu raskus pohjustada vigastusi.
-
Kui te puhastate välimisi ventilatsiooniavasid toluimeja abi, peab seadme toitejuhe olemapistikupesast valja voetud, see hoib ara staatilise elektri tekke, mis voib kahjustada seadmeelektroonikat _01 anda elektrilooigi.
-
Vötke riulid ja sahtlid välja, peske need veega puhtaks ja kuivatage hoolikalt enne seadmesse tagasi panemist.
-
Puhkige uksetihendeid regulaarselt niiske pehme lapiga.
-
Ukse tihendil olevad pritsmed ja plekid taleks eemaldada, kuna need halvendavad korvi sailitustingimusi ja voivad isegi puruneda.
-
Pärast puhastamist kontrollige, et toitejuhe ei oleks katki, soe või valesti ühendatud.
-
Hoidke seadme välümised ventilatsiooniavad puhtana.
-
Blokeeritud ventilatsiooniavad vovad pohjustada tulekahju voi seadme kahjustumist.
-
Seadet seespoolt voi väljaspoolt puhasstades arge puhkige seda tugeva harja, hambapasta voi kergesti suttivate materjalidega. Arge kasutage kergestisuttivaid aineid sisaldavat puhasusvahendit.
-
Seadme sisemuse puhastamiseks kasutage puhast švammi või pehmet lappi ja toasoojas vees lahustatud neutraalset puhastusainet. Arge kunagi kasutage abrasivseid või tugevaid puhastusvahendeid. Kuivatage hoolikalt kuiva lapiga.
-
Arge kunagi peske riuleid ega sahtleid noudepesumasinas.
-
Need osad võivad kuumuse tõttu deformeruda.
-
Puhastage toiduga kokku puutada vöivaid pindasid ja ligipäasetavaid aravoolusüsteeme korrapäraselt.
- Kui seadmel on LED-tuli, siis āra eemalda tule katet ega LED-tuld, et seda kas parandada voi hooldada. Palun poörduge LG Electronicsi teeninduskeskuse poole.
Teie vana seadme havitamine

- Labitommatud ristiga prugikasti sumbol tahendab, et elektriliste ja elektroniliste toodete (WEEE) jaatmeid tuleb olmeprugist eraldi havitada.
- Vanad elektriseadmed voivad sisaldada ohtlikke koostisosi, seega aitab prugi nōuetekohane havitamine välṭida voimalikku negatiivset moju loodusele ja inimesto tervisele. Teie kasutatud seade voib sisaldada taaskasutatavaid osi, millega saab parandada teisi seadmeid ning muid vaartuslikke materjale, mida saab taaskasutada, et sālitada piiratud ressursse.
- Saate viia omai seadme kas kauplusse, kust see on ostetud voi votta uhendust kohaliku prugiveo ettevottega, et saada lisainfot omai lahima WEEE jaatmetekogumiskoha kohta. Koige ajakohasemat infot omai riigi kohta vaadake www.lg.com/global/recycling
Klienditeenindus
Vötke ühendust LG Electronicsi klienditeabekeskusega.
- Teabe leidmiseks LG volitatud teeninduskeskuste kohta kulastage meie veebisaiti Aadressil www/lg.com.
- Seadet tohib demonteerida, remontida voi muuta ainult LG volitatud teeninduskuse kvalitseeritud teeninduspersonal.
- Selle külmutusseadme minimaalne garantiaeg on 24 kuud.
- Varuosade ostmiseks vötke ühendust LG Electronicski klienditeabekeskusega vöi kūlastagemeie veebisaiti Aadressil www.lg.com.
- Maaruses EL 2019/2019 viidatud varuosad on saadaval 7 aasta jooksul (ainult uste tihendid on saadaval 10 aasta jooksul).
TÄHELEPANU
- Lisateabe saamiseks seadme energiatohususe kohta kulastage https://eprel.ec.europa.eu ja teostage otsing mudelinime alusel (kehtib alates 1. martsist 2021).
- Alates 1. martsist 2021 kehtiv märus EL 2019/2019 on seotud märuse EL 2019/2016 energiathususe klassidega.
- Skannige seadmega kaasas oleval energiamargisel toodud QR-kood, mis annab veebilingi seadme tooviomega seotud teabele EL andmebaasis EPREL. Hoidke energiamargis ja koki teised seadmega tarnitud dokumendid jarelevaatamiseks alles (kehtib alates 1. martsist 2021).
- Mudeli nine leiate andmesildilt.
- See toode sisaldab valgusallikat energiatohususe klassiga G.

KÄYTTÖOPAS
Notice-Facile