HG07006 - Senčnik Livarno Lux - Brezplačna navodila za uporabo
Brezplačno poiščite navodila za napravo HG07006 Livarno Lux v formatu PDF.
Prenesite navodila za vaš Senčnik v formatu PDF brezplačno! Poiščite svoja navodila HG07006 - Livarno Lux in vzemite svojo elektronsko napravo nazaj v roke. Na tej strani so objavljeni vsi dokumenti, potrebni za uporabo vaše naprave. HG07006 znamke Livarno Lux.
NAVODILA ZA UPORABO HG07006 Livarno Lux
Namenska uporaba. Stran 116
Obsegdobave. Stran 116
Tehnični podatki Stran 117
Varnostna navodila Stran 117
Sestavlianje/razstavlianje Stran 119
Sestavljanje plošćega stojala sončnika Stran 119
Vgradnja soncnika Stran 120
Odpiranje izdelka Stran 120
Vrtenje izdelka Stran 121
Nagibanje izdelka. Stran 121
Zapiranje izdelka. Stran 121
Pritrditev/odstranitev ročice Stran 123
Cischenje in nega Stran 123
Odstranjevanie. Stran 123
Garancijski list Stran 125
KOTNI SONČNIK
Uvod
Iskrene cestitke ob nakupu vasega novega izdelka. Odlocili ste se za kakovosten izdelek. Pred prvo uporabo seseznanite z izdelkom. V ta namen pozorno preberite naslednja navodila za uporabo in varnostne napotke. Izdelek uporablajte samo tako, kot je opisano in samo za navedena področja uporabe. To navodilo hranite na varnem mestu. V primeru izročitve izdelka tretjim, jim predajte tudvso dokumentacijo.
- Namenska uporaba
Ta izdelek jeprimeren za zašcito predsoncem.Drugačna uporaba ali spreminjanje izdelka sta prepovedana in lahko povzročita telesne poškodbe in/ali škodo na izdelku.Proizvajalec ne prevzema odgovornosti za škodo, ki bi nastala zaradi nenamenske uporabe.Ta izdelek ni predviden za komercialno uporabo.
Obseg dobave
Preverite, ali je dobava popolna in ali so vsi deli brezhibni. Izdelkaknikoli ne sestavlajte, ce delimanjkajo.
1 1x Prečnik (križni podstavek)
2 1x Prečnik (križni podstavek)
3 1x Spodnji del stebra
4 4x Vijak (M10 x 25 mm)
5 4x Vijak (M10 x 20 mm)
6 8x Podložka (Ø 10 m)
7 1x Vrtljivi mehanizem
8 1x Pokrov (za vrtljivega mehanizma)
9 1xKapa (za
10 1x Sončnik (s palico)
11 1x Vrhnja cev (za spodnji del stebra)
12 1x Vijak (M6 x 15 mm)
13 1x Ročica
14 1x Kliguc za vijake s'estkotno glavo - mali
15 1x Kliguc za vijake s šestkotno glavo - veliki
16 1x Podaljsevalne palice
17 1x Ovitek
Tehnični podatki
Mere
Sončnik: Priblžno 238 x
$$ 3 0 0 \times 2 4 1 \mathrm {c m} $$
$$ (\check {S} \times G \times V) $$
Plošćno stojalo
Prepričajte se, ali so vsi deli neposkodovani in pravilno sestavljeni. Če je izdelek napacno sestavljen je prisotno tveganje telesnih poskodb.
Poskodovani deli lahko vplivajo na varnost in delovanje izdelka.
PREVIDNO! NEVARNOST TELESNIH POSKODB! Otrok
ne pustite nenadzorovanih ob izdelku. Izdelek ni plezalo ali igrača. Pazite, da nihće, zlasti pa ne otrok, na izdelek ne pleza ali se nanj naslanja. Izdelek lahko izgubi ravnotežje in se prevrne. To lahko povzroci tudigmotno škodo.
PREVIDNO! NEVARNOST TELESNIH POSKODB!
Prepričajte se, da je izdelek
stabilen in na trdni povrsini.
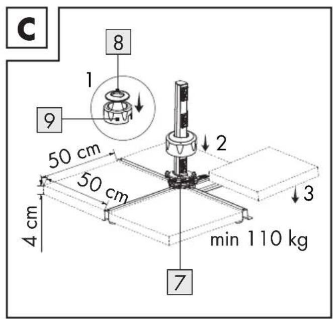
Pred uporabo izdelka: Na križni podstavek 1 2 postavite
kot protiutež najmanj 110 kg.
lzdelek vedno uporabljaite
skupaj s 4 tlakovci velikosti
priblžno 50 × 50 × 4 cm (niso priloženi). Sicer se lahko izdelek
prevrne. To lahko povzroci tudi gmotno škodo.
PREVIDNO! NEVARNOST TELESNIH POSKODB!
Odprtega izdelka nikoli ne premikajte. Soncnik 10 prej vedno zaprite in potegnite roko nazaj. Izdelek lahko sicer izgubi ravnotežje in se prevrne. To lahko povzroci tudi gmotno skodo.
PREVIDNO! NEVARNOST POZARA! Izdelka nikoli ne postavlajte v blizini odprtega ognja in naprav, ki sevajo to以上学历.
Izdelek postavite na trdno in ravno povrsino.
Pred vsako uporabo preverite, ali je izdelek stabilen.
PREVIDNO! NEVARNOST TELESNIH POŠKODB!
Pred odpiranjem in zapiranjem izdelka se prepričajte, da ni nikogar v blžini.
PREVIDNO! NEVARNOST TELESNIH POSKODB! Kadar izdelek odpirate in zapirate, bodite previdni. Sicer vam lahko stisne ali ujame prste.
Pred uporabo preverite, ali je sončnik 10 trdno povezan s spodnjim delom stebra 3 na plošćnem stojalu sončnika.

Izdelek zaprite,
ko kaze, da se bo
povecala hitrost vetra
ali da bo ploha s
sunki vetra.
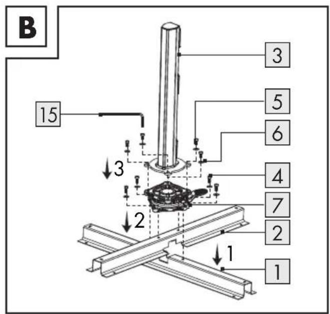
Sestavljanje plošćnega stojalasončnika
Opis Slika
Izdelka nikoli ne uporabljaite za zašito pred slabim vremenom.
Odprtega izdelka nikoli nepustite brez nadzora. Pri nepričakovanem vetru lahko pride do škode.
Spodnji del stebra 3 odstranite s A soncnika 10.
Prečnik 2 postavite na drugi prečnik 1.
Izdelek v vetrovnm, snezenen alidezevmvremenu zaprite.
Na izdelek ne obesajte kakrsnih koli predmetov (na primer oblačil).
Vrtljivi mehanizem 7
vgradite na
prečnik 1 2.
Vstavite vijake 4 in
podložke 6. Vijake 4
zategnite z velikim
kligem za vijake s
šestkotno glavo 15.
Sestavlianje/razstavlianje
Opomba: Za sestavljanje potrebujete delovno povrsino najmanj 16 m² s premerom 4 m.
Opomba: Ce je mogoce, prosite za pomoč se eno osebo.
Opis Slika
Spodnji del stebra 3
vgradite na vrtljivi
mehanizem 7.
Vstavite vijake 5 in
podložke 6. Vijake 5
zategnite z velikim
ključem za vijake s
šestkotno glavo 15.
■ Pokrov 8 postavite na kapo 9. Sestavljena dela 8 9 C postavite na vrtljivi mehanizem 7.
Tlakovce (niso prilozeni) enakomerno položite na precnika 12.
Vgradnja sončnika
Opis Slika
Vrhnjo cev 11 postavite na spodnji del D stebra 3.
V spodnji del stebra 3
vstavite soncnik 10.
Vstavite vijak 12.
Vijake 12 zategnite E
z majhnim ključem
za vijake s šestkotno
glavo 14.
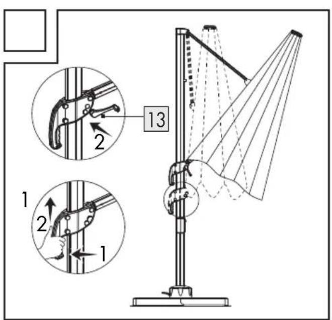
Odpiranje izdelka
Opis Slika
Sprostite rocico za
nastavljanje po visini,
tako da jo pritisnete.
Roicco za nastavljanje
po visini premaknite
navzgor in jo zapahnite
v zadnjem položaju,
tako da jo spustite.
V ročico za nastavljanje po visini vstavite F ročico 13.
Opis Slika
Odprite jezka in na začetku malo raztegnite spice. Blago je lahko rahlo zlepljeno.
Ročico vrtite v desno, dokler ni zgornji del G povsem odprt.
Vrtenje izdelka
Opis Slika
Pritisnite stopalko (na vrtljivem H mehanizmu 7).
Izdelek zavrtite v zeeleni položaj.
Sprostite stopalko, da pritrdite nastavljeni H položaj.
●Nagibanje izdelka
Opis Slika
Sprostite rocico za
nastavljanje po visini in
jo premaknite navzdol,
I dokler ne dosezete
želenega kota.
PREVIDNO! NEVARNOST TELESNIH POSKODB!
Izdelka ne nagibajte v mocnem vetru. Izdelek se lahko prevrne. To lahko povzroci tudi gmotno skodo.
Zapiranje izdelka
Opis Slika
Sprostite rocico za
nastavljanje po visini,
tako da jo pritisnete.
Roicco za nastavljanje
po visini premaknite
navzdol in jo zapahnite
v zadnjem položaju,
tako da jo spustite.
Opis Slika
Ročico 13 zavrtite v levo, dokler ni izdelek J povsem zaprt.
Pritisnite rocico za nastavljanje po visini, da je sprostite. Ročico za nastavljanje po visini premaknite do konca K navzdol. Sprostite ročico za nastavljanje po visini, da zapahnete izdelek.
Izdelek zavarujte z jezkom.
lzdelek zašcitite z ovitkom 17.
Ovitek 17 namesite s podaljsevalnimi palicami 16.
Opis Slika
| Sestavite podaljiševalne palice 16. | M |
| Odprite zadrgo ovitka 17. | M |
| Vstavite podaljiševalne palice 16 in dvignite ovitek 17 nad sončnik 10. | N |
| Zaprite zadrgo ovitka 17. | O |
Odstranjevanieovitka
Odprite zadrgo ovitka [17]. Ovitek [17] odstranite s podaljsevalnimi palicami [16].
Pritrditev/odstranitev ročice
Opis Slika
Odprtino ročice 13 poravnajte z zaticem na držalu ročice. Rocico potisnite na držalo, dokler se zaticne zatakne v odprtino.
Uporabite konicasto
orodje (izvijač ali
zatic), da pritisnete P
zatic in sprostite
ročico 13.
Cisjenegina
Izdelek očistite z rahlo navlaženo krpo, ki ne pušča vlaken.
Izdelek czezimo hranite na hladnem in suhem mestu. Izdelka po moznosti ne hranite v ogrevanem prostoru.
Odstranjevanie
Embalaža je narejena iz okolju primernih materialov, ki jih lahko oddate za recikliranje na lokalnih zbirališich odpadkov.
O možnostih odstranjevanja odsluženega izdelka se lahko pozanimate pri svoji občinski ali mestni upravi.
Postopek pri uveljavljanju garancije
Za zagotovitev titre obdelave
vasega prima vas prosimo, da
sledite naslednjim napotkom:
Prosimo, da za vsa vprašanja pripravite račun in številko izdelka (IAN 384195_2107) kot dokazilo o nakupu.
Stevilko izdelka najdete na identifikacijski plošcici, gravuri, naslovni strani v navodilih (spodaj levo) ali na nalepki na hrbtni ali spodnji strani.
Če pride do napacnega delovanja ali drugih pomanikljivosti, se obrnite najprej na v nadaljevanju navedeni servisni oddelek po Telefonu ali prek e-poste.
lzdelek, označen kot okvarjen, lahko nato brez pošnine posljete na navedeni naslov servisa, zraven pa prilozite potrdilo o nakupu (blagajniški račun) in navedite, za kakšno pomanjkljivost gre in kdaj je nastala.
Servis

Servis Slovenija
Tel.:080082034
E-Mail:owim@lidl.si
- S tem garancijskim listom OWIM GmbH & Co. KG, Stiftsbergstraße 1, 74167 Neckarsulm, Nemcija jamcimo, da bo izdelek v garancijskem roku ob normalni in pravilni uporabi brezhibno deloval in se zavezujemo, da bombo ob izpolnjenih spodaj navedenih pogojih odpravili morebitne pomanjkljivosti in okvare zaradi napak v materialu ali izdelavi oziroma po svoji presoji izdelek zamenjali ali vrnili kupnino.
- Garancija je veljavna na ozemlju Republike Slovenije.
- Garancijski rok za proizvod je 3 leta od datum a izrocitve blaga. Datum izrocitve blaga je razviden iz računa.
- Kupec je dolžan okvaro javiti pooblascenemu servisu oziroma se informirati o nadaljinih postopkih na zgoraj navedeni telefonski stevilki. Svetujemo vam, da pred tem natančno preberete navodila o sestavi in uporabi izdelka.
- Kupec je dolžan pooblascenemu servisu predložiti garancijski list in račun, kot potrdilo in dokazilo o nakupu ter dnevu izročitve blaga.
- V primeru, da proizvod popravlja nepooblasceni servis ali oseba, kupec ne more uveljavlji t zahtevkov iz te garancije.
-
Vzroki za okvaro oziroma nedelovanje izdelka morajo biti lastnosti stvari same in ne vzroki, ki so zunaj proizvajalceve oziroma prodajalceve sfere. Kupec ne more uveljavljati zahtevkov iz te garancije, ce se ni držal priloženih navodil za sestavo in uporabo izdelka ali ce je izdelek kakorkoli spremenjen ali nepravlino vzdhrževan.
-
Jamcimo servis in rezervne dele še 3 leta po preteku garancijskega roka.
- Obrabni deli oz. potrošni material so izvzeti iz garancije.
- Vsi potrebni podatki za uveljavljanje garancije se nahajajo na dveh locenih dokumentih (garancijski list, račun).
- Ta garancija proizvajalca ne izključuje pravic potrošnika, ki izhajajo iz odgovornosti prodajalca za napake na blagu.
Prodajalec:
Lidl Slovenija d.o.o. k.d., Pod lipami 1,
SI-1218 Komenda



ca./approx./env./circa/ok./pribliz./pribl./aprox./Circa/Kb./Priblizno30min

































OWIM GmbH & Co. KG
Stiftsbergstraße 1
74167 Neckarsulm
GERMANY
Model No.: HG07006
Version: 01/2022
IAN 384195_2107
Notice-Facile