TCH7590ER - Aquecimento DELONGHI - Manual de utilização gratuito
Encontre gratuitamente o manual do aparelho TCH7590ER DELONGHI em formato PDF.
Baixe as instruções para o seu Aquecimento em formato PDF gratuitamente! Encontre o seu manual TCH7590ER - DELONGHI e retome o controlo do seu dispositivo eletrónico. Nesta página estão publicados todos os documentos necessários para a utilização do seu dispositivo. TCH7590ER da marca DELONGHI.
MANUAL DE UTILIZADOR TCH7590ER DELONGHI
Instruções de utilização
O8nyiec xpnong
HCTpykunnoKcnnyatau
Hasznalati utmutató
Návod k použití
Instrukcja obstugi
Bruksanvising
Brugsanvising
Käytöohjeet

Fig. 1

Fig. 2
| Voltage Wattage | See rating label | Наръжени е питаня | см. табличу схаразковICTКами |
| Tension puissance | Voir la plaque signalétique | Feszültseg teljesitmény | lásd adattábla |
| Spannung Leistung | siehe Typenschild | Napěti Výkon | viz identifikacičné štitek s technickými udaji |
| Tensione potenza | vedi targa caratteristiche | Napiȩcie, moc | zob. tabliczka z danymi urzadzenia |
| Spanning vermogen | caratteristichezie typeplaatje | Spenning kraft | Se merkeskilt |
| Tension Potencia | néase placà de caractéristicas | Spänning, effekt | se märkplåt |
| Voltagem Potencia | ver placà de espécificações | Spænding se | specifikationsmaerkatet |
| Táση loxíss | βλέπε πυακίδa με χαρακτηριστικά | Virtajännite katso arvokylttä |


Fig. 3

GB
DESCRIPTION
A ON/STAND-BY button
B +/- regulation buttons
C Swing button
D Power selector button
E MODE button (selects the operating mode)
FUNZIONAMENTO ED USO
INSERIMENTO SOSTITUZIONDELLBATERIE
FUNCTIONAMENTO Y USO
A Botão ON/STAND-BY
B Botoes de regulacao + / -
C Botão de oscilação
D Botão de seleção da potência
E Botão MODE (selecção do modo deestrutura)
F Botão do temporizador
G Receptor do telecomando
H Luz piloto
Dispositivo anti-viragem
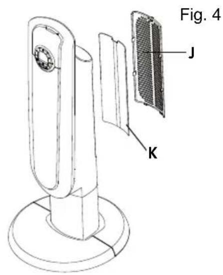
J Greha
K Filtro
L Interruptor geral
LIGACÇÃO ELECTRICA
- Antes de inserir a ficha na.tomada de alimentacao, certificque-se de que a voltagem da sua rede domestica corresponde ao valor indicado em V no aparecido e de que a tomada e a LINHA de alimentacao suportam a cargoa requireida.
- ESTE APARELHO ESTA EM CONFORMIDADE COM A DIRECTIVA 2004/108/CE RELATIVO A SUPRESSAO DAS INTERFERENCIAS RADIOELECTRICAS.
INSTALACAO
O aparecido pode ser utilisé enrialquer superficie de apoio, desde que horizontal.Nao utilize a mesma tomada para outros aparehos.
MONTAGEM D'O APARELHO
- Aplique a base do aparelho ao corpo, inserindo os respectivos pinos nos locais previstos (ver a figura 1).
- Vire o aparelho ao contrario e fixe a base ao corpo do aparelho com os parafusos fornecidos (ver a figura 2).
- Passe o cabo de alimentacao atraves da abertura prevista na base (ver a figura 3).
FUNCTIONAMENTO E UTILIZACAO
- Certifique-se de que o aparelho está desligado antes de introduzir a ficha na tomada.
- Para ligar o aparelho é necessário que o interruptor geral (L) situado na parte posterior do aparelho esteja na pos. I. O aparelho emitirá um "bip", a luz piloto (H) acender-se-a e permanecer acesa quando o aparelho estiver ligado.
- O aparelho colocca-se em stand-by e o visor aparena "--".
- Prima o botão (A) para ligar o aparelho, o qual começará a aquecer de acordo com as regulações predefinidas.
- Prima o botao MODE (E) para selecionar uma das segunteiros disponiveis:
Aquecido (※), → Ventilação (※), → Anti-gelo (※).
5.1 Aquecimento
Neste modo de funciona, é possivel programar a temperatura desejada premindo os botões + e - (B) e selecionar um dos níveis de potência: MIN., MAX. e AUTOPremindo o botão D ( ).
Nivel de potência MIN.: O aparecido funciona à potência minima, reduzindo ao minimo ou ruido e o consumo de energia.
Nivel de potência MAX.: O aparecido funciona à potência Tmaxa favorecido, assim, o aquecido rápido da divisão.
Nivel de potência AUTO: O aparecido determina automaticamente a potência de funciona-mentationo com base nas condições ambientais.
5.2 Ventilação (x)
Neste modo deestructionamentosoestáactivoovetilador,pelo que oaparelho não aquece a divisão.Premindoobotao de selecao de potencia(D)()épossivel selecionar a velocidade deventilacaodesejada:MIN.ouMAX.
Neste modo de funciona o aparecido mantém a divisão a uma temperatura de 7^ para fazer fenções de congregação.
- Se desejar que o aparecido espalhe o fluxo de ar por uma area mais ampla, prima o botão de oscilação (C) (S). O aparecido activado esta forma oscilará para a direita e para a esquerda. Para interromper a oscilação na posicao desejada, basta premir novamente a tecla C.
- Para desligar o aparelho, prima o botão A e colque no 0 o interruptor (L)发展机遇 na parte posterior do aparelho.
NOTA: O visor pode aparecer a temperatura em ^ C e em ^ F . Para seleccionar a unidade de medida desejada, mantenha premida a tecla + durante pelo menos 5 segundos e,(before, solte-a.
Activacao retardada: Com o aparelho em stand-by, prima o botao do temporizador (F) (G).
O visor apareça o símbolo e as horas que faltam para a activação.
Para alterar as horas, prima os botões de regulação + e - (B) e, de seguida, aguarde osculos segundos para que a programação sera memorizada.
O visor torna a aparecer " - - " de stand-by e o*simbolo L
No fim do tempo programado, o aparecido ligar-se-á com as vezes definções que tinha anteriormente.
Desactivacao retardada: Com o aparecido ligado, prima o botão do temporizador (F) ( ).
O visor apareça o símbolo e as horas que faltam para a desactivação.
Para alterar as horas, prima os botões de regulação + e - (B) e, de seguida, aguarde algunos segundos para que a programação sera memorizada.
O visor torna a partirar as definições actuais e o símbolo
No fim do tempo programado, o aparecido desligar-se-á automaticamente.
Se desejar voltar a um functiimento sem temporizador, prima das vezes o botao do temporizador (F). O síbolo do temporizador (L) desaparece do visor.
USO DO TELECOMANDO
O telecomando deve ser uso com muita atenção.
- As funções do telecomando correspondem às do pailé de controlo. Para as suas descrições, consulte a secção "Funçãoamento e Utilização".
INTRODUÇÃO OU SUBSTITUÇÃO DAS PILHAS
- Retire a tampa situada na parte deTRS do telecomando;
- Introduza das pilhas R03 "AAA" 1,5V na posicao correcta (veja as indentacoes no interior do compartmento das pilhas);
- Introduza novamente a tampa.
Tanto no caso de substituição como de eliminacao do telecomando, as pilhas devem ser removidas e eliminadas de acordo com as leis vigentes,agem que são nocivas ao meio ambiente.
MANUTENÇAO
- Retire sempre a ficha da tomada antes de efetuar qualquer operacao de manutencao.
- Limpe regularamente com um aspirador as grehas de entrada e de saida do ar durante a estacao de utilizacao do aparelho.
- Não utilize pós abrasivos ou solventa para a limpeza do aparelho.
- Retire a grelha traseira puxando-a para fora (fig. 4).
Retire o fatto anti-po que retém as impurezas do ar aspirado do ambiente, sare ligeira-mente e, de seguida, colque-o novamente no aparelho.
RESOLUÇÃO DE PROBLEMAS
Se o visor aparecer "PF" e se ouvir um sinal de alarme, o sensor da temperatura não funciona. Se o problema persistir, contacte o Centro de Assistência.
Se o aparelho se desligar inesperadamente:
- Certifique-se de que o aparelho está ligado à corrente.
- Certifique-se de que o aparecido está na posicao vertical e numa superficie plana; o dispositivo de segurarca "anti-viragem" podera ter sido actionado.
- Verifique a temperatura programada e o temporizador.
O aparecido pode-se ter desligado porque a temperatura programada foi atingida ou quando acabou o tempo programado no temporizador.
ADVERTÉNCIAS
- Não utilize este aparecido de aquecimento muito a duches, banheiras, lavatórios, piscinas, etc.
- Utilize o aparelho unic a e exclusivamente na posicao vertical.
- Não utilize o aparecido para registrar roupa e não obstrua as grelhas de entrada e saída do ar (perigo de sobreaqueamento).
- Não permitta o uso do(AParalho a pessoas (incluindo crianças) com capacidades psicofisicas e sensoriais reduzidas, ou com uma experiencia e conhecimentos insufficientes, a menos que sejam atentamente vigiadas e ensinadas por um responsavel pela sua segurarva. Vigie as crianças, certificando-se de que elas não brincam com o(AParalho.
- O aparelho delve estar posicionado a una distancia de 50 cm de moveris ou outros objec-tos.
- Nao colque o aparelho em functiOnamento junto a paredes, moveis, cortinas, etc.
- O uso de extensoes não é aconsehlável. Se, no entanto, tal se tornar necessário, siga atentamente as instruções fornecidas com a extensão. Certifique-se de que não ultrapassa o limite de potência assinalado na mesma.
- Se o cabo de alimentação estiver danificado,deer a ser substituido pelo fabricante ouelo seu service de assistencia的技术ica ou,entao,por uma pessoa que possua uma qualificacao analoga,de forma a prevenir qualquer risco.
- O aparecido não deve ser colocado directamente por baixo de uma tomada de alimentação fixa.
- Nao utilize o aparelho numa divisao cuja superficie sera inferior a 4 m².
Um dispositivo de segurar a interrompe o funcaoamento do termoventilador em caso de sobraquecimento acidental (por ex.: obstrua das grehas de entrada e saida de ar, motor que nao roda ou roda lentamente).
Para restabelec r o funaciono, retire a ficha da tomada durante algoins minuto, elimine a
causa do sobreaquecisione, de seguida, introduza novamente a ficha.
Um dispositivo de segurarà anti-viragem interrompe o functi冗amento, caso o aparelho sera virado ou posicionado de forma Incorrecta e passivel de comprometer a segurarà.

IMPORTANTE: Para evaporar sobraquecimentos, nunca cubra o aparecido quando ele estiver em funcaoamento. Tal podera provocar um perigo saunto da temperatura.
ADVERTÉNCIA: para evitar os riscos associados ao reset accidental do disposito do segurar, este aparecido não deve ser alimentado atraves de um disposito de activação/desactivação externo, como um temporizador, nem ligado a um circuito que sera regularmente ligado e desligado pelo fornecedor de energia.
Advertências para a eliminação correcta do produto nos termos da Direcva Europeia 2002/96/EC.

No fim da sua vidautil, o produitao não deveseliminadojuntamente com os residuos urbanos. Pode ser depositado noscentros especializados de recolha diferenciada das autoridades locais ou, entao, nos revendedores que fornecam thiservico. Eliminar separadamente um electrodomestico permite evitar possiveis consequences negativas para o ambiente e para a saude publicaresultantes deuma eliminação inadequada, lem de que permite recuperar os materiaisconstituientes para, assim, obter um importante poupanca de energia e de recursos. Para assiminar a obrigação de eliminar os electrodomesticos separadamente, o produitsapresenta amarcade um contentor do lixo com uma cruz por cima.
ManualFácil