CTB 6250 XH - CTB 6250 X - Frigorífico congelador BEKO - Manual de utilização gratuito
Encontre gratuitamente o manual do aparelho CTB 6250 XH - CTB 6250 X BEKO em formato PDF.
Baixe as instruções para o seu Frigorífico congelador em formato PDF gratuitamente! Encontre o seu manual CTB 6250 XH - CTB 6250 X - BEKO e retome o controlo do seu dispositivo eletrónico. Nesta página estão publicados todos os documentos necessários para a utilização do seu dispositivo. CTB 6250 XH - CTB 6250 X da marca BEKO.
MANUAL DE UTILIZADOR CTB 6250 XH - CTB 6250 X BEKO
1 Conselhos E Sugestoes 57
2 Caracteristicas. 59
3 Instalacao. 61
4 Utilização 63
5 Manutenção 64
DANSK
1 Rad Og Anvisninger 66
2 Apparatbeskrivelse 68
3 Installation. 70
4 Brug. 72
5 Vedligeholdelse. 73
POLSKI
Leia este manual do utiliser em primeiro lugar!
Caro CLIENTE,
Obrigado por preferir um produit Beko. Esperamos que obtenha os melhores resultados do seu produits, que foi fabricado com alta qualidade e a maior moderna Tecnologia. Entretanto, leia todo este manual do utilizes o todos os outros documents que o accompaniesham cuidadosamente antes de utilizear o produits e guarde-o para consultas futuras. Se transferir o produits para outra和个人, dê-lhe mesmo este manual. Siga todos os avisos e informacoes deste manual do utilizesdor.
Lembre-se que este manual do utiliser pode ser también aplicável para diversos outros modelos. As diferencças entre os modelos estarão identificadas no manual.
Explicação dos símbolos
São utilizes os seguições símbolos em todo omanual:
| i | Informações importantes ou dicas úteis sobre'utilisation. |
| ! | Aviso sobre situações perigosas para a vida e a propriedade. |
| Aviso deCHOQUE EIÉCTRICO. |
| Os materiais da embalagem do produit são feitos de materiais reciclaveis, de acordo com a minha Legiseração Nacional sobre o Ambiente. |
Não elimine os materiais da embalagem juntamente com os resíduos homésticos ou outros temas de resíduos. Leve-os para os pontos de recolha de materiais de embalagem designados pelas autoridades locais.

Este produit foi fabricado com a Tecnologia mais recente em condições amigas do ambiente.
1 Conselho E Sugestões

1.1 Instalação
- O fabricante declina toda e qualquer responsabilitadepelos danos decorrentes de uma instalacao nao correcta ou feita nao em conformidade com as normas da boa的技术ica.
- A distança minima de segurarce entre a placad e cozedura e o exaustor deve ser de 650 mm (alguns modelos podem ser instalados a umaltura inferior,numbers referem-se a pegada einstalacao).
- Verifique se a tensão da rede coincide com a指示a na placac de caractésticas aplicada no interior do exaustor.
- Para os apareiros de Classe la, certifique-se de que a instalacao domestica garanta uma descarga correcta à terra.
- Ligue o exaustor à saída do ar aspirado'utilizing um tubo de diamétro igual ou superior a 120 mm. O percurso do tubo deve ser o mais breve possível.
- Não ligue o exaustor a tubos de descarga de fumaça produzida porcombustão (caldeiras, lareiras, etc...).
-
Caso no mesmo local sejam utilizados quer o exaustor, quer apareiros não actionados pela corrente electrica (por exemplo, apareiros alimentados a gás), sera preciso providecer uma ventilação suficiente do aposento. Se a cozinha não possuir uma abertura que comunique com o exterior, providencia a sua realização para garantir a entrada de ar limpo. Para um Unternehmen apropriadó e sem riscos é necessário que a depressão Tmaxa do local não ultrapase 0,04 mBar.
-
No caso de danos no cabo de alimentação, é necessário mandá-lo substituir ao fabricante ou ao服务于 assistência Tecnica, a fim depreventar quando é alimentado.
- Se as instruções de instalação do disposito do cozedura gás sugerem a necessidade de uma distência maior do que o indica acima, é necessário ter em conta. É necessário respeitar todas as normas referentes às descargas de ar.
1.2 Uso
O exaustor foi projectado para ser utilizado exclusivamente em ambientes domesticos, sendo a sua finalidade a de reduzir os odeores de cozedura. Não utilize o aparecido de maneira impropriaria.
- As chamas de forte intensidade não devem ficar descobertas quando o exaustor estiver a funciona.
- Regule sempre as chamas de maneira que não sobressaiam do fundo das panelas.
- Mantenha as frigideiras sob controlo durante o uso: o oleo excessivelyamente aquecido pode inflamar-se.
- No prepare alimentos flamejados sob o exaustor. Perigo de incendiol!
- Este aparelho não deve ser utilizado por pessoas (incluindo crianças) diminuções psíquica, sensorial ou mentalmente nem por indivíduos sem experiência e conheçimento, salvo se vigiados ou instruções para utilizesçao do aparelho por pessoas responsaveis pela respectiva segurarca.
- As crianças devem ser vigiadas no sentido de assegurar que não brinquem com o aparecido.
- "ATENÇAÖ! As partes acessveis podem aquecer muito, se foram utilizesas com aparehos de cozedura".
1 Conselho E Sugestões

1.3 Manutenção
- Antes de efectuar qualquer operacao de manutencao, desligue o exaustor tirando a ficha da tomada de corrente ou desligando o interruptor geral.
- Faça uma manutençao atenta e rápida dos filtros, respeitando os intervalos aconselhados (risco de incência).
- Para limpar as superficies do exaustor, é suficiente'utilizar um pano humido e detergente liquido neutro. O síbolo no produits

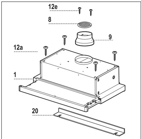
2.1Componentes
1 1 Corpo do exaustor equipo com: Comandos iluminação,roupo do ventilador e filtros
8 1 Grade direccionada de saida do ar
9 1 Flange de reducao 150-120 mm
20 1 Perfil de dato
Ref. Qtd Componentes de instalacao
12a 4 Parafusos 4,2× 44,4
12e 2 Parafusos 2,9× 9,5
Qtd Documentação
1 Manual de Instruções

2.2 Encombrement




2 Characteristicas
2.3 Especificações tíncicas
| CTB 6250 W | CTB 6250 B | CTB 6250 X/XH | CTB 9250 X/XH | |
| Largura | 598 mm | 898 mm | ||
| Profundidade | 175 mm | |||
| Altura | 280 mm | |||
| Voltagem de alimentação | 220 - 240 V, 50-60 Hz | |||
| Controlo | 3 | |||
| Poder se suscaço | 420 m³/h | |||
| Potência do motor | 140 W | |||
| Potência da lâmpada | 2X28 W | |||
| Diàmetro do tubo de saía de ar | 120-150 mm | |||
| Peso líquido | 7,6 kg | 9,3kg | ||
| Peso bruto | 8,5 kg | 10,5 kg | ||
| Cor | Branco(a) | Preto(a) | Inox | Inox |
As发展机遇es do serem em ativa de acordo e com as condições ambientais.
3 Instalação
3.1 Perfuração do plano de suporte e montagem do exaustor
Montagem Com Parafusos
- O plano de suporte do exaustor deve ficar numa posicao 135 mm mais alta relativamente ao plano inferior dos moveos suspensos.
- Perfume o suporte com furos de 0,5 mm realizando o gabarito de perfuração fornecido com o aparho.
- Faça um furo de 0 120-150 mm no plano de suporteutilizando o gabarito de perfuração fornecido com o aparecido.
Fixe com os 4 parafudos 12a (4,2 x 44,4) fornecidos com o aparelho.

Montagem Com Fixação Por Encaixe
- O exaustor pode ser instalado directamente no plano inferior dos moveis suspensos com suportes laterais fixados por encaixe.
- Faça uma abertura no plano inferior do|móvel suspenso, conforme indicado.
-
Instale o exaustor até prender os suportes laterais com fixação por encaixe.
-
Bloqueie definitivement apertando os parafusos Vf por baixo do exaustor.

| Exaustor | CTB 6250 W/B/X | CTB 9250 X |
| L1 | 510 | 810 |
Perfil De Fecho
- O esapo entre a borda do exaustor e a parede de fundo pode ser fechado aplicando o perfil 20 fornecido com o aparelho'utilizando os parafusos já preparados para esta finalidade.
3 Instalação

3.2 Ligações
3.2.1 Saida Do Ar Para A Versão Aspirante
Para a instalacao na Versao Aspirante, ligue o exaustor ao tubo de saida'utilizing um tubo rigido ou flexivel de 0150 ou 120 mm; esta escolha deve ser feita pelo instalador.
- Para a ligação com um tubo de Ø120 mm, instale a flange de redução 9 na saía do corpo do exaustor.
Fixe o tubo com braçadeiras de aperto adequadas. O material necessário não é fornecido com o aparelho. - Tire os filtros anti-odor de carvão activo, se presentes.

3.2.2 Saía Do Ar Para A Versão Filtrante
- Faça um furo de 0125 mm na prateleira presente acima do exaustor.
- Instale a flange de redução 9 na saída do corpo do exaustor.
- Ligue a saída do corpo do exaustor com a parte superior do mover suspensoutilizando um tubo rígido ou flexível de 0120mm ; esta escolha deve ser feita pelo instalador.
Fixe a grade direccionada 8 na saida do ar reciclado com 2 parafusos 12e (2,9 x 9,5) fornecidos com o aparelho. - Certifique-se da presence dos filtros anti-odor de carvãoativo.

3.2.3 Eligação Eléctrica
- Ligue o exaustor a rede de alimentacao eletrica intercalando um interruptor bipolar com abertura minima entre os contactos de 3 mm.
- Tendo instalado o exaustor, para a primeira vez é necessário abrir o carro deslizante com forca até perceber o encaixe do fim de的方式来.


4.1 Quadro de comandos
| L | Luzes | Liga e desliga a Iluminação |
| M | Motor | Liga e desliga o motor de exaustão |
| V | Velocidade | Determine a velocidade de funciona-mento:1. Velocidade minima, indica para uma troca constinha do ar muito silenciosa, se os vapores de cozedura forem poucOs.2. Velocidade media, indica para a maior parte das condições de uso vista a excellente relaçao entre o dé-bito do ar tratado e o;nível de ruido.3. Velocidade Tmaxima, indica para enfrontar as(Maximas emissões de vapores de cozedura, mesmo duran-ter periodos prolongados. |
| L | Luzes | Liga eDSLiga a Iluminação |
| M | Motor | Liga eDSLiga o motor de exaustão |
| V | Velocidade | Determine a velocidade de funcao-mente:1. Velocidade minima, indicadapara uma troca constinha do ar muito silenciosa, se os vapores de cozedura forem poucios.2. Velocidade media, indica para a maior parte das condições de uso vista a excellente relaçao entre o dé-bito do ar tratado e o;nível de rufido. |
5 Manutenção
5.1 Filtros antigordura
- Tentamb podem ser lavados na区内 de lavar louça. Precisam de ser lavados circa de 2 em 2 mezes de utilização ou com maior frequência em caso de uso muito intenso do aparecido.
- Puxe o carro aspirante para fora.
- Tire os filtros, um de cada vez, manobrando os engatesproprios.
- Lave os filtros, evitando boa-los, e deixe-os segar antes de os reinstalar. (A eventual alteração de cor da superficie do filtro que, com o tempo, se poderá verficar, não prejudica de modo nenhum a sua eficácia.)
Reinstale-os, lembrando-se de fazer a pegar virada para o lado exterior visível. - Feche o carro aspirante.

5.2 Filtros Anti-Odores (Versão Filtrante)
5.2.1 Substituição

Atença! Apane as luzes e agua de que as lampadas arrefecam, antes de proceder à substituição do fazer anti-odoros
-
Não pode ser lavados nem são regeneraveis. Tém de ser substituções de 4 em 4 mezes de'utilisation, aproximately, ou com maior frequência em caso de uso muito intenso do aparelho.
-
Puxe o carro aspirante para fora.
- Tire os filtros antigordura.
- Remova o filtro anti-odores de carvão activo saturado, manobrando os respectivos engates. Instale o novo filtro encaixando-o no respectivo lugar.
Montede novo osfiltros antigordura. - Fecha de novo o carro aspirante.

5.3 Illuminação
5.3.1 Substituição Das Lâmpadas
Lampadas de 28W
- Tire os filtros metálicos antigordura ou abra a grade porta-filtros.
- Desatarraxe as lampadas e substitua-as por novas de caracteristicas iguais.
- Reinstale os filtros metálicos antigordura ou feche a grade porta-filtros

ManualFácil