DL-A100 - Cellule phono DENON - Notice d'utilisation et mode d'emploi gratuit
Retrouvez gratuitement la notice de l'appareil DL-A100 DENON au format PDF.
| Type de produit | Cellule phono |
| Caractéristiques techniques principales | Type : MM (Moving Magnet), Réponse en fréquence : 20 Hz - 20 kHz, Niveau de sortie : 5 mV |
| Alimentation électrique | Non applicable (pas d'alimentation externe requise) |
| Dimensions approximatives | Non spécifié |
| Poids | Non spécifié |
| Compatibilités | Compatible avec la plupart des platines vinyles équipées d'un bras de lecture standard |
| Type de batterie | Non applicable |
| Tension | Non applicable |
| Puissance | Non applicable |
| Fonctions principales | Lecture de disques vinyles, reproduction audio de haute qualité |
| Entretien et nettoyage | Nettoyer délicatement la pointe de lecture avec une brosse douce, éviter les produits chimiques agressifs |
| Pièces détachées et réparabilité | Remplacement de la pointe de lecture possible, pièces disponibles auprès du fabricant |
| Informations générales utiles | Idéale pour les audiophiles et les amateurs de vinyles, offre une excellente qualité sonore |
FOIRE AUX QUESTIONS - DL-A100 DENON
Questions des utilisateurs sur DL-A100 DENON
0 question sur cet appareil. Repondez a celles que vous connaissez ou posez la votre.
Poser une nouvelle question sur cet appareil
Téléchargez la notice de votre Cellule phono au format PDF gratuitement ! Retrouvez votre notice DL-A100 - DENON et reprennez votre appareil électronique en main. Sur cette page sont publiés tous les documents nécessaires à l'utilisation de votre appareil DL-A100 de la marque DENON.
MODE D'EMPLOI DL-A100 DENON
Nous vous remercions d'avoir acheté la cellule DL-A100 commémorant le 100e anniversaire de DENON. Cette cellule a été conçue en reproduisant fidèlement le modèle de référence créé à l'origine de la cellule DL-103 selon des normes japonaises de haute performance et à l'aide des plus récentes techniques de réglage.
DENON (et par la suite Nippon Columbia Co., Ltd.) a conçu la cellule DL-103 en collaboration avec NHK Science & Technical Research Laboratories afin de réaliser des "cellules fiables à haute performance pour la diffusion de disques" en 1964. Depuis son lancement, la cellule DL-103 est constamment utilisée en tant que cellule de référence, non seulement pour la diffusion FM NHK, mais également par de nombreux passionnés de son et de musique.
Les cellules DL-A100, commémorant le 100e anniversaire de DENON, ont été soigneusement réalisées une à une, tout comme la DL-103 lors de son lancement. Nous espérons que vous profiterez de cette cellule qui bénéficie de la fiabilité éprouvée de la DL-103.
Accessoires
① Vis de montage (argent) (Longueur Approx. 17 mm) 2 ② Vis de montage (argent) (Longueur Approx. 11 mm) 2 ③ Écrous de montage (or/argent) 2 ④ Rondelle 2 ⑤ Cache stylet ⑥ Stylo de nettoyage à brosse 1 ⑦ Jauge d'ajustement de la position de la pointe de lecture 1 ⑧ Manuel de l'Utilisateur 1 ⑨ Feuille de données 1 ⑩ Liste de Services après-vente 1

Précautions de manipulation
- Le stylet est très délicat. Le fait d'exercer une force excessive sur le stylet risque de le briser, même avec un doigt. Manipulez la cartouche avec la plus extrême attention.
- Un magnétisme puissant est utilisé dans la cartouche. Notez que le fait de rapprocher un tournevis en acier de la cartouche ou tout autre objet similaire risque d'être attiré par l'aimant et pourrait endommager le stylet ; il faut par conséquent être très attentif.
- Veillez à utiliser le couvercle du stylet lors du montage de la cartouche dans la tête de boîtier ou lors de la manipulation de la cartouche.
Montage dans la tête de boîtier
- Afin de protéger le stylet, lors de l'exécution du montage, veillez à monter le couvercle du stylet.
- Réglez la position du stylet spécifique en fonction du tourne-disque utilisé et montez-le correctement sans l'incliner ni le tourner.


- Lors de l'ajustement de la position de la pointe de lecture, utilisez la jauge d'ajustement de position de la pointe de lecture fournie.
- Deux types de vis sont fournis avec la cellule. Utilisez les vis dont la longueur est appropriée à votre tête de lecture.
- ci-dessous. Veillez à faire un branchement correct.

Remarque
Lors de la connexion de la cartouche, veillez à utiliser des fils à pointe en fibre et insérez-les dans les bornes. L'exercice de chaleur sur les bornes de sortie de la cartouche, comme par exemple un brasage direct, cause des dégâts internes, tels qu'une rupture de fil.
Réglage de la force d'appui
Il faut utiliser une force d'appui comprise entre 25 mN ± 3 mN (2,5 g ± 0,3 g).
Tension de sortie
La tension de sortie est de 0,3 mV. Si votre amplificateur ne prend pas en charge l'entrée pour cellule MC, utilisez un transformateur survolteur ou un amplificateur de tête conçu pour les cellules de type MC.
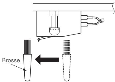
Nettoyage du stylet
Utilisez la brosse fournie afin d'enlever la poussière de l'extrémité du stylet avec précaution avant et après l'écoute des enregistrements.

Spécifications
Principe : Type à cadre mobile (MC)
Tension de sortie : 0,3 mV (1 kHz, 50 mm/s, direction horizontale)
Équilibrage du canal : 1 dB max. (1 kHz)
Séparation du canal : 25 dB min. (1 kHz)
Impédance électrique :
40Ω±20%
Souplesse : 5 × 10^-3 ~m / N (en utilisant un enregistreur)
100 Hz)
Stylet : Diamant carré solide de 0,2 mm
Force d'Appui : 25 mN ±3 mN (2,5 g ±0,3 g)
Distorsion de Fréquence :
20 Hz à 45 kHz
Poids: 8,8g
Impédance de charge :
100 Ω min.
(40 Ω lors de l'utilisation d'un transformateur)
Schéma des Dimensions Externes (unité : mm)

L'apparence et les spécifications de l'appareil sont susceptibles d'être modifiées sans préavis en vue d'améliorer le produit.
Notice Facile