DL-A100 - Cartucho de fono DENON - Manual de uso y guía de instrucciones gratis
Encuentra gratis el manual del aparato DL-A100 DENON en formato PDF.
| Tipo de producto | Célula fonográfica |
| Características técnicas principales | Tipo: MM (Moving Magnet), Respuesta de frecuencia: 20 Hz - 20 kHz, Nivel de salida: 5 mV |
| Alimentación eléctrica | No aplicable (no se requiere alimentación externa) |
| Dimensiones aproximadas | No especificado |
| Peso | No especificado |
| Compatibilidades | Compatible con la mayoría de los tocadiscos equipados con un brazo de lectura estándar |
| Tipo de batería | No aplicable |
| Tensión | No aplicable |
| Poder | No aplicable |
| Funciones principales | Reproducción de discos de vinilo, reproducción de audio de alta calidad |
| Mantenimiento y limpieza | Limpie delicadamente la aguja de lectura con un cepillo suave, evite productos químicos agresivos |
| Piezas de repuesto y reparabilidad | Reemplazo de la aguja de lectura posible, piezas disponibles del fabricante |
| Información general útil | Ideal para audiófilos y amantes del vinilo, ofrece una excelente calidad de sonido |
Preguntas frecuentes - DL-A100 DENON
Preguntas de los usuarios sobre DL-A100 DENON
0 pregunta sobre este aparato. Responde a las que conoces o haz la tuya.
Hacer una nueva pregunta sobre este aparato
Descarga las instrucciones para tu Cartucho de fono en formato PDF gratis! Encuentra tus instrucciones DL-A100 - DENON y toma tu dispositivo electrónico nuevamente en la mano. En esta página están publicados todos los documentos necesarios para el uso de su dispositivo. DL-A100 de la marca DENON.
MANUAL DE USUARIO DL-A100 DENON
Ladeimpedanz: min. 100 Ω
Principio: tipo a bobina mobile (MC)
Le agradecemos el haber adquirido
el cartucho DENON DL-A100 del 100.^ aniversario. Este cartucho se ha
desarrollado reproduciendo con precision
el Modelo de referencia技术水平 original
del cartucho estandarsonianes de alto
rendimiento DL-103 y utilizing las ultimas
technologias de sintonizacion.
DENON(entoncesNipponColumbiaCo.,Ltd.) desarrollo DL-103 conjuntamente con NHK Science & Technical Research Laboratories en 1964 con el fin de producir "cartuchos de gran fiabilidad y alto rendimiento para la radiodifusión de grabaciones en estéreo". Aside su lanzamento, DL-103 ha sido sistemasamente utilisé como el cartucho estándar no sólo en la radiodifusión en FM de NHK, sino también por muchos aficionados del audio y de la música.
Los cartuos DENON DL-A100 del 100.° aniversario se fabrican cuidadosamente uno a uno, del mesmo modo que se ha hecho con DL-103 desde su lanzimiento.Esperamos que disfrute del uso de un cartucho que hereda la fiabilidad largamente demostrada de DL-103.
Accesorios
① Tornillos de montaje (longitud: aprox. 17 mm)……… 2
② Tornillos de montaje (longitud: aprox. 11 mm) 2
③ Tuercas de montaje 2
④ Arandela 2
⑤ Cubierta de la agua 1
⑥ Cepillo de limpieza para la aguja 1
⑦ Medidor de ajuste de posicion de la aguja 1
⑧ Manual del usuario 1
⑨ Hoja de datos 1
10 Liga de talleres de serviceo 1

Precauciones al manipular
- La aguja es muy delicada. Al aplicar mucha fuerza en la aguja, como por exemple al presionarla con un dedo, se pueda romper. Maneje el cartucho con mucho cuidado.
- En el cartucho se encuesta un imán muy potente. Tenga en cuenta que al acercar un destornillador de acero o cualquier articulo parecido cerca del cartucho, este sera atraido por el imán y podería darar la agua, asi que ponga atencion.
- Asegürese de utiliser la cubierta de la agua al montar el cartucho en la carcas del cebazal, o al Manipular el cartucho.
Montaje en la carcasa del cabezal
- Para proteger la agua, asegúrese de montar la cubierta al hacer a cabo este procedimiento.
- Ajuste de acuerdo a la posicón de la agua especifiedada para el sistema de la tornamesa que esta utilizing y monte correctamente sin inclinar o girar.


- Al ajustar la posicion de la agua, utilise el medidor de ajuste de posicion de la agua proportionado.
-
Con el cartucho se incluyen dos temas de tornillos. Utilice los tornillos de la longitud adequada para su capsaula.
-
La disposicion de los terminales de salute es tal y como se muestra en el diagrama de abajo. Asegürese de conectar correctamente.

NOTA
Al conectar el cartucho, asegúrese de utiliser los cables ya pelados e insertelos en los terminales. Aplicar calor en los terminales de salute del cartucho, como por exemple al soldar directamente, causará averías internas en el cartucho, como el rompimiento de alambres.
Ajuste de la fuerza deOLLOWING
Se debe utilizes una fuerza de seguínto dentro del rango de 25 mN ± 3 mN (2,5 g ± 0,3 g).
Voltaje de salute
El voltaje de salute es de 0,3 mV. Si su Amplificador no es compatible con la entrada del cartucho MC, utilise un transformador elevador o un amplificador de cerrazal Diseñado para cartuchos tipo MC.
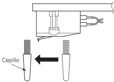
Limpieza de la aguja
Utilice el cepillo incluido para removecretuidosamente qualquier sueidad de la punta de la agua antes y afterwards de reproducir discos.

Especificaciones
Principio: Tipo Bobina en movimiento (MC)
Voltaje de calidad: 0,3 mV (1 kHz, 50 mm/s direccion horizontal)
Balance de canal: 1 dB max. (1 kHz)
Separación de canal:
25 dB min. (1 kHz)
Impedancia electrica:
40Ω±20%
Conformidad: 5 × 10^-3 ~m / N (Al utilizes un disco de 100 ~Hz )
Aguja: Diamante solido cuadrado de 0,2 mm
Fuerza de seguimiento:
25mN ± 3 mN (2,5g ± 0,3 g)
Respuesta de Frecuencia:
20 Hz to 45 kHz
Peso: 8,8g
Impedancia dearga: 100 min.
(40 Ω al utilizes un transformador)

Diagrama de dimensiones externas (unidad: mm)


* La aparciencia y las espécificaciones se encontrartran susjecetas a cambio sin previo avis para propósito de mejoras.
ManualFácil