P90N30AP-BM1 - Micro-ondes ELSAY - Notice d'utilisation et mode d'emploi gratuit
Retrouvez gratuitement la notice de l'appareil P90N30AP-BM1 ELSAY au format PDF.
| Type d'appareil | Four à micro-ondes |
| Capacité | Environ 20-30 litres |
| Puissance micro-ondes | 700-900 W |
| Programmes automatiques | Oui |
| Type de commande | Touches tactiles |
| Affichage | Écran digital |
| Fonction décongélation | Oui |
| Minuterie | Oui |
| Plateau tournant | Oui |
| Dimensions (LxHxP) | Non précisé |
| Couleur | Noir |
| Poids | Non précisé |
| Sécurité enfant | Oui |
| Type d'ouverture | Portière latérale |
| Consommation électrique | Non précisé |
| Garantie | Non précisé |
FOIRE AUX QUESTIONS - P90N30AP-BM1 ELSAY
Questions des utilisateurs sur P90N30AP-BM1 ELSAY
0 question sur cet appareil. Repondez a celles que vous connaissez ou posez la votre.
Poser une nouvelle question sur cet appareil
Téléchargez la notice de votre Micro-ondes au format PDF gratuitement ! Retrouvez votre notice P90N30AP-BM1 - ELSAY et reprennez votre appareil électronique en main. Sur cette page sont publiés tous les documents nécessaires à l'utilisation de votre appareil P90N30AP-BM1 de la marque ELSAY.
MODE D'EMPLOI P90N30AP-BM1 ELSAY
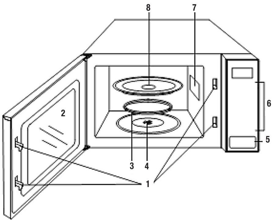
- Système de verrouillage de sécurité
- Porte
- Support du plateau
-
Entraineur du plateau
-
Bouton d'ouverture de la porte
- Panneau de contrôle
7.Sortie d'ondes - Plateau en verre

ATTENTION : veuillez dire attentivement et conserver ce manuel d'utilisation pour vous y reférer ultérieurement.
| Caracteristique | Valeurs |
| Alimentation | 230 V ~ 50 Hz |
| Puisance assignée micro-ondes | 1 400 W |
| Puisance restituee micro-ondes | 900 W |
| Nombre de programme de cuisson automatique | 6 |
| Sécurité infant | Oui |
CONSIGNES DE SÉCURITÉ IMPORTANTES
Les précautions fondamentales suivantes doivent toujours être suivies lors de L'utilisation d'un apparéil électrique :
- Lisez l'intégralité des instructions avant utilisation.
- Veillez à ce que la tension de votre logement corresponde à cette indiquée sur la plaque signalétique de l'appareil.
- Afin de limite les risques d'incendie dans la cavite du four à micro-ondes :
a. Ne surchauffez pas les aliments.
b. Retirez les fermétures métalliques des sacs en papier ou en plastique avant de placer ces derniers dans le four.
c. Ne chauffez pas d'huile ou deGRAISSEPour friture,car la température de l'huile ne peut pas etre controllee.
d. ÀpRESutilisation, essuyez la plaque du guide d'onde avec un chiffon humide, puis un chiffon sec pour retarder toute éclaboussure et graisse.
Toute accumulation de graisse peut chauffer et produit de la fumée ou prendre feu.
e. Si les éléments situés à l'intérieur du four produit de la fumée ou prennant feu, tenez la porte du four fermée, éteignez le four, puis débranchez-le.
f. Lorsque vousCHAUFFEZ des alimentes dans un reciplient en plastique ou en papier, surveillez le four en raison du risque d'incendie eventuel.
- Pour réduire le risque d'explosion et de bouillons soudains :
a. AVERTISSEMENT: les liquides et les alimentes ne doivent pas'être rechauffés dans un recipient fermé, car ils risquent d'exploser. Les biberons recouverts de leur tétine sont considérés comme des recipients fermés.
b. Utilisez un recipient large pour chauffer des liquides. Les liquides chauds ne doivent pas etre retirés immédiatement du four. Il est préféable d'attendre quelques instants avant de les retarder pour éviter tout danger causé par le débordement d'un liquide bouillant.
c. Les pommes de terre, saucisses et chataignes doivent être pelées ou percées avant la cuisson. Les øeurs dans leur coquille et les øeurs durs entiers ne doivent pas'être chauffés au four micro-ondes, car ils risquent d'exploser, même après la fin de cuisson.
d. Le contenu des biberons et des pots pour bébé doit être mélangé ou remué et leur température doit être vérifiée avant consommation pour éviter tout risque de brulure.
5. Si le cordon d'alimentation est endommagé faites-le remplacer par le fabricant, un réparateur/agree, ou un technicien qualifié afin d'éviter tout danger.
6. Àpres cuisson, les recipients sont très chauds. Utilisez des gants de protection pour retarder les alimentés et pour éviter tout risque de brulure par la vapeur. Eloignez le visage et les mains de la vapeur.
7. Soulevez doucement l'extrémité la plus éloignée du couvercle du plat et de l'emballage plastique, puis ouvre doucement les sacs de popcorn ou de cuisson, en les tenant à distance du visage.
8. Pour éviter au plateau tournant de se briser : a. Laissez le plateau tournant refroidir avant de le nettoyer.
b. Ne placez pas d'aliments ou d'ustensiles chauds sur le plateau tournant lorsqu'il est froid.
c. Ne placez pas d'aliments ou d'ustensiles congelés sur le plateau tournant lorsqu'il est chaud.
9. Veillez à ce que les ustensiles ne touchent pas les parois intérieures encours de cuisson.
10. Utilisez uniquement des ustensiles qui convennent au four à micro-ondes.
11. Ne rangez pas d'aliments ou d'autres éléments dans le four à micro-ondes.
12. N'utilisez pas le micro-ondes sans y placer de liquide ou d'aliments. Cela pourrait endommager le four à micro-ondes.
13. Lorsque le four à micro-onde fonctionne en mode combiné., les enfants doivent l'utiliser uniquement sous la surveillance d'un adulte en raison des températures élevées.
14. Tout accessoire non recommandé par le fabricant peut cause des blessures.
15. N'utilisez pas l'appareil en extérieur.
16. Conservez ces instructions.
17. AVERTISSEMENT : si la porte ou les joints de la porte sont endommages ou si le four ne fonctionne pas correctement, n'utilise pas ce dernier avant de l'avoir fait réparer par un technicien qualifié.
18. AVERTISSEMENT : les réparations ou les opérations d'entretien du four impliquant le démontage de la protection du four contre l'exposition aux ondes peuvent s'avérer dangereuses pour les personnes non qualifiées.
19. Si de la fumée se produit, éteignez ou débranchez le four et tenez la porte fermée pour étouffer les flammes.
20. Les boissons réchauffées au four à micro-ondes peuvent déborder même après la cuisson; soyez vigilant lorsque vous manipuez le écipient.
- N'utilise pas de détergents abrasifs ou d'objets en métal pointus ou avec des bords tranchants pour nettoyer la porte du four car ils pouraient rayer la surface et briser le verre.
- La lampe du micro-ondes ne convient pas à d'autres fins.
- Cet apparéil n'est pas prévu pour fonctionner avec un minuteur externe ou un système de contrôle à distance distinct.
-
Cet apparéil est prévu pour un usage domestique et des applications similaires, notamment :
-
Les coins cuisine des commercies, bureaux et autres environnementés de travail ;
- Les fermes ;
- Les hôtels, motel et autres environnements résidentiels ;
-
Les chambres d'hôtes et autres environnements similaires.
-
Le four à micro-ondes est conçu pour chauffer des aliments et des boissons. Le séchage d'aliments ou de vêtements et le chauffage de bouillottes, de chaussons, d'éponges, de chiffons humides et de tout objet similaire peut provoquer un risque de blessure ou d'incendie.
- Cet apparéil peut être utilisé par des enfants à partir de 8 ans et des personnes ayant une capacité physique, sensorielle ou mentale réduite, ou un manque d'expérience ou de connaissances, si elles sont surveillées ou bénéficient d'une formation au fonctionnement de l' apparéil de façon sure et complrennent les risques encourus. Les enfants ne doivent pas journé avec cet apparéil. L' apparéil ne peut pas être utilisé ou nettoyé par des enfants de moins de 8 ans et sans la surveillance d'unadulte. Conservez l' apparéil et son cordon d'alimentation hors de portée des enfants de moins de 8 ans.
- Les enfants doivent être placés sous la surveillance d'un adulte afin que ce dernier s'assure qu'ils ne jouent pas avec l'appareil.
- N'utilisez pas de nettoyeur vapeur.
- La porte ou la surface extérieure peut devenir chaude lorsqu'ell apparéil fonctionne.
- AVERTISSEMENT : les parties accessibles peuvent devenir chaudes en cours d'utilisation. Les jeunes enfants doivent être tenus à distance.
- En cours d'utilisation, le four à micro-ondes devient chaud, évitez de toucher les éléments chauffants situés dans le four.
- Les surfaces peuvent devenir chaudes lorsque l'appareil fonctionne.
- Laissez un espace libre de 30 cm au-dessus de la surface supérieure du four.
- Le four à micro-ondes est destiné à être installé librement. Il ne doit pas être encastré ou place dans un meuble.
- Le four à micro-ondes est destiné à être posé librement.
- Il est recommandé de nettoyer le four régulièrement et d'enlever tout dépôt alimentaire.
-
Si l'appareil n'est pas maintainu dans un bon etat de propriete, sa surface pourrait se degrader et afferter de façon inexorable la durée de vie de l'appareil et conduite à une situation dangereuse.
-
Les reçipiens métalliques pour aliments et boissons ne sont pas admis lors de la cuisson par micro-ondes.
- Veuillez ne pas enlever la couche de mica sur la sortie d'ondes.

Usage domestique uniquement.
Appareil de groupe 2 Coupe B
Cet apparéil est un apparéil de Groupe 2 car il produit intentionnellement de l'énergie à fréquence radioélectrique pour le traitement de la matière et il est destiné à être utilisé dans un local domestique ou un établissement raccordé directement au réseau de distribution d'électricité à basse tension alimentant desBATiments à usage domestique (Classe B).
Veuillez utiliser seulement des accessoires résistants à la chaleur et adapté à l'usage à l'intérieur du four micro-ondes. N'utilise jamais des accessoires métalliques ou du papier aluminium.
INSTALLATION
- Retirez l'intégrality de l'emballage. Retirez l'enveloppe de protection en plastique du four, le cas échéant, et déchirez-le avant utilisation. Vérifiez que le four n'est pas endommaged. Si vous constazez un dommage, informez votre revendeur immidiatement ou renvoyez le four au service après-vente du magasin.
- Les jours à micro-ondes doivent être placés dans un environnement sec et non corrosif, tenus à distance de la chaleur et de l'humidité, provoquées notamment par un bruleur à gaz ou un réservoir d'eau.
- Pour garantir une ventilation optimale, la distance entre la partie arrrière du four et le mur doit mesurer au moins 10 cm, la distance entre les parties laterales du four et les murs doit mesurer au moins 5 cm, la distance entre le dessus du four et le plafond ou l'étagère doit mesurer au moins 20 cm, et la distance entre le four et le sol doit mesurer au moins 85 cm.
- Le four doit être place à distance du poste de télévision à radio ou de l'antenne pour éviter toute interférence. Cette distance doit être supérieure à 5 m.
- Le four doit être place de manière à permettre l'accès à la prise, et doit être relié à la terre pour éviter tout risque d'électrocution en cas de fuite.
- Le four doit fonctionner la porte fermée.
- Le four ne doit pas etre place dans une armoire. Le four est conqu pour fonctionner de maniere autonome.
- Une légère oedur ou fumée peut se produit en raison des résidus d'huile présents dans la cavity du four ou sur l'élement chauffant suite au processus de
fabrication. Ce phénomène qui est normal devrait disparaitre après plusieurs utilisations. Ouvrez la porte ou la fenêtre pour assurer une bonne ventilation. Il est fortement conseillé de placer un verre d'eau sur le plateau tournant, de régler le four au maximum et de le faire fonctionner plusieurs fois.
NETTOYAGE
ENTRETIEN DU FOURÀ MICRO-ONDES
ATTENTION : le four doit être nettoyé régulièrement et tout résidu alimentaire doit être retire.
AVERTISSEMENT
- Débranchez le four du secteur avant de le nettoyer. N'immergez jamais l'appareil dans l'eau ni dans d'autres liquides au cours de son nettoyage. Faites attention de ne pas renverser de liquides à l'intérieur des orifices de ventilations du four.
- Un four mal entretenu et mal nettoyé peut cause la détérioration de sa surface et affecter sa durée de vie, voir provoquer une situation dangereuse.
- N'utilisez jamais de détergent agressif, d'essence, de poudre abrasive ou de Brosse métallique pour nettoyer les éléments du four.
- Si la porte ne s'ouvre pas ou ne se ferme pas correctement, vérifiez d'abord s'il n'y a pas d'imputétés sur les joints de la porte.
- Ne retirez pas le guide d'onde.
- Lorsque le four à micro-ondes a fonctionné pendant une longue période, il peut émettre des odeurs inhabituelles. Suivez les 3 méthodes ci-dessous pour les éliminer :
a. Placez plusieurs tranches de citron dans un verre, puis reglez le micro-ondes sur la puissance maximale, et faites-le fonctionner pendant 2 à 3 minutes.
b. Placez une tasse de thé rouge dans le four, réglez-le sur la puissance maximale, et faites-le fonctionner.
c. Placez des pelures d'orange dans le four à micro-ondes, réglez-le sur la puissance maximale, et faites-le fonctionner pendant 1 minute.
- AVENTISSEMENT : les enfants peuvent utiliser le four sans supervision, uniquement s'ils ont reçu des consignes d'utilisation appropriées garantissant une utilisation sure du four, et s'ils comprend les dangers d'une'utilisation inappropriée.
- L'appareil ne doit pas etre nettoyee a la vapeur.
ASTUCES POUR LE NETTOYAGE
Pour nettoyer les joints de la porte, la cavité et les parties adjacentes :
Exterieur :
Essuyez la surface extérieure avec un chiffon doux et humide.
Port :e
Essuyez la porte et le hublot avec un chiffon doux et humide.
Essuyez les joints et les parties adjacentes pour-retirer les éclaboussures.
Essuyez le panneau de commande avec un chiffon doux et humide.
Parois interieures :
Essuyez les surfaces interieures avec un chiffon doux et humide.
Essuyez le guide d'onde pour retarder toute éclaboussure.
Plateau tournant/support du plateau/entraineur du plateau :
Nettoyez-les avec de I'eau savonneuse.
Rincez-les à l'eau et laissez-les sécher complètement.
FONCTIONNEMENT DU FOUR A MICRO-ONDES
- Système de verrouillage de sécurité : la porte du four à micro-ondes doit être correctement fermée pour pouvoir fonctionner.
- Porte: le hublot permet de voir l'etat de la cuisson.
- Support du plateau : le plateau tournant en verre repose sur les roues du support, qui soutient le plateau et assure son équilibre lorsqu'il tourne.
- Entraineur du plateau : le plateau tournant en verre repose sur l'entraineur ; le moteur situé en dessous permet au plateau de tourner.
- Bouton d'ouverture de la porte
- Panneau de contrôle : voir les détails ci-dessous.
- Sortie d'ondes: ne retirez jamais la plaque du guide d'onde.
- Plateau en verre : les alimentents sont placés sur le plateau tournant, sa rotation en cours d'utilisation permet aux alimentents de cuire uniformément.

Attention : placez d'abord le support du plateau dans le micro-onde. Posez le plateau sur l'entraineur et voirlez à ce qu'ils s'imbriquent correctement

Écran : affiche le temps de cuisson, la puissance, les indicateurs et le temps actuel.
Recettes automatiques : 6 cuissons automatiques pour les recettes courantes (Pomme de terre, Popcorn, Pizza, Boisson, Repas surgelé, Réchauffage)
Touches de numéro : pour sélectionner le temps et le poids de nourriture. Les touches 1 - 6 peuvent aussiCOMMencer une cuisson rapide.
Horloge : pour déterminer l'heure actuelle.
Puisance: pour selectionner le niveau de puissance.
Décongélation selon poids
Décongélation rapide
Minuterie
Démarrage/+30 Sec.: pour démarrer la cuisson ou le dégivrage. Aussi pour une cuisson rapide à puissance maximum en appuyant une ou plusieurs fois (chaque appui pour ajouter 30s au temps de cuisson)
Cuisson : pour étabir un programme de cuisson en 2 stades.
Arrêt / Annulation : appuyer une fois pour arrêté la cuisson, ou deux fois pour annuler la cuisson. Aussi pour effacer la configuration actuelle et returner au mode veille.
MISE EN MARCHE
- Branchez l'appareil à une prise de courant aux caractéristiques correspondant au marquage sur le produit. Un bip sera émis et l'écran affiche '1:01' et 'Clock'.
- Lorsque l'appareil reste en mode de configuration pour 30s sans aucune action, il returne automatiquement au mode veille.
- Pendant la cuisson, appuyez une fois sur Arret / Annulation pour arreter la cuisson. Appuyez une fois sur Demarrage/+30 Sec pour continuer la cuisson. Appuyez deux fois sur Arret / Annulation pour annuler la cuisson entièrement.
- Lorsque la cuisson est finie, l'écran affiche 'END' et un bip est émis chaque deux minutes jusqu'à ce que la porte soit ouverte ou qu'une touche soit appuyée.
- Lorsque vous utilisez l'appareil, si vous appuyez sur une touche valide, un bip sera émis ; si vous appuyez sur une touche invalide, deux bips seront émis.
RéGLAGE DU TEMPS
- En mode veille, appuyez une ou deux fois sur Horloge pour régler le temps à 12H ou 24H.
- Appuyez sur les touches de numéro pour sélectionner le temps actuel.
- Appuyez sur Horloge pour confirmer le réglage.
NOTE : pendant la cuisson, vous pouvez appuyer sur Horloge pour voir le temps actuel.
MINUTERIE
- En mode veille ou pendant la cuisson, appuyez sur Minuterie pour entrer en minuterie.
- Appuyez sur les touches de numéro pour sélectionner le temps (le maximum est 99 min 99 s).
- Appuyez sur Demarrage/+30 Sec pour confirmer le réglage etmettre en marche la minuterie.
NOTE:
Lorsque le compte à rebours est fini, l'appareil émet un bip.
- Le temps restant peut-être vu pour 5s en appuyant sur Minuterie.
- Pour annuler la minuterie, appuyez sur Arrêt/Annulation pendant ces 5s.
CUISSONÀMICRO-ONDES
- En mode veille, appuyez plusieurs fois sur Puissance pourCHOISIR le niveau de puissance (0% -100%) , par pas de 10%
- Lorsque vous avez fini deCHOISIR le niveau de puissance, appuyez sur les touches de numero pour déterminer le temps de cuisson (le maximum est 99 min 99 s).
- Appuyez sur Demarrage/+30 Sec pour confirmer la configuration etCOMMencer la cuisson.
NOTE : pendant la cuisson, vous pouvez appuyer sur Puissance pour voir le niveau de puissance actuelle.
CUISSON RAPIDE
- En mode veille, appuyez sur Démarrage/+30 Sec pour commencer une cuisson à puissance pleine (chaque appui ajoute 30s de plus au temps de cuisson ; le temps maximum est 10min). Vous pouvez ajouter du temps pendant la cuisson.
DEGIVRAGE PAR POIDS
- En mode veille, appuyez sur Décongélation selon poids.
- Appuyez sur les touches de numérios pour déterminer le poids de la nourriture (100g - 1800g).
- Appuyez sur Demarrage/+30 Sec pour confirmer la configuration et commencer le dégivrage.
NOTE : pendant le dégivrage, le four s'arrête et émettra un bip sonore pour vous rappeler de returner la nourriture; dans ce cas-là, returnez la nourriture, fermez la porte et appuyer sur Demarrage/+30 Sec pour continuer le dégivrage.
DEGIVRAGE EN TEMPS DÉFINI
-
En mode veille, appuyez sur Décongélation rapide.
-
Appuyez sur les touches de numéros pour déterminer le temps de dégivrage (le maximum est 99 min 99 s).
-
Appuyez sur Demarrage/+30 Sec pour confirmer la configuration et commencer le dégivrage.
NOTE : pendant le dégivrage, le four s'arrête et émettra un bip sonore pour vous rappeler de returner la nourriture; dans ce cas-là, returnez la nourriture, fermez la porte et appuyer sur Demarrage/+30 Sec pour continuer le dégivrage.
CUISSON EN 2 STADES
- Vous pouvez déterminer un programme de cuisson en 2 stades avec cette fonction.
- En mode veille, déterminez le premier stade de cuisson en suivant les instructions de CUISSON À MICRO-ONDES, sauf qu'à la fin, appuyez sur Cook à la place de Demarrage/+30 Sec.
- Déterminé le deuxième stade de cuisson en suivant les instructions de CUISSON À MICRO-ONDES.
- Appuyez sur Demarrage/+30 Sec pour confirmer la configuration et commencer la cuisson.
NOTE : les recettes automatiques ou le dégivrage ne peut pas être utilisé avec cette fonction.
RECETTES AUTOMATIQUES
- Pour certaines nourritures, vous pouvez utiliser une recette automatique sans avoir à déterminer le niveau de puissance ou le temps de cuisson.
- Appuyez une ou plusieurs fois sur une touche de recette automatique pourCHOISIR cette recette et la quantite de nourriture.
| Ingrédient | Option |
| Pomme de terre | 1-2 portions (230 ± 10 g/portion) |
| Popcorn | 99 g |
| Pizza | 150 g, 300 g, 450 g |
| Boisson | 1-3 tasses (200 ml/tasse) |
| Repas surgelé | 250g, 500g |
| Réchauffage | 200 g, 300 g, 400 g, 50 0g, 600 g, 700 g, 800 g |
- Appuyez sur Demarrage/+30 Sec Pour confirmer la configuration et commencer la cuisson.
PROTECTION ENFANT
- En mode veille, s'il n'y a aucune opération pendant 1min, la protection infant sera déclenchée. Toutes les touches sont désactivées et l'écran affiche un indicateur de verrouillage.
Pour désactiver le verrouillage, ouvre ou fermez la porte.
PROTECTION TOUCHE ANORMALE
- Dans des rares cas, une touche peut rester activée même si vous avez déjà relâché.
- Si c'est le cas, lorsque cette touche reste activée anormalement pour 1min, l'appareil arrête de fonctionner, émet un bip sonore chaque minute et l'écran affiche 'FAIL'. Pendant ce temps-là, toutes les touches sont invalides.
- Àprous le dépannage, appuyez sur Arrêt / Annulation pour returner au mode veille.
CONSEILS EN MATIÈRE DE PLATS
Il est fortement recommendé d'utiliser des plats qui conviennent au micro-ondes. En général, les plats à base de céramique, de verre ou de plastique résistant à la chaleur conviennent au micro-ondes. N'utilise jamais de plats en métal au micro-ondes et avec une fonction combinée, car des étincelles peuvent se produit. Veuillez-vous référer au tableau ci-dessous.
| Matériau du plat | Micro-ondes | Notes |
| Céramique résistant à la chaleur | Oui | N'utilise jamais de céramique décorée d'une cordure métallique ou vernie |
| Plastique résistant à la chaleur | Oui | Ne convient pas aux cuissons longues |
| Verre résistant à la chaleur | Oui | |
| Film plastique | Oui | N'utilise pas de film plastique lors de la cuisson de la viande ou de côtes, car les températures élevées risquent de l'endommager. |
| Grille | Non | |
| Plat en métal | Non | N'utilise jamais de plats en métal dans un four à micro-ondes. Les micro-ondes ne pénétrent pas le métal. |
| Plat verni | Non | Ne résiste pas à la chaleur. Ne convient pas aux cuissons à des températures élevées. |
| Bambou et papier | Non | Ne résiste pas à la chaleur. Ne convient pas aux cuissons à des températures élevées. |
ASTUCES POUR LA CUISSON
Les facteurs suivants peuvent affecter la cuisson :
Position des aliments
Placez les alimentes plus épais en cordure du plat et les alimentes plus fins vers le centre du plat, et étalez-les de façon uniforme. Evitez de les superposer.
Temps de cuisson
Démarrez la cuisson en réglant un faisible temps de cuisson, évaluéz la cuisson, puis prolongez la durée si nécessaire. Une cuisson excessive peut provoquer de la fumée et des brulures.
Homogénéité de la cuisson
Les aliments tels que le poulet, les hamburgers ou les steaks doivent etre returnnes une fois en cours de cuisson.
En fonction du type d'aliment, le cas échéant, mélangez en partant du bord vers l'intérieur du plat une ou deux fois en cours de cuisson.
Repos
Une fois que la cuisson est terminée, laissez les alimentés dans le four pendant quelques instants pour permettre au cycle de cuisson de se terminer et laissez les refroidir progressivement.
Cuisson à point
La couleur et la texture des alimentes permettent de déterminer si la cuisson est à point, soit :
- De la vapeur s'échappe de toutes les parties et non seulement du bord.
- Les articulations des volailles se retirent facilement.
- La chair du porc ou de la volaille ne contient pas de sang.
- La chair du poisson est opaque et se détache facilement avec une fourchette.
Plat à gratin
Lorsque vous utilisez un plat à gratin ou un récipient auto-chauffant, placez toujours un isolant résistant à la chaleur, tel qu'une assiette en porcelainine, en dessous pour éviter d'endommager le plateau tournant et le support.
Film plastique convenant au micro-ondes
Lorsque vous cuisez des alimentés très gras, ne laissez pas le film plastique entrer en contact avec les alimentés, car il risque de fondre.
Récipients en plastique convenant au micro-ondes
Quelques recipients en plastique convenant au micro-ondes peuvent s'avérer non compatibles pour la cuisson d'aliments très gras et très sucrés. Le temps de préchauffage précisé dans la notice du recipient ne doit pas être dépassé.
ENTRETIEN
ENTRETIEN PAR UN PROFESSIONNEL
Veuillez vérifier les actions suivantes avant de faire appel aux services d'un professionnel pour l'entretien du four à micro-ondes.
- Placez l'équivalent d'un verre d'eau (env. 150 ml) dans un verre mesureur dans le four à micro-ondes, puis fermez la portecorrectement. La lampe du four s'eteint si la portecorrectement fermée. Allumez le four pendant 1 min.
- La lampe du four s'allume-t-elle?
- Le ventilateur du four fonctionne-t-il? (Placez la main au-dessus de la grille d'aération.)
- Le plateau tournant tourne-t-il? (Le plateau tournant tourne dans le sens horaire et antihoraire. Ceci est tout à fait normal.)
- L'eau dans le four est-elle chaude ?
Si l'une des réponses à ces questions est négative, vérifie la prise murale et le fusible correspondant dans votre tableau électrique.
Si la prise et le fusible fonctionnement correctement, CONTACTEZ UN RÉPARATEUR AGREE.
CONSIGNES DE SECURITE RELATIVES À L'ENTRETIEN

Attention : RADIATIONS DU MICRO-ONDES
- Le condensateur haute tension reste charge après déconnexion ; créez un court-circuit entre la borne négative du condensateur haute tension et le chassin du four (avec un tournevis) pour le décharger avant de le toucher.
- Au cours de l'entretien, les pieces enumeratedes ci-dessous peuvent être retirees et permettre au potentiel supérieur. 250 V d'être mis à la terre.
- Magnétron
- Transformateur haute tension
- Condensateur haute tension
- Diode haute tension
-
Fusible haute tension
-
Les conditions suivantes peuvent cause une exposition indue aux micro-ondes au cours de l'entretien.
Installation inappropriée du magnétron ;
Décalage entre les verrous de la porte, les charnières de la porte et la porte ;
Installation inappropriée du support de l'interrupteur ;
Dommage causé à la porte, aux joints de la porte ou à la cavité.
Cet apparéil et ses accessoires se recyclant
A DEPOSER
EN MAGASIN
A DEPOSER
EN DECHETERIE

OU

Points de collecte sur www.quefairedemesdechets.fr
En application de la directive DEEE 2012/19/UE concernant
l'environnement, il est interdit d'éliminer les apparciels électriques
ou électroniques usagés dans la nature ou dans une simple décharge publique. Il est demandé de les porter dans un dépôt prévu à cet effet pour recyclage.
Pour demande d'information, manuel d'instruction, points de sécurité et conditions d'utilisation : SIPLEC, CS 10020, 94859 Ivry-sur-Seine Cedex, FRANCE.

Des experts
à-vous écoute
0800353520
Service & appel gratuits
www.selectiondexperts.leclerc
SIPLEC-CS10020-94359 IYRY-SUBESECEDEX-FRANCE
SERVICE APRès-VENTE / GARANTIE
- Les produits ELSAY sont conçus selon les standards de qualité des produits les plus exigeants pour l'univers de la maison.
- Les produits ELSAY bénéficient de la durée de garantie légale (24 mois) qui débute à compter de la date d'achat du consommateur ou de la date de livraison du produit. En complément de cette garantie légale une extension d'un an (12 mois) est offerte par E. Leclerc. Ceci porte la durée de garantie totale à 3 ans (36 mois).
Cette extension de garantie offerte par E. Leclerc ne s'applique pas aux accessoires* (sac aspi, verseuse, etc.).
- Les interventions au titre de la garantie légale de conformité auront pour effet de faire bénéficier le produit d'une extension de garantie légale de conformité de 6 mois. Toutefois, les interventions effectuees au cours de la période de garantie complémentaire offerte par E. Leclerc ne pourront pas bénéficier de cette extension de garantie
- Sont couverts toutes pannes ou défectuosités, rendant le produit improupte à son usage, et entrainant un retour du produit par le consommateur pendant la durée de la garantie.
- Si le produit ELSAY ne peut être réparé durant la période de la garantie totale de garantie (garantie légale de conformité et extension de garantie offerte par E. Leclerc), le produit sera remplaced et la garantie totale sera renouvelée.
- Sont exclus de la garantie*, tous dommages, pannes, defaillances ou defaults liés : a. à un employe ou une installation non conforme aux prescriptions indiquées dans la notice fournie ;
b. aux dommages resultant d'une cause externe au produit
c. à la suite à une modification des caractéristiques techniques par l'utilisateur d. à une utilisation à caractère professionnelle
*Suite à une analyse effectuee par les points SAVE E. LECLERC ou par le point de vente E. LECLERC.
- La garantie n'est applicable que dans les points de vente E. LECLERC. Dans l'eventualité d'un problème ou défaut, vous doivent toujours vous rendre dans un point de vente E. LECLERC pour pouvoir bénéficier de la couverture de la garantie.
- Toute demande de SAV ne pourrait être traitée que si :
a. Une preuve d'achat est fournie (ticket de caisse ou carte E. LECLERC)
b. Le produit est strictement identique à celui acheté
- Pour toute information complémentaire, votre magasin E. LECLERC se tient à votre disposition.
- Le numéro vert 0800 35 35 20 (appel non surtaxé) est également à votre disposition.
INSTRUCCIONES TRADUCIDAS A PARTIR DE LAS INSTRUCCIONES ORIGINALES

Notice Facile