215.037 - Rôtissoire électrique BARTSCHER - Notice d'utilisation et mode d'emploi gratuit
Retrouvez gratuitement la notice de l'appareil 215.037 BARTSCHER au format PDF.
| Type d'appareil | Rôtissoire électrique |
| Capacité | 4 à 6 poulets |
| Matériau | Acier inoxydable |
| Alimentation | Électrique |
| Puissance | Non précisé |
| Nombre de broches | 4 |
| Contrôle de la température | Thermostat réglable |
| Type de porte | Double porte vitrée |
| Dimensions | Non précisées |
| Poids | Non précisé |
| Système de rotation | Rotation motorisée |
| Utilisation | Professionnelle et domestique |
| Sécurité | Norme CE |
| Nettoyage | Facile, portes vitrées amovibles |
| Accessoires inclus | Broches et supports |
FOIRE AUX QUESTIONS - 215.037 BARTSCHER
Téléchargez la notice de votre Rôtissoire électrique au format PDF gratuitement ! Retrouvez votre notice 215.037 - BARTSCHER et reprennez votre appareil électronique en main. Sur cette page sont publiés tous les documents nécessaires à l'utilisation de votre appareil 215.037 de la marque BARTSCHER.
MODE D'EMPLOI 215.037 BARTSCHER
Rôtissoires électriques
de page 12 à page 16
F/B/CH
Gebruiksaanwijzing
Rôtissoires électriques verticales à broches indépendantes
Mod. E-6P
Mod. E-8P-S2
Mod. E-12P-S3
CE
NOTICE D'INSTALLATION, D'EMPLOI ET D'ENTRETION


Fig. 1
- CHARACTERISTIQUES
| Modèle | Broches | Poulets | Largeur | Profondeur | Hauteur | Tension | Puisance |
| E-6P | 2 | 6 | 700 mm | 360 mm | 530 mm | 230V~ | 2800 W |
| E-8P-S2 | 2 | 8 | 880 mm | 470 mm | 530 mm | 230V~ | 3500 W |
| E-12P-S3 | 3 | 12 | 880 mm | 470 mm | 710 mm | 230V 3~400V 3N~ | 5000 W |
INSTALLATION
INSTALLATION, MONTAGE ET REPARATION DOIVENT ETRE SUIVIS EXCLUSIVEMENT PAR DU PERSONNEL QUALIFIE EN OBSERVANT SCRUPELESEMENT LES INSTRUCTIONS SUIVANTES :
- Enlever la machine de l'emballage et éliminer les pièces protectrices.
- Enlever le plastique de protection; si des traces de colle persistent, utiliser un solvant approprié, puis essuyer.
- La plaque signalétique se trouve à l'arrière de l'appareil. Elle relève si l'appareil est prédisposé pour le type de tension à disposition de l'utilisateur. Contrôler que la tension du réseau soit la même que celle indiquée sur la plaquette signalétique.
- Lorsque la machine est en fonction, la tension d'alimentation ne doit pas varier de +/- 10% de la valeur fixée.
- L'installation de l'appareil nécessite d'un interrupteur omnipolaire à normes, placé entre le réseau et l'appareil, avec une ouverture des contacts d'au moins 3mm pour chaque pole. L'accès facile à l'interrupteur doit être garanti.
- Mettre l'appareil parfaitement au niveau. Les dénivellations peuvent influencer négativement sur le fonctionnement.
- Respecter une distance minimale de 15 cm, soit pour les parties latérales que pour le dos de l'appareil, d'eventuelles parois inflammables adjacentes.
Pour le positionnement à proximé de parois et meubles inflammables, on conseille un revêtement ajustat. Il faut strictement observer le règlement anti-incendie. - On conseille de laisser libre le cote droit pour d'eventuels travaux d'assistance.
- L'installation de l'appareil doit être effectuee en suivant scrupuleusement les prescriptions locales en vigueur et dans le contexte des normes européennes en vigueur.

Il est indispensable que l'installation et le premier contrôle du rôtissoire soient effectuées par du personnel qualifié. Pour garantir un fonctionnement parfait, il faut suivre attentivement la procédure suivante :
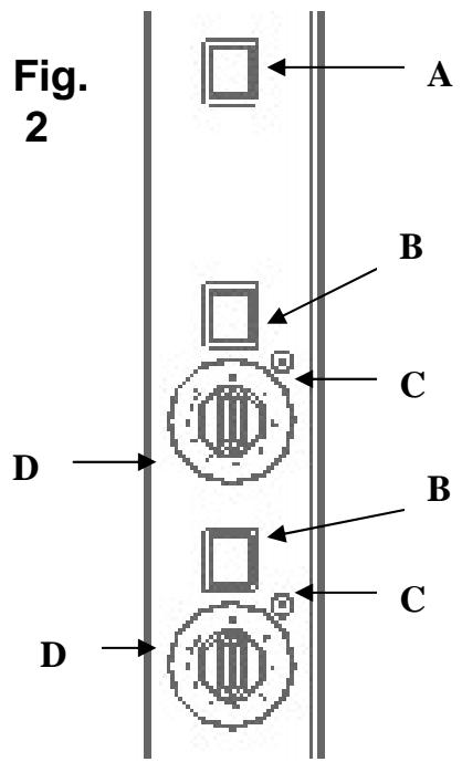
- Pour l'éclairage interieur actionner l'interrupteur lampe A.
- Actionner les interrupteurs moto-réducteurs (B) pour enclencher les moto-réducteurs pour la rotation des broches.
- Tourner les régulateurs d'énergie D pour actionner les résistances. La fonction des régulateurs des résistances (infinit control) est de changer le temps d'allumage des résistances qui doivent chauffer la rotinsoire. Chaque valeur correspond à une unité, jusqu'à rejoindre les 10 unités, valeur dans lequel en tournant ultérieurement la poignée on returne à 0 (résistances éteintes). Chaque unité correspond à "X" secondes dans lesquels les résistances restent allumées ; pour les autres unités les résistances restent éteintes. La valeur relative aux temps d'allumage des résistances peut être changée dans n'importe quel moment. Le fonctionnement des résistances est signalé par son témoin C.

Fig. 3
- Positionnant les réguleurs sur la position MAX le fonctionnement des résistances est continu.
- Tournant ultérieurement la poignée se remet sur la position 0 ( résistances éteintes).
- Ogni regolatore di energia corrisponde a un'asta di cottura. Chaque régulateur d'énergie correspond à une broche de cuisson. La position des régulateurs est ordonnée selon la position des broches.
N.B. Le rôtissoire est doté d'un dispositif qui ne permet pas la mise en fonction des résistances à motoréducteurs éteintes, pour éviter la brûlle des poulets.
- CHARGEMENT DU ROTISSOIRE
Pour le chargement de la rôtissoire enlever manuellement les broches,mettre les poulets comme indiquédans le dessin 4 et introduire les broches dans la rôtissoire.

Fig. 4
A fin cisson enlever les broches en utilisant un gant de cisson.
Ne jamais interposer les mains ou autre dans la rôtissoire en mouvement, celui'un soit la raison.
TEMPS DE CUISSON INDICATIF
Le temps de cuisson pour des poulets d'environ 1 kg varie entre 75 et 90 minutes; ces valeurs peuvent varier second :
- la température initiale du rotissoire
- la constiance de la viande (grasse ou maigre)
- le poids et la forme du produit
- la température initiale du produit à cuire et du résultat désiré (plus ou moins doré).
NETTOYAGE ET ENTRETIEN
ATTENTION : pendant le nettoyage ne pas utiliser des jets d'eau directs ou à pression.
Le nettoyage de l'appareil est très important, parce qu'il garantit un fonctionnement impeccable et une longue durée de l'appareil. En outre, un rôtissoire propre et bien soigné donne une bonne impression au client. Effectuer le nettoyage, selon la nécessité, comme suit :
- Avant chaque intervention, enlever la tension du réseau électrique.
- Déconnecter l'appareil en désactivant l'interrupteur multipolaire posé avant l'appareil.
Le nettoyage doit être effectué seulement quand l'appareil est froid.
Toutes les parties en acier inox doivent etre nettoyees avec un chiffon trempe dans de I'eau avec un détergent adequat. Ne jamais utiliser des détergents abrasifs ou corrosifs, ils pourraient endommager les surfaces.
Tableaux d'instruments, poignées, interrupteurs et vitres doivent être traités avec un chiffon doux et humide. - En cas de fonctionnement continu, nettoyer les vitres avec un chiffon humide et chaux. Ne jamais laver les vitres encore chaudes avec de l'eau froide, cela pourrait provoquer un chic thermique et, par conséquent, la rupture des vitres. Les vitres peuvent être enlevées pour faciliter le nettoyage.
- On conseille de vider et nettoyer les cuvettes ramasse-graisse à chaque fin de cuisson.
- En cas d'anomalies dans le fonctionnement, eteindre l'appareil, le debrancher du réseau et appeler le service d'assistance.
Toutes les interventions de caractètre technique doivent être effectuées exclusivement par du personnel qualifié.
- REMPLACEMENT DU CABLE D'ALIMENTATION
En cas d'endommagement du cable d'alimentation, il faut le remplacer par un cable ajustat, lequel doit avoir les caractéristiques suivantes :
- il ne doit pas etre plus léger que le type H07 RN-F
- il doit avoir une section des conducteurs d'au moins :
| Modèle | 230V~ | 230V 3~ | 400V 3N~ |
| E-6P | 3x1,5 mm² | / | / |
| E-8P-S2 | 3x2,5 mm² | / | / |
| E-12P-S3 | / | 4x4 mm² | 5x2,5 mm² |
Pendant le raccordement faire attention que le conducteur de terre soit plus long que les autres. En cas d'une forte traction du cable ou de rupture du fixage, celui-ci doit se débrancher après les conducteurs de tension.
- REMPLACEMENT DE LA LAMPE
- Débrancher l'appareil du réseau électrique.
- Enlever la protection en vitre.
- Enlever la lampe et la changer avec une autre ayant les mêmes caractéristiques et monter de nouveau la protection en vitre.
SCHEMA ELECTRIQUE
Voir schèmes electriques ci-joint.
- AVENTISSEMENT
- écouler l'appareil de manière ajusté respectant les normes nationales en matière de déchets.
- tousjours proteger l'appareil de l'intervention de personnes non autoriseses.

Notice Facile