215.037 - Elektrischer Drehspieß BARTSCHER - Kostenlose Bedienungsanleitung
Finden Sie kostenlos die Bedienungsanleitung des Geräts 215.037 BARTSCHER als PDF.
Laden Sie die Anleitung für Ihr Elektrischer Drehspieß kostenlos im PDF-Format! Finden Sie Ihr Handbuch 215.037 - BARTSCHER und nehmen Sie Ihr elektronisches Gerät wieder in die Hand. Auf dieser Seite sind alle Dokumente veröffentlicht, die für die Verwendung Ihres Geräts notwendig sind. 215.037 von der Marke BARTSCHER.
BEDIENUNGSANLEITUNG 215.037 BARTSCHER
Elektrische Hahnchengrillgeräte
Seite 2 bis 6
D/A/CH
Instruction manual
Elektrische kippengrills
blz. 17 t/m 21
NL/B
Instrukcja obşlugi
Elektro-Hähnchengrills
mit übereinander Einzelspießensbewegung
Mod. E-6P
Mod. E-8P-S2
Mod. E-12P-S3
CE
INSTALLATIONS, - BEDIENUNGS-
UND WARTUNG SANWEISUNGEN


Abb. 1
MERKMALE
| Modell | Spiesse | Hähnchen | Breite | Tiefe | Höhe | Spannung | Leistung |
| E-6P | 2 | 6 | 700 mm | 360 mm | 530 mm | 230V~ | 2800 W |
| E-8P-S2 | 2 | 8 | 880 mm | 470 mm | 530 mm | 230V~ | 3500 W |
| E-12P-S3 | 3 | 12 | 880 mm | 470 mm | 710 mm | 230V 3~400V 3N~ | 5000 W |
INSTALLATION
Installation, Aufbau und eine eventuelle Fehlerbehebung dürfen ausschliesslich nur von qualifiziertem Fachpersonal durchgeführt werden :
- Das Gerät aus der Verpackungnehmen und das Verpackungsmaterial entfernen.
Die Schutzfolie von den Geräten entfernen; sollenn Klebereste angehaftet bleiben, mit einem geeigneten Lösemittel entfernen und trocknen. - Das Datenchild befindet sich auf der Rückseite des Gerätes. Die darauf angegebenen Daten betr. Netzspannung müssen mit denjenigen am Aufstellungssort übereinstimmen.
- Bei Inbetriebnahme des Gerätes muss darauf geachtet werden, dass die festgelegte Spannungsleistung nicht mehr als 10% plus/minus abweicht.
- Für den Anschluss des Gerätes bereits man einen vorschrifsmäßigen Schalter, der sich zwischen dem Gerät selbst und der Netzspannung befinden muss, mit einem Kontaktabstand von mindestens 3 mm pro Pol. Der Schalter muss keinlich erreichen sein.
- Das Gerät muss fest und eben stehen. Durch Regulieren der Füsschen konnen evtl. Unebenheiten ausgeglichen werden, da diese eine optimale Leistung des Gerätes und das perfekte Funktionieren beeinträchtigen konnten.
- Sollten sich ganz in der Nähe möglich entflammbare Wände oder Möbel befinden, mösen diese entsprechend verkleidet werden. Die Brandschutzvorschriften sind streng zu beachten. 15 cm Abstand zwischen den Seitenwänden und der Rückwand des Gerätes und den eventuellen entflammbaren anliegenden Wänden halten.
- Das Gerät muss nach den geltenden lokalen Vorschriften sowie den geltenden Europäischen Normen installiert werden.

Die Installation und die erste Kontrolle des Hahnchengrills)durfen nur von qualifiziertem Fachpersonal ausgeführten werden. Um ein gutes Funktionieren zu garantieren, muss folgenden beachtet werden :
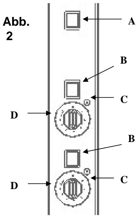
- Mit dem Beleuchtungsschalter (A) wird die Innenbeleuchting des Hahnchengrills angezündet.
- Die Getriebemotoren für die Spiesse in Bewegung zu setzen.
- Die Energieregulatoren (D) drehen, um die Heizelemente in Bewegung zu setzen. Die Regulatoren der Heizelemente (Infinit control) haben die Funktion, die Einschlzeit der für die Aufheizung des Hahnchengrills zuständigen Heizelemente zu ändern. jeder Wert entspricht einer Einheit, bis die 9 Einheiten erreicht sind. Beim Erreichen des Dauerbetriebes (MAX) keht man auf 0 darüber (Heizelemente ausgeschelt).Eine Einheit entspricht einer Anzahl von Sekunden, in welchen die Heizelemente eingeschaltet bleiben; für die restlichen Einheiten bleiben die Heizelemente ausgeschaltet. Der betreffende Wert für die Einschlteiten der Heizelemente kann jederzeit geändert werden. Die Kontrolleuche C zeigt den Heizelementebetrieb an.

Abb. 3
Beim Erreichen des Dauerbetriebes (MAX) kehr man auf 0 zurück (Heizelemente ausgeschelt).Jede Einheit entspricht einer Anzahl von Sekunden, in welchen die Heizelemente eingeschaltet bleiben; für die restlichen Einheiten bleiben die Heizelemente ausgeschelt.
N.B. Eine spezielle Vorrichtung verhindert das Funktionieren der Heizstäbe bei abgestellten Getriebemotoren, um ein Anbrennen der Hahnchen zu vermeiden.
BELADEN DES HAHNCHENGRILLS
Zum Beladen des Hahnchengrills wie folgt vorgehen :
Die kalten Spiesse von Hand Herausnahmen Die Hahnchen gemass Abbildung 4 aufspiessen Die Spiesse in den Grill einfugen Nach beendeter Grillzeit die Spiesse mit Kockenhandschuhr

Abb. 4
Die Hände oder anderes nie in das Hahnchengrillgerät stecken, wenn these in Betrieb ist.
VORGESCHLAGENE GRILLZEITEN
Die Grillzeit für ca. 1 kg schwere Hahnchen beträgt zwischen 75 und 90 Minuten. Folgendes kann die Grillzeit sehr beeinflussen :
- ob der Grill schon vorgeht ist
ob das Fleisch fett oder mager ist
Gewicht und Form des Grillgutes - Temperatur des rohen Produktes und das gewünschte Ergebnis (mehr oder weniger gebräunt).
REINIGUNG UND WARTUNG
ACHTUNG : das Gerät nie mit direktem Wasserstrahl oder mit Hochdruckreiniger bespritzen Die Reinigung des Gerätes ist sehr wichtig, Denn sie gewährleistet ein einwandfreies Funktionieren und eine Lange Lebensdauer. Ausserdem macht ein sauberes und gepflegtes Gerät einen gute Eindruck auf den Kunden. Die Reinigung ist je nach Bedarf nach folgenden Punkten vorzunehmen:
Vor jeder Reinigung oder Wartungsarbeit immer den Netzstecker Herausziehen.
Das Gerät ausschalten, indem man den allpoligen, vor dem Gerät angebrachten Schalter inaktiv macht oder den Stecker Herauszieht (aufpassen, dass dieser nicht nass wird).
Das Gerät erst nach vollständiger Abkühlung reinigen.
Alle Geräteile aus Edelstahl führen nur mit Wasser und einem geeigneten Reinigungsmittel gereinigt werden. Auf keinen Fall scheuernde oder ätzende Mittel verwenden, diese können die Oberfläche beschädigen.
Instrumentenbrett, Griffe, Schalter und Glasscheiben sind mit einem weichen, feuchten Tuch zu behandeln.
- Bei Dauerbetrieb sollen den Glasscheiben ofters mit einem feuchten, warmen Tuch gereinigt werden. Es ist wichtig, dies zu beachten, Denn durch große Temperaturunterschiede konnten die Glasscheiben bersten. Deshalb sind die noch warmen Glasscheiben auch nie mit kaltem Wasser abzuwischen. Die Glasscheiben können entfernt werden, um eine bessere Reinigung zu erhögbaren.
Es empfeihlt sich, die Fettauffangschalen nach jedem Grillvorgang zu leeren und zu reinigen.
- Sollten Funktionstörungen auftreten, ist das Gerät sofort auszuschalten, der Netzstecker Herauszuziehen und der Kundendienst zu benachrichtigen.
- Reparaturen sind nur von qualifiziertem Fachpersonal auszuführen.
AUSWECHSELN DES SPEISUNGSKABELS
Sollte das Zuleitungskabel beschädigt sein, muss es mit einem gleichartigen ersetzt werden. Das Ersatzkabel muss folgende Eigenschaften aufweisen :
es darf nicht leichter als Typ H07 RN-F sein
es muss einen mindesten Querschnitt der Leitungen wie folgt aufweisen :
| Modell | 230V~ | 230V 3~ | 400V 3N~ |
| E-6P | 3x1,5 mm² | / | / |
| E-8P-S2 | 3x2,5 mm² | / | / |
| E-12P-S3 | / | 4x4 mm² | 5x2,5 mm² |
Beim Anschliessen ist darauf zu achten, dass die Erdleitung länger als die anderen Leitungen ist, damit sich diese im Falle einer starken Traktion des Kabels oder beim Bruch der Kabelbefestigung erst nach den Spanningsleitungen loslõst.
AUSWECHSELN DER LAMPE
- Das Gerät ausschalten.
- Das Schutzglas entfern.
Die Lampe abschrauben und durch eine gleichartige ersetzen. Das Schutzglas wieder aufschrauben.
ELEKTKRO-SCHEMA
Siehe beigeufige Schaltpläne.
ANWEISUNG
- Das Gerät entsprechend den nationalen Entsorgungsrechtsvorschriften entsorgen.
Das Gerät gegen Eingriffe von nicht berechtigtem Personal immer schützen.

Notice-Facile