HDCC62560 - Beveiligingssysteem ABUS - Gratis gebruiksaanwijzing en handleiding
Vind de handleiding van het apparaat gratis HDCC62560 ABUS in PDF-formaat.
Download de handleiding voor uw Beveiligingssysteem in PDF-formaat gratis! Vind uw handleiding HDCC62560 - ABUS en neem uw elektronisch apparaat weer in handen. Op deze pagina staan alle documenten die nodig zijn voor het gebruik van uw apparaat. HDCC62560 van het merk ABUS.
GEBRUIKSAANWIJZING HDCC62560 ABUS
Belangrijke aanwijzingen en FAQ's over dit product en andere producten vindt u op website
wwwabus.com
Versie 1.0
Nederlandse vertaling van de originele Duitse handleiding.
Bewaren voor toekomstig gebruik!
Inleiding
Geachte klant,
Hartelijk dank voor de aankoop van dit product.
Hierbij verklaar ik, ABUS Security-Center, dat de camera's HDCC62560 en HDCC72560 voldoen aan de volgende EU-richtlijnen: EMC-richtlijkn 2014/30/EU en RoHS-richtlijkn 2011/65/EU. De volledige tekst van de EU-conformiteitsverklaring is beschikbaar op de volgende website:
www.abus.com/product/HDCC62560 www.abus.com/product/HDCC72560
Om deze toestand te behouden en een veilig gebruik te garanderen, dient u als gebruiker deze gebruikershandleiding in acht te nemen!
Lees de complete gebruikershandleiding door voordat u het product in gebruik neemt. Neem alle gebruiks- en veiligheidsinstrumenties in acht!
Alle genoemde bedrijfs- en productnamen zijn handelsmerken van de betreffende eigenaaren. Alle rechten voorbehonden.
Neem bij VXrnen contact op met uw installateur of specialzaak!

De gevevensoplag valt onder de voor het land specifieke richtlijnen m.b.t. de bescherming van personsgegevens.

Uitsluiting van aansprakelijkheid
Deze gebruikershandleiding is met große zorgvuldigheid opgesteld. Mocht u toch wegatingen of onnauwkeurigheden ontdekken, informeer ons hierover dan schriftelijk via het bovenstaande adres.
ABUS Security-Center GmbH aanvaardt geen aansprakelijkheid voor technische en typografische fouten en behoudt zich hetrecht voor te allen时代的, zonder aankondiging vooraf, wijzigingen aan het product en in de gebruikershandleidingen aan te brengen.
ABUS Security-Center is nicht aansprakelijk of verantwoordelijk voor directe en indirecte gevolgschade die in verband met de uitrusting, de prestatie en het gebruik van dit product ontstaan. Voor de inhoud van dit document worden geen enkele garantie gegeven.
Verklaring van symbolen
| 7 | Het symbool met de flits in de driehoek worden gezruikt als er gevaar voor de gezondheid.bestaat, bijv. door een elektrische schok. |
| 1 | Een driehoek met uitroepteken wijst op belangrijke instructies in deze gebruikershandleiding die.altijd in acht genomen要去en worden. |
| i | Dit symbool wijst op bijzondere tips en instructies over de bediening. |
Opsommingen
| 1. ... | Opsommingen met vaste volgorde in de tekst of waarschuwing. |
| 2. ... | |
| • ... | Opsommingen zonder vaste volgorde in de tekst of waarschuwing. |
| • ... |
Beoogd gebruik
Gebruik het apparaat uitsluitend voor het doel waarvoort het werk gebouwd en ontworpen! ledere anders gebruik geldt als Niet beoogd!
Belangrijke veiligheidsinstrumentes
Algemeen
Lees voordat u het apparaat voor de eerste keer gebruikt nauwkeurig de volgende instructies en let op alle waarschuwingen, zichs als u vertrouwd bent in de omgang met elektronische apparaten.
| Bij schade die door het nicht in acht nemen van deze gebruikershandleiding worden veroorzaakt, vervalt de aanspraak op garantie. Wij aanvaarden geen aansprakelijkheid voor gevolgschade! | |
| Wij aanvaarden geen aansprakelijkheid voor materièle schade of letselschade, die door onjuist gebruik of het nicht in acht nemen van de veiligheidsinstructies is veroorzaakt. In deze geallen vervalt)iederrecht op garantie! |
Bewaar deze handleiding zorgvuldig voor toekomstig gebruik als naslagwerk.
Als u het apparaat verkoopt of doorgeeft, overhandig dan ook deze handleiding.
De volgende veiligheids- en bevareninstructies dienen nicht alleen ter bescherming van uw gezondheid, maar zich ook bedoeld voor de bescherming van het apparaat. Lees de volgende punten aandachtig door:
Stroomvoorziening
- Gebruik dit apparaat alleen op een stroombron die de op het typeplaatje vermelde netspanning levert. Neem contact op met uw energiebedrijf als u Niet zeker weet welke stroomvoorziening bij u beschikbaar is.
Koppel het apparaat los van de netvoeding, voordat u onderhouds- of installmentwerkzaamhederuitvoert - Het apparaat worden alleen volledig van het elektriciteitsnet losgekoppeld als de voeding worden verwijderd.
- Om het apparaat hebelaal van het stroomnet te scheiden, moet de netstekker uit het stopcontact worden getrokken.
- Om brandgevaar uit te sluiten, moet de netstekker van het apparaat algijd uit het stopcontact worden getrokken, als het apparaat langereijd Niet worden gebruikt.
Overbelasting/overspanning
Voor een storm en/of onweer met het risico van blikseminslag moet u het apparaat loskoppelen van het elektriciteitsnet of moet het apparaat worden aangesloten op eenoodvoeding.
- Vermijd overbelasting van stopcontacten, verlengkabels en adapters. Overbelasting kan leiden tot brand of een elektrische schok.
Kabels
Houd kabels altijd aan de stekker vast en trek Niet aan de kabel zelf
- Raak de netkabel nooit met natte handen aan,,ondat dit kortsluiting of een elektrische schok kan veroorzaken.
- Plaats het apparaat, meubels of andere zware voorwerpen Niet op de kabels en let erop dat deze Niet worden geknikt, in het bijzonder aan de stekker en aan de aansluitingen
Maak nooit een knoop in een kabel en bind de kabel Niet samen met andere kabels.
Alle kabels要去en zo worden gelegd dat niemand erop kan gaan staan of erdoor worden belemmerd.
- Een beschadigde nettabel kan brand of een elektrische schok veroorzaken. Controller de nettabel regelmatig.
Wijzig of manipuleer netkabels en netstekkers Niet.
- Gebruik geen adapterstekkers of verlangkabels die nicht voldoen aan de geldende veiligheidsnormen en manipuleer netkabels Niet.
Kinderen
- Elektrische apparaten mogen nicht in de handen van kinderen verechtkomen! Laat kinderen nooit zonder toezicht elektrische apparaten gebruiken. Kinderen können de möglichke bevaren nicht.altijd goed herkennen. Kleine onderdelen konnen levensgevaarlijk zijn als ze worden ingeslikt.
Houd verpakkingsfolie uit de buurt van kinderen. Er bestaat gevaar voor verstikking! - Dit apparaat hoogt Niet thus in de handen van kinderen. Verende onderdelen konnen bij onjuist gebruik eruit springen en letsel (bijv. ogen) bij kinderen veroorzaken.
Bewaking
- De ingebruikneming van bewakingsinstallaties kan in bepaalde landen door de wet zijn verboden of gereglementeerd.
- De exploitant要去 voor de ingebruikneming eerst controeren of de bewaking binnen de wettelijk bepalingen blijft.
Opstelplaats/gebruiksomgeving
Plaats geen zware voorwerpen op het apparaat.
Het apparaat is alleen geschikt voor gebruik in ruimtes met geschikte temperatuur of luchtvochtigheid (bijv. badkamers) of in zeer stoffige ruimtes. Voor precieze gegevens controleert u de technische gegevens van de individuèle apparaten.
Let erop dat
altijd voldoende ventilatie is gegarandeerd (plaats het apparaat Niet in schappen, op een dik tapijt, op een bed of opplaatsen waar de ventilatieopeningen afgedekt zich en houd minimaal 10 cm afstand aan�akanten);
- geen directe warmtebronnen (bijv. verwarmingen) op het apparatusaat inwerken;
- er geen direct zonlicht of sterk kunstlicht op de apparaten voor binnentoepassingen schijnt;
- het apparaat Niet in de directe omgeving van magnetische velden (bijv. luidsprekers) staat;
- geen open brandhaarden (bijv. brandende kaarsen) op of naast het apparaat staan;
- het contact met spat- of druipwater voor apparaten voor binnentoepassingen en agressieve vloeistoffen worden vermeden,
- het apparaat Niet worden gezruikt in de buurt van water, in het bijzonder mag het apparaat nooit worden ondergedompeld (plaats geen met vloeistoffen gezulde voorwerpen, bijv. vazen of drankflessen op of naast het apparaat);
- geen vreemd materiaal binnendringt;
- het apparaat Niet bloatstaat aan sterke temperatuurschommelingen, odomat anders luchtvochtigheid condenseren en een elektrische kortsluiting veroorzaken kan;
- het apparaat Niet bloatstaat aan sterke schokken of trillingen.
Uitpakken
Tijdens het uitpakken moet u het apparaat uiterst zorgvuldig behandelen.
Verpakkingen en verpakkingsmiddelen können worden gerecycled en要去en voor hergebruik worden afgevoerd.
Wij adviseren u:
papier, karton en golfkarton of kunststofverpakkingen要去 in de waaroor bestemde verzamelcontainer worden gedeponeerd.
Zolang deze in uw woonomgeving nog Niet beschikbaar zich, kun t u deze materialen latent ophalen met het gewone huisvuil.

Waarschuwing
Bij een eventuele beschadiging van de originele verpakking moet u het apparaat eerst controleren. Als het apparaat is beschadigd, stuurt u het in de verpakking terug en informeert u de bezorgdienst.
Ingebruikneming
- Lees voor de eerste ingebruinkeming alle veiligheids- en bedieningsinstructies!
| 9 | Waarschuwing Zorg er bij de installmentie in een bestaande videobewakingsinstallatie voor dat alle toestellen van de net- en laagspanningsstroomkring gezchemden+zijn! |
| 11 | Waarschuwing Ondeskundige en amateuristische werkzaamheden aan het elektriciteitsnet of aan de huisinstallaties+zijn Niet alleen gevaarlijk voor uzelf, maar ook voor anderen. Sluit de installations zo op het net aan dat net- en laagspanningsstroomkringen algijds geschieren verlopen en op geen enkele plaats met elkaar verbondenzoin of door een defect met elkaar verbondenkonnen raken. |
Onderhoud en reiniging
Onderhoudswerkzaamheden zijn nodig als het apparaat beschadigd is, bijv. als de netstekker, de netkabel of de behuizing beschadigd is, vloeistof voorwerpen in het apparaatterecht zich gekomen, het apparaatblootgestaan heeft aan regen of vocht of als het Niet goed werkf of gevaln is.
Onderhoud
- Als u rookontwikkeling, of ongebruikelijke geluiden of geuren vaststelt, schakelt u het apparaat meteen uit en trekt u de netstekkers uit het stopcontact. In deze gezallen mag het apparaat Niet meer gebruikt worden tot een specialist een controle heeft uitgevoerd.
- Laat alle onderhoudswerkzaamheden uitsluitend door gekwalificeerde specialisten uitvoeren.
- Open nooit de behuizing van het apparaat of de accessoires als dat Niet gevraagd worden. Omdat bij geopende behuizing algid levensgevaar bestaat door elektrische schok, opent u de behuizing alleen als er geen spanning op het apparaat staat.
Bij sommige apparaten is het openen van het apparaatoodzakelijk en toegestaan voor de volgende toepassingen:
Montage van het apparatus
- Plaatsing van een opslagmedium (SD-kaart of harde schijf)
Toegang tot belangrijke functies (resettoets of WPS-toets)
Reiniging
- De behuizing van het apparaat mag alleen met een vochtige doek worden gereinigd.
- Geen oplosmiddelen, spiritus, verdunners etc. en geen van de volgende stoffen gebruiken: zout water, insectenverdelger, chloor- of zuurhoudende oplosmiddelen (salmiak), schuurpoeder.
- Met de katoenen doek zacht over het oppervlak wrijven totdat.Deze helemaal droog is.

Het apparaat werkt met gevaarlijke spanning. Koppel het apparaat voor onderhoudswerkzaamheden of reinigen los van het stroomnet!
Inhoud
- Inhoud van de levering 8
- Beschrijving van de hardware 9
2.1. HDCC62560 9
2.2. HDCC72560 9
- Montage / installation 10
3.1. HDCC62560 10
3.2. HDCC72560 11
3.3. Videokabel aanbrengen 11
4.OSD-menu 12
1. Inhoud van de levering
HDCC62560
Analogog HD 1080p Buitencamera
Netstekkeroeding, 12V DC / 1A (EU, UK, AU)
- Boorsjabloon
- 30m combikabel
- Bevestigingsmaterial
- Handleiding
HDCC72560
- Analoog HD 1080p Buiten Dome Camera
Netstekkervoeding, 12V DC / 1A (EU, UK, AU) - Boorsjabloon
- 30m combikabel
- Bevestigingsmaterial
- Handleiding
2. Beschrijving van de hardware
2.1. HDCC62560

| 1 Lens 2 Zonnedak | ||
| 3 Wandhouser camera 4 Spanningsaansluiting | (5,5x2,1mm, DC-stekker) | |
| 5 HD-TVI video-uitgang (BNC) | ||
2.2.HDCC72560

| 1 Onderplaat camera 2 Camera | ||
| 3 Camerakap 4 Spanningsaansluiting | (5,5x2,1mm, DC-stekker) | |
| 5 HD-TVI video-uitgang (BNC) | ||
3. Montage / installment

LET OP!
Tijdens de montage要去 de camera van de netspanning zijn losgekoppeld.
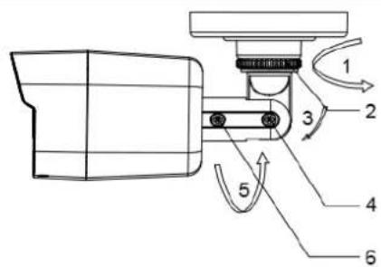
3.1. HDCC62560

Plak de meegeleverde boorsjabloon op deplaats waar u de camera wilt installeren. Boor de benodigde boorgaten.
Gebruik de meegeleverde pluggen en schroeven om de camera te bevestigen.
Uitlijning

- Draaien: 0-360°
- Vastzetring voor draaien
- Kantelen: 0-180°
- Vastzetschroef voor kantelen
- Rotatie: 0 - 360^
- Vastgeschroefd voor rotatie
3.2. HDCC72560

Plak de meegeleverde boorsjabloon op deplaats waar u de camera wilt installeren. Boor de benodigde gaten.
Draai de camerakap, totdat de marketing van de camera-bodemplaat en de inkering in de camerakap bij elkaar staan (afbeeling 1). Verwijder de camera-bodemplaat met een vlak voorwerp (bijv. een munt).
Gebruik de meegeleverde pluggen en schroeven om de camera-onderplaat te bevestigen.

Als de kabels vanaf de zijkant worden gelegd, bevestigt u de camera-onderplaat Niet helemaal totdat de camera en de camerakap op hun plek zitten.
Plaats de camera op de camera-onderplaat en monteer de kabel door de muur of vanaf de zijkant. Klik de camerakap erop en lijn de camera en camerakapuit.
Uitlijning

3.3. Videokabel aanbrengen
Om het HD TVI-video signal van de camera waar een HD-TVI-recorder te sturen, moet een coaxkabel van het type RG59 met BNC-stekker (male, man) op de aansluiting met de opdruk 'TVI' worden aangesloten. De kabellenge tot het volgende apparaat mag Niet groter+zijn dan 500 meter (RG6) resp. 300 meter (RG59).
| i | Als de kabels naast stroomkabels of andere geleidende materialen worden gelegd, kan de beeldoverdracht van de camera worden gestoord. Aanbeveling: Gebruik van ontstoringsfilter TVAC25220 of TVAC25210, om storing te minimisieren. |
4.OSD-menu
Het beeldschermmenu (OSD, On-Screen-Display) van deze camera kan alleen via een apparaat met besturingsmogelijkheden (recorder, bedieningspaneel) worden geopend. Voor het openen van het OSD-menu roegt u de preset 95 op. Voor de besturing gezruikt u de PTZ-pijltoetsen van uw apparaat en de optie "Iris+" voor het openen, verlaten en bevestigen.

Het OSD-menu is alleen beschikbaar in de Engelse taal. Gebruik voor orientatie de beschrijving van de punten hieronder.
De optie "Iris+" kan per apparaat verschillen
MENU
FORMAT Videoformaat kiezen (PAL of NTFS)
LANGUAGE OSD-taal kiezen
MAIN MENU Hoofdmenu openen
SET UP (hoofdmenu)
AE Belichtingsinstellingen openen
AWB Witbalansinstallingen openen
DAY NIGHT Dag-/nachtinstellungen openen
VIDEO SETTING Video instellingen openen
FUNC Functie-installingen openen
RESET Camera op fabrieksinstellungen-resetten
SAVE&EXIT Installingen opslaan en OSD sluiten
EXPOSURE (belichtingsinstellingen)
BRIGHTNESS Helderheid instellen
EXPOSURE MODE Belichtingsmodus instellen
GLOBAL Automatisch
BLC Tegenlichtcompensatie
BLC LEVEL Niveau instellen
OFF Uit
LOW Laag
MIDDLE Middel
- HIGH Hoog
SENSE UP Belichtingstijd instellen
RETURN Menu verlaten
WB (witbalansinstallingen)
MODE Modus instellen
ATW Automatisch
- MWB Handmatig
RGAIN Roodversterking instellen
BGAIN Blauwersterking instellen
RETURN Menu verlaten
DAY NIGHT (dag-/nachtinstellingen)
MODE Modus instellen
- AUTO Automatisch
INFRARED Infrarood activeren/deactiveren
SMART IR Smart IR Level
COLOR Beeld is altijd in kleur
- BW Beeld is altijd zwart/wit
VIDEO SETTING (video-installingen)
CONTRAST Contrast instellen
SHARPNESS Scherpte instellen
COLOR GAIN Kleurversterking instellen
3DNR Dynamische ruisonderdrukking instellen
MIRROR Camerabeeld spiegel
- DEFAULT Normaal
H Horizontaal
V Verticalaal
HV Horizontaal en verticaal
FUNC (functie-instellen)
PRIVACY Maskering privézones opener
MOTION Bewegingsdetectie openen
CAMID Installingen camera-ID openen
DPC Automatische correctie van defecte pixels activeren/deactiveren
RETURN Menupunt verlaten
PRIVACY / MOTION (Maskering privézones / bewegingsdetectie)
MODE Maskering privezones / bewegingsdetectie activeren/deactiveren
AREA x Zone bewerken
DISPLAY Weergaven activeren/deactiveren
X POSITION Positie X-assen instellen
- Y POSITION Positie Y-assen instellen
WIDTH Breedte instellen
HEIGHT Hoogte instellen
- RETURN Menu verlaten
SENSITIVITY Gevoeligheid instellen
COLOR Kleur instellen
TRANSPARENCY Transparantie activeren/deactiveren
RETURN Menupunt verlaten
CAMID SETTING (instellingen camera-ID)
MODE Weergave activeren/deactiveren
CAMID Camera-ID instellen
X POSITION Positie X-assen instellen
Y POSITION Positie Y-assen instellen
RETURN Menupunt verlaten
SimpelGids