HDCC62560 - Sistema di sicurezza ABUS - Manuale utente e istruzioni gratuiti
Trova gratuitamente il manuale del dispositivo HDCC62560 ABUS in formato PDF.
Scarica le istruzioni per il tuo Sistema di sicurezza in formato PDF gratuitamente! Trova il tuo manuale HDCC62560 - ABUS e riprendi in mano il tuo dispositivo elettronico. In questa pagina sono pubblicati tutti i documenti necessari per l'utilizzo del tuo dispositivo. HDCC62560 del marchio ABUS.
MANUALE UTENTE HDCC62560 ABUS
Avvertenze importanti e FAQ su quello e altri prodotti alla ricerca Internet
wwwabus.com
Version 1.0
Istruzioni per l'uso originali in lingua tedesca.
Conservarle per consulazioni future.
Introduzione
Gentile clientele,
La ringraziamo per aver acquistato quello prodotto.
ABUS Security-Center dichiarare che le telecomere HDCC62560 e HDCC72560 sono conformi alle seguenti direttive UE: direttiva sulla compatibilità elettromagnetica EMC 2014/30/UE e direttiva RoHS 2011/65/UE. Il testo completo della dichiarazione di conformità UE è disponibile al segmente indirizzo internet:
www.abus.com/product/HDCC62560
www.abus.com/product/HDCC72560
Al fine di preservare tale stato e garantire un funzionamento sicuro, l'utente è tenuto a osservare le presenti istruzioni per l'uso.
Prima di mettere in funzione il prodotto, leggere tutte le istruzioni per l'uso, facendoattenzione alle avvertenze sull'uso e sulla sicurezza.
Tutti i nomi di aziende e prodotti ivi riportati sono marchi depositati dei rispettivi proprietari. Tutti i diritti riservati.
In caso di dubbi rivolgersi al proprio installatore o rivenditore partner specializzato.

L'archiviatione dei dati è soggetta alle direttive relative alla tutela dei dati personali nei singoli Paesi.

Esclusione di responsabilità
Le presenti istruzioni per l'uso sono state redatte con la massima cura. Se dovesse tuttavia riscontrare omissioni o imprecisioni, La preghiamo di comunicarcele per iscritto all'indirizzo riportato qui sopra.
ABUS Security-Center GmbH non si assume alcuna responsabilità per errori tecnici o tipografici e si riserva il diritto di apportare in qualsiasi momento modifiche al prodotto e alle istruzioni per l'uso sanza previa communicatesione.
ABUS Security-Center non è perseguibile né responsablee per danni diretti e indiretti subiti in relazione all'equipaggiamento, al rendimento e all'impiegelo del presente prodotto. Non si fornisce una garanzia per il contento del presente documento.
Spiegazione dei symboli
|  | Il symbolo con un fulmine all'interno del triangolo viene utilizzato se sussistono pericoli per la salute, ad es. in seguito a scosse elettriche. |
|  | Il punto esclamativo all'interno di un triangolo rimanda ad avventenze importanti containute nelle presenti istruzioni per l'uso, che è assolutamente necessario osservare. |
|  | Questo symbolo indica consigli particolari e avventenze sull'uso del dispositosivo. |
Elenchi
| 1. ...2. ... | Elenchi con sequenza stabilita nel testo o avventenza. |
| ... ... | Elenchi alla sequenza stabilita nel testo o avventenza. |
Conformità d'uso
Utilizzare questo apparente esclusivamente per lo scopo per il quale è stato progettato e realizzato!
Qualiasi altri impiego è considerato non conforme!
Avvertenze importanti sulla sicurezza
Informazioni generali
Prima di utilizzare l'apparecchio per la prima volta, leggere attendamente le seguenti istruzioni e rispetto delle avventenze,anche se si ha già familarità con l'uso di apparecchi elettronici.
| 9 | In caso di danni derivanti dal mancato rispetto delle presenti istruzioni per l'uso, il diritto alla garanzia decade. è esclusa la responsabilità per danni indiretti. |
| 1! | È esclusa la responsabilità per anni a cose o a persone dovuti a un uso improprio o alla mancata osservanza delle avventenze sulla sicurezza. In tali casi il diritto alla garanzia decade. |
Conservare accuramente il presente manuale per consultazioni future.
Se l'apparecchioiene venduto o ceduto a terzi, consegnare ancche le presenti istruzioni per l'uso. Le seguenti avventenze sulla sicurezza e sui pericoli non servono solamente per proteggere la Sua salute ma anche per proteggere il dispositivo. La invitiamo a leggere attendamente i seguenti punti:
Alimentazione elettrica
- Collegare l'apparecchio esclusivamente a sorgenti di alimentazione che fornisco la tensione dire te individata sulla targhetta. Se non si conosce con sicurezza il tipo di alimentazione elettrica a disposizione, rivolgiersi all'azienda elettrica locale.
- Scollegare l'apparecchio alla rete di alimentazione elettrica prima di eseguire interventi di manutenzione o installmente.
L'apparecchio è completeness scollegato dall'alimentazione elettrica quando il suo l'alimentatore viene rimioso. - Per scollegare completeness l'apparecchio alla rete elettrica, estrarre la spina di alimentazione alla presa di corrente.
- Per evitare il pericolò di incendio, estrarre la spina di alimentazione alla presa di corrente se si prevede di non utilizzato l'apparecchio per un lungo periodo di tempo.
Sovraccarico/sovratensione
In caso di tempesta o temporale con pericolo di fulmini, scollegare l'apparecchio alla rete elettrica oppure collegarlo a un gruppo di continuità.
- Evitare di sovraccaricare prese di corrente, cavi di prolunga e adattatori, in quanto potrebbero verificarsi incendi o scosse elettriche.
Cavi
- Estrarre sempre tutti i cavi afferrando la spina e non il cavo.
Non toccare mai il cavo di alimentazione con le mani bagnate poiché potrebber verificarsi un cortocircuito o una scarica elettrica.
Non posizionare mai l'apparecchio, mobili o altri oggetti pesanti sui cavi e prestare attenzione a non piegarli, soprattutto in corrispondenza della spina e delle prese di collegamento.
Non annodare mai un cavo e non collegarlo mai ad altri cavi. - Posare tutti i cavi in modo tale che nessuno possa calpestarli o inciamparvi.
- Un cavo di alimentazione danneggiato cui possa sare un incendio o una scarica elettrica. Eseguire controlli regolari sul cavo di alimentazione.
Non modificare né manipolare il cavo di rete e la spina di alimentazione.
Non utilizzato adattatori o cavi di prolunga che non siano conformi alle norme di sicurezza in vigore e non intervenire sui cavi di alimentazione.
Bambini
Gli apparecchi elettrici non devono essere lasciati alla portata dei bambini! Non lasciare mai che i bambini utilizzino da soli gli apparecchi elettrici. I bambini non sono sempre in grado di riconoscere i possibili pericoli. Piccole parti, se inerite, sono diventare mortali.
- Anche gli imballaggi devono essere tenuti lontano alla portata dei bambini. Rischio di soffocamento!
Il presente appearecchio non è destinato a essere usato da bambini. In caso d'impiego errato, le parti elastiche possono saltare fuori e ferire i bambini (ad es.agli occhi).
Sorveglianza
- La messa in funzione di impiani per la sorveglianza in determinati Paesi cui quod assere vietata oppure regolamentata per legge.
- Prima della messa in funzione dell'impianto, l'utente deve accertarsi che la sorveglianza si svolga nell'ambito delle rispettive normative di legge.
Luogo di installmentazione/ambiente di esercizio
Non appoggiare oggetti pesanti sull'apparecchio.
L'apparecchio è concepito solamente per il funzionamento in ambienti con temperature o umidità dell'aria adeguate (ad es. in bagno) o in luoghi esposti a un eccessivo accumulo di polvere. Per informazioni più precise verificare i dati tecnici del singolo apparecchio.
Accertarsi sempre che:
- sia presente una ventilazione adeguata (non posizionare l'apparecchio su scaffali, su tappeti spessi, su un letto o in modo che la fessura di ventilazione venga coperta, e lasciare attorno a tutto l'apparecchio una distanza di almeno 10 cm);
- sull'apparecchio non agiscano fonti di calore dirette (ad es. riscaldamenti);
- gli appearecchi per gli ambienti interni non vengano esposti alla luce solare diretta o ad un'intensa luce artificiale;
- l'apparecchio non si trovi vicino a campi magnetici (ad es. altoparlanti);
non siano presenti sorgenti di fiamma nuda (ad es. candele accese) sopra e vicino all'apparecchio; - gli apparecchi per gli ambienti interni non vengano mai a contatto con spruzzi o gobce d'acqua e liquidi aggressivi;
- l'apparecchio non venga attivato vicino all'accua, in particolare che non venga mai immerso in liquidi (non collocare mai oggetti riempiti con liquidi, ad es. vasi o bevande, sopra o vicino all'apparecchio);
- nell'apparecchio non penetrino corpi estranei;
- l'apparecchio non venga mai esesto a forti sbalzi di temperatura, poiché l'umidità dell'aria potrebbe causare condensa e quindi cortocircuiti;
- l'apparecchio non sia soggetti a scosse e/o vibrazioni eccessive.
Disimballaggio
Maneggiare l'apparecchio con la massima attenzione nelle si disimballa.
Gli imballaggi e i rispetti accessori sono materiali riciclabili e devono quindi essere smaltiti di consegenza.
Si consiglia quanto segue:
Carta, cartone, cartone ondulato e parti di imballaggi in plastica devono essere raccolti negli apposti contentitori.
Se tali recipienti non fosso ron orecar disponibili nelle vicinanze della propria abitazione, smaltire quosti materiali come rifiuti domestici.

Avverenza
Se l'imballaggio originale dovesse presentare danni, controllare subito l'apparecchio. Se l'apparecchio risultta danneggiato, rispedirlo con l'imballaggio e informare il servizio consegne.
Messa in funzione
- Prima della messa in funzione iniziale, è necessario assicurarsi che vengano osservate tutte le avventenze sulla sicurezza e sull'utilizzo.
| 4 | Avverenza In caso di installation all'interno di un impianto di videosorveglianza preesistente, accertarsi che tutti gli appearechi siano separati dal circuito di alimentazione e di bassa tensione. |
| 5 | Avverenza Interventi sulla rete elettrica o sugli impianti domestici svolti in maniera non appropriata o non professionale rappresentano un pericolo non solo per se stessi maanche per gli altri. Cablare gli impianti in modo tale che i circuiti elettrici e di bassa tensione rimangano sempre separati, non siano collegati fra loro in nessun punto e non possano nemmeno essere collegati accidentalmente. |
Manutenzione e cura
E necessario eseguire lavori di manutenzione se l'apparecchio è stato danneggiato, ad es. se la spina, il cavo di alimentazione o l'alloggiamento sono danneggiati, se all'interno dell'apparecchio sono penetrati liquidi o corpi estranei, se l'apparecchio è stato esesto a pioggia o umidità e se non funziona perfettamente o è caduto a terra.
Manutenzione
- Qualora vengano rilevati fumo, odori o rumori insoliti provenienti dall'apparecchio, spegnerlo immediatamente ed estrarre la spina alla presa di corrente. In questo casi, non continuare autilizzare l'apparecchio perché far prima eseguire un controllo a un technician.
- Fare eseguire i lavori di manutenzione esclusivamente a personale tecnico qualificato.
Non apree l'alloggiamento dell'apparecchio o degli accessori se non richiesto. Poiché quando l'alloggiamento è aperto sussiste il pericolo di morte in seguito a scarica elettrica, apree l'alloggiamento solo se il dispositivo è scollegato alla corrente.
Per alcuni apparetti e necessario e consentito après l'alloggamento per svolgere le seguente azioni:
Montaggio dell'apparecchio
- Inserimento di un supporto di memoria (scheda SD o disco rigido)
- Accesso a funzioni importanti (tasti di reset o tasti WPS)
Pulizia
Pulire l'alloggiamento dell'apparecchio solo con un panno umido.
Non utilizzare detergenti, alcohol, diluenti e simili, né le seguenti sostanje: acqua salata, insetticidi, solventi a base di cloro o acidi (ammoniaca), polvere abrasiva.
Strofinare delicatamente la superficie con un panno di cotone finché non risulta asciutta.

L'apparecchio viene alimentato con tensione pericolosa. Per eseguire i lavori di manutenzione o pulizia, scollegare l'apparecchio alla rete elettrica.
Indices
- Dotazione 8
- Descrizione dell'hardware 9
2.1. HDCC62560 9
2.2. HDCC72560 9
- Montaggio / installment 10
3.1. HDCC62560 10
3.2. HDCC72560 11
3.3. Installazione del cavo video 11
- Menu OSD. 12
1. Dotazione
HDCC62560
Telecamera Analogica Esterna HD 1080p
Alimentatore, 12 V DC/1 A (UE, UK, AU)
Dima di foratura
- Cavo combinato da 30 m
- Materiale di montaggio
- Istruzioni
HDCC72560
Telecamera Dome Analogica Esterna HD 1080p
Alimentatore, 12 V DC/1 A (UE, UK, AU)
Dima di foratura
Cavo combinato da 30m
- Materiale di montaggio
Istruzioni
2. Descrizione dell'hardware
2.1. HDCC62560

| 1 | Obiettivo 2 Aletta parasole | ||
| 3 | Supporto a parete per la telecamera | 4 | Collegamento elettrico (5,5 x 2,1 mm, spina coassiale) |
| 5 | Uscita video HD-TVI (BNC) | ||
2.2. HDCC72560

| 1 Piastra di base della telecamera 2 Telecamera | |||
| 3 Cappuccio della telecamera 4 Collegamento elettrico | (5,5 x 2,1 mm, spina coassiale) | ||
| 5 Uscita video HD-TVI (BNC) | |||
3. Montaggio / installment

ATTENZIONE!
Durante il montaggio la telecamera deve essere scollegata alla rete elettrica.
3.1. HDCC62560

Incollare la dima di foratura in dotazione nel punto in cui si desidera installare la telecamera. Trapanare i fori necessari.
Utilizzare i tasselli e le viti in dotazione per fissare la telecamera.
Orientamento:

- Orientamento: 0-360°
- Anello di fissaggio per orientamento
- Inclinazione: 0-180°
- Vite di fissaggio per inclinazione
- Rotazione: 0-360°
- Vite di fissaggio per rotazione
3.2. HDCC72560



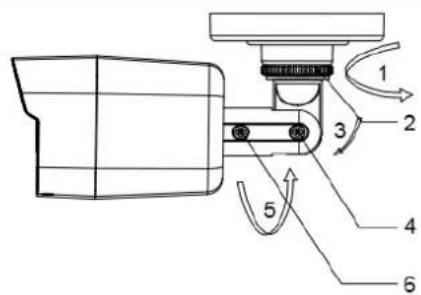
Incollare la dima di foratura in dotazione nel punto in cui si desidera installare la telecamera. Trapanare i fori necessari.
Ruotare il cappuccio della telecamera fino a quando la marcatura della piastra di base è perfettamente sovrapposta alla tacco del cappuccio (figura 1). Rimuovere la piastra di base della telecamera con un oggetto piatto (ad es. una moneta).
Utilizzare i tasselli e le viti in dotazione per fissare la piastra di base della telecamera.

Se la posa dei cavi deve essere eseguita lateralmente, non fissare completamente la piatra di base della telecamera fino a quando la telecamera e il cappuccio non saranno al loroippo.
Appoggiare la telecamera alla piatra di base e posare i cavi nel muro o lateralemente. Chiudere il cappuccio e orientare la telecamera e il cappuccio.
Orientamento:

- Rotazione: 0-360°
- Inclinatione: 0 - 75^
- Orientamento: 0-360°
3.3. Installazione del cavo video
Per trasmettere il segnale video HD-TVI della telecamera a un registraratore HD-TVI, collegare all'attacco con la dicitura "TVI" un cavo coassiale di tipo RG59 con connettore BNC (maschio). La lunghezza del cavo fino all'apparecchio successivo non deve essere superiore a 500m (RG6) o 300m (RG59).

Se i cavi vengono posati in prossimità di linee elettriche o altri materiali conduttori, è possibile che si verifichino disturbi alla trasmissione delle immagini della telecamera.
Impostazione consigliata:
utilizzare il filtro schermante TVAC25220 o TVAC25210 per minimizzare i disturbi.
4. Menu OSD
Il menu su schermo (OSD, On-Screen-Display) di但这a telecamera pue essere aperto soltanto con un dispositivo con funzioni di lavoro (registrarore, dispositivo di lavoro). Per aprire il menu OSD accedere al preset 95. Per la gestione utilizzare i tasti freccia PTZ del dispositivo e l'opzione "Iris+" per aprire, chiudere e confermare.

Il menu OSD è disponibile solo in inglese. Utilizzare per orientamento la descrizione dei punti qui sono.
L'opzione "Iris+" pouo variare a seconda del dispositorio
MENU
FORMAT Selezionare fornato video (PAL o NTFS)
LANGUAGE Selezionare lingua OSD
MAIN MENU Apire menu principale
AE Aprire impostazioni illuminazione
AWB Aprire impostazioni compensazione del bianco
DAY NIGHT Aprire impostazioni giorno/notte
VIDEO SETTING Apire impostazioni video
FUNC Aprire impostazioni di funzionamento
RESET Ripristinare telecamera alle impostazioni di fabbrica
SAVE&EXIT Salvare impostazioni e chiudere OSD
EXPOSURE (Impostazioni illuminazione)
BRIGHTNESS Impostare luminosità
EXPOSURE MODE Impostare modalità di illuminazione
GLOBAL Automatico
- BLC Compensazione del controluce
BLC LEVEL Impostare livello
WDR Wide Dynamic Range
AGC Regolazione automatica dei rinforzi
OFF Off
LOW Bassa
MIDDLE Media
HIGH Alta
SENSE UP Impostare modalita
RETURN Uscire dal menu
WB (Impostazioni compensazione del bianco)
MODE Impostare modalita
ATW Automatico
MWB Manuale
RGAIN Impostare saturazione rosso
BGAIN Impostare saturatione blu
RETURN Uscire dal menu
DAY NIGHT (Impostazioni giorno/notte)
MODE Impostare modalita
- AUTO Automatico
INFRARED Attivare/disattivare infrarossi
SMART IR Livello IR Smart
COLOR L'imagine è sempre a colori
BW L'immagine è sempre in bianco e nero
VIDEO SETTING (Impostazioni video)
CONTRAST Impostare contrasto
SHARPNESS Impostare nitidezza
COLOR GAIN Impostare saturazione
3DNR Impostare eliminazione dinamica dei rumori di fondo
MIRROR Capovolgere imagine telecamera
- DEFAULT Normale
H Orizzontale
V Verticale
HV Orizzontale verticale
FUNC (Impostazioni di funzionamento)
PRIVACY Apire mascheratura delle zone private
MOTION Aprire rilevamento del movimento
CAMID Apire impostazioni ID telecamera
DPC Attivare/disattivare correzione automatica dei pixel difettosi
RETURN Uscire alla voce di menu
PRIVACY / MOTION (Mascheratura delle zone private/rilevamento del movimento)
MODE Attivare/disattivare mascheratura delle zone private/rilevamento del movimento
AREA x Elaborare zona
DISPLAY Attivare/disattivare avvisi
X POSITION Impostare posizione asse X
Y POSITION Impostare posizione asse Y
WIDTH Impostare larghezza
HEIGHT Impostare altezza
RETURN Uscire dal menu
SENSITIVITY Impostare la sensibilità
COLOR Impostare colore
TRANSPARENCY Attivare/disattivare trasparenza
RETURN Uscire alla voce di menu
CAMID SETTING (Impostazioni ID telecamera)
MODE Attivare/disattivare avviso
CAMID Impostazioni ID telecamera
X POSITION Impostare posizione asse X
Y POSITION Impostare posizione asse Y
RETURN Uscire alla voce di menu
ManualeFacile