HDCC62560 - Security System ABUS - Free user manual and instructions
Find the device manual for free HDCC62560 ABUS in PDF.
Download the instructions for your Security System in PDF format for free! Find your manual HDCC62560 - ABUS and take your electronic device back in hand. On this page are published all the documents necessary for the use of your device. HDCC62560 by ABUS.
USER MANUAL HDCC62560 ABUS
WDR Wide Dynamic Range
You can find important information and FAQs about this and other products online at:
wwwabus.com
Version 1.0
English translation of the original German user guide.
Retain for future reference.
Introduction
Dear Customer,
Thank you for purchasing this product.
ABUS Security-Center hereby declares that the HDCC62560 and HDCC72560 cameras comply with the requirements of the following EU Directives: EMC Directive 2014/30/EU and the RoHS Directive 2011/65/EU. The full EU Declaration of Conformity text can be found at:
www.abus.com/product/HDCC62560
www.abus.com/product/HDCC72560
To ensure this condition is maintained and that safe operation is guaranteed, it is your obligation to observe this user guide.
Please read the entire user guide carefully before putting the product into operation, and pay attention to all operating instructions and safety information.
All company names and product descriptions are trademarks of the corresponding owner. All rights reserved.
If you have any questions, please contact your specialist installation contractor or specialist dealer.

Data storage is subject to national data privacy guidelines.

Disclaimer
This user guide has been produced with the greatest of care. Should you discover any omissions or inaccuracies, please contact us in writing at the address provided above.
ABUS Security-Center GmbH does not accept any liability for technical and typographical errors, and reserves the right to make changes to the product and user guides at any time and without prior warning.
ABUS Security-Center GmbH is not liable or responsible for direct or indirect damage resulting from the equipment, performance and use of this product. No guarantee is made for the contents of this document.
Explanation of symbols
|  | The triangular high voltage symbol is used to warn of the risk of injury or health hazards (e.g. caused by electric shock). |
|  | The triangular warning symbol indicates important notes in this user guide which must be observed. |
|  | This symbol indicates special tips and notes on the operation of the device. |
Lists
| 1. ...2. ... | Lists with a set order, given either in the text or warning notice. |
| • ...• ... | Lists without a set order, given either in the text or warning notice. |
Intended use
Only use the device for the purpose for which it was built and designed. Any other use is considered unintended.
Important safety information
General
Before using this device for the first time, please read the following instructions carefully and observe all warning information, even if you are familiar with the use of electronic devices.
| All guarantee claims are invalid in the event of damage caused by non-compliance with this user guide. We cannot be held liable for resulting damage. | |
| We cannot be held liable for material or personal damage caused by improper operation or non-compliance with the safety information. All guarantee claims are void in such cases. |
Retain this handbook for future reference.
If you sell or pass on the device to third parties, you must include these instructions with the device.
The following safety information and hazard notes are not only intended to protect your health, but also to protect the device from damage. Please read the following points carefully:
Power supply
- Only operate this device through a power source which supplies the mains power specified on the type plate. If you are unsure which voltage is supplied at the installation location, contact your energy provider.
- Disconnect the device from the power supply before carrying out maintenance or installation work.
- The device is only fully disconnected from the mains network when the power supply unit is removed.
- To fully disconnect the device from the mains, the mains plug must be withdrawn from the mains socket.
- In order to eliminate the risk of fire, the device's mains plug should always be disconnected from the mains socket, if the device is not being used for an extended period of time.
Overload/overvoltage
- Prior to unstable weather and/or when there is a risk of lightning strike, disconnect the device from the mains network or connect the device to a UPS.
- Avoid overloading electrical sockets, extension cables and adapters, as this can result in fire or electric shock.
Cables
Always grasp cables by the plug connector and do not pull the cable itself.
- Never grasp the power cable with wet hands, as this can cause a short circuit or electric shock.
- Do not place the device itself, items of furniture or other heavy objects on the cable and ensure that it does not become kinked, especially at the connector plug and at the connection sockets.
- Never tie a knot in the cable and do not bundle it together with other cables.
All cables should be laid so that they cannot be trodden on or cause a hazard.
- Damaged power cables can cause fire or electric shock. Check the power cable from time to time.
- Do not modify or manipulate the power cable or plug.
- Only use adapter plugs or extension cables that conform to applicable safety standards, and do not interfere with the mains or power cables.
Children
- Keep electrical devices out of reach of children. Never allow children to use electrical devices unsupervised. Children may not always properly identify possible hazards. Small parts may be fatal if swallowed.
- Keep packaging film away from children. There is a risk of suffocation.
This device is not intended for children. If used incorrectly, parts under spring tension may fly out and cause injury to children (e.g. to eyes).
Surveillance
The use of surveillance equipment may be forbidden or regulated by law in some countries.
Before using this equipment, ensure that all of your surveillance activities are completely legal.
Installation location/operating environment
Do not place any heavy objects on the device.
The device is only designed for operation in spaces with appropriate temperatures or humidity (e.g. bathrooms), or excessive accumulation of dust. Please refer to the individual devices' technical data for more detailed information.
Ensure that:
- adequate ventilation is always guaranteed (do not place the device on a shelf, thick carpet, bed or anywhere where ventilation slits may be covered. Always leave a 10cm gap on all sides)
- no direct sources of heat (e.g. radiators) can affect the device
- interior devices are not exposed to direct sunlight or strong artificial light
the device is not in the immediate vicinity of magnetic fields (e.g. loudspeakers) - no naked flames (e.g. lit candles) are placed on or next to the device
- sprayed or dripping water is prevented from coming into contact with interior devices and caustic fluids are avoided
- the device is not operated in the vicinity of water, in particular, the device should never be submerged (do not place objects containing fluids, e.g. vases or drinks, on or near the device)
- no foreign bodies penetrate the device
- the device is not exposed to wide temperature variations, as otherwise there may be condensation from humidity causing electrical short circuits
- the device is not exposed to excessive shock or vibration.
Unpacking the device
Handle the device with extreme care when unpacking it.
Packaging and packaging aids can be reused and, as far as possible, should be sent for recycling.
We recommend the following:
Paper, cardboard and corrugated cardboard as well as plastic packaging items should be placed in the appropriate recycling containers.
If no such facility exists in the area, these materials should be put into the general household waste.

Warning
If the original packaging has been damaged, inspect the device first. If the device shows signs of damage, return it in the original packaging and inform the delivery service.
Start-up
- Observe all safety and operating instructions before operating the device for the first time.
| 警告 | Warning When installing the device in an existing video surveillance system, ensure that all devices have been disconnected from the mains power circuit and low-voltage circuit. |
| 警告 | Warning Improper or unprofessional work on the mains network or domestic installations puts both you and others at risk. Connect the installations so that the mains power circuit and low-voltage circuit always run separately from each other. They should not be connected at any point or become connected as a result of a malfunction. |
Care and maintenance
Maintenance is necessary if the device has been damaged (e.g. damage to the power cable and plug, or the housing), or if liquids or foreign bodies have got into the interior of the device, or if it has been exposed to rain or damp, or if it does not work properly or has been dropped.
Maintenance
- If smoke, unusual noises or smells develop, switch the device off immediately and unplug from the socket. In such cases, the device should not be used until it has been inspected by a qualified technician.
- Have all maintenance tasks carried out by qualified technicians only.
- Never open the housing on the device or accessories unless this is necessary. As there is always a risk to life due to electric shock when the housing is open, only open the housing when the device is disconnected from the power source.
With some devices, opening the device is unavoidable and permitted for the following purposes:
- Installing the device
- Inserting a storage medium (SD card or hard drive)
- Accessing essential functions (reset button or WPS button)
Cleaning
- Only clean the device housing with a damp cloth.
- Do not use solvents, white spirit, thinners, etc., or any of the following substances: Brine, insect spray, solvents containing chlorine or acids (ammonium chloride), or scouring powder.
Rub the surface gently with a cotton cloth until it is completely dry.

The device operates with a dangerous voltage level. When conducting maintenance or cleaning work, disconnect the device from the mains.
Contents
- Scope of delivery 8
- Description of hardware 9
2.1. HDCC62560 9
2.2. HDCC72560 9
- Mounting/installation 10
3.1. HDCC62560 10
3.2. HDCC72560 11
3.3. Connecting the video cable 11
- OSD menu 12
1. Scope of delivery
HDCC62560
- Analogue HD 1080p Outdoor Camera
Power supply unit, 12 V DC/1 A (EU, UK, AU) - Drilling template
- 30 m combination cable
- Installation material
- Manual
HDCC72560
- Analogue HD 1080p Outdoor Dome Camera
Power supply unit, 12 V DC/1 A (EU, UK, AU)
Drilling template - 30 m combination cable
Installation material - Manual
2. Description of hardware
2.1. HDCC62560

| 1 Lens 2 Sun shield | ||
| 3 Camera wall bracket | 4 | Power supply connection (5.5 mm x 2.1 mm, barrel connector) |
| 5 HD-TVI video output (BNC) | ||
2.2. HDCC72560

| 1 | Camera base plate 2 Camera | ||
| 3 | Camera cap | 4 | Power supply connection (5.5 mm x 2.1 mm, barrel connector) |
| 5 | HD-TVI video output (BNC) | ||
3. Mounting/installation

IMPORTANT!
The camera must be disconnected from the power supply during installation.
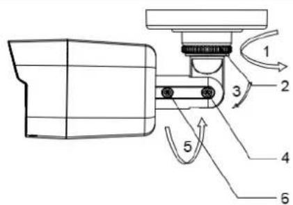
3.1. HDCC62560

Glue the drilling template provided where you intend to install the camera. Drill the required holes.
Use the wall plugs and screws provided to mount the camera in place.
Alignment

- Panning: 0-360°
- Fixing ring for panning
- Tilting: 0 - 180^
- Fixing screw for tilting
- Rotation: 0 - 360^
- Fixing screw for rotation
3.2. HDCC72560



Glue the drilling template provided where you intend to install the camera. Drill the required holes. Twist the camera cap until the mark on the camera base plate and the groove of the camera cap are aligned (see image 1). Remove the camera base plate using a flat object (e.g. a coin). Use the wall plugs and screws provided to mount the camera base plate in place.

If the cable is to be routed through the side, do not fully mount the camera base plate until the camera and the camera cap are in their place.
Place the camera on the camera base plate and lay the cable through the wall or side. Clip the camera cap on and align the camera and camera cap.
Alignment

- Rotation: 0 - 360^
- Tilting: 0 - 75^
- Panning: 0-360°
3.3. Connecting the video cable
In order to transmit the HD-TVI video signal from the camera to an HD-TVI recorder, an RG59 type coaxial cable with BNC connector (male) must be connected to the connection labelled 'TVI'. The cable length to the next device must not exceed 500m (RG6) or 300m (RG59).

Please note that the camera's image transmission may be disrupted when laying cable next to power lines or other conducting materials.
Recommendation:
Use TVAC25220 or TVAC25210 suppressor filters to minimise disruptions.
4. OSD menu
This camera's on-screen display (OSD) can only be opened by a device with control capabilities (recorder, control panel). To open the OSD menu, call up preset 95. To navigate, use the device's PTZ arrow keys and the menu option 'Iris+' to open, exit and confirm.

The OSD menu is only available in English. Please familiarise yourself with the description of the points below.
The Iris+ option may differ for each device.
MENU
FORMAT Choose video format (PAL or NTFS)
LANGUAGE Choose OSD language
MAIN MENU Open main menu
SET UP (Main menu)
AE Open exposure settings
AWB Open white balance settings
DAY NIGHT Open day/night settings
VIDEO SETTING Open video settings
FUNC Open function settings
RESET Reset camera to factory settings
SAVE&EXIT Save settings and exit the OSD
EXPOSURE (Exposure settings)
BRIGHTNESS Set brightness
EXPOSURE MODE Set exposure mode
GLOBAL Automatic
- BLC Backlight compensation
BLC LEVEL Set level
WDR Wide dynamic range
AGC Automatic gain control
OFF Off
LOW Low
MIDDLE Medium
HIGH High
SENSE UP SENSE UP
Set exposure time
RETURN Exit menu
WB (White balance settings)
MODE Set mode
ATW Automatic
- MWB Manual
RGAIN Set red gain
BGAIN Set blue gain
RETURN Exit menu
DAY NIGHT (Day/night settings)
MODE Set mode
- AUTO Automatic
INFRARED Enable/disable infrared
SMART IR Smart IR level
- COLOR Always colour image
- BW Always black/white image
VIDEO SETTING (Video settings)
CONTRAST Set contrast
SHARPNESS Set sharpness
COLOR GAIN Set colour gain
3DNR Set dynamic noise reduction
MIRROR Mirror camera image
- DEFAULT Normal
H Horizontal
V Vertical
HV Horizontal and vertical
FUNC (Function settings)
PRIVACY Open privacy masking
MOTION Open motion detection
CAMID Open camera ID settings
DPC Enable/disable automatic correction of defective pixels
RETURN Exit menu option
PRIVACY/MOTION (Privacy masking/motion detection)
MODE Enable/disable privacy masking/motion detection
AREA x Edit zone
DISPLAY Enable/disable display
X POSITION Set X-axis position
- Y POSITION Set Y-axis position
WIDTH Set width
HEIGHT Set height
RETURN Exit menu
SENSITIVITY Set sensitivity
COLOR Set colour
TRANSPARENCY Enable/disable transparency
RETURN Exit menu option
CAMID SETTING (Camera ID settings)
MODE Enable/disable display
CAMID Set camera ID
X POSITION Set X-axis position
Y POSITION Set Y-axis position
RETURN Exit menu option
HDCC62560/HDCC72560
Chere cliente, cher client,
Surcharge/Surtension
- Montage/Installation 10
3.1. HDCC62560 10
3.2. HDCC72560 11
3.3. Installation du cable video 11
3. Montage/Installation

ATTENTION!
SET UP (Menu principal)
WDR Wide Dynamic Range
WDR Wide Dynamic Range
AGC Automatische versterkingsregeling
- Montering / installation 10
3.1. HDCC62560 10
3.2. HDCC72560 11
3.3. Placering af videokablet 11
4.OSD-menu 12
1. Indhold i kassen
HDCC62560
3. Monitoring / installation

EasyManual