S097 - Vacuümverpakkingsmachines BUFFALO - Gratis gebruiksaanwijzing en handleiding
Vind de handleiding van het apparaat gratis S097 BUFFALO in PDF-formaat.
Veelgestelde vragen - S097 BUFFALO
Gebruikersvragen over S097 BUFFALO
0 vraag over dit apparaat. Beantwoord die u kent of stel uw eigen vraag.
Stel een nieuwe vraag over dit apparaat
Download de handleiding voor uw Vacuümverpakkingsmachines in PDF-formaat gratis! Vind uw handleiding S097 - BUFFALO en neem uw elektronisch apparaat weer in handen. Op deze pagina staan alle documenten die nodig zijn voor het gebruik van uw apparaat. S097 van het merk BUFFALO.
GEBRUIKSAANWIJZING S097 BUFFALO
Locatie van alle onderdelen 7
Bediening 7
Voedsel sealen 7
Vacuüm niveau wizzigen 8
Uitschakeling bij oververhitting 8
Reiniging, zorg & onderhoud 8
Verwijderen van de vacuumkamer 9
Terugplaatsen van de vacuumkamer 9
Oplossen van problemen 9
Technische specificaties 1
Elektrische bedrading
Productconformiteit.
FR Sommaire
- Plaatsen op een vlakke en stabiele ondergrond.
- De installmente en eventuele reparations zijn door een servicetechnicus/vaktechnicus uit te voeren. Verwijder geen componenten of servicepanelen van dit product.
- Raadpleeg en volg deplaatslije en nationale regelgeving op m.b.t. tot het volgende:
Wetgeving van gezondheid en veiligheid op de werkplaats
Werkregels
Brandpreventie
- IEE bekabelingsnormen
Bouwyerordeningen
- Sealbalkijdens werking NIET aanraken.
- Steker nicht gebruiken om de machine uit te schakelen;.altijd de Stop/Start- of Aan/Uit-schakelaar gebruiken.
- Gebruik dit apparaat uitsluitend voor het bestemde gebruik.
- Laat verpakkingsmaterialienietbinnenhandbereik van kinderen.Verpakkingsmaterialiaiovvereenstemming met de regelgeving van deplaatselijke overheden als afval lately verwerken.
- Indien de stroomkabel beschadigd raakt, dient men dazu door een BUFFALO technicus of aanbevo yaktechnicus te latentervangen om gevaarlijke situations te verhinderen.
Inleiding
Neem deijd en lees deze handleiding aandachtig door. Een correct gebruik en onderhoud van.dequeue machine waarborgt de Beste prestatie van uw BUFFALO product.
Verpakkingsinhoud
De verpakking bevat het volgende:
- BUFFALO Vacuümverpakkingsmachine
- Reserve onderste sealpakking
- 20 × seal yoedselzakken (200 mm x 300 mm)
- Handleiding
BUFFALO is trots op dehaar productkwaliteit en Dienstverlening en controllerer de inhoud van de verpakkingen,ijdens de verpakkingsfase, op functionaliteit en schade.
Mocht u product door transport+zijn beschadigd,neem dan onmiddelijk contact op met uw BUFFALO dealer.
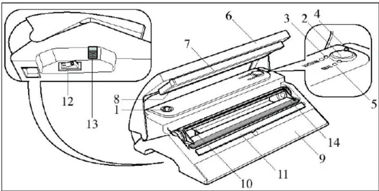
Locatie van alle onderdelen

- Stop/Startknop
- Vacuumknop
- Vacuumlampje
- Stroomlampje
- Seallampje
- Deksel
-
Sealpakking
-
Bovenste pakking
- Kabelbehuzing
- Verwijderbare vacuümkamer
II. Sealbalk - Aan/Uit-schakelaar
- Kamer ontgrendelingshendel
- Onderste sealpakking
Bediening

OPMERKING: DIT APPARAAT IS ONTWORPEN VOOR GEBRUIK MET DE BIJGELEVERDE ZAKKEN. ZAKKEN VAN ANDERE FABRIKANTEN KUNNEN MOGELIJKERWIJZE NIET CORRECT WORDEN GEDICT.
VOOR GESCHIKTE SEALZAKKEN NEEMT U CONTACT OP MET UW LEVERANCIER VAN DE VACUUMVERPAKKINGSMACHINE.
Voedsel sealen
- Plaats het voedsel in de zak.

Opmerking: de zak dient 8 cm longer te waar dan het voedsel dat gesealed moet worden.
- Verwijder eventuele vloeistof en voedselresten uit de zak.
- Plaats het open uiteinde in de vacuümkamer. Druk het uiteinde van de zak gegen de plaat in de vacuümkamer.

- Sluit het deksel gedurende enkele seconden; hiermee wordt het sealproces gestart. Het gele vacuumlampje knippert.
- Tijdens het sealen van de zak knippert het seallampje.
- Na het sealen van de zak gaan beiden lampjesuit.
- Met de zak nog steeds op zijnplaats drukt u op de vacuümknop om de luchtuit de zak te zuigen.
- Hierna klapt u de deksen el open en verwijdert u de zak.
Opmerking: indien u de machine tijdens\ deze procedure要去 stoppen, druk dan op de STOP-knop en verwolgens op de vacuumknop.
- Controller de dichting van de zak. Bij een luchtdichte aflsuiting dient men een platte sealstreep over de volledige lenghte van de zakopening te zien. Een verkreukte sealstreep kan een indicatie zichn van een slechte dichting.
Vacuümniveau wijzigen
Men kan het vacuüm niveau op elk moment gedurende het vacuümproces wijzigen.


Terwijl de lucht worden wegbezogen, en het vacuumlampje knippert:
- Druk op het gewenste vacuümniveau op de stopknop.
- Het seallampjeGaat aan en de machine dicht de verpakking.
- Nadat bye lampjes uit zich gaan, opent u de deksel en verwijdert de zak.
Uitschakeling bij oververhitting
Het apparaat is voorzien van een veiligheidsuitschakeling die de machine uitschakelt wanner de veilige werktemperaturen worden overschreden.
Bij een uitschakeling door oververhitting, open de deksel en LAST de machine gedurende circa 30 minutes afkoelen.
Reiniging, zorg & onderhoud
- Gebruik warm zeepwater en een vochtige doek om de buitenkant en onderdelen van het apparaat te reinigen.
- Na reingiring goed drogen.
Eventuele reparations moeten door een BUFFALO vertegenvoordiger of een vaktechnicus worden uitgevoerd. - De verwijderbare vacuümkamer grondig spoelen onder stromend water.


WAARSCHUWING:Thatijdensreinigingniettoedaterwaterinhetappaat binnendringt.
Verwijdersen van de vacuümkamer
I. Trek aan de ontgrendelingshendel van de vacuumkamer.
2. Til de vacuümkamer op en verwijder deze uit het apparaat.

Terugplaatsen van de vacuümkamer
- Plaats het rechte uiteinde van de vacuümkamer in de inkeping.
- Controller of de aanzuigkop (A) goed op de vacuumkamer aansluit en dat de plaatsingsknop (B) goed op zichnplaats zit.
- Druk de linkerzijde van de vacuümkameraar beneden totdat de ontgrendelingshendel op+zijn plaats klikt.

Oplossen van problemen
| Probleem Mogelijk | oorzaak Handeling | |
| Het apparaat werkstiet het apparaat staat uith Controller of de stroomkabel van het apparaat is aangesloten en of het apparaat is ingeschakeld | ||
| Steker en kabel zich beschadigd | Laat een BUFFALO technicus of eenvaktechnicus komen | |
| De zekering in de steker is gesprongen | Vervang de zekering in de steker | |
| Stroomvoorziening Controller de stroomvoorziening | ||
| Storing interne bedrading Laat een BUFFALO technicus of eenvaktechnicus komen | ||
| De lucht in de zak worden nicht volledig wegbezogen | Open uiteinde van de zak Niet volledig in de kamer geplaatst | Open het deksel enplaats de zak op de juiste wijze |
| Pakkingen zich vuil Pakkingen reinigen | ||
| Open uiteinde van de zak is vuil | Zak reinigen | |
| Het kan zich dat de zak een gaatje heeft | Voer de zak met papieren doekjes omdeze gegen de scherpe randen van voedsel te beschermen | |
| Vervang de zak | ||
| De lucht in de zak worden nicht volledig wegbezogen | Er worden zakken gezrukt die nied geschikt zich | Neem contact op met uw leverancier van de vacuümverpakkingsmachine |
| Zakken worden nicht correct gedicht | De sealbalk is oververhit Open het deksel en LAST de sealbalk afkoelen | |
| Er worden zakken gezrukt die nied geschikt zich | Neem contact op met uw leverancier van de vacuümverpakkingsmachine | |
Technische specificaties
| Model | Voltage Vermögen Stroom | Vacuümdruk (ca.) | Afmetingen h x b x d mm | Gewicht (kg) | ||
| S097 | 230V 50Hz 350W | 1,5A -0.8 bar | 90 x 380 | x 240 3 | ||
Elektrische bedrading
Men dient de steker op een geschikt stopcontact aan te sluiten.
De bedrading van dit apparatus is als volgt:
- Stroomkabel (bruin) maar de aansluitklem gemarkeerd met L
- Neutraalkabel (blauw) maar de aansluitklem gemarkeerd met N
- Aardekabel (groen/geel) maar de aansluitklem gemarkeerd met E
Dit apparaat moet worden geaard met behulp van een adequaat aardingscircuit.
Bij twijfels raadpleeg een vakkundige elektricien.
De elektrische isolatiepunterogen Niet worden geblokkeerd. In geval van eenooduitschakeling要去en de isolatiepunter direct toegankelijk zijn.
Productconformiteit
Het WEEE-logo op dit product of bijbehorende documentationie geeft aan dat het product Niet onder huisvuil valt en als zodanig ook nicht mag worden verwerkt. Ter preventie van möglichke bevaren voor de gezondheid van personen en/of voor het milieu, dient men dit product in overeenstemming met het voorgeschreven en milieuveilige recyclingproces als afval te verwerken. Raadpleeg uw productleverancier of uwplaatselijk afvalverwerkingsbedrijf voor meer informatie over de juiste afvalverwerking van dit product.
De onderdelen van BUFFALO producten haben strenge producttesten ondergaan om te voldoen aan wettelijk regels en specificaties die door internationale, onafhankelijk en landelijk overheden worden voorgeschreven.
BUFFALO producten zijn goedgekeurd en voorzien van het volgende symbol:


Alle rechten voorbehonden. Het is verboden om deze handleiding, hetzij volledig of gedeeltelijk, elektronisch of mechanisch te reproduceren, kopieren, op opslagmedia op te slaan of op enigerlei wijze over te dragen, zonder voorafgaande goedkeuring van BUFFALO.
Wij hebben er alles aan gedaan om er zeker van te zich dat op publicatiedatum van de handleiding alle details correct zich, desondanks, behoudt BUFFALO hetrecht voor om specificaties zonder aankondiging te wijzigen.
Application of Council Directives(s) • Toepassing van Europese Richtlijn(en) •
Application de la / des directive(s) du Conseil: Anwendbare EU-Richtlinie(n)
Ik, de ondergetekende, verklair hierbij dat de hierboven gespecifieerde uitrusting goedgekeurd is volgens de bovenstaande Richtlijn(en) en Standaard(en).
SimpelGids