WKL 1003 - Verwarming AEG - Gratis gebruiksaanwijzing en handleiding
Vind de handleiding van het apparaat gratis WKL 1003 AEG in PDF-formaat.
Download de handleiding voor uw Verwarming in PDF-formaat gratis! Vind uw handleiding WKL 1003 - AEG en neem uw elektronisch apparaat weer in handen. Op deze pagina staan alle documenten die nodig zijn voor het gebruik van uw apparaat. WKL 1003 van het merk AEG.
GEBRUIKSAANWIJZING WKL 1003 AEG
Gebruiks- en Montagehandleiding
Convector mural
Nederlandbladzijde 22-27 1.Gebruiksaanwijzing 22-24
1.1 Toestelbeschrijving
1.2 Bediening
1.3 Veiligheidsaanwijzingen
1.4 Verzorging en onderhoud Wat te doe nals...? 24
- Montageaanwijzing 25-26
2.1 Opbouw van het toestel Technische gegevens 25
2.2 Voorschriften en bepalingen
2.3 Montage
2.4 Elektrische aansluiting
2.5 Overdracht
Garantie 27
Milieu en recycling 27
Table of contents
1. Gebruiksaanwijzing

Het gebruik van elektrische apparaten dient als je gaan met de nodige voorzichtigheid, om een möglichk ris-sico van brand, elektrische schokken of letsel uit te sluiten. Daarom mag het toestel uitsluitend worden gebruikt zoals beschreiben in deze gebruiksaanwijzing. leder gebruik dat afwijk van de aanbevelingen van de fabrikant kan schade of letsel veroorzaken.
De juiste afstemming:tussen de warmtebehoefte in de ruimte en de verwarmingscapaciteit van het toestel dient in acht te worden genomen.
Vór het gebruik van het toestel dient de volledige gebru-iksaanwijzing te worden gelezen en de hierin opgenomen aanwijzingen betreffende de juiste omgang met het toestel in acht te worden genomen.
Deze gebruiksaanwijzing dient zorgvuldig te worden bewaard en aan een eventuele neue eigenaar te worden overhandigd. Bij eventuele reparatiewerkzaamheden dient een installateur te worden geraadpleegd.
1.1 Toestelbeschrijying
De WKL is een elektrisch-direct verwarmingstoestel dat uitsluitend is bestemd voor wandmontage. Het is bijvoorbeeld geschikt als complete verwarming in badkamers of als overgangsverwarming voor Kleinere ruimten zoals hobbykamers en logeerkamers.
Serie WKL-S
Na bevestiging aan de wand en elektrische aansluiting door middel van een netsaansluitleiding is het toestel maar voor gebruik.
Serie WKL-U
Na bevestiging aan de wand en elektrische aansluiting door middel van een vaste aansluiting via een wisselstroomnet (landelijk voorschriften in acht nemen) is het toestel maar voor gebruik.
Werking van het toestel
De lucht in de convector worden door een verwarmingselement verwarmd en stroom door de natuurlijke convectie via het luchtuitlaatrooster (4) maar buiten. Door de openings aan de onderzijde van het toestel stroomt koele lucht maar binnen.
Veiligheidsvoorziening
De convector is voorzien van een veiligheidstemperatuurregelaar (STR), die het toestel bij oververhitting uitschakelt. Nadat de oorzaak (bijv. afgedekt luchtuitlaat- of luchtinlaatrooster) is verholpen, worden het toestel na een afkoelingstijd van enkele minuteseer in bedrijf gesteld.
1.2 Bediening
Via schakelaar (1) aan de rechtzerijde van het toestel kan de convector worden in- of uitgeschakeld. De gewenste ruimtetelematuur kan met de temperatuurkeuzeknop (2) traploos worden ingesteld tussen ca. +6^ en ca. +30^ . Zodra de ingestelde ruimtetelematuur is bereikt, worden deze door herhaaldelijk verwarmen constant op de ingestelde waarde gehouden (de verwarmingscapaciteit van het toestel要去 hierbij ten minste overeenkomen met de warmtebehoefte in de ruimte).
Wanner Meerere verwarmingtoestellen in een ruimte aanwezig zijn, kan de instelling via de temperatuurkeuzeknop voor elk toestel verschillend zijn. Om bij een geopend venster een te hoog stroomverbruik te voorkomen,要去 het toestel gedurende het ventileren via schakelaar (1) worden uitgeschakeld.
Vorstbeveiliging
Wanner het toestel in de vorstvrij-stand moet worden gebruikt, dient de temperatuurkeuzeknop (2) volledig maar rechts () te worden gedraaid. In deze stand schakelt de temperatuurregelaar de verwarming automatisch in wanner de ruimtetemperatuur zakt tot ca. 6^ .
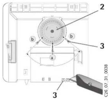
Begrenzing van de temperatuurregelaar
Met de beiden pennen (3) aan de achterzijde van het schakelhuis kan de temperatuurregelaar in een bepaalde instelling worden vastgezet of kan het temperatuurinstelbereik worden begrensd.
Voor het vastzetten op een gewenste temperatuur dient stift a in het tegenoverliggende gat te worden gestoken.
Bij een begrenzing van het temperatuurinstelbereik moeten de minimum- en maximumwaarde via de keuzeknop worden ingesteld en telkens door hetplaatsen van stift b in een enigszins excentrische geplaatst gegenoverliggend gat worden gemarkeerd.

1.2.1 Externe ruimtetemperatuurregelaar
Het toestel kan desgewenst met een in de handel verkrijgbare externe ruimtetelemperatuurregelaar worden bediend. Hierbij要去 de temperatuurkeuzeknop (2) volledig maar rechts (MAX) worden gedraaid. De ruimtetelemperatuurregelaar要去 zo ver möglichk van het toestel en op een hoogte van ten minste1,5 m worden aangebracht.
1.2.2 Buiten bedrijf stellen
Voor het buiten bedrijf stellen van het toestel moet de schakelaar in de stand UIT worden gezet en moet het netsnoeruit de wandcontactdoos worden verwijderd (stekker Niet aan de kabel uit de contactdoos trekken).
1.3 Veiligheidsaanwijzingen

Het toestel mag nicht worden gebruikt:
- in ruimten die als gezolg van de aanwezigheid van chemicaliën, stof, gassen of dampen brand- of explosiegevaarlijk zich;
- in de onmiddelijkne nabijheid van leidingen of opslagvoorzieningen die brandbare of explosieve stoffen voeren of bevatten;
-
wonneer de minimumafstanden tot aangrenzende objectoppervlakken nicht in acht worden genomen.
-
De montage (elektrische installment) alsmede de eerste inbedrijfname en het onderhoud van dit toestel mogen uitsluitend door een erkend installeur overeenkomstig deze gebruiksaanwijzing worden uitgevoerd.
- Het toestel mag in geen geval worden gezrukt wanner in de opstelruimte werkzaamheden zoals het aanbrengen, slijpen, verzegelen, reinigen met benzine en onderhoud (spray, boenwas) van vloeren en dergelijk worden uitgevoerd.
- Het oppervlak van de toestelbehuizing en de uitstromende lucht wordenijdens het gebruik heb (meer dan 80^ ).
Er is verbrandingsgevaar!
Houdkleine kinderenuitdebuurtvanhetoestel!
Erogenen voorwerpen op het toestel worden gelegd, er tegenaan worden geplaatst of tussen het verwarmingstoestel en de wand worden aangebracht (bijv. voor het drogen van was). Ookogen in de onmiddelijkke omgeving van het toestel geen brandbare, ontvlambare of warmte-isolerende voorwerpen of stoffen, zoals was, sekens, tjdschriften, blinkken met boenwas of benzine, spuitbussen etc. worden gelegd. Ontbrandingsgevaar!

Om oververhitting van het verwarmingstoestel te voorkomen, mag het toestel Niet worden afgedekt.
A Voor diverse soorten voorwerpen, bijv. meubels, gordijnen en textiel of andere brandbare of nichtbrandbare materialen moeten de volgende minimumafstanden tot het toestel in acht worden genomen: tot het ...
luchtuitlaatrooster 500mm zijkanten van het toestel 100mm bovenzijde van het toestel 150mm onderzijde van het toestel 100mm achterwand van het toestel 26mm
De warme lucht要去chinderd kunnu uitstromen!
- Het toestel mag Niet als standverwarming worden gebruikt.
- Niet op het toestel gaan staan!
- Er mogen geen wijzigingen aan het toestel worden aangebracht.
- Het toestel mag nooit zonder toezicht in bedrijf worden gelaten.
Bij gebruik van het toestel in aanwezigheid van kinderen, gehandicabte personen of dieren moet extra voorzichtig worden gehandeld. Kans op letsel!
Wanneer een onderdeel van het toestel beschadigd is, het toestel geallen is of als er spreke is van een storing, mag het toestel Niet in bedrijf worden genomen.
Wanneer de aansluitkabel van dit toestel beschadigd worden, dient deze door de fabrikant, zich technische Dienst of een gekwalificeerde persoon verrangen worden. Dit om gevaarlijke situatuies te voorkomen.
1.4 Verzorging en onderhoud
Wanner enigszins bruine verkleuringen op de behuizing van het toestel zichtaar worden, dienen deze zo snel möglichk met een vochtige doek en heet water met zeepsop te worden verwijderd. Het toestel dient in koude toestand met de gebruikelijke middelen te worden gereinigd. Schuurmiddelen en bijtende reinigingsmiddelen dienen te worden vermeden. Er mag geen vocht het toestel binnendringen. Er mag geen reinigingsspray in de luchtspleten worden gespoten. Bij regelmatig onderhoud adviseren wij ook de controle- en regelvoorzieningen te lately controlleren. Uiterlijk 10aar na de eerste inbedrijfname moeten veiligheids-, controle- en regelvoorzieningen door de installmenter worden gecontroleerd.
Wat te doen als...?
- het toestel nicht warm wordt?
Controleer of...
. de AAN/UIT-schakelaar is ingeschakeld.
. in uw zekeringskast de desbeteffende zekering is ingeschakeld en of de installmentie automaat is ge deactivatederd.
Hef de oorzaak op!
Mocht het verwarmingstoestel daarna nog Niet warm worden, dient u een installmenteur te raadplegen!
- het toestel vanzelf uitschakelt?
Controleer of het toestel is afgedekt, zodat oververhitting kan worden veroorzaakt (bijv. afgedekt luchtuiitlaat- of luchtinlaatrooster). Hef de oorzaak op! Mocht het toestel na een afkoelingstijd van enkele minutes nog Niet warm worden, dient u een installmenter te raadplegen!
- contact moet worden opgenomen met de storingsdienst?
Lees het type (Typ) en het nummer (Nr.) af van het typeplaatje (8) op het toestel en geef deze door aan de servicedienst!
AEG
Typ:WKL....
E-Nr: F-Nr:
2. Montageaanwijzing
Opstelling en elektrische aansluiting dienen door een installment met inachtneming van deze montageaanwijzing te worden uitgevoerd. Haal het toestel en eventuele toebehoren pas in de opstellingsruimteuit de verpakking. Let hierbij op de verpakkingsbijlage!
Let er bij het uitpakken op dat er geen toebehoren in het verpakkingsmaterialial achterblijven.
2.1 Opbouw van het toestel
4 Warmeluchtuitlaatrooster
5 Wandhouser
6 Aanslagbout
7 Netsnoer
8 Typeplaatje
Technische gegevens
| Type | WKL 503 SWK 753 SWK 1003 SWK 1503 SWK 2003 SWK 2503 SWK 3003 SWK 3503 SWK 4003 SWK 4503 SWK 503 SWK 503 U WKL 753 U WKL 1003 U WKL 1503 U WKL 2003 U WKL 2503 U WKL 3003 U | |||||||
| Hoopte mm 450 | ||||||||
| Brecde mm 370 445 | 445 590 740 890 | 1040 | ||||||
| Diepte met wandhouser | mm | 78100 | ||||||
| Maat A mm 121 195 | 95 34 | 3 491 639 | 787 | |||||
| Gewicht kg 4,0 4,6 4,6 | 6,0 7 | 2 8,4 9,9 | ||||||
| Aansluiting | 1/N ~ 230 V | |||||||
| Vermogen | kW | 0,5 | 0,75 | 1,0 | 1,5 | 2,0 | 2,5 | 3,0 |
| Temperatuur-instelbereik | °C | ca. 6 tot 30 | ||||||
| Vorstbeveiliging | °C | ca. 6 | ||||||
| Beschermingsklasse | II | |||||||
| Veiligheidsnorm | IP 24, spatwaterdicht | |||||||
| Goedkeuringen | zie typeplaatje op toestel | |||||||
2.2 Voorschriften en bepalingen

Het toestel mag nicht worden gebruikt:
- in ruimten die als gevolg van de aanwezigheid van chemicaliën, stof, gassen of dampen brand- of explosiegevaarlijkঃ;
- in de onmiddelijkne nabijheid van leidingen of opslagvoorzieningen die brandbare of explosieve stoffen voeren of bevatten;
- wonneer de minimumafstanden tot aangrenzende objectoppervlakken nicht in ache worden genomen.
In werkplaatsen of andere ruimten waar verbrandingsgassen, olie- of benzinegeur etc. optreden of waar met oplosmiddelen of chemicalien worden gewerkt, hunnen langdurige stankoverlast en eventuele verontreiniging optreden.
- Het toestel mag uitsluitend worden aangebracht op een verticale wand die tot ten minste 80^ temperatuurbestendig is.
- Minimumafstanden tot aangrenzende objectoppervlakken dienen in ache te worden gehonden.
Alle elektrische aansluit- en installmentenkzaamheden dienen te worden uitgevoerd conform de VDE-bepalingen (0100), de voorschriften van het verantwoordelijkke energiebedrijf, alsmede de desbetreffende landelijkke en regionale voorschriften. -
Het toestel mag Niet onmiddelijk onder een wandcontactdoos worden aangebracht.
-
Wanner het toestel vast aan het wisselstroomnet moet worden aangesloten, moet het met een contact afstand van ten minste 3mm doppelpolig van het net+kunnen worden losgekoppeld. Hiertoe+kunnen relais,installatie automaat,zekeringen etc. worden gebruikt. Installatie via een vast aangebrachte aansluitkabel is Niet toegestaan.
- Het typeplaatje van het toestel moet in acht genomen worden! De aangegeven spanning moet met de netspanning overeenkomen.
Bij de installmentie van het verwarmingstoestel in ruimten met badkuip en/of douche moet de beveiliging worden uitgevoerd conform VDE 0100 deel 701, in overeenstemming met de gegevens op het typeplaatje van het toestel. - Het toestel要去 zadanig worden aangebrachte, dat schakel- en regelvoorzieningen nicht kuren worden aangeraakt door een persoon die zich in de badkuip of onder de douche bevindt.
- De netaansluitleiding mag uitsluitend door een installment worden verrangen door originele reserveonderdelen.
2.3 Montage
2.3.1 Montage van de wandhouser B
De wandhouser kan ook als montagemal worden gebruikt en zorgt hierbij voor de nodige afstand tot de vloer. Om het toestel te bevestigen, gaat u als volgt te werk:
- 1 Plaats de op het middelpunt gerichte wandhouser (5) horizontally op de vloer, en markeer de met aen b aangeduide boringen op de montagewand;
II Til de wandhouser omhoog, zodat de boringen b in de wandhouser zich ter hoogte van de zojuist aangebrachte markeringen op de montagewand bevinden; - Markeer boringen c en d van de wandhouser op de montagewand;
Boor gaten bij alle vier de markingsen en bevestig de wandhouder met geschikte bevestigingsmaterialen afhankelijk van het type wand (schroeven, pluggen). Met behulp van de verticale langgaten kan de wandhouder worden teruggeplaatst wonneer het geheel tijdens het boren verschuift.
2.3.2 Toestelmontage C
De convector dient met de bevestigingsgleuven aan de awhile van het toestel tegelijkkertijd op de vier strips van de wandhouser te worden gehangen en ter vergrendeling te worden aangedrukt. Daarna dient de aanslagbout (6) van de wandhouser rechtsom tot aan de aanslag te worden gedraaid, zodat de bevestiging worden geborgd.
Om de convector te demonteren要去 het toestel na het losdraaien van de aanslagbout enigszins worden opgetild enervoigens maar voren toe van de houder worden afgenomen.
2.4 Elektrische aansluiting
Het toestel mag uitsluitend worden aangesloten op wisselstroom 230 V.
Voor de aansluiting moet op een afstand van ten minste 10cm van de zijkant van het verwarmingstoestel een wandcontactdoos worden aangebracht.
2.5 Overdracht
Leg de gebruiker de functies van het toestel uit. Wijs met name op de veiligheidsaanwijzingen. Overhandig de gebruiks- en montageaanwijzing aan de gebruiker.
3. Garantie
Aanspraak op garantie bestaat uitsluitend in het land waar het toestel gekocht is.
U dient zich te wenden tot de vestiging van AEG of de importeur hiervan in het betreffende land.

De montage, de electrische installment, het onderhoud en de eerste inbedrijfname mag uitsluitend worden uitgevoerd door gekwalificeerd personeel.
De fabrikant is nicht aansprakelijk voor defecte toestellen, welke Niet volgens de bijgeleverde gebruiks -en montageaanwijzing zijn aangesloten of worden gebruikt.
3.1 Milieu en recycling
Recycling van oude toestellen

Toestellen met dit kenmerk horen nicht thus in de vuilnisbak en+zijn apart in te zamelen en te recyclen.
De recycling van oude toestellen要去 steeds vakkundig en volgens de terplaatse geldende voorschriften en wetgeving plaats vinden.
Stiebel Eltron Nederland b.v.
Divisie AEG Home Comfort
Daviottenweg 36, Postbus 2020
5202 CA's Hertogenbosch
Tel. 073-6230000
Fax 073-6231141
Österreich
Stiebel Eltron Ges. m.b.H.
EferdingerStr.73
4600 Wels
Tel. 07242-47367-0
Fax 07242-47367-42
Polska
Stiebel Eltron Polska Sp. z o.o.
ul. Instalatorów 9
02-237 Warszawa
Tel. 022-8464820
Fax 022-8466703
Schweiz
EHT Haustechnik AG
Industriestrasse 10
5506 Mägenwill
Tel. 062-8899214
Fax 062-8899126
SimpelGids