WKL 1003 - Chauffage AEG - Notice d'utilisation et mode d'emploi gratuit
Retrouvez gratuitement la notice de l'appareil WKL 1003 AEG au format PDF.
| Caractéristiques techniques | Chauffage électrique, puissance 1000W, thermostat réglable |
|---|---|
| Utilisation | Idéal pour les petites pièces, facile à déplacer |
| Maintenance et réparation | Nettoyage régulier recommandé, vérifier les câbles d'alimentation |
| Sécurité | Protection contre la surchauffe, grille de protection |
| Informations générales | Garantie de 2 ans, consommation énergétique à prendre en compte |
FOIRE AUX QUESTIONS - WKL 1003 AEG
Questions des utilisateurs sur WKL 1003 AEG
0 question sur cet appareil. Repondez a celles que vous connaissez ou posez la votre.
Poser une nouvelle question sur cet appareil
Téléchargez la notice de votre Chauffage au format PDF gratuitement ! Retrouvez votre notice WKL 1003 - AEG et reprennez votre appareil électronique en main. Sur cette page sont publiés tous les documents nécessaires à l'utilisation de votre appareil WKL 1003 de la marque AEG.
MODE D'EMPLOI WKL 1003 AEG
Notice d'utilisation et de montage
Wand-convector
- Notice d'utilisation 16-18
1.1 Description de l'appareil
1.2 Fonctionnement
1.3 Consignes de sécurité
1.4 Entretien et maintenance
Que faire quand . . .? 18
- Instructions de montage 19 - 20
2.1 Composition de l'appareil
Caracteristique techniques 19
2.2 Normes et specifications
2.3 Montage
2.4 Raccordement electrique
2.5 Remise de l'appareil
Garantie 21
Environment et recyclage 21
Obsah
Cesky strana 34-39
1. Notice d'utilisation

L'utilisation d'appareils électriques doit, bien entendu, faire l'objet de la prudence qui s'impose afin d'exclure tout risque potentiel d'accidie, d'électrocution ou de blessure. C'est pourquoi l'appareil peut uniquement s'utiliser conformément à la présente notice. Toute utilisation non conforme aux recommendations du fabricant risque d'entrainer des dommages ou blessures.
L'utilisateur doit veiller à coordonnner les besoin en chaleur dans la piece et la capacité de chauffe de l'appareil. Avant utilise, il convient de dire toutes les instructions et de suivre les consignes qu'elles contiennent en vue d'une'utilisation appropriée de l'appareil.
Conserver soigneusement la notice d'utilisation et la remetre au propriétaire suivant en cas de changement de propriétaire. En cas de travaux d'entretien eventuels, la remetre également au technicien.
1.1 Description de l'appareil
Le WKL est un apparéil à chauffage électricque direct destiné uniquement à un montage mural. Il convient, par exemple, au chauffage principal dans une salle de bain ou de chauffage d'appoint pour des petites pieces, par exemple des salles de loisirs ou chambres d'amis.
Serie WKL-S
Après fixation murale et raccordement électrique au moyen d'une fiche secteur à insérer dans une prise de courant, l'appareil est prét à l'utilisation.
Serie WKL-U
Après fixation murale et raccordement électrique au moyen d'un raccordement mural (respecter les consignes nationales en vigueur!), l'appareil est pré à l'utilisation).
Fonctionnement de l'appareil
L'air present dans le convecteur est chauffé par un corps de chauffe et ressort par convection naturelle par la grille de sortie d'air (4) située dans la partie supérieure de l'appareil. L'air ambiant frais PENETRE dans l'appareil par les ouvertures situées dans la partie inférieure de l'appareil.
Dispositif de sécurité
Le convecteur est doté d'un régulateur de température de protection (STR) qui étèint l'appareil en cas de surchauffe. ÀpRES avoir endigué la cause du problème (p.ex. les ouvertures de sortie ou d'entrée d'air sont obstruées), après un-delai de refroidissement de quelques minutes, l'appareil se remet en marche.
1.2 Fonctionnement
L'interrupteur (1) situé à droite de l'appareil permet d'allumer le convecteur ou de l'eteindre. La température ambiente souhaitée peut être régée en continu entre +6^ et +30^ au moyen du selecteur de température (2). Dans que la température ambiente régée est atteinte, elle est maintainue en permanence grâce à des périodes de chauffage intermittentes (la capacité de chauffe de l'appareil doit correspondre au moins aux besoin en chaleur de la piece).
Si plusieurs apparéils de chauffage sont installés dans une même piece, les réglages du sélecteur de température peuvent différer pour chaque apparéil.
Afin d'éviter une consommation trop importante en électricité lorsque les fenêtres sont ouvertes afin d'áérer une piece, l'appareil doit être étant au moyen de l'interrupteur (1).
Protection hors-gel
Si l'appareil doit faire office de protection hors-gel, le sélecteur (2) de température doit être place sur la butée droite (*) . Dans cette position le régulateur de température enclenché automatiquement le chauffage lorsque la température ambiente tombe et la mainiens à environ +6^
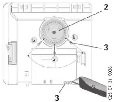
Limitation du régulateur de température
Les deux butées (3) situées à l'arrière du capot de l'appareil permettent de bloquer le régulateur de température sur une température déterminée ou de limiter la plage de réglage des températures.
Pour bloquer le régulateur sur la température souhaitée, il suffit d'insérer une butée a dans le trou correspondant.
Pour limiter la plage de réglage des températures, il faut régler la valeur minimale et la valeur maximale sur le sélecteur en insérant une butée b dans un trou correspondant.

1.2.1 Régulateur externe de température
En cas de besoin, l'appareil peut etre utilise avec un regulateur externe de temperature que I'on touve generally dans le commerce.
Pour ce faire, le selecteur de température doit être tourné jusqu'à la butée de droite (MAX). Il convient de placer le régulateur de température le plus loin possible de l'appareil et à une hauteur de minimum 1,5 metre.
1.2.2 Mise hors service
Pour la mise hors service de l'appareil, l'interrupteur doit être place sur AUS (étéint) et la fiche doit être retiree de la prise de courant (ne pas retirer la fiche de la prise en tirant sur le cordon d'alimentation).
1.3 Consignes de sécurité

L'appareil ne peut pas etre utilise
- Dans des pieces ou des produits chimiques, poussières, gaz ou vapeurs risquent de provoquer des incendes ou explosions
- A proximé directe de conduites ou de réciPIents contenant ou transportant des matieres risquant de provoquer des incendes ou explosions
Lorsque les distances minimales par rapport aux surfaces environnantes ne sont pas respectees.
Le montage (installation electrique) ainsi que la première mise en service et les travaux d'entretien peuvent uniquement etre effectués par un installeragé conformément à la presente notice.
L'appareil ne peut enaucun cas etre utilise lorsque, dans la piece ou il est instalé,des travaux de pose, de polissage, de scellement, de nettoyage a l'essence ou des travaux d'entretien (avec des aerosols, cires encaustiques) de revetements de sols etc., sont en cours.
Lorsque l'appareil fonctionne, la surface du capot devient tres chaude (plus de 80^
Attention au risque de brûlures!
Les enfants doivent absolument etre tenus eoignes de I'appareil!
- Il est interdit de poser des objets sur l'appareil, d'en suspendre ou d'en placer entre le convecteur et le mur (par exemple, pour faire secher le linge). A proximite directe de l'appareil, il est également interdit de poser des objets inflammables, combustibles ou isolants ou des tissus, tels que linge, couvertures, des magazines, recipients contenant des cires encaustiques ou de l'essence, des aerosols etc.

Attention au risque d'inflammation!
Pour éviter toute surchauffe de l'appareil, il est interdit de le recouvrir.
A Il convient de respecter les distances suivantes vis-à-vis d'objets de toutes sortes tels que meubles, ridesaux, tentures et textiles ainsi que par rapport aux autres matieres inflammables:
Par rapport
à la grille de sortie d'air 500mm
aux cots de I'appareil 100mm
à la partie supérieure de l'appareil 150mm
à la partie inférieure de l'appareil 100mm
à la partie arrête de l'appareil 26mm
La sortie d'air chaud ne doit pas etre entravee.
L'appareil ne peut jamais être place sur le sol.
- Il est interdirte de grimper sur l'appareil!
- Il est interdit d'apporter des modifications quelles qu'elles soient à l'appareil.
- Ne jamais laisser l'appareil sans surveillance.
- Une prudence toute particuliere s'impose lorsque l'appareil est utilisé en présence d'enfants, de personnes handicapées ou d'animaux. Risque de blessure!
Si un composant est endommagé, si l'appareil est tombé ou si un problème de fonctionnement s'est presenté, il est interdir de l'utiliser.
Si le cable d'alimentation de cet appeareil etait detertiore, il devra etre remplace par le fabricant, ou son service apres vente, ou tout autre personne qualifie, afin d'eviter tous risques.
1.4 Entretien et maintenance
Si le capot de l'appareil présente des légères décolorations brunâtres, il faut les éliminer le plus rapi-dement possible au moyen d'un chiffon humide et d'eau claire. L'appareil doit être nettoyé quand il est froid et au moyen de nettoyants usuels. L'utilisation de produits abrasifs ou mordants est à éviter. L'humidité ne peut pas pénétrer dans l'appareil. Ne pas pulveriser d'áerosols dans les fentes d'áération. Pour les entretiens réguliers, nous recommendons d'également faire vérifier les organes de contrôle et de réglage. Les organes de sécurité, de contrôle et de réglage doivent être vérifiés par l'installateur au plus tard 10 ans après la mise en service.
Que faire quand . . .?
Le radiateur ne chauffe Contrôlez pas? ...si l'interru
...si l'interrupteur d'allumage /d'extinction de I'appareil est activé.
...si dans votre armoire à fusibles, leFuse ble correspondant a saute ou si le disjoncteur s'est declenché.
Supprimez la cause!
Si, après avoir controlé ces points, le radiateur neCHAFFE toujours pas, appelez l'installateur!
L'appareil s'arrête automatiquement?
Contrôlez si l'appareil est recouvert de sorte qu'une surchauffe a pu se produit (par exemple, les ouvertures d'accivee ou de sortie d'air sont obturées).
Supprimez la cause!
Si, après avoir laissé l'appareil refroidir pendant quelques minutes, il neCHAFFE toujours pas,appelez I'installateur!
- Vous appelez le service clientèle?
Lisez le type (Typ) et le numero (Nr.) de l'appareil sur la plaquette signalétique (8) et communiquez-les au service clientèle.
AEG
Typ:WKL....
E-Nr: F-Nr:
2. Instructions de montage
Le montage et le raccordement electrique peuvent uniquement etre effectués par un installerur agreé, conformément aux prsentes instructions. Deballer l'appareil et retirer l'emballage contenant les accessoires à I'endroit ou l'appareil sera instalé et bien faire attention a I'emballage secondaire ! Lors du deballage, veiller a ce que des composants des accessoires ne soient pas restes dans le matériel d'emballage.
2.1 Composition de l'appareil
4Grille de sortie d'air chaud
5 Support mural
6 Boulons de serrage
7 Cable d'alimentation
8 Plaquette signalétique
\section*{Caracteristiques techniques}
| Type WKL 503 S | WKL 503 U | WKL 753 S WKL 753 U | WKL 1003 S WKL 1003 U | WKL 1503 S WKL 1503 U | WKL 2003 S WKL 2003 U | WKL 2503 S WKL 2503 U | WKL 3003 S WKL 3003 U | |
| Hauteur mm 450 | ||||||||
| Largeur mm 370 445 | 445 590 | 740 890 10 | 40 | |||||
| Profondeur avec support mural | mm | 78 100 | ||||||
| Dimensions A mm 121 | 195 | 195 343 491 | 639 787 | |||||
| Poids kg 4,0 4,6 4,6 6,0 | 7,2 | 8,4 9,9 | ||||||
| Raccordement | 1/N ~ 230 V | |||||||
| Puissance | kW | 0,5 | 0,75 | 1,0 | 1,5 | 2,0 | 2,5 | 3,0 |
| Plage de rélage des températures | °C | environ 6 à 30 | ||||||
| Protection hors-gel °C | environ 6 | |||||||
| Classe de protection | II | |||||||
| Indice de protection | IP 24, protection contre les projections d'eau | |||||||
| Agrément | voir plaquette signalétique de l'appareil | |||||||
2.2 Normes et specifications

L'appareil ne peut pas etre utilise
- Dans des pieces ou des produits chimiques, poussières, gaz ou vapeurs risquent de provoquer des incendies ou explosions
A proximite directe de conduites ou reciplents contenant ou transportant des matieres risquant de provoquer des incendies ou explosions - Quand les distances minimales par rapport aux surfaces avoisinantes ne sont pas respectees
Dans les ateliers ou autres locaux, soumis à des gaz d'échévement, à des odeurs d'huile ou d'essence, etc. et où l'on utilise des solvants et produits chimiques, le risque de surcharges olfactives durables et, le cas échéant, de pollution est present.
L'appareil peut uniquement etre place a la verticale sur un mur résistant au moins a des temperatures de 80^
Les distances minimales par rapport aux surfaces avoisinantes doivent etre respectees.
Tous les travaux de raccordement electrique et d'installation doivent etre effectués conformément aux dispositions de la norme VDE (0100), aux normes des fournisseurs d'électricité concernés et aux spécifications nationales et regionales en viqueur.
- L'appareil ne peut pas être placé directement en dessous d'une prise de courant murale.
- En cas de raccordement fixe de l'appareil à du courant alternatif (boîte de raccordement de l'appareil), il doit pouvoir être séparé du réseau, sur tous les pôles, au moyen d'une section de séparation de minimum 3 mm. A cet effet, l'installateur peut utiliser des protections, interrupteurs LS, fusibles, etc. L'installation au moyen d'une conduite de raccordement fixe est interdite.
2.3 Montage
2.3.1 Montage du support mural B
Le support mural s'utilise également en guise de gabarit pour la fixation et garantit la distance nécessite par rapport au sol.
Pour fixer l'appareil, procedez comme suit :
- Placer le support mural (5) orienté sur le point central à l'horizontal sur le sol et marquer les trous indiqués par les lettres a et d sur le mur où l'appareil sera installé;
- Soulever le support mural de façon telle à que les trous b dans le support mural coïncident parfaîtrement avec les marquages indiqués sur le mur ;
- Marquer les trouc c et d dans le support mural sur le mur ;
- Forer des trous au niveau des 4 marquages et suspendre le support mural au moyen de matériels de fixation appropriés (vis, chevilles) en fonction du type de mur. Les trous verticaux longitudinaux permettent demettre le support d'aplomb.
2.3.2 Montage de l'appareil C
Le convecteur est suspendu par les fentes situées dans la partie arrière simultanément sur les 4 pattes du support mural et est ensuite calé. Ensuite, les boulons de serrage (6) du support mural doivent être visés à fond dans le sens des aiguilles d'une montre afin que la fixation soit verrouillée.
Pour démonter le convecteur, après avoir desserré les boulons de serrage, l'appareil doit être soulevé légement et retire du support en tirant vers soi.
2.4 Raccordement électrique
L'appareil peut uniquement etre raccorded sur du courant alternatif de 230V
Pour le raccordement, il faut prévoir une prise de courant avec contact de protection ou installer une boîte de raccordement pour raccordement fixe sur le côté de l'appareil, à une distance de minimum 10 cm.
2.5 Remise de l'appareil
Expliquez les fonctions de l'appareil à l'utilisateur. Attirez tout particulièrement son attention sur les consignes de sécurité. Remettez la notice d'utilisation et de montage à l'utilisateur.
3. Garantie
La garantie est a faire valor dans le pays ou l'appareil a ete achete. A cette fin, il faut prender contact avec la filiale AEG concennee, a defaut I'importateur agreé.

Le montage, les raccordements, la maintenance ainsi que la première mise en service sont à réaliser par un installateur qualifié.
Le fabricant ne saurait etre rendu responsable des dommages causés par un appeareil qui n'aurait pas ete installed ou utilise conformement à la notice de montage et d'utilisation jointe à l'appareil..
3.1 Environment et recyclage
Collecte et recyclage des produits en fin de vie

Les apparciels munis de ce symbole ne doivent pas etre mis avec les ordures menagères, mais doit etre collectés séparément et recyclés. La collecte et le recyclage des produits en fin de vie doit etre effectués selon les dispositions et les décrets locaux.
Notice Facile