WKL 1003 - Heizung AEG - Kostenlose Bedienungsanleitung
Finden Sie kostenlos die Bedienungsanleitung des Geräts WKL 1003 AEG als PDF.
Laden Sie die Anleitung für Ihr Heizung kostenlos im PDF-Format! Finden Sie Ihr Handbuch WKL 1003 - AEG und nehmen Sie Ihr elektronisches Gerät wieder in die Hand. Auf dieser Seite sind alle Dokumente veröffentlicht, die für die Verwendung Ihres Geräts notwendig sind. WKL 1003 von der Marke AEG.
BEDIENUNGSANLEITUNG WKL 1003 AEG
Gebrauchs- und Montageanweisung
- Gebrauchsanweisung 4-6
1.1 Gerätebeschreibung
1.2 Bedienung
1.3 Sicherheitshinweise
1.4 Pflege und Wartung Was tun wenn...? 6
2. Montageanweisung 7 - 8
2.1 Geräteaufbau
Technische Daten 7
2.2 Vorschriften und Bestimmungen
2.3 Montage
2.4 Elektrischer Anschluss
2.5 Ubergabe
3. Kundendienst und Garantie 9
3.1 Umwelt und Recycling 10
Inhoudsoverzicht
1. Gebrauchsanweisung

Die Nutzung elektrischer Geräte muss grundsätzlich mit der gebotenen Vorsicht erfolgen, um ein potentielles Risiko durch Feuer, elektrischen Stromschlag oder Verletzung auszuschreiben. Daher ist das Gerät nur wie in dieser Anweisung beschrieben zu nutzen. jeder Gebrauch außerhalb der Herstellerempheflung kann zu Schäden oder Verletzungen führen.
Die richtige Abstimmung zwischen dem Wärmebedarf des Raumes und der Heizleistung des Gerätes ist zu beachten.
Vor Gebrauch des Gerätes ist die gesamte Anweisung zulesen und die enthaltenen Hinweise zum sachgemäßen Umgang mit dem Gerät sind zu befolgen.
These Anweisung sorgfältig aufbewahren, bei Besitzerwechsel des Gerätes dem Nachfolger aushändigen.
Bei etwaigen Instandsetzungsarbeiten dem Fachmann zur Einsatz überlassen.
1.1 Gerätebeschreibung
Der WKL ist ein Elektro-Direktheizgerät ausschließlich zur Wandmontage. Es eignet sich z. B. als Vollheizung im Badezimmer oder als Übergangs- und Ergänzungsheziehung für keinere Räume wie z. B. Hobbyraum und Gastezimmer.
Typereihe WKL-S
Nach der Wandbefestigung und elektrischem Anschluss mittels Netzstecker ist das Gerät betriebsbereit.
Typereihe WKL-U
Nach der Wandbefestigung und elektrischem Anschluss mittels Festanschluss über eine Geräte-Anschlussdose (nationale Vorschriften beachten!) ist das Gerät betriebsbereit.
Gerätefungtion
Die Luft im Konvektor wird durch einen Heizkörper erwartet und tritt über die natürliche Konvektion oben durch das Luftastrittgitter (4) aus. Durch die in der Geräteunterseite vorhandenen Öffnungen stromt kühle Raumluft nach.
Sicherheitseinrichtung
Der Konvektor besitzt einen Schutztemperaturregler (STR), der bei Überhitzung das Gerät abschaltet. Nach Beseitigung der Ursache (z. B. verdeckte Luftaus- oder -eintrittsöffnung) besteht das Gerät nach einer Abkuhlzeit von weniger Minuten wieder in Betrieb.
1.2 Bedienung
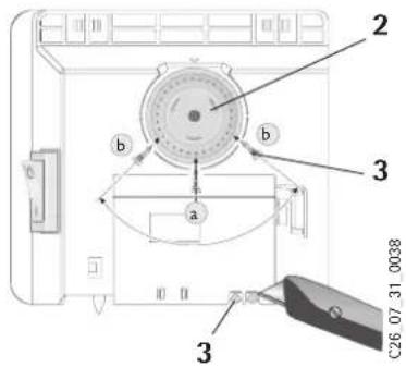
Über den Schalter (1) an der rechten Geräteseite wird der Konvektor ein- bzw. ausgeschaltet.
Die gewünschte Raumtemperatur ist mit dem Temperatur-Wahlknopf (2) zwischen ca. +6^ und ca. +30^ stufenlos einstellbar.
Sobald die eingestellte Raumtemperatur erreicht ist, wird diese durch intermittierendes Heizen konstant auf der eingestallenten Temperatur gehalten (die Heizleistung des Gerätes muss hierbei mindestens dem benötigten Wärmebedarf des Raumes entsprechen).
Sind mehrere Heizgeräte in einem Raum vorhanden, kann die Einstellung am Temperatur-Währknopf an jeder Gerät unterschiedlich sein. Um bei geöffneten Fenstern einen zu hohen Stromverbrauch zu vermeiden, sollte das Gerät während des Luftens über den Schalter (1) ausgeschaltet werden.
Frostschutz

Soll das Gerät als Frostschutzwächter benutzt werden, ist der Temperatur-Wahlknopf (2) auf Rechtsanschlag (*) zu stellen. In dieser Stellung schaltet der Temperaturregler die Heizung automatisch ein, falls die Raumtemperatur auf ca. +6^ absinkt.
Begrenzung des Temperaturreglers
Mit den beiden an der Rückseite des Schaltgehäuses angebrachten Stiften (3) kann der Temperaturregler auf eine bestimmte Einstellung fixiert oder der Temperatur-Einstellbereich begrenzt werden. Zur Fixierung auf eine gewünschte Temperatur ist ein Stift in das bereits gegenüber liegenden Loch zu stecken.
Bei einer Begrenzung des Temperatur-Einstellbereiches sind der Minimal- und Maximalwert am Wahlknopf einzustellen und jeweils durch einstecken des Stiftesb in ein etwas versetzt sitzendes gegenüberliegenden Loch zu markieren.

1.2.1 Externer Raumtemperaturregler
Das Gerät kann bei Bedarf mit einem handelsüblichen externen Raumtemperaturregler betrieben werden. Dabei muss der Temperatur-Währknopf (2) auf Rechtsanschlag (MAX) gedreht werden. Der Raumtemperaturregler sollte in möglichst großer Entfernung vom Gerät und mindestens in 1,5 m Höhe angebracht werden.
1.2.2 AuBerbetriebnahme
Zur Außerbetriebnahme des Gerätes ist der Schalter in AUS-Stellung zu bringen und der Netzstecker aus der Wandsteckdose zuziehen (Stecker nicht mittels der Anschlussleitung aus der Steckdoseziehen).
1.3 Sicherheitshinweise

Das Gerätarf nicht betrieben werden
in Räumen, die durch Chemikalien, Staub, Gase oder Dämpfe feuer- oder explosionsgeführdet sind;
- in unmittelbarer Höhe von Leitungen oder Behältnissen, die brennbare oder explosionsgeführde Stoffe führen oder enthalten;
- wenn die Mindestabstände zu angrenzenden Objektflächen untersritten werden.
Die Montage (Elektroinstallation) sowie die Erstinbetriebnahme und die Wartung deses Gerates durren nur von einem zugelassenen Fachmann entsprechend dieser Anweisung ausgeführrt werden.
Auf keinen Fallarf das Gerat betrieben werden, wenn im Aufstellraum Arbeiten wie Verlegen, Schleifen, Versiegeln, Reinigen mit Benzin und Pflegeon (Spray, Bohnerwachs) von FuBboden und dergleichen durchgefuhrt werden.
Die Gehäuseoberflächen des Gerätes und die austretende Luft werden bei Betrieb heißt (über 80 °C). Es besteht Verbrennungsgefahr! Kleinkinder unbedingt vom Gerät fernhalten!
Auf das Gerät dürfen keine Gegenstände gelegt, daran angeleht oder zwischen Heizgerät und Wand gesteckt werden (z. B. zum Wächstrocknen). Auch dürfen in unmittelbare Höhe des Gerätes keine brennbaren, entzündbaren oder wärmedämmenden Gegenstände oder Stoffe, wie Wäsche, Decken, Zeitschriften, Behälter mit Bohnerwachs oder Benzin, Spraydosen und dergleichen gelegt werden. Entzündungsgefahr!

Um eine Überhitzung des Heizgerätes zu vermeiden,arf das Gerät nicht abgedeckt werden.
A Für Gegenstände aller Art, wie z. B. Möbel, Gardinen, Vorhänge und Textilien oder sonstige brennbaren oder nicht brennbaren Materialien, müssen zum Gerät folgende Mindestabstände eingehalten werden: zum Luftaustritt-Gitter 500mm zu den Geräteseiten 100mm zur Geräteoberseite 150mm zur Geräteunterseite 100mm zur Geräterückwand 26mm Die Warmluft muss ungehindert austreten können!
Das Gerat scarf nicht als Standgerät benutzt werden.
- Nicht auf das Gerättreten!
- Es dürfen keinerlei Änderungen am Gerät vorgenommen werden.
Das Gerat niemals unbeaufsichtigt in Betrieb setzen.
- Besondere Vorsicht ist geboten, wenn das Gerät in Anwesenheit von Kindern, gebrechlichen Personen oder Tieren benutzt wird. Verletzungsgefahr!
- Ist ein Gerätebauteil beschädigt, das Gerät heruntergefallen oder es lag bereits eine Fehlfunktion vor, ist das Gerät nicht in Betrieb zunehmen.
- Wenn die Netzanschlussleitung these Gerätes beschädigt wird, muss sie durch den Hersteller oder seinen Kundendienst oder eineähnlich qualifizierte Person ersetzt werden, um Gefährdungen zu vermeiden.
1.4 Pflege und Wartung
Sollten am Gerätegehäuse leichte braunliche Verfährungen auftreten, so sind diese möglichst einzuf mit einem feuchten Tuch und heiBem Prilwasser abzureiben. Das Gerät ist im kalten Zustand mit gebrächlichen Pflegemitteln zu reinigen. Scheuernde und atzende Pflegemittel sind zu vermeiden. Feuchtigkeit darf nicht in das Gerät eindringen. Kein Reinigungsspray in die Luftschlitze sprehen. Bei den regelmäßigen Wartungen empfehlen wir, auch die Kontroll- und Regelorgane überprüfen zu halten. Spätestens 10 Jahre nach Erstinbetriebnahme sollenn Sicherheits-, Kontroll- und Regelorgane durch den Fachmann überprüft werden.
Was tun Wenn . . . ?
das Gerät nicht warm wird?
Prufen Sie, ob ...
... der EIN/AUS-Taster eingeschaltet ist.
... in Ihr dem Sicherungskosten die zugehörige Sicherung eingeschaltet ist oder der Fi-Schalter abgeschalte hat.
Ursache beheben!
Sollte sich danach das Heizgerät noch immer nicht erwärmen, rufen Sie den Fachmann!
das Gerät selbstätig abschaltet?
Prufen Sie, ob das Gerät abgedeckt ist, so das es zu einer Überhitzung kommt (z. B. verdeckte Luftaus- oder -eintrittsöffnung). Ursache beheben! Sollte sich nach einer Abkuhlzeit von einigen Minuten das Gerät noch immer nicht erwärmen, rufen Sie den Fachmann!
der Kundendienst gerufen wird?
Typ und Nummer vom Typenschild (8) am Gerät ablesen und dem Kundendienst mitteilen!
AEG
Typ:WKL.... E-Nr.: F-Nr.:
2. Montageanweisung
Aufstellung und elektrischer Anschluss müssen von einem Fachmann unter Beachtung dieser Montageanweisung durchgeführt werden. Geräte- und Zubehörverpackung erst am Aufstellort entfern, damit auf Beipack achten! Beim Auspacken darauf auf achten, dass keine Zubehörteile im Verpackungsmaterial zusückbleiben.
2.1 Geräteaufbau
4 Warmluftaustrittsgitter
5 Wandhalterung
6 Verschlussbolzen
7 Netzanschlussleitung
8 Typenschild
Technische Daten
| Typ WKL 503 S | WKL 503 U | WKL 753 S WKL 753 U | WKL 1003 S WKL 1003 U | WKL 1503 S WKL 1503 U | WKL 2003 S WKL 2003 U | WKL 2503 S WKL 2503 U | WKL 3003 S WKL 3003 U | |
| Höhe mm 450 | ||||||||
| Breite mm 370 445 44 | 5 590 | 740 890 1040 | ||||||
| Tiefe mit Wandhalterung | mm | 78 100 | ||||||
| Maß A mm 121 195 19 | 95 343 | 491 639 787 | ||||||
| Gewicht kg 4,0 4,6 4,6 | 6,0 7 | 2 8,4 9,9 | ||||||
| Anschluss | 1/N ~ 230 V | |||||||
| Leistung | kW | 0,5 | 0,75 | 1,0 | 1,5 | 2,0 | 2,5 | 3,0 |
| Temperatur-Einstellbereich | °C | ca. 6 bis 30 | ||||||
| Frostschutz | °C | ca. 6 | ||||||
| Schutzklasse | II | |||||||
| Schutzart | IP 24, spritzwassergeschützt | |||||||
| Approbationen | siehe Geräteypenschild | |||||||
2.2 Vorschriften und Bestimmungen

Das Gerätarf nicht betrieben werden
- in Räumen, die durch Chemikalien, Staub, Gase oder Dämpfe feuer- oder explosionsgeführdet sind;
- in unmittelbarer Höhe von Leitungen oder Behältnissen, die brennbare oder explosionsgeführte Stoffe führen oder enthalten;
- wenn die Mindestabstände zu angrenzenden Objektflächen unterscriitten werden.
In Werkstätten oder sonstigen Räumen, in denen Abgase, Öl- und Benzingeruch usw. auftreten oder mit Lösungsmitteln und Chemikalien gearbeitet wird, kann es zu länger anhaltenden Geruchsbelastigungen und gegebenenfalls zu Verunreinigungen kommt.
Das Gerätarf nur an einer senkrechten, bis mindestens 80^ temperaturbeständigen Wand angebracht werden.
- Mindestabstände zu angrenzenden Objektflächen sind einzuhalten.
Alle elektrischen Anschluss- und Installationsarbeiten sind nach den VDE-Bestimmungen (0100), den Vorschriften des zuständigen EVU's sowie den entsprechenden nationalen und regionalen Vorschriften auszuführren.
Das Gerätarf nicht unmittelbar unterhalb einer Wandsteckdose angebrachte werden.
Soll das Gerät fest an das Wechselstromnetz angeschlossen werden (Geräteanschlussdose), muss es über eine Trennstrecke von mindestens 3 mm allpolig vom Netz getrennt werden konnen. Hierzu konnen Schütze, LS-Schalter, Sicherungen usw. eingesetzt werden. Die Installation mit festverlegter Anschlussleitung ist nicht zulässig.
Das Geräte-Typenschild ist zu beachten! Die angegebene Spannung muss mit der Netzspannung übereinstimmen.
- Bei der Installation des Heizgerätes in Räumen mit Badewanne und/oder Dusche ist der Schutzbereich nach VDE 0100 Teil 701 in Abstimmung mit den Angaben auf dem Geräte-Typenschild zu berücksichtigen.
Das Gerät ist so anzubRING, dass Schalt- und Regeleinrichtungen nicht von einer in der Badewanne oder unter der Dusche befindlichen Person berührt werden konnen.
Die Netzanschlussleitungarf bei Austausch nur von einem Fachmann mit Original Ersatzteilen ersetzt werden.
2.3 Montage
2.3.1 Montage der Wandhalterung B
Die Wandhalterung ist auch als Schablone für die Befestigung zu verwenden und gewährleistet damit den notwendigen Bodenabstand.
Zur Befestigung des Gerätes ist wie folgt vorzugehen:
- I die mittelpunktortierte Wandhalterung (5) waagerecht auf den Boden stellen und die mit a und d gekennzeichneten Bohrungen an der Montagewand kennzeichnen;
Wandhalterung hochheben, so das die Bohrungen b in der Wandhalterung deckungsgleich mit den gerade angebrachten Kennzeichnungen an der Montagewand sind;
Bohrungen c und d der Wandhalterung an der Montagwand kennzeichnen; - an allen 4 Kennzeichnungen Löscher bohren und die Wandhalterung mit geeigneten Befestigungsmaterialien (Schrauben, Dübel) je nach Wandart befestigen. Mit den vertikalen Langlöchern ist ein Ausgleich beim Verlaufen der Befestigungsbohrung möglich.
2.3.2 Gerätemontage C
Der Konvektor wird mit seinen Aufnahmeschlitzen in der Geräterückseite gleichzeitig auf die 4 Laschen der Wandhalterung gehängt und zur Arretierung angedrückt. Danach wird der Verschlussbolzen (6) der Wandhalterung im Uhrzeigersinn bis zum Anschlag gedreht und damit die Befestigung verriegelt. Zur Demontage des Konvektors muss nach lösen des Verschlussbolzens das Gerät leicht angehoben und dann nach vorne von der Halterung abgenommen werden.
2.4 Elektrischer Anschluss
Der elektrische Anschluss kann nur an Wechselstrom 230V erfolgen.
Für den Anschluss ist im Abstand von mindestens 10 cm seitlich vom Heizgerat eine Schutzkontakt- Steckdose oder Geräte-Anschlussdose für Festanschluss zu installieren.
2.5 Übergabe
Erklaren Sie dem Benutzer die Funktionen des Gerätes. Machen Sieihn besondere auf die Sicherheitshinweise aufmerksam.
Überreichen Sie dem Benutzer die Gebrauchs- und Montageanweisung.
3. Kundendienst und Garantie
Stand: 11/06
Sollte einmal eine Störung an einem der Produkte auftreten, stehen wir Ihnen natürlich mit Rat und Tat zur Seite
Rufen Sie uns einfach unter nachfolgender Service-Nummer an:
01803 70 20 20 (0,09 €/min; Stand 11/06)
oder schreiben uns:
AEG Haustechnik - Kundendienst - Fürstenberger Straße 77, 37603 Holzmaden
E-Mail: info@eht-haustechnik.de
Telefax-Nr. 01803 70 20 25 (0,09 €/min; Stand 11/06)
Weitere Anschriften sind auf der letzten Seite aufgeführrt.
Selbstverständlich hilft unser Kundendienst auch nach Feierabend! Den AEG Haustechnik-Kundendienst können Sie an sieben Tagen in der Woche tätig bis 22.00 Uhr Telefonisch erreichen - auch an Sonn- und Samstagen sowie an Feiertagen.
Im Notfall steth also immer ein Kundendiensttechniker fur Sie bereit. Das ein solcher Sondereerservice auch zusätzlich entlohnt werden muss, wenn kein Garantiefall vorliegt, werden Sie sichereich verstehen.
Die Garantiebedingungen regeln zusätzliche Garantieleistungen von dem AEG Haustechnik-Kundendienst gegenüber dem Endkunden, die kein die gesetzlichen Gewährleistungsansprüche des Kunden treten. Daher werden auch gesetzliche Gewährleistungsansprüche des Kunden gegenüber seinen sonstigen Vertragspartnern, insbesondere dem Verkauf der mit der Garantie verschenen AEG Haustechnik-Gerätes, dieser Garantie nicht berührt.
These Garantiebedingungen gelten nur für solche Geräte, die vom Endkunden in der Bundesrepublik Deutschland als Neugeräte erworben werden. Ein Garantievertrag kommt nicht zustande, soweit der Endkunde ein gebrauchtes Gerät oder ein neues Gerät seinerseits von einem anderen Endkunden erworbt.
Inhalt und Umfang der Garantie
Der AEG Haustechnik-Kundendienst erbringt die Garantieleistungen, wenn an den AEG Haustechnik-Geräten ein Herstellungs- und/oder Materialfehler innerhalb der Garantiezeit auftritt. Die Garantie umfasst jedoch keine Leistungen von AEG Haustechnik-Kundendienst für solche Geräte, an denen Fehler, Schäden oder Mängel aufgrund von Verkalkung, chemischer oder elektrochemischer Einwirkung, fehlerhafter Aufstellung bzw. Installation sowie unsachgemäßer Einregulierung, Bedienung oder unsachgemäßer Inanspruchnahme bzw. Verwendung auftreten. Ebenso ausgeschlossen sind Leistungen aufgrund mangelhafter oder unterlassener Wartung, Witterungseinflüssen oder sonstigen Naturerscheinungen.
Die Garantie erlischt, wenn an dem Gerät Reparaturen, Eingriffe oder Abänderungen, durch nicht von dem AEG Haustechnik-Kundendienst autorisierte Personen, vorgenommen wurden.
Die Garantieleistung umfasst die sorgfällige Prüfung des Gerätes, wobe zunachst ermittelt wird, ob ein Garantieanspruch besteht. Im Garantiefall entscheidet allein der AEG Haustechnik-Kundendienst, auf welche Art der Fehler behoben werden soll. Es steht dem AEG Haustechnik-Kundendienst frei, eine Reparatur des Gerätes ausführten zu halten oder selbst auszuführen. Etwaige ausgewechselte Teile werden Eigentum des AEG Haustechnik-Kundendienstes.
Für die Dauer und Reichweite der Garantie übernimmt der AEG Haustechnik-Kundendienst samtliche Material- und Montagekosten.
Soweit der Kunde wegen des Garantiefalles aufgrund gesetzlicher Gewährleistungsansprüche gegen andere Vertragspartner Leistungen erhalten hat, entfällt eine Leistungspflicht des AEG Haustechnik-Kundendienstes.
Soweit der AEG Haustechnik-Kundendienst Garantieleistungen erbringt, übernimmt der AEG Haustechnik-Kundendienst keine Haftung für die Beschädigung eines Gerätes durch Diebstahl, Feuer, Aufruhr o. ä. Ursachen.
Über die vorstehend zugesagten Garantieleistungen hinausgehend kann der Endkunde nach dieser Garantie keine Ansprüche wegen mittelbarer Schäden oder Folgeschäden, die durch ein AEG Haustechnik-Gerät verursacht werden, insbesondere auf Ersatz außerhalb des Gerätes entstandener Schäden, geltend machen. Gesetzliche Ansprüche des Kunden gegen den AEG Haustechnik-Kundendienst oder Dritte bleiben jedoch unberührt.
Garantiedauer
Die Garantiezeit beträgt 24 Monate für jeder AEG Haustechnik-Gerät, das im privaten Haushalt eingesetzt wird und 12 Monate für jeder AEG Haustechnik-Gerät, welche in Gewerbebetriben, Handwerksbetrieben, Industriebetrieben oder gleichzusetzenden Tätigkeiten eingesetzt wird. Die Garantiezeit beginnt für jeder Gerät mit der Übergabe des Gerätes an den Erst-Endabnehmer. Zwei Jahre nach Übergabe des jeweiligen Gerätes an den Erst-Endabnehmer erlischt die Garantie, sowie die Garantiezeit nicht nach vorstehendem Absatz 12 Monate beträgt.
Soweit der AEG Haustechnik-Kundendienst Garantieleistungen erbringt, führt dies weder zu einer Veränderung der Garantiefrist noch wird durch die erbrachte Garantieleistung eine neue Garantiefrist in Gang gesetzt. Dies gilt für alle vom AEG Haustechnik-Kundendienst erbrachten Garantieleistungen, insbesondere für etwaige eingebaute Ersatzteile oder für die Ersatzlieferung eines neuen Gerätes.
InanspruchnahmederGarantie
Garantieansprüche sind vor Ablauf der Garantiezeit, innerhalb von zwei Wochen nach dem der Mangel erkannt wurde, unter Angabe des vom Kunden festgestelltten Fehlers des Gerätes und des Zeitpunktes seiner Feststellung beim AEG Haustechnik-Kundendienst anzumelden. Als Garantienachweis ist die vom Verkauf des Gerätes ausgefüllte Garantieurkunde, die Rechnung oder ein sonstiger datierter Kaufnachweis beizufugen. Fehlt die vorgenannte Angabe oder Unterlage, besteht kein Garantieanspruch.
GarantiefürinDeutschlanderworbenen,jedochauBerhalbDeutschlandseingesetztenGeräte
Der AEG Haustechnik-Kundendienst ist nicht verpflichtet, Garantieleistungen außerhalb der Bundesrepublik Deutschland zu erbringen. Bei Störungen eines im Ausland eingesetzten Gerätes, ist diese gegebenenfalls auf Gefahr und Kosten des Kunden an den Kundendienst in Deutschland zu senden. Die Rücksendung durch den AEG Haustechnik-Kundendienst erfolgt eben falls auf Gefahr und Kosten des Kunden. Etwaige gesetzliche Ansprüche des Kunden gegen den AEG Haustechnik-Kundendienst oder Dritte bleiben auch in thisem Fall unberührt.
AuBerhalbDeutschlandserworbeneGeräte
Für außerhalb Deutschlands erworbene Geräte gilt diese Garantie nicht. Es gelten die jeweiligen gesetzlichen Vorschriften und gegebenenfalls die Lieferbedingungen der Ländergesellschaft bzw. des Importeurs.
3.1 Umwelt und Recycling
Damit Ihr Gerät unbeschädigt bei Ohnen ankommt, haben wir es sorgfällig verpackt.itte halten Sie, die Umwelt zu schützen, und entsorgen Sie das Verpackungsmaterial des Gerätes sachgerecht.
3.1.1 Entsorgung von Transport- und Verkaufsverpackungsmaterial
AEG Haustechnik beteiligt sich gemeinsam mit dem Großhandel und dem Fachhandwerk/Fachhandel in Deutschland an einem wirksamen Rücknahme- und Entsorgungskonzept für die umweltschonende Aufarbeitung der Verpackungen. Überlassen Sie die Transportverpackung dem Fachhandwerk bzw. Fachhandel. Verkaufsverpackungen (Grüner Punkt) entsorgen Sie über DSD (Duales System Deutschland). Alle verwendenten Verpackungsmaterialien sind umweltverträglich und wiederverwertbar.
-
Kunststoffeile sind, sowweit vorhanden, folgendermaBen gekennzeichnet:
-
PE für Polyethylen, z. B. Verpackungsfolien
- EPS für expandiertes Polystyrol, z. B. Styropor-Polsterteile (grundsätzlich FCKW-frei)
- POM für Polyoxymethylen, z. B. Kunststoffklammern
-
PP für Polypropylen, z. B. Spannbänder
-
Kartonneile sind aus Altpapier hergestellt.
3.1.2 Entsorgung von Altgeräten in Deutschland
Geräte mit dieser Kennzeichnung gehören nicht in die Restmülltonne und sind getrennt zu sammeln und zu entsorgen.
Die Hersteller sorgen im Rahmen der Produktverantwortung für eine umweltgerechte Behandlung und Verwertung der Altgeräte.
Im Rahmen des Elektro- und Elektronikgerätegesetzes (ElektroG) und zum Schutz unserer Umwelt ist eine kostenlose Rückgabe bei ihrer communalen Sammelstelle möglich.
Weitere Informationen erhalten Sie über ihre Kommune oder ihren Fachhandwerker/Fachhändler.
Die Geräte oder Geräteile * dürfen nicht als unsortierter Siedlungsabfall über den Hausmüll bzw. die Restmülltonne beseitigt werden. Über das Rücknahmesystem werden hohe Recyclingquoten der Materialien erreicht, um Deponien und die Umwelt zu entlasten. Damit leisten wir gemeinsam einen wichtigen Beitrag zum Umweltschutz.
Bereits bei der Entwicklung neuer Geräte achten wir auf eine hohe Recyclingfähigkeit der Materialien.
Die Voraussetzung für eine Material-Wiederverwertung sind die Recycling-Symbole und die von uns vorgenommene Kennzeichnung nach DIN EN ISO 11469 und DIN EN ISO 1043, damit die verschiedene Kunststoffe getrennt gesammelt werden können.
3.1.3 Entsorgung außerhalb Deutschlands
Die Entsorgung von Altgeräten hat fach- und sachgerecht nach den örtlich geltenden Vorschriften und Gesetzen zu erfolgen.
Adressen und Kontakte
Vertriebszentrale
EHT Haustechnik GmbH
Markenvertrieb AEG
Gutenstetter Straße 10
90449 Nurnberg
GERMANY
info@eht-haustechnik.de
www.aeg-haustechnik.de
Tel. 0 18 03 / 91 13 23
Fax 09 11 / 96 56 - 44 4
Kundendienstzentrale
Holzminden
Fürstenberger Str. 77
37603 Holzminden
Briefanschrift
37601 Holzminden
Der Kundendienst und Ersatzteilverkauf ist in der Zeit von
Montag bis Donnerstag
von 7.15 bis 18.00 Uhr und Freitag
von 7.15 bis 17.00 Uhr,
auch unter den nachfolgenden
Telefon-bzw.Telefaxnummern
erreichbar:
Kundendienst
Tel. 0 18 03 / 70 20 20
Fax 01803/702025
Ersatzteilverkauf
Tel. 0 18 03 / 70 20 40
Fax 01803/702045
Deutschland
AEG Kundendienst
Dortmund
Oespel (Indupark)
Brennaborstr. 19
44149 Dortmund
Postfach 76 02 47
44064 Dortmund
Tel. 02 31 / 96 50 22-11
Fax 02 31/965022-77
Hamburg
Georg-Heyken-Str. 4a
21147 Hamburg
Tel. 0 40 / 75 20 18-11
Fax 040/752018-77
Holzminden
Furstenberger Str. 77
37603 Holzminden
Tel. 01803/702020
Fax 01803/702025
Leipzig
Airport Gewerbepark-Glesien
Ikarusstr. 10
04435 Schkeuditz
Tel. 03 42 07 / 7 55-11
Fax 034207/755-77
Stuttgart
Weilimdorf
Motorstr. 39
70499 Stuttgart
Tel. 07 11 / 9 88 67-11
Fax 07 11 / 9 88 67-77
International
Belgium
EHT Belgium BVBA
Avenue du Port 104
1000 Brussel - Bruxelles
Tel. 02-4232222
Fax 02-4232212
Czech Republic
info@eht-haustechnik.de
www.aeg-haustechnik.de
EHT-Haustechnik GmbH
Irrum und technische Änderungen vorhalten - Subject to errors and technical changes! - Sous reserve d'errors et de modifications techniques! - Onder voorbehoud van vergissingen en technische
wuyhryzana · Musazl valuzalajosk es levedesk jogai Iennarjuiq. BoaMxOHOCTH e HHTOHOCTN M TECHNHEKIN N MCMENHNE H NCKIOAEO
EinfachAnleitung