GH 500 W - Verwarming AEG - Gratis gebruiksaanwijzing en handleiding
Vind de handleiding van het apparaat gratis GH 500 W AEG in PDF-formaat.
| Technische specificaties | Vermogen: 500 W, Type: Elektrische verwarming, Afmetingen: 30 x 20 x 15 cm, Gewicht: 1,5 kg |
|---|---|
| Gebruik | Ideaal voor bijverwarming in kleine ruimtes, gemakkelijk te dragen dankzij het lichte gewicht. |
| Onderhoud en reparatie | Regelmatig reinigen van het ventilatierooster aanbevolen, controleer het netsnoer op slijtage. |
| Veiligheid | Voorzien van een oververhittingsbeveiligingssysteem, bedek het apparaat niet tijdens gebruik. |
| Algemene informatie | 2 jaar garantie, matig energieverbruik, stille werking. |
Veelgestelde vragen - GH 500 W AEG
Download de handleiding voor uw Verwarming in PDF-formaat gratis! Vind uw handleiding GH 500 W - AEG en neem uw elektronisch apparaat weer in handen. Op deze pagina staan alle documenten die nodig zijn voor het gebruik van uw apparaat. GH 500 W van het merk AEG.
GEBRUIKSAANWIJZING GH 500 W AEG
Bediening en installatie 25
BESONDERE HINWEISE
BEDIENUNG
- Algemene aanwijzingen....26
- Veiligheid....26
- Toestelbeschrijving....27
- Instellingen....27
- Reiniging en onderhoud 27
- Problemen verhelpen....28
INSTALLATIE
- Veiligheid....28
- Toestelbeschrijving....28
- Montage 28
- Overdracht....30
- Onderhoud 30
- Technische gegevens ....30
GARANTIE
MILIEU EN RECYCLING
BIJZONDERE INFO
- Houd kinderen jonger dan 3 jaar uit de buurt van het toestel, wanneer er niet voort-durend toezicht is.
- Het toestel kan door kinderen van 3 tot 7 jaar worden in- en uitgeschakeld, wanneer er toezicht op hen gehouden wordt, of wanneer ze met betrekking tot het veilige gebruik van het toestel geïnstrueerd zijn en de gevaren die daaruit ontstaan, begrepen hebben. Voorwaarde hiervoor is dat het toestel gemonteerd is zoals beschreven.
3- tot 7-jarige kinderen mogen niet de stekker in het stopcontact steken en mogen het toestel niet regelen. - Het toestel kan door kinderen vanaf 8 jaar, alsmede door personen met fysieke, sensorische of geestelijke beperkingen of met een gebrek aan ervaring en kennis gebruikt worden wanneer er toezicht op hen gehouden wordt, of wanneer ze met betrekking tot het veilige gebruik van het toestel geïnstrueerd zijn en de gevaren die daaruit ontstaan, begrepen hebben.
-
Kinderen mogen niet met het toestel spelen. Kinderen mogen zonder toezicht geen reini-ging of gebruikersonderhoud uitvoeren.
-
Het toestel is niet voorzien van een regeling voor kamertemperatuur. Wanneer u het toestel in een kleine ruimte gebruikt en de daar aanwezige personen niet zelfstandig de ruimte kunnen verlaten, moet worden gezorgd voor voortdurend toezicht.
Delen van het toestel kunnen zeer heet worden en brandwonden veroorzaken. Als er kinderen en hulpbehoevenden aanwezig zijn, is extra voorzichtigheid geboden. - Dek het toestel niet af.
- Plaats het toestel niet direct onder een stopcontact.
- Plaats het toestel zo, dat de schakel- en regelvoorzieningen niet kunnen worden aangeraakt door een persoon die in bad zit of onder de douche staat.
• Bij een vaste aansluiting moet het toestel met een afstand van ten minste 3 mm op alle polen van het stroomnet kunnen worden losgekoppeld.
De stroomkabel mag bij beschadiging of vervanging alleen worden vervangen door een origineel onderdeel en door een installateur die daartoe door de fabrikant gemachtigd is. - Monteer het toestel zoals beschreven in het hoofdstuk "Installatie/montage".
BEDIENING
1. Algemene aanwijzingen
De hoofdstukken "Bijzondere info" en "Bediening" zijn bedoeld voor de gebruiker van het toestel en voor de installateur.
Het hoofdstuk "Installatie" is bedoeld voor de installateur.

Info
Lees voor gebruik deze handleiding zorgvuldig door en bewaar de handleiding op een veilige plaats. Overhandig de handleiding in voorkomende gevallen aan een volgende gebruiker.
1.1 Veiligheidsaanwijzingen
1.1.1 Structuur veiligheidsaanwijzingen

TREFWOORD Soort gevaar Hier staan mogelijke gevolgen wanneer het veiligheidsvoorschrift wordt genegeerd.
» Hier staan maatregelen om het gevaar af te wen- den.
1.1.2 Symbolen, soort gevaar
| Symbool Soort | gevaar |
| Letsel | |
| Elektrische schok | |
| Verbranding(Verbranding, verschroeiing) |
1.1.3 Trefwoorden
| TREFWOORD Betekenis | |
| GEVAAR Aanwijzingen die leiden tot zwaar letsel of overlijden, wanneer deze niet in acht worden genomen. | |
| WAARSCHU-WING | Aanwijzingen die kunnen leiden tot zwaar letsel of overlijden, wanneer deze niet in acht worden genomen. |
| VOORZICHTIG | Aanwijzingen die kunnen leiden tot middelmatig zwaar of licht letsel, wanneer deze niet in acht worden genomen. |
1.2 Andere aandachtspunten in deze documentatie

Info
Algemene aanwijzingen worden aangeduid met het symbool dat hiernaast staat.
» Lees de aanwijzingsteksten grondig door.
| Symbool Betekenis | |
| Materièle schade(toestel-, gevolg-, milieuschade) | |
| Het toestel afdanken | |
» Dit symbool geeft aan dat u iets moet doen. De vereiste handelingen worden stap voor stap beschreven.
1.3 Info op het toestel
| Symbool Betekenis | |
| Toestel niet afdekken | |
1.4 Maateenheden

Info
Tenzij anders vermeld, worden alle maten in milli- meters aangegeven.
2. Veiligheid
2.1 Voorgeschreven gebruik
Het toestel is bestemd voor gebruik in een huishoudelijke omgeving. Het kan veilig bediend worden door personen die daarover niet geïnstrueerd zijn. Het toestel kan ook buiten het huishouden gebruikt worden, bijv. in een klein bedrijf, voor zover het op dezelfde wijze gebruikt wordt.
Elk ander gebruik geldt als niet reglementair gebruik. Tot gebruik conform de voorschriften behoort ook het in acht nemen van deze handleiding evenals de handleidingen voor de gebruikte accessoires.
2.2 Algemene veiligheidsaanwijzingen

WAARSCHUWING letsel
- Houd kinderen jonger dan 3 jaar uit de buurt van het toestel, wanneer er niet voortdurend toezicht is.
- Het toestel kan door kinderen van 3 tot 7 jaar worden in- en uitgeschakeld, wanneer er toe-zicht op hen gehouden wordt, of wanneer ze met betrekking tot het veilige gebruik van het toestel geïnstrueerd zijn en de gevaren die daaruit ontstaan, begrepen hebben. Voorwaarde hiervoor is dat het toestel gemonteerd is zoals beschreven.
3- tot 7-jarige kinderen mogen niet de stekker in het stopcontact steken en mogen het toestel niet regelen. - Het toestel kan door kinderen vanaf 8 jaar, alsmede door personen met fysieke, sensorische of geestelijke beperkingen of met een gebrek aan ervaring en kennis gebruikt worden wanneer er toezicht op hen gehouden wordt, of wanneer ze met betrekking tot het veilige gebruik van het toestel geïnstrueerd zijn en de gevaren die daaruit ontstaan, begrepen hebben.
- Kinderen mogen niet met het toestel spelen. Kinderen mogen zonder toezicht geen reiniging of gebruikersonderhoud uitvoeren.

WAARSCHUWING letsel
Het toestel is niet voorzien van een regeling voor kamertemperatuur.
Als u het toestel met een timer wordt gebruikt, kan deze de ruimte ongeregeld steeds verder verwarmen.
Wanneer u het toestel in een kleine ruimte gebruikt en de daar aanwezige personen niet zelfstandig de ruimte kunnen verlaten, moet worden gezorgd voor voortdurend toezicht.

Gebruik het toestel niet als in de opstelruimte werken worden uitgevoerd als het leggen, slijpen, coaten of reinigen van vloeren met benzine, onderhoud van vloeren (spray, boenwas).

WAARSCHUWING verbranding Delen van het toestel kunnen zeer heet worden en brandwonden veroorzaken. Als er kinderen en hulp-behoevenden aanwezig zijn, is extra voorzichtigheid geboden.

WAARSCHUWING verbranding - Plaats geen objecten op het toestel. - Plaats geen objecten tegen het toestel. - Steek geen voorwerpen tussen het toestel en de wand. - Plaats in de onmiddellijke nabijheid van het toestel evenmin brandbare, ontvlambare of warmte-isolerende objecten of stoffen, zoals wasgoed, dekens, tijdschriften, blikken boenwas of benzine, spuitbussen en dergelijke.

Toestel niet afdekken Zelfs lokaal afdekken, bijv. met een handdoek, kan tot oververhitting en beschadiging van het verwarmingselement leiden.
- Dek het toestel niet af. - Kleef niets op het toestel (bijv. decoratiefolie, post-its).

Materièle schade Houd rekening met de minimumafstanden (zie hoofdstuk "Technische gegevens/Minimumafstanden").

Materiële schade Als de ESG-plaat of andere componenten van het toestel beschadigd zijn, mag het toestel niet in werking worden gesteld.
2.3 Keurmerk
Zie het typeplaatje op het toestel. Het typeplaatje bevindt zich aan de buitenzijde van het toestel nabij de werk- schakelaar.
3. Toestelbeschrijving
Het toestel is een aan de muur bevestigde, elektrisch verwarmde plaat van eenlaagsveiligheidsglas (ESG).
Op de achterzijde van de ESG-plaat is een verwarmingsmat gekleefd, die de ESG-plaat gelijkmatig opwarmt.
De in de ESG-plaat opgeslagen warmte wordt in de vorm van infrarode straling afgegeven. Op die manier worden op gelijkmatige wijze personen en voorwerpen in de ruimte verwarmd zonder luchtwervelingen.

Info Plaats geen voorwerpen tussen het toestel en de te verwarmen personen. Daardoor zouden de voorwerpen verwarmd worden en niet de personen.
3.1 ESG-plaat

Materiële schade Als de ESG-plaat beschadigd is, mag het toestel niet in werking gesteld worden.
De voorzijde van het toestel is gemaakt van 6 mm dik ESG-glas.
Bij beschadiging barst het ESG-glas in vele kleine stukken met stompe randen, zodat het gevaar op letsels tot een minimum beperkt blijft. Bij een uiterst klein aandeel kan ESG ook zonder externe invloeden spontaan breken.
- Vermijd elke belasting van de ESG-plaat, bijvoorbeeld doordat personen of voorwerpen tegen de ESG-plaat leunen. - Let er bij de keuze van de montagelocatie op dat er bij een spontane breuk geen personen of voorwerpen schade kunnen oplopen.

Info Ruw spiegelglas en gegoten glas zijn onderworpen aan een individueel fabricageproces. Kogel- of lijnvormige insluitingen en belvorming door rolwisseling en patroonverschuiving zijn niet uit te sluiten en vormen dus geen kwaliteitsgebrek.
4. Instellingen

VOORZICHTIG verbranding Vermijd bij het bedienen van de werkschakelaar elk contact met de eventueel hete ESG-plaat.

Info Afhankelijk van de grootte en de uitvoering van het toestel kan het enige tijd duren tot het toestel zijn bedrijfstemperatuur heeft bereikt.

Info Bij de eerste ingebruikname kan er kortstondig geurontwikkeling optreden.
» Zorg voor voldoende ventilatie van de ruimte (zet bijvoorbeeld een klapraam open).
De werkschakelaar zit aan de buitenkant van het toestel.

» Schakel het toestel met de werkschakelaar in of uit. Als de bedrijfstemperatuur is bereikt, verwarmt het toestel constant met circa 100 °C. U kunt het toestel optioneel gebruiken met een op de wand gemonteerde kamerthermostaat.
» Houd rekening met de bedienings- en installatiehandleiding van de aangesloten kamerthermostaat.
5. Reiniging en onderhoud
- Reinig het toestel in afgekoelde toestand met een vochtige doek en eventueel in de handel verkrijgbare glasreiniger.
- Gebruik geen schurende of bijtende reinigings- en verzorgingsmiddelen.
6. Problemen verhelpen
| Probleem Oorzaak Oplossing | ||
| Het toestel warmt niet op. | Zekering of aardlek-schakelaar geacti-veerd. | Controleer de bijbehorende zekeringen en de aardlek-schakelaar.Verhelp de oorzaak. |
| Oververhitting. De veiligheidstemperatuurbegrenzer is geactiveerd. | Verhelp de oorzaak. Na enke-le minuten afkoeltijd gaat het toestel weer in werking. | |
Waarschuw de installateur als u de oorzaak zelf niet kunt verhelpen. Om u nog sneller en beter te kunnen helpen deelt u hem het nummer op het typeplaatje mee (000000-0000-000000).
INSTALLATIE
7. Veiligheid
Installatie, ingebruikname, onderhoud en reparatie van het toestel mogen alleen door een gekwalificeerde installateur uitgevoerd worden.
7.1 Algemene veiligheidsaanwijzingen
- Wij waarborgen de goede werking en de bedrijfszekerheid uitsluitend bij gebruik van originele onderdelen en vervangingsonderdelen voor het toestel.
- Bevestig het toestel tegen een loodrechte wand die bestand is tegen een temperatuur van minstens 90 °C.
- Houd de minimale afstanden tot aangrenzende objecten aan (voor minimumafstanden zie hoofdstuk "Technische gegevens/Minimumafstanden").
- Plaats het toestel niet direct onder een stopcontact.
- Kies de montagelocatie dusdanig dat er op het wandoppervlak dat door het toestel wordt afgedekt, geen aansluitdozen geïnstalleerd zijn.
• Als het verwarmingstoestel wordt geïnstalleerd in ruimten met een badkuip en/of douche, houd dan rekening met de veiligheidszone volgens VDE 0100 deel 701 en met de informatie op het typeplaatje van het toestel. De aansluitdoos op het net mag daarbij niet in de veiligheidszones 1 en 2 worden geplaatst. - Plaats het toestel zo, dat schakel- en regelinrichtingen niet kunnen worden aangeraakt door een persoon die in bad zit of onder de douche staat.
- Dimensioneer alle componenten voor het nominaal verbruik van het toestel.
- Let er bij de keuze van de montagelocatie op dat er bij een spontane breuk van de ESG-plaat geen personen of voorwerpen beschadigd kunnen raken.
72 Voorschriften, normen en bepalingen

Info
Neem alle nationale en regionale voorschriften en bepalingen in acht.
8. Toestelbeschrijving
8.1 Inhoud van het pakket
Bij het toestel wordt het volgende geleverd:
- 1 montagebeugel
- GH 300, GH 500: 1 wandconsole
- GH 700, GH 900: 2 wandconsoles
8.2 Toebehoren
- Kamerthermostaat (optioneel)
9. Montage
9.1 Montageplaats

Materièle schade
Houd rekening met de minimumafstanden (zie hoofdstuk "Technische gegevens/Minimumafstanden").

Materièle schade
Het toestel is niet geschikt voor plafondmontage of montage aan schuine vlakken.
- Het toestel is uitsluitend bedoeld voor vaste wandmontage.
- Let erop dat de wand voldoende draagvermogen heeft.
- U kunt het toestel in elke ruimte monteren. In badkamers mag u het toestel alleen in veiligheidszone 2 of hoger monteren.
9.2 Wandmontage

Info
U kunt het toestel zowel verticaal als horizontaal monteren.
De positie van de werkschakelaar fungeert als oriëntatiehulp voor de correcte oriëntatie van het toestel:
- Bij montage in verticale richting bevindt de werkschakelaar zich aan de onderzijde van het toestel.
- Bij montage in horizontale richting bevindt de werkschakelaar zich aan de linker buitenkant van het toestel, gezien vanaf de voorzijde.
9.2.1 Wandconsole
GH 300, GH 500:
Bij het toestel is een wandconsole geleverd.
- De wandconsole dient voor de montage in verticale of horizontale richting.
GH 700, GH 900:
Bij het toestel zijn twee wandconsoles van verschillende lengte geleverd.
- De korte wandconsole dient voor de montage in verticale richting.
- De lange wandconsole dient voor de montage in horizontale richting.
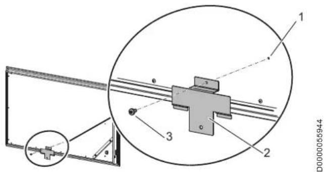
9.2.2 Montagebeugel
Om te voorkomen dat het op de wand bevestigde toestel verschoven of gekanteld wordt, is een montagebeugel bij het toestel geleverd.
Aan de achterzijde van het toestel zijn twee bevestigingsgaten voor de montagebeugel voorzien. De bevestigingsgaten zijn telkens voorzien van een bevestigingsschroef voor de montagebeugel.

1 voorgestanst bevestigingsgat
2 Montagebeugel
3 Bevestigingsschroef
- Wanneer u het toestel in horizontale richting monteert, bevestigt u de montagebeugel aan de lange zijde van het toestel.
- Wanneer u het toestel in verticale richting monteert, bevestigt u de montagebeugel aan de korte zijde van het toestel.
9.2.3 Montage van de wandconsole

Info
De wandconsole fungeert als boorsjabloon om de bevestigingsgaten te markeren.
» Bevestig de wandconsole via telkens een horizontaal en een verticaal slobgat aan de montagewand.

Info
De schroeven en pluggen voor de wandbevestiging zijn niet meegeleverd.
» Gebruik alleen geschikt bevestigingsmateriaal.

text_image
65 D0000058661» Bepaal de positie van het toestel. Markeer het middelpunt van de bovenzijde van het toestel op de montagewand.
» Markeer, uitgaand van het middelpunt van de bovenzijde van het toestel, de bevestigingsgaten voor de wandconsole op de montagewand.
» Boor de bevestigingsgaten voor de wandconsole.
» Bevestig de wandconsole op de montagewand.
» Regel de positie van de wandconsole bij tot ze perfect horizontaal staat. Dankzij het horizontale en verticale slobgat in de wandconsole kan het verloop van de bevestigingsboring worden gecompenseerd.
9.2.4 Montage van de montagebeugel

text_image
1 D00000583101 Montagebeugel
» Bevestig de montagebeugel met de beschikbare bevestigingsschroef op de achterkant van het toestel.

text_image
1 2 D00000559411 Wandconsole
2 Montagebeugel

Materièle schade
Let erop dat de aansluitkabel niet gekneld of beschadigd raakt wanneer u het toestel inhangt. Het is aan te bevelen de aansluitkabel voor de wandmontage volledig uit te trekken.
» Hang het toestel in het midden op de wandconsole.
» Markeer het bevestigingsgat voor de montagebeugel op de montagewand.
» Neem het toestel van de wandconsole af.
» Boor het bevestigingsgat voor de montagebeugel.
9.2.5 Het toestel inhangen
» Hang het toestel in het midden op de wandconsole.
» Vergrendel het toestel door de montagebeugel vast te schroeven op de montagewand.
9.3 Elektrische aansluiting

WAARSCHUWING elektrische schok Voer alle werkzaamheden voor elektriciteitsaansluitingen en montage uit conform de voorschriften.

Materiële schade De aangegeven spanning moet overeenkomen met de netspanning.
» Houd rekening met de gegevens op het typeplatje.

Materiële schade Het toestel is niet geschikt voor vast geplaatste elektriciteitskabels.
» Sluit het toestel aan op een geschikte toestelaansluitdoos.

Info De stroomkabel mag bij beschadiging of vervanging alleen worden vervangen door een origineel onderdeel en door een installateur die daartoe door de fabrikant gemachtigd is.
Het toestel wordt stekkerklaar geleverd. De volgende elektrische aansluitingen zijn mogelijk:
| GH 300-900 | |
| Aansluiting op een vrij toegankelijk, geaard stop-contact met overeenkomstige stekker | X |
| Vaste aansluiting aan een contactdoos met aarding | X |
9.3.1 Aansluiting op een geaard stopcontact
» Steek de netstekker van het toestel in een geschikt geaard stopcontact.

Info U kunt de overtollige aansluitkabel terugschuiven in de holle ruimte tussen de achterkant van het toestel en de montagewand.
9.3.2 Vaste aansluiting

WAARSCHUWING elektrische schok Bij een vaste aansluiting moet het toestel met een afstand van ten minste 3 mm op alle polen van het stroomnet kunnen worden losgekoppeld.

Materiële schade - Kort de stroomkabel zo in, dat hij direct naar de toestelaansluitdoos loopt.
Zorg er bij het inkorten van de stroomkabel voor dat het toestel nog probleemloos van de montagewand kan worden afgenomen.
» Kort de netaansluitkabel af door de stekker af te snijden.
» Sluit de stroomkabel aan op een geschikte toestelaansluitdoos.
10. Overdracht
» Leg aan de gebruiker uit hoe het toestel werkt. Schenk daarbij vooral aandacht aan de veiligheidsaanwijzingen. » Geef de bedienings- en installatiehandleiding aan de nieuwe gebruiker.
11. Onderhoud
Het toestel bevat geen onderdelen die onderhoud vergen.
12.1 Afmetingen en aansluitingen

text_image
a20 a10 a30 D0000055939| GH 300 | GH 500 | GH 700 | GH 900 | ||||
| a10 | Toestel | Hoogte | mm | 600 | 600 | 600 | 600 |
| a20 | Toestel | Breedte | mm | 600 | 1000 | 1400 | 1800 |
| a30 | Toestel | Diepte | mm | 49 | 49 | 49 | 49 |
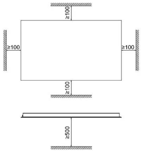
12.2 Minimumafstanden

text_image
≥100 ≥100 ≥100 ≥500D0000055940
12.3 Gegevenstabel
| GH 300 | S | GH 500 S | GH 700 S | GH 900 S | GH 300 W | GH 500 W | GH 700 W | GH 900 W | GH 300 K | GH 500 K | GH 700 K | GH 900 K | |
| 234434 | 234435 | 234436 | 234437 | 234438 | 234439 | 234440 | 234441 | 234442 | 234443 | 234444 | 234445 | ||
| Elektrische gegevens | |||||||||||||
| aansluitvermogen | kW | 0,28 | 0,47 | 0,66 | 0,85 | 0,28 | 0,47 | 0,66 | 0,85 | 0,28 | 0,45 | 0,635 | 0,82 |
| netaansluiting | 1/N/PE ~ 230 V 50Hz | 1/N/PE ~ 230 V 50Hz | 1/N/PE ~ 230 V 50Hz | 1/N/PE ~ 230 V 50Hz | 1/N/PE ~ 230 V 50Hz | 1/N/PE ~ 230 V 50Hz | 1/N/PE ~ 230 V 50Hz | 1/N/PE ~ 23O V 50Hz | 1/N/PE ~ 230 V 50Hz | 1/N/PE ~ 230 V 50Hz | 1/N/PE ~ 230 V 50Hz | 1/N/PE ~ 230 V 50Hz | |
| Afmetingen | |||||||||||||
| Hoogte | mm | 600 | 600 | 600 | 600 | 600 | 600 | 600 | 600 | 600 | 600 | 600 | 600 |
| Breedte | mm | 600 | 1000 | 1400 | 1800 | 600 | 1000 | 1400 | 1800 | 600 | 1000 | 1400 | 1800 |
| Diepte | mm | 49 | 49 | 49 | 49 | 49 | 49 | 49 | 49 | 49 | 49 | 49 | 49 |
| Gewichten | |||||||||||||
| Gewicht | kg | 7,8 | 12,9 | 18,2 | 23,4 | 7,8 | 12,9 | 18,2 | 23,4 | 7,8 | 12,9 | 18,2 | 23,4 |
| Uitvoeringen | |||||||||||||
| Kleur | zwart | zwart | zwart | zwart | wit | wit | wit | wit | spiegel | spiegel | spiegel | spiegel | |
| Beschermings-graad (IP) | IP24 | IP24 | IP24 | IP24 | IP24 | IP24 | IP24 | IP24 | IP24 | IP24 | IP24 | IP24 | |
| Beveiligingsklas-se | | | | | | | | | | | | | | | | | | | | | | | | | |
Garantie
Voor toestellen die buiten Duitsland zijn gekocht, gelden de garantievoorwaarden van onze Duitse ondernemingen niet. Bovendien kan in landen waar één van onze dochtermaatschappijen verantwoordelijk is voor de verkoop van onze producten, alleen garantie worden verleend door deze dochtermaatschappij. Een dergelijk garantie wordt alleen verstrekt, wanneer de dochtermaatschappij eigen garantievoorwaarden heeft gepubliceerd. In andere situaties wordt er geen garantie verleend.
Voor toestellen die in landen worden gekocht waar wij geen dochtermaatschappijen hebben die onze producten verkopen, verlenen wij geen garantie. Een eventueel door de importeur verzekerde garantie blijft onverminderd van kracht.
Milieu en recycling
Wij verzoeken u ons te helpen ons milieu te beschermen. Doe de materialen na het gebruik weg overeenkomstig de nationale voorschriften.
1702 Groot-Bijgaarden
Tel. 02 42322-22
Fax 02 42322-12
Czech Republic
STIEBEL ELTRON spol. s r.o.
K Hájům 946
SimpelGids