GH 500 W - Chauffage AEG - Notice d'utilisation et mode d'emploi gratuit
Retrouvez gratuitement la notice de l'appareil GH 500 W AEG au format PDF.
| Caractéristiques techniques | Puissance : 500 W, Type : Chauffage électrique, Dimensions : 30 x 20 x 15 cm, Poids : 1,5 kg |
|---|---|
| Utilisation | Idéal pour le chauffage d'appoint dans les petites pièces, facile à transporter grâce à son poids léger. |
| Maintenance et réparation | Nettoyage régulier de la grille d'aération recommandé, vérifier le cordon d'alimentation pour des signes d'usure. |
| Sécurité | Équipé d'un système de protection contre la surchauffe, ne pas couvrir l'appareil pendant son utilisation. |
| Informations générales | Garantie de 2 ans, consommation énergétique modérée, fonctionnement silencieux. |
FOIRE AUX QUESTIONS - GH 500 W AEG
Téléchargez la notice de votre Chauffage au format PDF gratuitement ! Retrouvez votre notice GH 500 W - AEG et reprennez votre appareil électronique en main. Sur cette page sont publiés tous les documents nécessaires à l'utilisation de votre appareil GH 500 W de la marque AEG.
MODE D'EMPLOI GH 500 W AEG
Chauffage à chaleur rayonnante
Utilisation et Installation 18
Stralingsverwarming
9.2.4 Montage des Haltewinkels

text_image
1 D00000583101 Haltewinkel
- Remarques générales....19
- Sécurité....19
- Description de l'appareil....20
- Réglages....20
- Nettoyage, entretien et maintenance ..... 21
- Aide au dépannage....21
INSTALLATION
- Sécurité....21
- Description de l'appareil....21
- Montage 22
- Remise de l'appareil à l'utilisateur 23
- Maintenance....23
- Données techniques .....23
GARANTIE
ENVIRONNEMENT ET RECYCLAGE
REMARQUES PARTICULIÈRES
• Veuillez tenir les enfants de moins de 3 ans éloignés de l'appareil s'ils ne sont pas sous constante surveillance.
• L'appareil peut être allumé et éteint par des enfants âgés de 3 à 7 ans s'ils sont sous surveillance ou s'ils ont été formés à son utilisation en toute sécurité et qu'ils ont compris les dangers encourus. La pose de l'appareil en conformité aux instructions est une condition préalable incontournable. Il est interdit aux enfants de 3 à 7 ans de brancher la prise électrique ou d'intervenir sur la régulation de l'appareil.
• L'appareil peut être utilisé par des enfants de 8 ans et plus ainsi que par des personnes aux facultés physiques, sensorielles ou mentales réduites ou par des personnes sans expérience sous surveillance ou après formation à l'utilisation en toute sécurité de l'appareil si les dangers potentiels ont été compris.
- Ne laissez pas des enfants jouer avec l'appareil. Ni le nettoyage ni la maintenance relevant de l'utilisateur ne doivent être effectués par des enfants sans surveillance.
• L'appareil n'est équipé d'aucun dispositif de régulation de la température ambiante. Si vous utilisez l'appareil dans des pièces de petite taille et que les personnes qui s'y trouvent ne peuvent pas les quitter sans assistance, il convient d'assurer une surveillance permanente.
° Certaines parties de l'appareil peuvent être à très haute température et causer des brû-lures.
La présence d'enfants ou de personnes vulnérables requiert une attention particulière.
- Ne couvrez pas l'appareil.
• N'installez pas l'appareil directement sous une prise électrique murale.
- Placez l'appareil de sorte que les dispositifs de commutation et de régulation ne puissent être touchés par les personnes se trouvant dans la baignoire ou la douche.
• En cas de raccordement fixe, l'appareil doit pouvoir être déconnecté du secteur sur tous les pôles par un dispositif de coupure ayant une ouverture minimale des contacts de 3 mm.
• En cas de détérioration ou de changement du câble d'alimentation, celui-ci doit uniquement être remplacé par une pièce de rechange d'origine, par un installateur agréé par le fabricant.
• Fixez l'appareil comme indiqué dans le chapitre « Installation / montage ».
UTILISATION
1. Remarques générales
Les chapitres « Remarques particulières » et « Utilisation » s'adressent aux utilisateurs de l'appareil et aux installateurs.
Le chapitre « Installation » s'adresse aux installateurs.

Remarque
Lisez attentivement cette notice avant utilisation et conservez-la.
Le cas échéant, veuillez remettre cette notice au nouvel utilisateur.
1.1 Consignes de sécurité
1.1.1 Structure des consignes de sécurité

MENTION D'AVERTISSEMENT Nature du danger Sont indiqués ici les risques éventuellement encourus en cas de non-respect de la consigne de sécurité.
» Sont indiquées ici les mesures permettant le pallier le danger.
1.1.2 Symboles, nature du danger
| Symbole Nature du danger | |
| Blessure | |
| Électrocution | |
| Brûlure(brûlure, ébouillantement) | |
1.1.3 Mentions d'avertissement
| MENTION D'AVERTISSE-MENT | Signification |
| DANGER | Caractérise des remarques dont le non-respect entraîne de graves lésions, voire la mort. |
| AVERTISSE-MENT | Caractérise des remarques dont le non-respect peut entraîner de graves lésions, voire la mort. |
| ATTENTION Caractérise des remarques dont le non-respect peut entraîner des lésions légères ou moyennement graves. | |
1.2 Autres symboles utilisés dans cette documentation

Remarque
Le symbole ci-contre caractérise des remarques générales.
» Lisez attentivement les remarques.
| Symbole Signification | |
| Dommages matérielsDégâts induits, dommages causés à l'appareil, à l'environnement | |
| Recyclage de l'appareil | |
» Ce symbole indique que vous devez intervenir. Les actions nécessaires sont décrites étape par étape.
1.3 Remarques apposées sur l'appareil
| Symbole Signification | |
| Ne pas couvrir l'appareil | |
1.4 Unités de mesure

Remarque
Sauf indication contraire, toutes les cotes sont indiquées en millimètres.
2. Sécurité
2.1 Utilisation conforme
L'appareil est destiné à une utilisation domestique. Il peut être utilisé sans risque par des personnes qui ne disposent pas de connaissances techniques particulières. L'appareil peut également être utilisé dans un environnement non domestique, par exemple dans de petites entreprises, à condition que son utilisation soit du même ordre.
Tout autre emploi est considéré comme non conforme. Une utilisation conforme de l'appareil implique également le respect de cette notice et de celles des accessoires utilisés.
2.2 Consignes de sécurité générales

AVERTISSEMENT Blessure
- Veuillez tenir les enfants de moins de 3 ans éloignés de l'appareil s'ils ne sont pas sous constante surveillance.
L'appareil peut être allumé et éteint par des enfants âgés de 3 à 7 ans s'ils sont sous surveillance ou s'ils ont été formés à son utilisation en toute sécurité et qu'ils ont compris les dangers encourus. La pose de l'appareil en conformité aux instructions est une condition préalable incontournable.
Il est interdit aux enfants de 3 à 7 ans de brancher la prise électrique ou d'intervenir sur la régulation de l'appareil.
L'appareil peut être utilisé par des enfants de 8 ans et plus ainsi que par des personnes aux facultés physiques, sensorielles ou mentales réduites ou par des personnes sans expérience sous surveillance ou après formation à l'utilisation en toute sécurité de l'appareil si les dangers potentiels ont été compris.
- Ne laissez pas des enfants jouer avec l'appareil. Ni le nettoyage ni la maintenance relevant de l'utilisateur ne doivent être effectués par des enfants sans surveillance.

AVERTISSEMENT Blessure
L'appareil n'est équipé d'aucun dispositif de régulation de la température ambiante.
Si vous utilisez l'appareil avec une horloge de programmation, il peut chauffer le local indéfiniment en cas de dérèglement.
Si vous utilisez l'appareil dans des pièces de petite taille et que les personnes qui s'y trouvent ne peuvent pas les quitter sans assistance, il convient d'assurer une surveillance permanente.

AVERTISSEMENT Brûlure
N'utilisez pas l'appareil si des travaux de pose, de ponçage, de vitrification, de nettoyage à l'essence, d'entretien des planchers (aérosol, encaustique) ou d'autres travaux similaires sont réalisés dans le local d'implantation.

AVERTISSEMENT Brûlure
Certaines parties de l'appareil peuvent être à très haute température et causer des brûlures. La présence d'enfants ou de personnes vulnérables requiert une attention particulière.

AVERTISSEMENT Brûlure
- Ne posez aucun objet sur l'appareil.
• N'appuyez aucun objet contre l'appareil.
• N'intercalez pas d'objet entre l'appareil et le mur. - Ne posez ni objets, ni matériaux combustibles, inflammables ou thermo-isolants, tels que du linge, des couvertures, des journaux, des récipients contenant de l'encaustique ou de l'essence, des bombes aérosols ou d'autres produits similaires, à proximité immédiate de l'appareil.

Ne pas couvrir l'appareil
Si l'appareil est recouvert même localement, par une serviette par exemple, cela peut entraîner une surchauffe et une détérioration de l'élément de chauffage.
- Ne couvrez pas l'appareil.
- Ne collez rien sur l'appareil (film décoratif ou notes adhésives par exemple).

Dommages matériels
Respectez les distances minimales (voir le chapitre « Données techniques / Distances minimales »).

Dommages matériels
Si la plaque ESG ou d'autres composants de l'appareil sont endommagés, vous ne devez pas mettre ce dernier en service.
2.3 Label de conformité
Voir la plaque signalétique sur l'appareil. La plaque signalétique se trouve sur le bord extérieur de l'appareil, à proximité du sélecteur de mode.
3. Description de l'appareil
L'appareil est une plaque murale en verre de sécurité trempé (ESG) chauffée électriquement.
Le dos de la plaque ESG est revêtu d'un tapis chauffant qui chauffe uniformément la plaque.
La chaleur accumulée dans la plaque ESG est émise sous la forme d'un rayonnement infrarouge. Ainsi, les personnes comme les objets qui se trouvent dans la pièce sont réchauffés sans tourbillonnement de l'air.

Remarque
Ne placez aucun objet entre l'appareil et les personnes à réchauffer. Sinon, seuls les objets, et non les personnes, seraient réchauffés.
3.1 Plaque ESG

Dommages matériels
Si la plaque ESG est endommagée, vous ne devez pas mettre l'appareil en service.
La face avant de l'appareil est constituée d'un verre de sécurité trempé de 6 mm d'épaisseur.
En cas de bris, le verre de sécurité trempé se casse en une multitude de petits morceaux non coupants de manière à limiter le risque de blessures. Dans des cas très exceptionnels, le verre de sécurité trempé peut également se briser spontanément sans aucune influence extérieure.
- Évitez toute contrainte exercée sur la plaque ESG, par exemple par l'appui d'objets ou de personnes.
- Lors du choix de l'emplacement de montage, veillez à ce qu'une casse spontanée éventuelle ne puisse pas endommager des objets ou blesser des personnes.

Remarque
Le verre à glace brute et le verre coulé sont soumis à un processus de fabrication spécifique. Des inclusions sphériques ou linéaires et un cloquage en raison d'un changement de cylindre et d'un décalage de motif sont possibles et ne constituent en aucun cas un défaut de qualité.
4. Réglages

ATTENTION Brûlure
Lors de l'actionnement du sélecteur de mode, évitez tout contact avec la plaque ESG si elle est chaude.

Remarque
Selon les dimensions et la version de l'appareil, celui-ci peut mettre un certain temps avant d'atteindre sa température de service.

Remarque
Des odeurs peuvent temporairement provenir de l'appareil lors de la première mise en service.
» Assurez une aération suffisante de la pièce (par exemple en entrebâillant une fenêtre).
Le sélecteur de mode se trouve sur le bord extérieur de l'appareil.

» Mettez l'appareil en marche ou à l'arrêt en actionnant le sélecteur de mode.
Une fois la température de service atteinte, l'appareil chauffe à un niveau constant d'environ 100 °C.
Vous avez également la possibilité d'utiliser l'appareil avec un régulateur de température ambiante à montage mural.
» Respectez les instructions d'utilisation et d'installation du régulateur de température ambiante raccordé.
5. Nettoyage, entretien et maintenance
Nettoyez l'appareil lorsqu'il est froid avec un chiffon humide et éventuellement un nettoyant pour vitres du commerce.
• N'utilisez aucun produit de nettoyage ou d'entretien abrasif ou corrosif.
6. Aide au dépannage
| Problème Cause Dépannage | ||
| L'appareil ne chauffe pas. | Un disjoncteur ou le fusible s'est déclenché. | Contrôlez les disjoncteurs correspondants et la protection.Supprimez l'origine de l'erreur. |
| Surchauffe. Le limiteur de sécurité s'est déclenché. | Supprimez l'origine de l'erreur. L'appareil se remet en marche après un temps de refroidissement de quelques minutes. | |
Appelez votre installateur si vous ne réussissez pas à résoudre le problème. Donnez-lui le numéro indiqué sur la plaque signalétique pour qu'il puisse vous aider plus rapidement et plus efficacement (000000-0000-000000).
INSTALLATION
7. Sécurité
L'installation, la mise en service, la maintenance et les réparations de cet appareil ne doivent être effectuées que par un installateur qualifié.
7.1 Consignes de sécurité générales
- Nous ne garantissons le bon fonctionnement et la sécurité de l'appareil que si des accessoires et pièces de rechange d'origine sont utilisés.
- Fixez l'appareil sur une paroi verticale capable de résister à une température d'au moins 90 °C.
Respectez les distances minimales par rapport aux objets avoisinants (voir le chapitre « Données techniques / Distances minimales »). - N'installez pas l'appareil directement sous une prise électrique murale.
- Choisissez l'emplacement de montage en veillant à ce qu'aucune boîte de raccordement ne soit installée sur la surface recouverte par l'appareil.
Lors de l'installation de l'appareil dans des pièces avec baignoire et/ou douche, tenez compte de la zone de protection selon les prescriptions VDE 0100, partie 701, en conformité avec les indications de la plaque signalétique de l'appareil. La boîte de jonction ne doit pas dans ce cas être installée dans les zones de protection 1 et 2. - Placez l'appareil de sorte que les dispositifs de commutation et de régulation ne puissent être touchés par les personnes se trouvant dans la baignoire ou la douche.
• Dimensionnez tous les équipements en fonction de la puissance absorbée nominale des appareils. - Lors du choix de l'emplacement de montage, veillez à ce qu'une casse spontanée éventuelle de la plaque ESG ne puisse pas endommager des objets ou blesser des personnes.
7.2 Prescriptions, normes et réglementations

Remarque
Respectez toutes les prescriptions et réglementations nationales et locales en vigueur.
8. Description de l'appareil
8.1 Fourniture
Sont fournis avec l'appareil :
- 1 équerre de fixation
• GH 300, GH 500: 1 console murale - GH 700, GH 900: 2 consoles murales
8.2 Accessoires
• Régulateur de température ambiante (en option)
9. Montage
9.1 Lieu d'installation

Dommages matériels
Respectez les distances minimales (voir le chapitre
« Données techniques / Distances minimales »).

Dommages matériels
L'appareil n'est pas adapté à un montage au plafond ou sur des plans inclinés.
• L'appareil est uniquement conçu pour un montage fixe au mur.
• Assurez-vous que le mur disponible soit suffisamment porteur.
- Vous pouvez installer l'appareil dans n'importe quelle pièce. Dans les salles de bains, vous devez uniquement le monter dans la zone de protection 2 ou d'un niveau supérieur.
9.2 Montage mural

Remarque
Vous pouvez monter l'appareil à la verticale ou à l'horizontale.
La position du sélecteur de mode aide à s'orienter pour l'alignement correct de l'appareil :
En cas de montage à la verticale, le sélecteur de mode se trouve sur le bord inférieur de l'appareil.
- En cas de montage à l'horizontale, le sélecteur de mode se trouve sur le bord extérieur gauche de l'appareil (vu de face).
9.2.1 Console murale
GH 300, GH 500:
Une console murale est fournie avec l'appareil.
- La console murale sert au montage en position verticale ou horizontale.
GH 700, GH 900:
Deux consoles murales de longueur différente sont four- nies avec l'appareil.
- La console murale la plus courte sert au montage en position verticale.
• La console murale la plus longue sert au montage en position horizontale.
9.2.2 Équerre de fixation
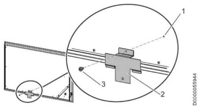
Pour éviter tout déplacement ou basculement de l'appareil suspendu, une équerre de fixation est fournie avec l'appareil.
Deux trous de fixation destinés à l'équerre sont pré-perforés sur la paroi arrière de l'appareil. Une vis de fixation de l'équerre est prévue pour chacun des trous.

text_image
1 2 3 D00000559441 Trou de fixation pré-perforé
2 Équerre de fixation
3 Vis de fixation
• Si vous montez l'appareil à l'horizontale, fixez l'équerre sur le bord long de l'appareil.
- Si vous montez l'appareil à la verticale, fixez l'équerre sur le bord court de l'appareil.
9.2.3 Montage de la console murale

Remarque
La console murale sert de gabarit de perçage pour le marquage des trous de fixation.
» Fixez la console sur le mur par un trou oblong vertical et un trou oblong horizontal.

Remarque
Les vis et chevilles pour la fixation murale ne sont pas fournies.
» Utilisez un matériel de fixation approprié.

text_image
65 D0000058661» Déterminez la position de l'appareil. Marquez le point central du bord supérieur de l'appareil sur le mur.
» En partant de ce point central, marquez les trous de fixation de la console murale sur le mur.
» Percez les trous de fixation pour la console murale.
» Fixez la console murale sur le mur.
» Ajustez la position de la console murale jusqu'à ce qu'elle soit parfaitement horizontale. Il est possible de compenser un décalage du trou de fixation à l'aide du trou oblong horizontal et du trou oblong vertical de la console murale.
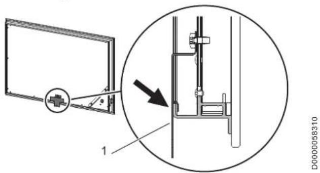
9.2.4 Montage de l'équerre de fixation

text_image
1 D00000583101 Équerre de fixation
» Fixez l'équerre avec la vis de fixation fournie sur la paroi arrière de l'appareil.

1 Console murale
2 Équerre de fixation
Dommages matériels
Lors de la suspension de l'appareil, veillez à ce que le câble de raccordement ne soit pas coincé ou endommagé.
Nous recommandons de retirer complètement le câble de raccordement avant le montage mural.
» Suspendez l'appareil au centre de la console murale.
» Marquez le trou de fixation de l'équerre sur le mur.
» Décrochez l'appareil de la console murale.
» Percez le trou de fixation de l'équerre.
9.2.5 Suspension de l'appareil
» Suspendez l'appareil au centre de la console murale.
» Bloquez l'appareil en vissant l'équerre de fixation sur le mur.
9.3 Raccordement électrique

AVERTISSEMENT Électrocution
Exécutez tous les travaux de branchement et d'installation électriques conformément aux prescriptions.
Dommages matériels
La tension indiquée doit correspondre à la tension du secteur.
» Respectez les indications de la plaque signalétique.
Dommages matériels
L'appareil n'est pas conçu pour des câbles électriques fixes.
» Raccordez l'appareil à une boîte de raccordement adaptée.
Remarque
En cas de détérioration ou de changement du câble d'alimentation, celui-ci doit uniquement être remplacé par une pièce de rechange d'origine, par un installateur agréé par le fabricant.
L'appareil est livré prêt à brancher. Les possibilités de raccordement électrique suivantes sont autorisées :
| GH 300-900 | |
| Branchement sur une prise secteur avec terre facilement accessible avec fiche correspondante | X |
| Raccordement fixe à une boîte de raccordement avec conducteur de mise à la terre | X |
9.3.1 Raccordement à une prise secteur avec terre
» Branchez la fiche d'alimentation de l'appareil dans une prise secteur avec terre adaptée.
Remarque
Vous pouvez repousser le câble de raccordement en excès dans l'espace vide existant entre la face arrière de l'appareil et le mur.
9.3.2 Raccordement fixe

AVERTISSEMENT Électrocution
En cas de raccordement fixe, l'appareil doit pouvoir être déconnecté du secteur sur tous les pôles par un dispositif de coupure ayant une ouverture minimale des contacts de 3 mm.
Dommages matériels
Raccourcissez le câble d'alimentation de manière à ce qu'il mène directement à la boîte de raccordement.
Lors du raccourcissement du câble d'alimentation, assurez-vous de pouvoir encore décrocher facilement l'appareil du mur.
» Pour raccourcir le câble d'alimentation, coupez la fiche.
» Raccordez le câble d'alimentation à une boîte de raccordement adaptée.
10. Remise de l'appareil à l'utilisateur
» Expliquez les différentes fonctions de l'appareil à l'utilisateur. Attirez particulièrement son attention sur les consignes de sécurité.
» Remettez les notices d'utilisation et d'installation à l'utilisateur.
11. Maintenance
Cet appareil ne contient aucune pièce nécessitant une maintenance.
12. Données techniques
12.1 Cotes et raccordements

text_image
a20 a10 a30 D0000055939| GH 300 | GH 500 | GH 700 | GH 900 | ||||
| a10 | Appareil | Hauteur | mm | 600 | 600 | 600 | 600 |
| a20 | Appareil | Largeur | mm | 600 | 1000 | 1400 | 1800 |
| a30 | Appareil | Profondeur | mm | 49 | 49 | 49 | 49 |
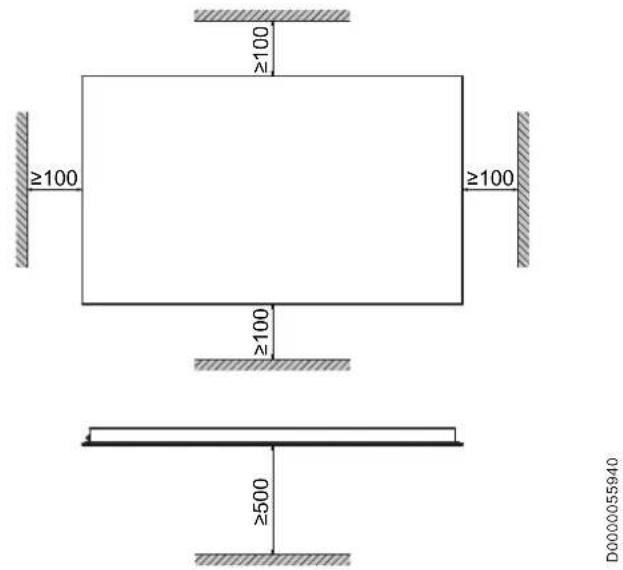
12.2 Distances minimales

text_image
≥100 ≥100 ≥100 ≥500 D000005594012.3 Tableau de données
| GH 300 | S | GH 500 S | GH 700 S | GH 900 S | GH 300 W | GH 500 W | GH 700 W | GH 900 W | GH 300 K | GH 500 K | GH 700 K | GH 900 K | |
| 234434 | 234435 | 234436 | 234437 | 234438 | 234439 | 234440 | 234441 | 234442 | 234443 | 234444 | 234445 | ||
| Données électriques | |||||||||||||
| Puissance de rac-cordement | kW | 0,28 | 0,47 | 0,66 | 0,85 | 0,28 | 0,47 | 0,66 | 0,85 | 0,28 | 0,45 | 0,635 | 0,82 |
| Raccordement secteur | 1/N/PE ~ 230 V 50 Hz | 1/N/PE ~ 230 V 50 Hz | 1/N/PE ~ 230 V 50 Hz | 1/N/PE ~ 230 V 50 Hz | 1/N/PE ~ 230 V 50 Hz | 1/N/PE ~ 230 V 50 Hz | 1/N/PE ~ 230 V 50 Hz | 1/N/PE ~ 23O V 50 Hz | 1/N/PE ~ 230 V 50 Hz | 1/N/PE ~ 230 V 50 Hz | 1/N/PE ~ 230 V 50 Hz | 1/N/PE ~ 230 V 50 Hz | |
| Dimensions | |||||||||||||
| Hauteur | mm | 600 | 600 | 600 | 600 | 600 | 600 | 600 | 600 | 600 | 600 | 600 | 600 |
| Largeur | mm | 600 | 1000 | 1400 | 1800 | 600 | 1000 | 1400 | 1800 | 600 | 1000 | 1400 | 1800 |
| Profondeur | mm | 49 | 49 | 49 | 49 | 49 | 49 | 49 | 49 | 49 | 49 | 49 | 49 |
| Poids | |||||||||||||
| Poids | kg | 7,8 | 12,9 | 18,2 | 23,4 | 7,8 | 12,9 | 18,2 | 23,4 | 7,8 | 12,9 | 18,2 | 23,4 |
| Versions | |||||||||||||
| Couleur | noir | noir | noir | noir | blanc | blanc | blanc | blanc | Miroir | Miroir | Miroir | Miroir | |
| Indice de protec-tion (IP) | IP24 | IP24 | IP24 | IP24 | IP24 | IP24 | IP24 | IP24 | IP24 | IP24 | IP24 | IP24 | |
| Classe de pro-tection | I | I | I | I | I | I | I | I | I | I | I | I | |
Garantie
Les conditions de garantie de nos sociétés allemandes ne s'appliquent pas aux appareils achetés hors d'Allemagne. Au contraire, c'est la filiale chargée de la distribution de nos produits dans le pays qui est seule habilitée à accorder une garantie. Une telle garantie ne pourra cependant être accordée que si la filiale a publié ses propres conditions de garantie. Il ne sera accordé aucune garantie par ailleurs.
Nous n'accordons aucune garantie pour les appareils achetés dans des pays où aucune filiale de notre société ne distribue nos produits. D'éventuelles garanties accordées par l'importateur restent inchangées.
Environnement et recyclage
Merci de contribuer à la préservation de notre environnement. Après usage, procédez à l'élimination des matériaux conformément à la réglementation nationale.
Notice Facile