GH 500 W - Heizung AEG - Kostenlose Bedienungsanleitung
Finden Sie kostenlos die Bedienungsanleitung des Geräts GH 500 W AEG als PDF.
| Technische Merkmale | Leistung: 500 W, Typ: Elektrische Heizung, Abmessungen: 30 x 20 x 15 cm, Gewicht: 1,5 kg |
|---|---|
| Verwendung | Ideal zur Zusatzheizung in kleinen Räumen, dank seines geringen Gewichts leicht zu transportieren. |
| Wartung und Reparatur | Regelmäßige Reinigung des Lüftungsgitters empfohlen, überprüfen Sie das Netzkabel auf Abnutzungserscheinungen. |
| Sicherheit | Ausgestattet mit einem Überhitzungsschutzsystem, das Gerät während des Betriebs nicht abdecken. |
| Allgemeine Informationen | 2 Jahre Garantie, moderater Energieverbrauch, geräuscharmer Betrieb. |
Häufig gestellte Fragen - GH 500 W AEG
Laden Sie die Anleitung für Ihr Heizung kostenlos im PDF-Format! Finden Sie Ihr Handbuch GH 500 W - AEG und nehmen Sie Ihr elektronisches Gerät wieder in die Hand. Auf dieser Seite sind alle Dokumente veröffentlicht, die für die Verwendung Ihres Geräts notwendig sind. GH 500 W von der Marke AEG.
BEDIENUNGSANLEITUNG GH 500 W AEG
Bedienung und Installation 2
Radiant heater
- Allgemeine Hinweise....3
- Sicherheit .... 3
- Gerätebeschreibung 4
- Einstellungen....4
- Reinigung, Pflege und Wartung......4
- Problembehebung 5
INSTALLATION
- Sicherheit ....5
- Gerätebeschreibung 5
- Montage 5
- Übergabe 7
- Wartung 7
- Technische Daten....7
KUNDENDIENST UND GARANTIE
UMWELT UND RECYCLING
BESONDERE HINWEISE
° Halten Sie Kinder unter 3 Jahren von dem Gerät fern, wenn keine ständige Beaufsichtigung gewährleistet ist.
Das Gerät kann von 3- bis 7-jährigen Kindern ein- und ausgeschaltet werden, wenn sie beaufsichtigt werden oder bezüglich des sicheren Gebrauchs des Gerätes unterwiesen wurden und die daraus resultierenden Gefahren verstanden haben. Voraussetzung hierfür ist, dass das Gerät wie beschrieben montiert wurde.
3- bis 7-jährige Kinder dürfen nicht den Stecker in die Steckdose stecken und das Gerät nicht regulieren.
• Das Gerät kann von Kindern ab 8 Jahren sowie von Personen mit verringerten physischen, sensorischen oder mentalen Fähigkeiten oder Mangel an Erfahrung und Wissen benutzt werden, wenn sie beaufsichtigt werden oder bezüglich des sicheren Gebrauchs des Gerätes unterwiesen wurden und die daraus resultierenden Gefahren verstanden haben.
- Kinder dürfen nicht mit dem Gerät spielen. Reinigung und Benutzer-Wartung dürfen nicht von Kindern ohne Beaufsichtigung durchgeführt werden.
• Das Gerät ist nicht mit einer Einrichtung zur Regelung der Raumtemperatur ausgestattet. Wenn Sie das Gerät in kleinen Räumen betreiben und die dort befindlichen Personen nicht selbstständig den Raum verlassen können, stellen Sie eine ständige Überwachung sicher.
- Teile des Gerätes können sehr heiß werden und Verbrennungen verursachen.
Wenn Kinder und schutzbedürftige Personen anwesend sind, ist besondere Vorsicht geboten.
- Decken Sie das Gerät nicht ab.
- Bringen Sie das Gerät nicht unmittelbar unter einer Wandsteckdose an.
- Bringen Sie das Gerät so an, dass die Schalt- und Reglereinrichtungen nicht von einer in der Badewanne oder unter der Dusche befindlichen Person berührt werden können.
- Bei Festanschluss muss das Gerät über eine Trennstrecke von mindestens 3 mm allpolig vom Stromnetz getrennt werden können.
Das Netzanschlusskabel darf bei Beschädigung oder Austausch nur durch einen vom Hersteller berechtigten Fachhandwerker mit dem originalen Ersatzteil ersetzt werden.
Befestigen Sie das Gerät wie in Kapitel „Installation / Montage“ beschrieben.
BEDIENUNG
1. Allgemeine Hinweise
Die Kapitel „Besondere Hinweise“ und „Bedienung“ richten sich an den Gerätebenutzer und den Fachhandwerker. Das Kapitel „Installation“ richtet sich an den Fachhandwerker.

Hinweis
Lesen Sie diese Anleitung vor dem Gebrauch sorgfältig durch und bewahren Sie sie auf.
Geben Sie die Anleitung ggf. an einen nachfolgenden Benutzer weiter.
1.1 Sicherheitshinweise
1.1.1 Aufbau von Sicherheitshinweisen

SIGNALWORT Art der Gefahr
Hier stehen mögliche Folgen bei Nichtbeachtung des Sicherheitshinweises.
» Hier stehen Maßnahmen zur Abwehr der Gefahr.
1.1.2 Symbole, Art der Gefahr
Symbol Art der Gefahr
Verletzung
Stromschlag
Verbrennung
(Verbrennung, Verbrühung)
1.1.3 Signalworte
SIGNALWORT Bedeutung
| GEFAHR | Hinweise, deren Nichtbeachtung schwere Verletzungen oder Tod zur Folge haben. |
| WARNUNG | Hinweise, deren Nichtbeachtung schwere Verletzungen oder Tod zur Folge haben kann. |
| VORSICHT Hinweise, deren Nichtbeachtung zu mittelschweren oder leichten Verletzungen führen kann. | |
1.2 Andere Markierungen in dieser Dokumentation

Hinweis
Allgemeine Hinweise werden mit dem nebenstehenden Symbol gekennzeichnet.
» Lesen Sie die Hinweistexte sorgfältig durch.
Symbol Bedeutung
| Sachschaden(Geräte-, Folge-, Umweltschaden) | |
| Geräteentsorgung |
» Dieses Symbol zeigt Ihnen, dass Sie etwas tun müssen. Die erforderlichen Handlungen werden Schritt für Schritt beschrieben.
1.3 Hinweise am Gerät
Symbol Bedeutung
Gerät nicht abdecken
1.4 Maßeinheiten

Hinweis
Wenn nicht anders angegeben, sind alle Maße in Millimeter.
2. Sicherheit
2.1 Bestimmungsgemäße Verwendung
Das Gerät ist für den Einsatz im häuslichen Umfeld vorgesehen. Es kann von nicht eingewiesenen Personen sicher bedient werden. In nicht häuslicher Umgebung, z. B. im Kleingewerbe, kann das Gerät ebenfalls verwendet werden, sofern die Benutzung in gleicher Weise erfolgt.
Eine andere oder darüber hinausgehende Benutzung gilt als nicht bestimmungsgemäß. Zum bestimmungsgemäßen Gebrauch gehört auch das Beachten dieser Anleitung sowie der Anleitungen für eingesetztes Zubehör.
2.2 Allgemeine Sicherheitshinweise

WARNUNG Verletzung
- Halten Sie Kinder unter 3 Jahren von dem Gerät fern, wenn keine ständige Beaufsichtigung gewährleistet ist.
Das Gerät kann von 3- bis 7-jährigen Kindern ein- und ausgeschaltet werden, wenn sie beaufsichtigt werden oder bezüglich des sicheren Gebrauchs des Gerätes unterwiesen wurden und die daraus resultierenden Gefahren verstanden haben. Voraussetzung hierfür ist, dass das Gerät wie beschrieben montiert wurde.
3- bis 7-jährige Kinder dürfen nicht den Stecker in die Steckdose stecken und das Gerät nicht regulieren.
Das Gerät kann von Kindern ab 8 Jahren sowie von Personen mit verringerten physischen, sensorischen oder mentalen Fähigkeiten oder Mangel an Erfahrung und Wissen benutzt werden, wenn sie beaufsichtigt werden oder bezüglich des sicheren Gebrauchs des Gerätes unterwiesen wurden und die daraus resultierenden Gefahren verstanden haben. - Kinder dürfen nicht mit dem Gerät spielen. Reinigung und Benutzer-Wartung dürfen nicht von Kindern ohne Beaufsichtigung durchgeführt werden.

WARNUNG Verletzung
Das Gerät ist nicht mit einer Einrichtung zur Regelung der Raumtemperatur ausgestattet.
Wenn Sie das Gerät mit einer Zeitschaltuhr betreiben, kann es ungeregelt den Raum immer weiter aufheizen.
Wenn Sie das Gerät in kleinen Räumen betreiben und die dort befindlichen Personen nicht selbstständig den Raum verlassen können, stellen Sie eine ständige Überwachung sicher.

WARNUNG Verbrennung
Betreiben Sie das Gerät nicht, wenn im Aufstellraum Arbeiten wie Verlegen, Schleifen, Versiegeln, Reinigen mit Benzin, Pflegen von Fußböden (Spray, Bohnerwachs) und dergl. durchgeführt werden.

WARNUNG Verbrennung
Teile des Gerätes können sehr heiß werden und Verbrennungen verursachen. Wenn Kinder und schutzbedürftige Personen anwesend sind, ist besondere Vorsicht geboten.

WARNUNG Verbrennung
- Legen Sie keine Gegenstände auf das Gerät.
- Lehnen Sie keine Gegenstände an das Gerät.
- Stecken Sie keine Gegenstände zwischen Gerät und Wand.
Legen Sie keine brennbaren, entzündbaren oder wärmedämmenden Gegenstände oder Stoffe, wie Wäsche, Decken, Zeitschriften, Behälter mit Bohnerwachs oder Benzin, Spraydosen und dergl. in die unmittelbare Nähe des Gerätes.

Gerät nicht abdecken
Bereits lokales Abdecken, z. B. mit einem Handtuch, kann zu Überhitzung und Beschädigung des Heizelements führen.
- Decken Sie das Gerät nicht ab.
Bekleben Sie das Gerät nicht (z. B. mit Dekorfolie, Haftnotizen).

Sachschaden
Beachten Sie die Mindestabstände (siehe Kapitel „Technische Daten / Mindestabstände“).

Sachschaden
Wenn die ESG-Platte oder andere Bauteile des Gerätes beschädigt sind, dürfen Sie das Gerät nicht in Betrieb nehmen.
2.3 Prüfzeichen
Siehe Typenschild am Gerät. Das Typenschild befindet sich an der Geräteaußenkante in der Nähe des Betriebs-schalters.
3. Gerätebeschreibung
Das Gerät ist eine wandhängende elektrisch beheizte Platte aus Einscheiben-Sicherheitsglas (ESG).
Die Rückseite der ESG-Platte ist mit einer Heizmatte beklebt, die die ESG-Platte gleichmäßig erwärmt.
Die in der ESG-Platte gespeicherte Wärme wird in Form von Infrarotstrahlung abgegeben. Somit werden gleichermaßen die im Raum befindlichen Personen und Gegenstände erwärmt, ohne die Luft zu verwirbeln.

Hinweis
Platzieren Sie keine Gegenstände zwischen dem Gerät und den zu erwämmenden Personen. In diesem Fall würden die Gegenstände und nicht die Personen erwärmt.
3.1 ESG-Platte

Sachschaden
Wenn die ESG-Platte beschädigt ist, dürfen Sie das Gerät nicht in Betrieb nehmen.
Die Vorderseite des Gerätes besteht aus 6 mm starkem ESG.
Bei Beschädigung zerspringt ESG in viele kleine Teile mit stumpfen Kanten, sodass die Verletzungsgefahr minimiert wird. Bei einem verschwindend geringen Anteil kann ESG auch ohne äußere Einwirkung spontan brechen.
- Vermeiden Sie jegliche Beanspruchung der ESG-Platte, z. B. durch das Anlehnen von Personen oder Gegenständen.
- Beachten Sie bei der Wahl des Montageortes, dass im Fall eines Spontanbruchs weder Personen noch Gegenstände Schaden nehmen.

Hinweis
Spiegelrohglas und Gussglas unterliegen einem individuellen Herstellungsprozess. Kugel- oder linienförmige Einschlüsse und Bläschenbildung infolge Walzenwechsels und Musterversatz sind nicht auszuschließen und stellen keinen Qualitätsmangel dar.
4. Einstellungen

VORSICHT Verbrennung
Vermeiden Sie beim Betätigen des Betriebsschalters den Kontakt mit der ggf. heißen ESG-Platte.

Hinweis
Je nach Größe und Ausführung des Gerätes kann es eine gewisse Zeit dauern, bis das Gerät seine Betriebstemperatur erreicht.

Hinweis
Bei der Erstinbetriebnahme des Gerätes kann es kurzzeitig zu Geruchsbildung kommen.
» Sorgen Sie für ausreichende Belüftung des Raumes (z. B. gekippte Fensterstellung).
Der Betriebsschalter befindet sich an der Außenkante des Gerätes.

» Schalten Sie das Gerät durch Betätigen des Betriebsschalters ein oder aus.
Nach Erreichen der Betriebstemperatur heizt das Gerät konstant mit ca. 100 °C.
Sie können das Gerät optional mit einem wandmontierten Raumtemperaturregler betreiben.
» Beachten Sie die Bedienungs- und Installationsanleitung des angeschlossenen Raumtemperaturreglers.
5. Reinigung, Pflege und Wartung
- Reinigen Sie das Gerät im abgekühlten Zustand mit einem feuchten Tuch und ggf. handelsüblichem Glasreiniger.
- Verwenden Sie keine scheuernden und ätzenden Reinigungs- und Pflegemittel.
6. Problemebehebung
| Problem Ursache Behebung | ||
| Das Gerät erwärmt sich nicht. | Sicherung oder Schutzschalter haben ausgelöst. | Prüfen Sie die zugehörigen Sicherungen und den Schutzschalter.Beheben Sie die Ursache. |
| Überhitzung. Der Sicherheitstemperaturbegrenzer hat ausgelöst. | Beheben Sie die Ursache.Das Gerät geht nach wenigen Minuten Abkühlzeit wieder in Betrieb. | |
Wenn Sie die Ursache nicht beheben können, rufen Sie den Fachhandwerker. Zur besseren und schnelleren Hilfe teilen Sie ihm die Nummer vom Typenschild mit (000000-0000-000000).
INSTALLATION
7. Sicherheit
Die Installation, Inbetriebnahme sowie Wartung und Reparatur des Gerätes darf nur von einem Fachhandwerker durchgeführt werden.
7.1 Allgemeine Sicherheitshinweise
- Wir gewährleisten eine einwandfreie Funktion und Betriebssicherheit nur, wenn das für das Gerät bestimmte Original-Zubehör und die originalen Ersatzteile verwendet werden.
- Bringen Sie das Gerät an einer senkrechten, bis mindestens 90 °C temperaturbeständigen Wand an.
- Halten Sie die Mindestabstände zu angrenzenden Objektflächen ein (siehe Kapitel „Technische Daten / Mindestabstände“).
- Bringen Sie das Gerät nicht unmittelbar unter einer Wandsteckdose an.
- Wählen Sie den Montageort so, dass auf der vom Gerät verdeckten Fläche keine Geräteanschlussdosen installiert sind.
- Berücksichtigen Sie bei der Installation des Gerätes in Räumen mit Badewanne und/oder Dusche den Schutzbereich nach VDE 0100 Teil 701 in Abstimmung mit den Angaben auf dem Geräte-Typenschild. Die Installation der Netz-Anschlussdose darf hierbei nicht in den Schutzbereichen 1 und 2 erfolgen.
- Bringen Sie das Gerät so an, dass Schalt- und Regeleinrichtungen nicht von einer in der Badewanne oder unter der Dusche befindlichen Person berührt werden können.
- Legen Sie die Betriebsmittel auf die Nennaufnahme der Geräte aus.
- Beachten Sie bei der Wahl des Montageortes, dass im Fall eines Spontanbruchs der ESG-Platte weder Personen noch Gegenstände zu schaden kommen.
7.2 Vorschriften, Normen und Bestimmungen

Hinweis
Beachten Sie alle nationalen und regionalen Vorschriften und Bestimmungen.
8. Gerätebeschreibung
8.1 Lieferumfang
Mit dem Gerät werden geliefert:
• 1 Haltewinkel
- GH 300, GH 500: 1 Wandkonsole
• GH 700, GH 900: 2 Wandkonsolen
8.2 Zubehör
- Raumtemperaturregler (optional)
9. Montage
9.1 Montageort

Sachschaden
Beachten Sie die Mindestabstände (siehe Kapitel „Technische Daten / Mindestabstände“).

Sachschaden
Das Gerät ist nicht zur Deckenmontage und Montage an Schrägen geeignet.
• Das Gerät ist ausschließlich für die feste Wandmontage bestimmt.
- Achten Sie darauf, dass eine ausreichend tragfähige Wand zur Verfügung steht.
- Sie können das Gerät in jedem Raum montieren. In Badezimmern dürfen Sie das Gerät nur im Schutzbereich 2 oder höher montieren.
9.2 Wandmontage

Hinweis
Sie können das Gerät sowohl in vertikaler als auch in horizontaler Ausrichtung montieren.
Die Position des Betriebsschalters dient als Orientierungshilfe für die korrekte Ausrichtung des Gerätes:
- Bei Montage in vertikaler Ausrichtung befindet sich der Betriebsschalter an der Unterkante des Gerätes.
- Bei Montage in horizontaler Ausrichtung befindet sich der Betriebsschalter an der, von vorne betrachtet, linken Außenkante des Gerätes.
9.2.1 Wandkonsole
GH 300, GH 500:
Dem Gerät liegt eine Wandkonsole bei.
- Die Wandkonsole dient zur Montage in vertikaler oder horizontaler Ausrichtung.
GH 700, GH 900:
Dem Gerät liegen zwei Wandkonsolen unterschiedlicher Länge bei.
• Die kurze Wandkonsole dient zur Montage in vertikaler Ausrichtung.
• Die lange Wandkonsole dient zur Montage in horizontaler Ausrichtung.
9.2.2 Haltewinkel
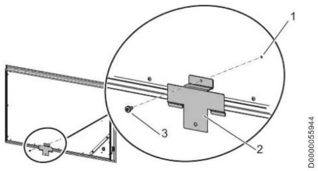
Um zu verhindern, dass das wandhängende Gerät verschoben oder gekippt wird, liegt dem Gerät ein Haltewinkel bei.
An der Geräterückwand sind zwei Befestigungslöcher für den Haltewinkel vorgestanzt. Die Befestigungslöcher sind jeweils mit einer Befestigungsschraube für den Haltewinkel versehen.

text_image
1 2 3 D00000559441 vorgestanztes Befestigungsloch
2 Haltewinkel
3 Befestigungsschraube
- Wenn Sie das Gerät in horizontaler Ausrichtung montieren, befestigen Sie den Haltewinkel an der langen Gerätekante.
- Wenn Sie das Gerät in vertikaler Ausrichtung montieren, befestigen Sie den Haltewinkel an der kurzen Gerätekante.
9.2.3 Montage der Wandkonsole

Hinweis
Die Wandkonsole dient beim Markieren der Befestigungslöcher als Bohrschablone.
» Befestigen Sie die Wandkonsole durch je ein horizontales und ein vertikales Langloch an der Montagewand.

Hinweis
Die Schrauben und Dübel für die Wandbefestigung sind nicht im Lieferumfang enthalten.
» Verwenden Sie geeignetes Befestigungsmaterial.

text_image
65 D0000058661» Legen Sie die Position des Gerätes fest. Markieren Sie den Mittelpunkt der Geräteoberkante an der Montagewand.
» Markieren Sie, ausgehend vom Mittelpunkt der Geräteoberkante, die Befestigungslöcher für die Wandkonsole an der Montagewand.
» Bohren Sie die Befestigungslöcher für die Wandkonsole.
» Befestigen Sie die Wandkonsole an der Montagewand.
» Justieren Sie die Position der Wandkonsole, bis sie genau waagerecht ausgerichtet ist. Mit dem horizontalen und dem vertikalen Langloch in der Wandkonsole ist ein Ausgleich beim Verlaufen der Befestigungsbohrung möglich.
» Befestigen Sie den Haltewinkel mit der vorhandenen Befestigungsschraube an der Geräterückwand.

text_image
1 2 D00000559411 Wandkonsole
2 Haltewinkel
Sachschaden
Achten Sie darauf, dass beim Einhängen des Gerätes das Anschlusskabel nicht gequetscht oder beschädigt wird.
Wir empfehlen, das Anschlusskabel vor der Wandmontage komplett herauszuziehen.
» Hängen Sie das Gerät mittig auf die Wandkonsole.
» Markieren Sie das Befestigungsloch für den Haltewinkel an der Montagewand.
» Hängen Sie das Gerät von der Wandkonsole ab.
» Bohren Sie das Befestigungsloch für den Haltewinkel.
9.2.5 Einhängen des Gerätes
» Hängen Sie das Gerät mittig auf die Wandkonsole.
» Arretieren Sie das Gerät durch Festschrauben des Haltewinkels an der Montagewand.
9.3 Elektrischer Anschluss

WARNUNG Stromschlag
Führen Sie alle elektrischen Anschluss- und Installationsarbeiten nach Vorschrift aus.

Sachschaden
Die angegebene Spannung muss mit der Netzspannung übereinstimmen.
» Beachten Sie das Typenschild.

Sachschaden
Das Gerät ist nicht geeignet für festverlegte elektrische Leitungen.
» Schließen Sie das Gerät an eine geeignete Geräteanschlussdose an.

Hinweis
Das Netzanschlusskabel darf bei Beschädigung oder Austausch nur durch einen vom Hersteller berechtigten Fachhandwerker mit dem originalen Ersatzteil ersetzt werden.
Das Gerät wird steckerfertig geliefert. Folgende elektrische Anschlussmöglichkeiten sind zulässig:
| GH 300-900 | |
| Anschluss an eine frei zugängliche Schutzkontaktsteckdose mit entsprechendem Stecker | X |
| Festanschluss an eine Geräteanschlussdose mit Schutzleiter | X |
9.3.1 Anschluss an eine Schutzkontaktsteckdose
» Stecken Sie den Netzstecker des Gerätes in eine geeignete Schutzkontaktsteckdose.

Hinweis
Sie können das überschüssige Anschlusskabel in den Hohlraum zwischen Geräterückseite und Montagewand zurückschieben.
9.3.2 Festanschluss

WARNUNG Stromschlag
Bei Festanschluss muss das Gerät über eine Trennstrecke von mindestens 3 mm allpolig vom Stromnetz getrennt werden können.

Sachschaden
Kürzen Sie das Netzanschlusskabel so, dass es direkt zur Geräteanschlussdose führt.
Achten Sie beim Kürzen des Netzanschlusskabels darauf, dass sich das Gerät noch problemlos von der Montagewand abhängen lässt.
» Kürzen Sie das Netzanschlusskabel, indem Sie den Stecker abschneiden.
» Schließen Sie das Netzanschlusskabel an eine geeignete Geräteanschlussdose an.
10. Übergabe
» Erklären Sie dem Benutzer die Funktionen des Gerätes. Machen Sie ihn besonders auf die Sicherheitshinweise aufmerksam.
» Überreichen Sie dem Benutzer die Bedienungs- und Installationsanleitung.
11. Wartung
Das Gerät enthält keine zu wartenden Teile.
12. Technische Daten
12.1 Maße und Anschlüsse

text_image
a20 a10 a30 D0000055939| GH 300 | GH 500 | GH 700 | GH 900 | ||||
| a10 | Gerät | Höhe | mm | 600 | 600 | 600 | 600 |
| a20 | Gerät | Breite | mm | 600 | 1000 | 1400 | 1800 |
| a30 | Gerät | Tiefe | mm | 49 | 49 | 49 | 49 |
12.2 Mindestabstände

text_image
≥100 ≥100 ≥100 ≥500D0000055940
12.3 Datentabelle
| GH 300 | S | GH 500 S | GH 700 S | GH 900 S | GH 300 W | GH 500 W | GH 700 W | GH 900 W | GH 300 K | GH 500 K | GH 700 K | GH 900 K | |
| 234434 | 234435 | 234436 | 234437 | 234438 | 234439 | 234440 | 234441 | 234442 | 234443 | 234444 | 234445 | ||
| Elektrische Daten | |||||||||||||
| Anschlussleistung | kW | 0,28 | 0,47 | 0,66 | 0,85 | 0,28 | 0,47 | 0,66 | 0,85 | 0,28 | 0,45 | 0,635 | 0,82 |
| Netzanschluss | 1/N/PE ~ 230 V 50Hz | 1/N/PE ~ 230 V 50Hz | 1/N/PE ~ 230 V 50Hz | 1/N/PE ~ 230 V 50Hz | 1/N/PE ~ 230 V 50Hz | 1/N/PE ~ 230 V 50Hz | 1/N/PE ~ 230 V 50Hz | 1/N/PE ~ 23O V 50Hz | 1/N/PE ~ 230 V 50Hz | 1/N/PE ~ 230 V 50Hz | 1/N/PE ~ 230 V 50Hz | 1/N/PE ~ 230 V 50Hz | |
| Dimensionen | |||||||||||||
| Höhe | mm | 600 | 600 | 600 | 600 | 600 | 600 | 600 | 600 | 600 | 600 | 600 | 600 |
| Breite | mm | 600 | 1000 | 1400 | 1800 | 600 | 1000 | 1400 | 1800 | 600 | 1000 | 1400 | 1800 |
| Tiefe | mm | 49 | 49 | 49 | 49 | 49 | 49 | 49 | 49 | 49 | 49 | 49 | 49 |
| Gewichte | |||||||||||||
| Gewicht | kg | 7,8 | 12,9 | 18,2 | 23,4 | 7,8 | 12,9 | 18,2 | 23,4 | 7,8 | 12,9 | 18,2 | 23,4 |
| Ausführungen | |||||||||||||
| Farbe | schwarz | schwarz | schwarz | schwarz | weiß | weiß | weiß | weiß | Kristall- spiegel | Kristall- spiegel | Kristall- spiegel | Kristall- spiegel | |
| Schutzart (IP) | IP24 | IP24 | IP24 | IP24 | IP24 | IP24 | IP24 | IP24 | IP24 | IP24 | IP24 | IP24 | |
| Schutzklasse | I | I | I | I | I | I | I | I | I | I | I | I | |
Erreichbarkeit
Sollte einmal eine Störung an einem unserer Produkte auftreten, stehen wir Ihnen natürlich mit Rat und Tat zur Seite.
EHT Haustechnik GmbH
Kundendienst
Fürstenberger Straße 77
37603 Holzminden
Tel. 05531 702-111
Fax 05531 702-95890
info@eht-haustechnik.de
Weitere Anschriften sind auf der letzten Seite aufgeführt.
Unseren Kundendienst erreichen Sie telefonisch rund um die Uhr, auch an Samstagen und Sonntagen sowie an Feiertagen. Kundendiensteinsätze erfolgen während unserer Geschäftszeiten (von 7.15 bis 18.00 Uhr, freitags bis 17.00 Uhr). Als Sonderservice bieten wir Kundendiensteinsätze bis 21.30 Uhr. Für diesen Sonderservice sowie Kundendiensteinsätze an Wochenenden und Feiertagen werden höhere Preise berechnet.
Garantiebedingungen
Diese Garantiebedingungen regeln zusätzliche Garantieleistungen von uns gegenüber dem Endkunden. Sie treten neben die gesetzlichen Gewährleistungsansprüche des Kunden. Die gesetzlichen Gewährleistungsansprüche gegenüber den sonstigen Vertragspartnern sind nicht berührt.
Diese Garantiebedingungen gelten nur für solche Geräte, die vom Endkunden in der Bundesrepublik Deutschland als Neugeräte erworben werden. Ein Garantievertrag kommt nicht zustande, soweit der Endkunde ein gebrauchtes Gerät oder ein neues Gerät seinerseits von einem anderen Endkunden erwirbt.
Inhalt und Umfang der Garantie
Die Garantieleistung wird erbracht, wenn an unseren Geräten ein Herstellungs- und/oder Materialfehler innerhalb der Garantiedauer auftritt. Die Garantie umfasst jedoch keine Leistungen für solche Geräte, an denen Fehler, Schäden oder Mängel aufgrund von Verkalkung, chemischer oder elektrochemischer Einwirkung, fehlerhafter Aufstellung bzw. Installation sowie unsachgemäßer Einregulierung, Bedienung oder unsachgemäßer Inanspruchnahme bzw. Verwendung auftreten. Ebenso ausgeschlossen sind Leistungen aufgrund mangelhafter oder unterlassener Wartung, Witterungseinflüssen oder sonstigen Naturerscheinungen.
Die Garantie erlischt, wenn am Gerät Reparaturen, Eingriffe oder Abänderungen durch nicht von uns autorisierte Personen vorgenommen wurden.
Die Garantieleistung umfasst die sorgfältige Prüfung des Gerätes, wobei zunächst ermittelt wird, ob ein Garantieanspruch besteht. Im Garantiefall entscheiden allein wir, auf welche Art der Fehler behoben wird. Es steht uns frei, eine Reparatur des Gerätes ausführen zu lassen oder selbst auszuführen. Etwaige ausgewechselte Teile werden unser Eigentum.
Für die Dauer und Reichweite der Garantie übernehmen wir sämtliche Material- und Montagekosten.
Soweit der Kunde wegen des Garantiefalles aufgrund gesetzlicher Gewährleistungsansprüche gegen andere Vertragspartner Leistungen erhalten hat, entfällt eine Leistungspflicht von uns.
Soweit eine Garantieleistung erbracht wird, übernehmen wir keine Haftung für die Beschädigung eines Gerätes durch Diebstahl, Feuer, Aufruhr oder ähnliche Ursachen.
Über die vorstehend zugesagten Garantieleistungen hinausgehend kann der Endkunde nach dieser Garantie keine Ansprüche wegen mittelbarer Schäden oder Folgeschäden, die durch das Gerät verursacht werden, insbesondere auf Ersatz außerhalb des Gerätes entstandener Schäden, geltend machen. Gesetzliche Ansprüche des Kunden uns gegenüber oder gegenüber Dritten bleiben unberührt.
Garantiedauer
Für im privaten Haushalt eingesetzte Geräte beträgt die Garantiedauer 24 Monate; im Übrigen (zum Beispiel bei einem Einsatz der Geräte in Gewerbe-, Handwerks- oder Industriebetrieben) beträgt die Garantiedauer 12 Monate.
Die Garantiedauer beginnt für jedes Gerät mit der Übergabe des Gerätes an den Kunden, der das Gerät zum ersten Mal einsetzt.
Garantieleistungen führen nicht zu einer Verlängerung der Garantiedauer. Durch die erbrachte Garantieleistung wird keine neue Garantiedauer in Gang gesetzt. Dies gilt für alle erbrachten Garantieleistungen, insbesondere für etwaig eingebaute Ersatzteile oder für die Ersatzlieferung eines neuen Gerätes.
Inanspruchnahme der Garantie
Garantieansprüche sind vor Ablauf der Garantiedauer, innerhalb von zwei Wochen, nachdem der Mangel erkannt wurde, bei uns anzumelden. Dabei müssen Angaben zum Fehler, zum Gerät und zum Zeitpunkt der Feststellung gemacht werden. Als Garantienachweis ist die Rechnung oder ein sonstiger datierter Kaufnachweis beizufügen. Fehlen die vorgenannten Angaben oder Unterlagen, besteht kein Garantieanspruch.
Garantie für in Deutschland erworbene, jedoch außerhalb Deutschlands eingesetzte Geräte
Wir sind nicht verpflichtet, Garantieleistungen außerhalb der Bundesrepublik Deutschland zu erbringen. Bei Störungen eines im Ausland eingesetzten Gerätes ist dieses gegebenenfalls auf Gefahr und Kosten des Kunden an den Kundendienst in Deutschland zu senden. Die Rücksendung erfolgt ebenfalls auf Gefahr und Kosten des Kunden. Etwaige gesetzliche Ansprüche des Kunden uns gegenüber oder gegenüber Dritten bleiben auch in diesem Fall unberührt.
Außerhalb Deutschlands erworbene Geräte
Für außerhalb Deutschlands erworbene Geräte gilt diese Garantie nicht. Es gelten die jeweiligen gesetzlichen Vorschriften und gegebenenfalls die Lieferbedingungen der Ländergesellschaft bzw. des Importeurs.
Entsorgung von Transport- und Verkaufsverpackungsmaterial
Damit Ihr Gerät unbeschädigt bei Ihnen ankommt, haben wir es sorgfältig verpackt. Bitte helfen Sie, die Umwelt zu schützen, und entsorgen Sie das Verpackungsmaterial des Gerätes sachgerecht. Wir beteiligen uns gemeinsam mit dem Großhandel und dem Fachhandwerk / Fachhandel in Deutschland an einem wirksamen Rücknahme- und Entsorgungskonzept für die umweltschonende Aufarbeitung der Verpackungen.
Überlassen Sie die Transportverpackung dem Fachhandwerker beziehungsweise dem Fachhandel.
Entsorgen Sie Verkaufsverpackungen über eines der Dualen Systeme in Deutschland.
Entsorgung von Altgeräten in Deutschland

Geräteentsorgung
Die mit diesem Symbol gekennzeichneten Geräte dürfen nicht mit dem Hausmüll entsorgt werden.
Als Hersteller sorgen wir im Rahmen der Produktverantwortung für eine umweltgerechte Behandlung und Verwertung der Altgeräte. Weitere Informationen zur Sammlung und Entsorgung erhalten Sie über Ihre Kommune oder Ihren Fachhandwerker / Fachhändler.
Bereits bei der Entwicklung neuer Geräte achten wir auf eine hohe Recyclingfähigkeit der Materialien.
Über das Rücknahmesystem werden hohe Recyclingquoten der Materialien erreicht, um Deponien und die Umwelt zu entlasten. Damit leisten wir gemeinsam einen wichtigen Beitrag zum Umweltschutz.
Entsorgung außerhalb Deutschlands
Entsorgen Sie dieses Gerät fach- und sachgerecht nach den örtlich geltenden Vorschriften und Gesetzen.
SPECIAL INFORMATION
OPERATION
12. Technische gegevens
Adressen und Kontakte
Vertriebszentrale
EHT Haustechnik GmbH
Markenvertrieb AEG
Gutenstetter Straße 10
90449 Nürnberg
info@eht-haustechnik.de
www.aeg-haustechnik.de
Tel. 0911 96 56 -250
Fax 0911 9656-444
Kundendienstzentrale
Holzminden
Fürstenberger Str. 77
37603 Holzminden
Briefanschrift
37601 Holzminden
Der Kundendienst und Ersatzteilverkauf
ist in der Zeit von
Montag bis Donnerstag
von 7.15 bis 18.00 Uhr und
Freitag von 7.15 bis 17.00 Uhr,
auch unter den nachfolgenden Telefon- bzw.
Telefaxnummern erreichbar:
Kundendienst
Tel. 0911 9656-56015
Fax 0911 9656-56890
kundendienst@eht-haustechnik.de
Ersatzteilverkauf
Tel. 0911 9656-56030
Fax 0911 9656-56800
ersatzteile@eht-haustechnik.de
info@eht-haustechnik.de
www.aeg-haustechnik.de
© EHT Haustechnik

text_image
4017213181149International
Australia
STIEBEL ELTRON Australia Pty. Ltd.
6 Prohasky Street
Port Melbourne VIC 3207
Tel. 03 9645-1833
Fax 03 9645-4366
Austria
STIEBEL ELTRON Ges.m.b.H.
Gewerbegebiet Neubau-Nord
Margaritenstraße 4 A
4063 Hörsching
Tel. 07221 74600-0
Fax 07221 74600-42
Belgium
STIEBEL ELTRON bvba/sprl
't Hofveld 6 - D1
EinfachAnleitung