PDK-TS30A - Houder voor elektronisch apparaat PIONEER - Gratis gebruiksaanwijzing en handleiding
Vind de handleiding van het apparaat gratis PDK-TS30A PIONEER in PDF-formaat.
Gebruikersvragen over PDK-TS30A PIONEER
0 vraag over dit apparaat. Beantwoord die u kent of stel uw eigen vraag.
Stel een nieuwe vraag over dit apparaat
Download de handleiding voor uw Houder voor elektronisch apparaat in PDF-formaat gratis! Vind uw handleiding PDK-TS30A - PIONEER en neem uw elektronisch apparaat weer in handen. Op deze pagina staan alle documenten die nodig zijn voor het gebruik van uw apparaat. PDK-TS30A van het merk PIONEER.
GEBRUIKSAANWIJZING PDK-TS30A PIONEER
Hartelijk dank voor de aanschaf van dit product van Pioneer.
Lees s.v.p. de gebruiksanaanjwijing door voor informatie omtrent de juiste bediening van uw product.
Bewaar de gebruiksaanwijzing zorgvuldig zodat u deze naderhand nogmaals sunt raadplegen.
Installatie
- Raadpleeg uw dealer wonneer u problemen met de installmentie ondervindt.
- Pioneer is Niet aansprakelijk voor schade ontstaan tengevolge van onjuiste installmentie, onjuist gebruik, wijzigingen of naturuarrampen.
BELANGRIJK BERICHT
Neem het hieronder vermelde model- en seriENUMmer van deze apparatuur over.
Modelnr.
Serienr.
Bewaar deze nummers voor later gebruik.
Inhoud
Waarschuwingen 32
Controleren van de standaardonderdelen 33
Montage van de tafelbladstaander 33
Bevestiging van de lichtafschemkap
Installatie van het apparaat op een rack enz.....35
Zozorgt u ervoor dat de apparatuur
nietomvalt 36
Technische gegevens
Afmetingen 37

Waarschuwing
Dit symbolism waarschuwt voor gevaarlijk of onveilig gebruik waardoor lichamelijk letsel kan ontstaan of de apparatuur kan beschadigen.
Waarschuwingen
Dit product is een tafelbladstaander die exclusief voor plasma-televisions (PDP-608ZD / PDP-608ZDA) van Pioneer is ontworpen.
Indien dit model met een ander model worden gebruikt kan dit tot instabilititeit leiden hetgeen letsel kan veroorzaken.
Raadpleeg s.v.p. het verkooppunt waar u deze display heeft gekocht voor meer gegevens hierover.
Het product mag Niet op een andere dan volgens de aangegeven wijze worden geinstalleerd of gewijzigd.
Deze staander mag Niet voor een andere dan de waarvoortebestemde plasma-televisione worden gezruikt; ook mogen ergeen wijzigingen op worden aangebracht noch mag het voor andere doeleinden worden gezruikt.
Plaats van installmentie
- Kies een plaatst die sterk genoeg is om het gewicht van de staander en de displays te konnen dragen.
- Zorg ervoor dat deplaats van installmentie vlak en stabel is.
- Plaats het apparaat Niet buiten, bij een warmwaterbron of nabij het strand.
- Plaats de standardiet waar deze bloatstaat aan trillen of schokken.
- Monteer de tafelbladstaander overeenkomstig de montage-instructies en bevestig alle schroeven stevig op de aangegeven plaatsen.
Onvoorziene ongevalten, Zoals het breken of omvallen van de apparatuur, hunnen zich na installmentie van de display voordoen wanner de staander Niet op de aangegeven wijze worden geinstalleerd. - De display dient algid door twee of meerdere mensen te worden geplaatst om er zeker van te+zijn dat het apparaat op veilige wijze worden geinstalleerd.
- Schakel de display en randapparatuur voorafgaande aan de installmenteuit, en verwijder verrolgens het netsnoer van de netspanning.
Ongelukken veroorzaakt door het omvallen van het product hunnen worden voorkomen wanner de juiste maatregelen worden genomen (zie blz. 36).
Controleren van de standaardonderdelen
Controleer voorafgaande aan de montage en installmentie of alle standaardonderdelen aanwezig zijn.

- Voetstuk × 1

- Opzetstuk (L: links) × 1

- Lichtafschemmkap × 1 (Alleen PDK-TS30A)

- Strips ter voorkoming van omvallen × 4

- Handleiding (deze handleiding) × 1

- Schroeven ① (M5 × 10 mm: zwart) × 6

Montageschroeven ② (M6x20mm:zwart)X4

- Schroeven ③ (M4 × 10 mm : zwart) × 4
Montage van de tafelbladstaander
Wijze van montage
1 Keer het voetstuk om zodate de onderzijde maar boven wijst.
2 Voeg de opzetstukken in het voetstuk.
Voeg het opzetstuk (R) in op deplaats met "R" aangeven en opzetstuk (L) op deplaats met "L" aangegeven.
3 Draai de schroeven ① (M5 × 10 mm: zwart) aan om de opzetstukken vast te zetten.
Let op
- Plaats een zachte doek onder het voetstuk wanner de staander worden gemonteerd.
Indien er voorafgaande aan de montage geen doek onder worden neergelegd, hunnen er aan de bovenzijde van het voetstuk krassen ontstaan. - Let goed op wanner de opzetstukken (L) en (R) worden gemonteerd om ervoor te zorgen dat ze zich op de juisteplaats bevinden. Wanner ze fout worden gemonteerd kan dit de staander beschadigen.

Bevestiging van de lichtafschemkap (Alleen PDK-TS30A)
Dit element zorgt ervoor dat de kabels die aan dechterzijde van de plasma-television op het voetstuk zijn bevestigd geen Licht weerkaatsen.
Let op
Bevestig dit element nadat het voetstuk op een vlakke en stabiele ondergrond is vastbezet.

Wijze van bevestiging
1 Verwijder de dubbelzijdige hechtband van de lichtafschemkap.

2 Houd de uiteinden van de lichtafschemkap stevig vast en breng de kap met de dubbelzijdige hechtband op het voetstuk aan.

Let op
- Zorg ervoor dat de lichtafschermkap Niet de invoeggaten voor het opzetstuk afdekt.
- Bevestig het stevig op+zijn plaats zodate er geen gaten ontstaan (zie figuur onder).Indien dit wel het geval is, is het möglichk dat de lichtafschemkap loslaat.
3 Bevestig de kap stevig op+zijn plaats door hem van bovenaf aan te drukken.

Bevestiging van de plasma-televisione

Waarschuwing
Het gewicht van de plasma-televisionie bedraagt onceveer 55,5kg , vanwege hun vlakke vom zich ze instabiel. Vanwege hun vlakke vom zich ze instabiel en zich er tenminste tweemßen nodig voor de montage en installmentie.
Let op
- Zorg ervoor dat de plasma-televisione op een vlakke en stabiele plaatswordt geinstalleerd.
- Voeg de schroeven verticaal in de gaten en draai ze Niet met meer kracht dan nodig vast.
- Plaats een doek of ander materiaal onder de display om krassen en beschadiging te voorkomen.
- Nadat de schroef handmatig twee- of driemaal enigszins is ingedraaid kan deze met een schroevendraaier worden vastgedraaid.
1 Bevestiging van de plasma-televisione op de tafelbladstaander.
Leg de plasma-televisione vlak neer. Lijn de steunen van de staander op met de gleuven voor de staander in de plasma-televisionie, en voeg de steunen geleidelijk horizontaal in. Zorg ervoor dat de steunen van de staander uitsluitend in aanraking komen met de gleuven voor de staander in de plasma-televisionie, odomat dechterzijde of de eindhovennen van de display anders bekrant of beschadigd+kennen raken.

Let op
Zorg ervoor dat de plasma-televisionie Niet wordenbekrast of beschadigd wonneer hij wordenneergelegd.
2 Vastzetten van de plasma-television met montageschroeven ② (M6×20 mm: zwart).
Draai de schroeven stevig aan met de kruiskopschroevendraaier.

Let op
Zet de plasma-televisione rechtop nadat de staander is geinstalleerd.
Installatie van het apparaat op een rack enz.

Waarschuwing
- Zorg ervoor dat de plasmatelevisie door twee of meer mensen worden vastgehonden wanner们都 op een rek etc. worden geinstalleer.
- Houd de plasma-televisionie nied bij de luidsprekers of de staander vast, odomat het product anders beschadigd kan raken.
Houd de plasma-televisione bij de hendels en aan de bovenzijde vast.

Houd de plasma-television Niet bij de luidsprekers vast.

Houd de plasma-television nicht bij de staander vast.

Zo zorgt u ervoor dat de apparatuur nicht omvalt
- Zorg ervoor nadat de staander is geinstalleerd, dat de apparatuur Niet omvalt.
- Zet de plasma-televisione zowel aan het rek als aan het wandopervlak vast.
Stabilititeit op de tafel
Zet de plasma-televisionie vast met de schroeven ③ (M4 x 10 mm: zwart) en de strips ter Voorkoming van omvallen zoals in de figuur aangegeven. Zet de rekken etc. vast met in de winkel verkrijgbare schroeven.
Let op
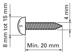
Voor het stabelplaatsen van de apparatuur op een tafel,要去 schroeven met een nominale diameter van 4mm en een lenghte van minimaal 20~mm worden gebruikt.


Gebruik van een muur voor stabiliteit
1 Bevestig de bouten (haken) aan de plasma-televisione om omvallen te voorkomen.
2 Gebruik stevige snoeren om de display op de juiste wijze stabiliteit te geben, en deze stevig aan een muur,zoil of ander stevig element te bevestigen.
Dit dient opdezelfde wijze aan de linker-enrechtzerijde van de display te worden gedaan.
Let op
Gebruik haken, snoeren en appendages die in de winkel verkrijgbaar zich.
Aanbevolen schroefhaak:
Nominale diameter M8
Lenght 12mm tot 15mm

12 mm tot 15 mm

Technische gegevens
Afmetingen buitenzijde:
PDK-TS30 920 mm (B) × 222,4 mm (H) × 380 mm (D)
PDK-TS30A 922 mm (B) × 222,4 mm (H) × 381 mm (D)
Gewicht:
PDK-TS30 5,7 kg
PDK-TS30A 6,8 kg
- Het is möglichk dat bovenstaande gegevens en de buitenzijde zonder voorafgaande berichtgeving ter verbetering van het product worden gewijzigd.
Bij installmentie van de luidsprekers aan weerszijden
Eenheid: mm
- PDK-TS30 ** PDK-TS30A


Zonder luidsprekers
Eenheid: mm
- PDK-TS30 ** PDK-TS30A


Uitgeveen door Pioneer Corporation. Copyright © 2007 Pioneer Corporation. Alle rechten voorbehonden.
Gedrukt op recycled papier.
SimpelGids