FP 955.1 S - Forno SCHOLTES - Manuale utente e istruzioni gratuiti
Trova gratuitamente il manuale del dispositivo FP 955.1 S SCHOLTES in formato PDF.
Scarica le istruzioni per il tuo Forno in formato PDF gratuitamente! Trova il tuo manuale FP 955.1 S - SCHOLTES e riprendi in mano il tuo dispositivo elettronico. In questa pagina sono pubblicati tutti i documenti necessari per l'utilizzo del tuo dispositivo. FP 955.1 S del marchio SCHOLTES.
MANUALE UTENTE FP 955.1 S SCHOLTES
Istruzioni per l'uso
FORNO
Summario
Istruzioni per l'uso,1
Avvertenze,3
Assistenza,6
Descrizione dell'apparecchio,9
Descrizione dell'apparecchio,10
Installazione,12
Avvioeutilizzo,14
Programmi,14
Precauzioni e consigli,19
Manutenzione e cura,19
ES
Espanol
ATTENZIONE: Questo appearecchio e le sue parti accessibili divertano molto caldi durante l'uso. Bisognà fare attenzione ed evitare di toccare gli elementi riscaldanti. Tenere lontani i bambini inferioriagli 8 anni se non continuamente sorvegliati. Il presente appearecchio può essere utilizzato dai bambini a partire dagli 8 anni e da persone con ridotte capacità fisiche, sensoriali o mentali oppure con mancanza di esperienza e di conoscenza se si trovano sotto adeguata sorvegianza oppure se sono stati istruiiti circa l'uso dell'apparecchio in modo sicuro e se si rendonoconto dei pericoli correlati. I bambini non devono giocare con l'apparecchio. Le operazioni di pulizia e di manutenzione non devono essere effettuate dai bambinienza sorvegianza.
Non utilizzato prodotti abrasivi né spatole di metallo taglienti per pulire lo sportello in vetro delorno in quanto potrebbero graffiare la superficie, provocando, così, la frantumazione del vetro.
Non utilizzato mai pulitori a vapore o ad alta pressione per la pulizia dell'apparecchio.
ATTENZIONE: Assicurarsi che l'apparecchio sa spento prima di sostituire la lampada per evitare la possibilità di scosse elettriche.
GB
Warnings
L'apparecchio è dotato di un sistema di diagnóstica automatica che consente di rilevare eventuali malfunzionamenti. Questi vengono comunicati dal display tramite messaggi del tipo: "F--" seguito da numeroi.
In questi casi è necessario l'intervento dell'assistenza tecnica.
Prima di contattare l'Assistenza:
- Verificare se l'anomalia può essere risolta autonomamente;
- Riavviare il programma per controllare se l'inconveniente è stato ovviato;
- In caso negativo, contattare il Servizio Assistenza Tecnico Autorizzato.
! Non ricorrere mai a tecnici non autorizzati.
Comunicare:
Il tipo di anomalia;
- il messaggio visible sul display TEMPERATURA
Ilmodelledella macchina (Mod.)
Il numero di serie (S/N)
Queste ultime informazioni si trovano sulla targhetta caratteristica posta sull'apparecchio
Assistenza Attiva 7 giorni su 7

ASSISTENZA - RICAMBI - ACCESSORI 199.199.199
NUMERO UNICO
Se nasce il bisogno di assistenza o manutenzione basta chiamare ilNumero Unico Nazionale 199.199.199* per essere messi subito in contatto con il Centro Assistenza Tecnica più vicino al luogo da cui si chiama.
È attivo 7 giorni su 7, sabato e domenica compresi, e non lascia mai inascoltata una richiesta.

Estensione di garanzia Airbag
Airbag è il servizio esclusivo creato da Ariston che integra e prolunga nel tempo i contentuti della garanzia standard: con una modica cifra protege il cliente da agli imprevisto riguardante l'assistenza e la manutenzione dell'elettrodomestico. Per i 5 anni successivi alla data di acquisito il cliente che aderisce al programma Airbag avrà diritto Gratisamente a:
l'intervento entro 48 ore dalla chiamata;
- il contributo per spese di trasferta del Tecnico (diritto di chiamata);
la manodopera;
- le parti di ricambio originali;
-
il trasporto dell'elettrodomestico non riparabile in loco. Inoltre, qualora l'elettrodomestico non sia riparabile la garanzia prevede la sostituzione a prezzo agevolato in funzione dell'anzianità del prodotto.
-
Al costo di 14,25 centesimi di Euro al minuto (iva inclusa) dal Lun. al Ven. dalle 08:00 alle 18:30, il Sab. dalle 08:00 alle 13:00 e di 5,58 centesimi di Euro al minuto (iva inclusa) dal Lun. al Ven. dalle 18:30 alle 08:00, il Sab. dalle 13:00 alle 08:00 e i giorni festivi, per chi chiama dal Telefono fisso. Per chi chiama da radiomobile le tariffe sono legate al piano tariffario dell'operaatore Telefonico utilizzato.
Le suddette tariffe potrebbero essere soggette a variazione da parte dell'opereatore Telefonico; per maggiori informazioni consultare il site www.indesit.com.
GB
Assistance
Warning:
Descrizione dell'apparecchio
Vista d'insieme
1 Pannello di controllo
2 Vetro porta forno
GB
Descrizione dell'apparecchio
Pannello di controllo
1 DISPLAY
2 Tasto IMPOSTAZIONE TEMPI
3 Manopola PROGRAMMI
4 Manopola TERMOSTATO/ IMPOSTAZIONE TEMPI
5 Tasto LUCE
Display
6 Digit numerici TEMPERATURA e TEMPI
7 Icona OROLOGIO
8 Icona CONTAMINUTI
9 Icona FINE COTTURA
10Icona DURATA
11 Indicatore del Preriscaldamento
GB
!È importante conservare quello libretto per poterlo consultare in agli momento. In caso di vendita, di cessione o di trasloco, assicurarsi che resti insieme all'apparecchio per informare il nuovo proprietario sul funzionamento e sui relativi avvertimenti.
! Leggere attendamente le istruzioni: ci sono importanti informazioni sull'installazione, sull'uso e sulla sicurezza.
Posizionamento
Gli imballaggi non sono gliacattoli per bambini e vanno eliminati secondo le norme per la raccolta differenziata (vedi Precauzioni e consigli).
! L'installazione va effettuata secondo istruzioni e da personale professionalmente qualificato. Una errata installazione può causare danni a personne, animali o cose.
Incasso
Per garantire un buon funzionamento dell'apparecchio è necessario che il mobile abbia le caratteristiche adatte: Nella figura vengono riportate le dimensioni del vano del mobile nell'insertimento sottotavolo.

Per consentire una efficace aerazione, sulla parte anteriore inferiore e sulla parte superiore del mobile, dovranno essere previste delle opportune prese d'aria, (entrata dal basso di almeno 200~cm^2 , una uscita alla parte superiore di almeno 90~cm^2 ).
I pannelli dei mobili adiacenti il forno dovranno essere in materiale resistente al calore. In particolare nel caso di mobili in legno impiallacciato le colle dovranno essere resistenti alla temperatura di 120^ .
In conformità alle norme di sicurezza, una volta incassato l'apparecchio, non debbono essere possibili eventuali contatti con le pareti elettriche. Tutte le parti che assicurano la protezione debbono essere fissate in modo tale da non poter essereolta perché l'aiuto di quale utensile.
Fissaggio
Inserire l'apparecchiatura nel vano; après la porta del forn o e fissarlo al mobile con le 4 viti in dotazione "A", ponendo tra i fori e le viti gli appositi distanziatori in dotazione.


Collegamento elettrico
I fornì dotati di cavo di alimentazione tripolare, sono predisposti per il funzionamento con corrente alternata alla tensione e Frequenza di alimentazione indicate sulla targhetta caratteristiche (posta sull'apparecchio) e sul libretto istruzioni. Il conduzione di terra del cavo è contraddistinto dai colori giallo-verde.
Sostituzione del cavo
Utilizzare un cavo in gomma del tipo H05VV-F con una sezione 3 × 1.5 ~mm^2 .
Il conduttore giallo-verde dovrà essere più lungo di 2 ÷ 3 cm. degli altri conduttori.
Apertura morsettiera:
- Servendosi di un cacciavite, fare leva sulle linguette laterali del coperchio della morsettiera;
- Tirare ed aprire il coperchio della morsettiera.
Per la messa in opera del cavo eseguire le seguenti operazioni:
- svitare la vite del serracavo e le tre viti dei contatti L-N-
- fissare i cavetti sotto le teste delle viti rispetto i colori: Blu (N) Marrone (L) Giallo-Verde
- fissare il cavo di alimentazione nell'apposto fermacavo e chiudere il coperchio.


Allacciamento del cavo di alimentazione alla rete
Montare sul cavo una spina normalizzata per il carico indicate sulla targhetta caratteristiche, nel caso di collegamento diretto alla rete è necessario interporre tra l'apparecchio e la rete un interrottore omnipolare con aperture minima fra i contatti di 3 mm. dimensionato al carico e rispondente alle norme in vigore (il filo di terra non deve essere interrotto dall'interruttore).
Il cavo di alimentazione deve essere posizionato in modo che non raggiunga in nessun punto una temperature superiore di 50^ a quella ambiente.
Prima di effettuare l'allciamento accertarsi che:
- La sicurezza elettrica di quello apparetcchio è assicurata soltanto quando lo stesso è correttamente collegato ad un efficiente impianto di messa a terra come previsto dalle vigenti norme di sicurezza elettrica. E' necessario verificare quello fondamentale requisito di sicurezza e, in caso di dubbio, richiedere un controllo accurato dell'impianto da parte di personale professionally qualificato. Il costruttore non può essere considerato responsable per eventuali danni causati alla mancanza di messa a terra dell'impianto.
- Prima di collegare l'apparecchio accertarsi che i dati di targa (posti sull'apparecchio e/o sull'imballo) sono rispondenti a quelli della rete di distribuzione elettrica e gas.
- Verificare che la portata elettrica dell'impianto e delle prese di corrente siano adeguate alla potenza massima dell'apparecchio indicata in targa. In caso di dubbio rivolgersi ad una persona professionalmente qualificata.
- In caso di incompatibilità tra la presa e la spina dell'apparecchio fare sostituire la presa con另一 tra tipo adatto da personale professionlmente qualificato. Quest'ultimo, in particolare, dovràanche accertare che la sezione dei cavi della presa sia idonea alla potenza assorbita dall'apparecchio. In generale è sconsigliabile l'uso di adattatori, prese multiple e/o prolonghe. Qualora il loro uso si rendesse indispensable è necessario utilizzato solamente adattatori semplici o multipli e prolonghe conformi alle vigenti norme di sicurezza, facendo però attentione a non superare il limite di portata in valore di corrente, marcato sull'adattatore semplice e sulle prolonghe, e quello di massima potenza marcato sull'adattatore multiplo.
!Ad apparecchio installato, il cavo elettrico e la presa della corrente devono essere facilemente raggiungibili.
! Il cavo non deve subire piegature o compressioni.
Il cavo delve essere controllato periodicamente e sostituito solo da tecnici autorizzati (vedi Assistenza).
! L'azienda declina agli responsabilità qualora questo norme non vengano rispetto.
| TARGHETTA CARATTERISTICHE | |
| Dimensioni | larghezza cm 59,5 altezza cm 32,9 profondità cm 39,4 |
| Volume | lt. 78 |
| Collegamenti elettrici | tensione a 220-240V~ 50/60 Hz (vedi targhetta caratteristiche) potenza massima assorbita 2800W |
| ENERGY LABEL | Direttiva 2002/40/CE sull'etichetta dei forni elettrici. Norma EN 50304-60350 Consumo energia dichiarazione Classe convezione Forzata - funzione di riscaldamento: Gratin. |
| CE | Questa apparecchiatura è conforme alle seguenti Direttive Comunitarie: - 2006/95/CEE del 12/12/06 (Bassa Tensione) e successive modificazioni - 2004/108/CEE del15/12/04 (Compatibleità Elettromagnetica) e successive modificazioni - 93/68/CEE del 22/07/93 e successive modificazioni. - 2002/96/CE e successive modificazioni. - 1275/2008 standby/off mode |

! Quando si inserisce la griglia assicurarsi che il fermo sia nella parte posteriore della cavity (vedi imagine).
Impostare I'orologio
! Si può impostare sia quando il forno è spento che quando è acceso, ma non si è programmata la fine di una cottura.
- Premere più volte il tasting non lampeggiano l'icona e i primi due digit numerici sul DISPLAY;
- ruotare la manopola IMPOSTAZIONE TEMPI verso il + e - per regolare l'ora;
- premere di nuovo il tastingfinché non lampeggiano glialtri due digit numerici sul DISPLAY;
- ruotare la manopola IMPOSTAZIONE TEMPI verso il + e - per regolare i minuti;
- premere nuovamente il tasting © per confermare.
Impostare il contaminuti
! Questa funzione non interrompe la cottura e prescinde dall'utilizzo del forno; permette solo di azionare il segnale acustico allo scadere dei minuti impostati.
- Premere più volte il tasting © finché non lampeggiano l'icona e i tre digit numerici sul DISPLAY;
- ruotare la manopola IMPOSTAZIONE TEMPI verso il + e - per regolare i minuti;
- premere nuovamente il tasting per confermare. Seguirà la visualizzazione del conto alla rovescia al termine del quale si azionerà il segnale acustico.
Uso delorno
! Alla prima accensione fare funzionare il forno a vuoto per almeno un'ora con il termostato al massimo e a porta chiusa. Poi spegnere, après la porta del forno e aerare il locale. L'odore che si avverte è dovuto all'evaporazione delle sostanze usate per proteggere il forno.
! Non appoggiare mai oggetti sul fondo delorno perché si rischiano danni allo smalto.
! Porre sempre i recipienti di cottura sulle griglie in dotazione.
! Nel caso di cotture per le quali è prevista la lievitazione si raccomanda di non aprir che porta per non compensetterne il risultato.
1. Selezionare il programma di cottura desiderato ruotando la manopola PROGRAMMI.
2. Ilorno entra nella fase di preriscaldamento, l'indicatore del preriscaldamento si illumina.
É possible modificare la temperature ruotando la manopola TERMOSTATO.
3. Quando si spegne l'indicatore del preriscaldamento e si avverte un segnale acustico il preriscaldamento è completo: introdurre gli alimenti.
-
Durante la cottura è sempre possible:
-
modificare il programma di cottura agenda sulla manopola PROGRAMMI;
- modificare la temperatura agenda sulla manopola TERMOSTATO;
- pianificare la durata e l'ora di fine della cottura (vedi programmi di cottura);
- interrompere la cottura riportando la manopola PROGRAMMI in posizione "0".
- É possible modificare la durata della cottura (vedi programmi di cottura).
- In caso di black-out, se la temperature del forn o non si è abbassata troppo, l'apparecchio è dotato di un sistema che riattiva il programma dal punto in cui è stato interrotto. Le pianificazioni in attesa di avvio,rieve, non vengono ripristinate al ritorno della corrente e devono essere riprogrammate.
Ventilazione di raffreddamento
Per ottenere una riduzione delle temperature esterne, una ventola di raffreddamento genera un getto d'aria che esce tra il pannello di controllo e la porta delorno.
! A fine cottura la ventola rimane attiva finché ilorno non è sufficientemente freddo.
Luce delorno
Aorno spento la lampadina cui assere accesa in qualunque momento premendo il tasto.
Programmi
Programmi di cottura manuali
! Tutti i programmi hanno una temperatura di cottura preimpostata. Essa può essere regolata manually, impostandola a piacere tra 30^ e 250^ (ove possibile).

Programma MULTILIVELLO
Si attivano tutti gli elementi riscaldanti ed entra in funzione la ventola. Poiché il calore è costante in tutto ilorno, l'aria cuoce e rosola il cibo in modo uniforme. É possibile utilizzare fino a un massimo di tre ripiani contemporaneamente.

Programma TRADIZIONE
Con esta cottura tradizionale è meglio utilizzato un solo ripiano.

Programma GRILL-GIRARROSTO
Si attiva l'elemento riscaldante superiore ed entra in funzione il girarrosto. La funzione è ottimizzata per le cotture al girarrosto. Effettuare le cotture con la porta del forno chiusa.

Programma GRATIN
Si attivano gli elementi riscaldanti superiore e circolare ed entra in funzione la ventola. Unisce all'irradiazione termica unidirezionale la circolazione forzata dell'aria all'interno delorno. Ideale per cibi gratinati, lasagne, ecc...
Effettuare le cotture con la porta delorno chiusa.
Programmi BASSA TEMPERATURA
Questo tipo di cottura consente di lievitare, scongelare, di preparare lo yogurth, riscaldare più o meno rapidamente, cuocere lentamente a bassa temperature. Le temperature selezionabili sono: 40, 85, 120^ .
Girarrosto
Questo accessorio è da utilizzare esclusivamente per cotture al grill. Procedere come segue: infrilare la carne da cuocere nell'asta trasversale, nel senso della sua lunghezza, bloccandola con le apposite forchette regolabili. Introduire i supporti "A" e "B" nei fori predisisti sulla leccarda "E", appoggiare la gola dell'asta sulla sede "C" e infrilare la griglia nella prima guida più Bassa del forno; infrilare ora l'asta nel foro del girarrosto, portando in avanti la gola nella sede "D" (vedi figure). Azionare il girarrosto selezionando con la manopola PROGRAMMI

Programmi di cottura automatici
! La temperatura e la durata di cottura sono prestabilitite tramite ilsystema C.O.P.® (Cottura Ottimale Programmata) che garantisce automaticamente un risultato perfetto. La cottura si interrompe automaticamente e il forno avvisa quando la pietanza è cotta. La durata di cottura può essere modificata di alcuni minuti, come di seguito specificato nella descrizione delle singole funzioni.
Programma PANE
Utilizzare esta funzione per realizzare del pane.
Per ottenere i migliori risultati vi consigliamo di seguire attendentamente leindicazioni sotto riportate:
rispettare la ricetta;
- il peso massimo per leccarda;
- non dimenticare diMETTERE 1dl di acqua fredda sulla leccarda alla posizione 5;
Informare aorno freddo. Nel caso in cui si desideri informare aorno caldo, a seguito di una cottura che ha raggiunto alte temperature, il display visualizzerà la scritta "Hot" sino a quando la temperature delorno raggiungerà 40^ . A quello punto sare è possibile informare il pane.
Ricetta per il PANE :
1 Leccarda di 1000g Max, Ripiano basso
Ricetta per 1000g d'impasto : 600g Farina, 360g Acqua, 11g Sale, 25g lievito fresco (oppure 2 bustini in polvere) Processo:
- Mescolare la farina ed il sale in un grande recipiente.
- Diluire il lievito nell'acqua leggermente tiepida (circa 35 gradi).
- Aprite la farina a fontana.
Versare il miscuglio di acqua e lievito
- Lavorare fino ad ottenimento di un impasto omogeneo e peu colloso, stirandolo col palmo della mano e ripiegandolo su se stesso per 10 minuti.
- Formare una palla,METTERE I'impasto in un'insalatiera e ricoprirla con pellicola trasparente per evitare che la superficie dell'impasto si secchi. Mettere I'insalatiera nel forno alla funzione manuale BASSA TEMPERATURA a 40^ e lasciar lievitare per circa 1 ora (il volume dell'imposto deve raddoppiare)
- Dividere la palla per otteneri i diversi pani.
- Disporli sulla leccarda su una carta forno.
- Cospargere i pani di farina.
- Fare dei tagli sui pani.
- non dimenticare diMETTere 1dl di acqua fredda sulla leccarda alla posizione 5. Per la pulizia, si consiglia l'utilizzo di acqua e aceto.
- Infornare a fornro freddo.
Lanciare la cottura PANE
- Alla fine della cottura, lasciare risposare i pani su una griglia fino a completo raffreddamento.
Programma PIZZA
Utilizzato但这a funzione per realizzare della pizza. Fare riferimento al capitolo seguente per la ricetta e dettagli. Per ottenere i migliori risultati vi consiglio di seguire attendentamente leindicazioni sotto riportate:
rispettare la ricetta;
- il peso dell'impasto deve essere da 500g a 700g.
- ungere leggermente la leccarda e le teglie.
Informare aorno freddo. Nel caso in cui si desideri informare a fornocaldo, a seguito di una cottura che ha raggiunto alte temperature, il display visualizzera la scritta "Hot" sino a quando la temperature del forn o raggiungera 120^ . A Anything punto sare possibile informare la pizza.
Ricetta per la PIZZA :
1 Leccarda, Ripiano basso, a Forno Freddo o Caldo Ricetta per 3 pz peze di circa 550g : 1000g Farina, 500g Acqua, 20g Sale, 20g Zucchero, 10cl Olio di Oliva, 20g lievito fresco (oppure 2 bustini in polvere)
- Lievitatione nell'ambiente : 1 ora o funzione manuale BASSA TEMPERATURA a 40^ e lasciar lievitare per circa 30/45 minuti.
- Infornare a forno freddo.
Lanciare la cottura PIZZA
Programma ARROSTO DI VITELLO
Utilizzato esta funzione per cuocere carni di vitello, manzo, maiale, agnello. Informare a forno freddo. E'comunque possibile informareanche forno caldo.
Programma DOLCI
Questa funzione è ideale per la cottura di dolci. Informare a forno freddo. E' comunique possibile informareanche a forno caldo.
IT
Programmare la cottura
! La programmazione è possibile solo après aver selezionato un programma di cottura.
Programmare la durata di cottura
- Premere più volte il tasting non lampeggiano l'icona e i tre digit numerici sul DISPLAY;
- ruotare la manopola IMPOSTAZIONE TEMPI verso il + e - per regolare il tempo desiderato;
- premere nuovamente il tasting © per confermare;
- a tempo scaduto, sul DISPLAY compare la scritta END, il forno termina la cottura e viene emesso un segnale acustico.
- Esempio: sono le 9:00 e viene programmata una durata di 1 ora e 15 minuti. Il programma si arresta automaticamente alle 10:15.
Programmare la fine di una cottura
! La programmazione della fine di una cottura è possible solo dopo aver impostato una durata di cottura.
- Seguire la procedura da 1 a 3 descrietta per la durata;
- poi premere il tasto finché non lampeggiano l'icona e i due digit numerici sul DISPLAY;
- ruotare la manopola IMPOSTAZIONE TEMPI verso il + e - per regolare l'ora;
- premere di nuovo il tastingfinché non lampeggiano glialtre due digit numerici sul DISPLAY;
- ruotare la manopola IMPOSTAZIONE TEMPI verso il + e - per regolare i minuti;
- premere nuovamente il tasting © per confermare;
- a tempo scaduto, sul DISPLAY compare la scritta END, il forno termina la cottura e viene emesso un segnale acustico.
- Esempio: sono le ore 9:00, viene programmata una durata di 1 ora e 15 minuti e le 12:30 come ora di fine. Il programma inizia automaticamente alle ore 11:15.
Le icone e accese segnalano che è stata effettuata una programmazione. Sul DISPLAY vengono visualizzate alternativamente l'ora di fine cottura e la durata.
Per annullare una programmazione ruotare la manopola PROGRAMMI in posizione "0".
Consigli pratici di cottura
! Nelle cotture ventilate non utilizzato le posizioni 1 e 5: sono investite direttamente dall'aria calda che potrebbe provocare bruciature sui cibi delicati.
! Nelle cotture GIRARROSTO, disporre la leccarda in posizione 1 per raccogliere i residui di cottura (sughi e/o grassi).
MULTILIVELLO
- Utilizzare le posizioni 2 e 4, mettendo alla 2 i cibi che richiedono maggior calore.
- Disporre la leccarda in basso e la griglia in alto.
PIZZA
- Utilizzare una teglia in alluminio leggero, appoggiandola sulla griglia in dotazione.
Con la leccarda si allungano i tempi di cottura e dificilmente si ottiene una pizza croccante. - Nel caso di Puzzle molto farcite è consigliabile insereire la mozzarella a metà cottura.
Tabella cottura in forno
| PRIME PORTATE | PIETANZE | ESEMPI | FUNZIONE | TEMPERATURA | SUPPORTI |
| Plum-cake salati | plum-cake alle olive, al tonno, ecc. | Dolci o Multilivello | 160 °C | tortiera su leccarda | |
| Torte rustiche | torte rustiche al formaggio, pasticcio al salmone,... | Dolci o Multilivello | 200 °C | su leccarda | |
| Terrine | terrine di pesce, carne, verdure, foie gras, ecc. | Tradizione | 160 °C | stampo da terrine su leccarda (bagno-maria con acqua più calda) | |
| Tegamino | pasticci di fetago di volatile, purè di saline, uova in cocotte, ecc. | Tradizione | 160 °C | segamino su leccarda (bagno-maria con acqua più calda) | |
| Soufflé | soufflé al formaggio, alle verdure, al pesce, ecc. | Multilivello | 200 °C | tortiera su leccarda | |
| LEGUMI | Verdure farcite | patate, pomodori, zucchini, cavoli, ecc. | Multilivello | 200 °C | su leccarda o tortiera su leccarda |
| Verdure brasate in cocotte | lattuga, carote allo zafferano, scorzobianca, ecc. | Tradizione | 200 °C | cocotte su leccarda | |
| Flan | flan ai funghi, frittelle di verdura, ecc. | Tradizione | 160 °C | segamino o tortiera su leccarda (bagno-maria con acqua più calda) | |
| Terrine | terrine di verdure | Tradizione | 160 °C | tortiera su leccarda (bagno-maria con acqua più calda) | |
| Soufflé | soufflé d'asparagi, al pomodoro, ecc. | Multilivello | 200 °C | tortiera su leccarda | |
| Pietanze in pastella | pasticcio di verdure, ecc. | Multilivello | 200 °C | su leccarda | |
| Cartoccio | tartufi, ecc. | Multilivello | 200 °C | cartoccio su leccarda | |
| Riso | Pilaf | Tradizione | 180 °C | vassoio su leccarda |
| LE CARNI | PIETANZE | ESEMPI | FUNZIONE | TEMPERATURA | SUPPORTI |
| Volatili allo spiedo | pollo, galletti | Girarrosto | 270 °C | supporto per girarrosto | |
| grossi pezzi brasati | cosciotto intero brasato, cappone o tacchino grande, ecc. | Multilivello | 180 °C(a un terzo della cottura, abbassare a 160 °C) | carne su lecardabagnare a intervalli regolari con il sugo di cottura | |
| Sauté di carne in cocotte pietanze tradizzionali | manzo bourguignon, coniglio alla cacciadora, sauté di vitello Marengo, stufato d'agnello, pollo alla basca, ecc/backenhof, terrine, ecc. | Tradizione | 190 °C | cocotte su leccarda | |
| Grigliate | bistecche, braciole, salsicce da grigliare, spiedini, cosce di pollo, ecc. | Barbecue | 200 °C | su griglia (ripiano in funzione dello spessore) | |
| Carni in pastella | filetto di manzo Wellington, cosciotto in pastella, ecc. | Multilivello | 200 °C | su leccarda (per pezzi grandi, abbassare a 160 °C dopo la cottura della pastella) | |
| Pietanze in pastella di sale | volatili in pastella di sale, ecc. | Multilivello | 240 °C | carne su leccarda o vassoio su leccarda | |
| I PESCI | Pesci alla griglia e spiedini | spigola, sgombro, sardina, triglia, tonno, ecc. | Barbecue | 180 °C | su griglia (ripiano in funzione dello spessore) |
| Pesci interi (farciti) | orata, carpa, ecc. | Multilivello | 200 °C | su leccarda | |
| Filetti di pesce (con aggiunta di vino o alto liquido) | salmone, scorfano, merluzzo, spigola, ecc. | Tradizione | 200 °C | su leccarda | |
| Cartoccio | sogliola, limanda, conchiglie di saint jacques, ecc. | Multilivello | 200 °C | su leccarda | |
| Pesce in pastella (pasta sfoglia o pasta frola) | salmone, spiedino, ecc. | Multilivello | 200 °C | su leccarda | |
| Soufflé | conchiglie di saint jacques, ecc. | Multilivello | 200 °C | tortiera su leccarda | |
| Pesci in pastella di sale | spigola, carpa, ecc. | Multilivello | 240 °C | pesce su leccarda o vassoio su leccarda |
Tabella cottura inorno
| DOLCI DI PASTICcerIA | PIETANZE | ESEMPI | FUNZIONE | TEMPERATURA | SUPPORTI |
| Biscotti (senza lievito) | pan di spagna, savoiradi, biscotti arrotolati, Brownie, | Dolci o Multilivello | 200 °C | tortiera su leccarda | |
| Torte al formaggio bianco | 200 °C | tortiera su leccarda | |||
| Crostate in pasta livvitata | crostate allo zucchero, torte di pane briosciato alla frutta | 180 °C | tortiera su leccarda | ||
| Cottura di basi per crostate (pasta sablée) | crostate alla frutta cruda (fragole, lamponi, ecc.) | 180 °C | tortiera su leccarda(fagiolo secchi in pasta) | ||
| Pasticci (pasta sfoglia o pasta frolla) | pasticci alle pere, ecc. | 220 °C | tortiera su leccarda | ||
| bigné | profiterol, piccoli bigné, bigné, paris brest, saint honoré, ecc. | 190 °C | su leccarda | ||
| Piccoli dolci di pasticceria (lievito naturale) | croissant, crostate allo zucchero, brioche vuote, piccoli savarin, ecc. | 180 °C | su leccarda | ||
| Dolci di pasticceria grandi (lievito naturale) | kougloff, brioche, panettone, pane dolce,... | 160 °C | su leccarda o tortiera su leccarda | ||
| PASTICINI | Pasta da biscotti | biscotti in vassoietti di carta, biscotti al cucchiaio, ecc. | Dolci o Multilivello | 180 °C | su leccarda |
| Pasta sablée | frollini, biscotti spritz, biscottini secchi, ecc. | 200 °C | su leccarda | ||
| Pasta sfoglia | dolci sfogliati di vario tipo, ecc. | 200 °C | su leccarda | ||
| Amaretti, palline di cocco | amaretti alla noce di cocco o alla mandorla | 180 °C | su leccarda | ||
| Pasta lievitata | mini-brioche, mini-croissant, ecc. | 180 °C | su leccarda | ||
| Meringhe bianche | 70 °C | su leccarda | |||
| Meringhe ambrate | 110 °C | su leccarda | |||
| ENTRE METS | Pudding | pudding a base di pane o brioche, pudding al riso | Dolci o Multilivello | 190 °C | tortiera su leccarda |
| Creme e flanDolci di semola | crème caramel, crème brûlée, flan ai ciocolato, ecc. | 160 °C | Stampi o tegamino su leccarda (bagno-maria su leccarda) | ||
| Dolci al riso | riso alla condé, riso imperatrice, ecc. | 180 °C | tortiera su leccarda | ||
| Soufflé | soufflé al liqueore, soufflé alla frutta, ecc. | 200 °C | tortiera su leccarda | ||
| FRUTTA | Frutta farcita o al cartoccio | mele alorno, ecc. | Multilivello | 200 °C | tortiera o cartoccio su leccarda |
| VARIE | PIETANZE | ESEMPI | FUNZIONE | TEMPERATURA | SUPPORTI |
| Yogurt | Bassa temperatura | 40 °C | tegamoto su leccarda | ||
| Cibi secchi | funghi, erbe, frutta o verdura a fette, ecc. | Bassa temperatura | 80 °C | su griglia |
Programmi di cottura automatici
| Funzione | Cottura raccomandata per ... | ESEMPI | SUPPORTI | Livello leccarda | Durata cottura (minuti) | Informativa | |
| Arrostodi vitello | Arrostodi carne | Arrostodi vitello | su leccarda o teglia | 2 | ±10 | Freddo | |
| Arrostodi maiale | Da +10 a +25 | ||||||
| Pollo arrosto | Da +5 a +15 | ||||||
| Coscia d'agnello | ±10 | ||||||
| Arrostodi manzo | Da -20 a -5 | ||||||
| Dolci | Plum-cake e quattro quarti (con lievito chimico) | plum-cake alla frutta, marezzati, quattro quarti, ecc. | tortiera su griglia | 2 | 45** | Freddo | |
| Crostate alla frutta (pasta frolla o pasta sfoglia, con o senza flan) | crostate di mele, mirabelle, pere, ecc. | tortiera su griglia | 2 | ||||
| Pasta sfoglia | panzerotti alle mele, torte rustiche, pasticci, ecc. | su leccarda | 2 | ||||
| Dolci sulla livvito (clafoutis, torta pithivier alle mandorle, torta rustica, ecc.) | su leccarda | 2 | |||||
| Pizze | Pizze alto, focacce (impasto di pane) | 2 | 28** | Caldo o freddo | |||
| Pane | *** | 2 | 55 | Freddo |
- I tempi di cottura sono indicativi e possono essere modificati in base ai proprio gusti personali. I tempi di preriscaldamento del fornso sono preimpostati e non modificabili manually.
Le durate delle cotture automatiche sono preimpostate. I valori in tabella si riferiscono ai valori di durata minima e massima, modificabile dall'utente a partire alla durata preimpostata.
* Come da ricetta,aggiungere 100 gr di acqua nella leccarda.
Precauzioni e consigli
! L'apparecchio è stato progettato e costruito in conformità alle norme internazionali di sicurezza.
Queste avvertenze sono fornite per ragioni di sicurezza e devono essere lette attendamente.
Sicurezza generale
- L'apparecchio è stato concepito per un uso di tipo non professionale all'interno dell'abitazione.
- L'apparecchio non va installato all'aperto, nemmeno se lo spazio è riparato, perché è molto pericoloso lasciarlo esesto a pioggia e temporali.
- Per movimentare l'apparecchio servirsi sempre delle apposite maniglie poste sui bianchi delorno.
- Non toccare l'apparecchio a piedi nudi o le mani o i piedi bagnati o umidi.
- L'apparecchio deve essere usato per cuocere alimenti, solo da persona adulte e secondo le istruzioni riportate in questo libretto. Ogni altro uso (ad esempio: riscaldamento di ambienti) è da considerarsi improprio e quando pericoloso. Il costruttore non può essere considerato responsable per eventuali danni derivanti da usi impropri, erronei ed irragionevoli.
- Durante l'uso dell'apparecchio gli elementi riscaldanti e alcune parti della porta forno divertano molto calde. Fare attenzione a non toccarle e tenere i bambimi a distanza.
- Evitare che il cavo di alimentazione di altri elettrodomestici entri in contatto con parti calde del forno.
- Non ostruire le aperture di ventilazione e di smaltimento di calore.
- Impugnare la maniglia di aperture della porta al centro: ai lati potrebbe essere calda.
- Utilizzare sempre guanti da forno per inserire o estrarre recipienti.
Non rivestire il fondo delorno con fogli di alluminio. - Non riporre materiale infiammabile nel forno: se l'apparecchio vieneMESSO inavvertamente in funzione potrebbe incendiarsi.
- Assicurarsi sempre che le manopole siano nella posizione “ ”/“ ” quando l'apparecchio non è utilizzato.
- Non staccare la spina alla presa della corrente tirando il cavo, bensi afferrando la spina.
- Non fare pulizia o manutenzione perché aver prima staccato la spina alla rete elettrica.
- In caso di guasto, in nessun caso accedere ai meccanismi interni per tentare una riparazione. Contattare l'Assistenza (vedi Assistenza).
Non appoggiare oggetti sulla porta delorno aperta. - Evitare che i bambini giochino con l'apparecchio.
Non è previsto che l'apparecchio venga utilizzato da persona (bambini compresi) con ridotte disponibile fisiche, sensoriali o mentali, da persona inesperte o che non abbiano familiarità con il prodotto, a meno che non vengano sorvegliate da una persona responsabile della loro sicurezza o non abbiano ricevuto istruzioni preliminari sull'uso dell'apparecchio. - L'apparecchio non è destinato a essere什么意思 in funzione per mezzo di un temporizzatore esterno oppure di un sistema di lavoro a distance separato.
Smaltimento
- Smaltimento del materiale di imballaggio: attenersi alle norme locali,osi gli imballaggi potranno essere riutilizzati.
- La direttiva Europea 2002/96/CE sui rifiuti di apparecchiature elettriche ed elettroniche (RAEE), prevede che gli elettrodomestici non debbano essere smaltiti nel normale flusso dei rifiuti solidi urbani. Gli apparecchi dismessi devono essere raccolti separatamente per ottimizzare il tasso di recupero e riciclaggio dei materiali che li compongono ed impedire potenziali danni per la salute e l'ambiente. Il simbolo del cestino barrato è riportato su tutti i prodotti per ricordare gli obblighi di raccolta separata. Per ulteriori informazioni, sulla corretta dismissione degli elettrodomestici, i detentori potranno rivolgersi al servizio pubblico preposto o ai rivenditori.
Risparmiare e rispettare l'ambiente
- Azionando ilorno negli orari che vanno dal tardo pomeriggio fino alle prime ore del mattino si collabora a ridurre il carico di assorbimento delle aziende elettriche. Le opzioni di programmazione dei programmi, in particolar modo la "cottura ritardata" (vedi Programmi), permettono di organizzarsi in tal senso.
- Si raccomanda di effettuare sempre le cotture al GIRARROSTO a porta chiusa: sia per ottenerile migliorori risultati che per un sensibile risparmio di energia (10% circa).
- Mantenere efficienti e pulite le guarnizioni, in modo che aderiscano bene alla porta e non procurino dispersioni di calore.
! Questo prodotto soddisfa i requisiti imposti alla nuova Direttiva Europea sulla limitazione dei consumi energetici in standby.
Se non si eseguono operazioni per 2 minuti, l'apparecchio si dispone automaticamente in modalità standby.
La modalità standby è visualizzata con "Icona Orologio" in alta luminosità.
Non appena si interagisce nuovamente con l'apparecchio, il sistema ritorna in modalità operativa.
Manutenzione e cura
Escludere la corrente elettrica
Prima di agli operazione isolare l'apparecchio alla rete di alimentazione elettrica.
Pulire l'apparecchio
- Le parti esterne smaltate o inox e le guarnizioni in gomma possono essere pulite con una spugnetta imbevuta di acqua tiepida, e sapore neutro. Se le macchie sono difficili da asportare usare prodotti specifici. Si consiglia di sciacquare abbondamente e di asciugare dopo la pulizia. Non usare polveri abrasive o sostanze corrosive.
- L'interno delorno va pulito preferibilmente agli volta dopo l'uso, quando è ancora tiepido. Usare acqua calda e detersivo, risciaquare e asciugare con un panno morbido. Evitare gli abrasivi.
IT
- Gli accessori sono essere lavati come normali stoviglie,anche in lavastoviglie ad eccezione delle guide scorrevoli.
! Non utilizzato mai pulitori a vapore o ad alta pressione per la pulizia dell'apparecchio.
Pulire la porta
Pulire il vetro della porta con spugne e prodotti non abrasivi e asciugare con un panno morbido; non usare materiali ruvidi abrasivi o raschietti metallici affiliati che sono graffiare la superficie e causare la frantumazione del vetro.
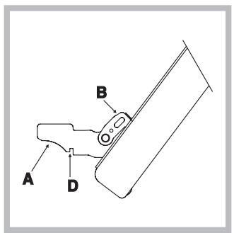
Per una pulizia più accurata è possible smontare la porta del forno:
- Aprière Completely la porta e alzare le 2 levette "B";
- Ora, chiudendo parzialmente la porta, è possible sollevarla estaendo i ganci "A" come indicato in figura.
Per rimontare la porta:
- Con la porta in posizione verticale, inseire i 2 ganci "A" nelle feritoie;
- Assicurarsi che la sede "D" sia agganciata perfettamente al bordo della feritoia (muovere leggermente la porta avanti ed indietro);
- Tenere la porta completamente aperta, sganciare le 2 levette "B" versus il basso, quando chiudere la porta.


Controllare le guarnizioni
Controllare periodicamente lo stato della guarnizione attorno alla porta del forno. In caso risulti danneggiata rivolgersi al Centro Assistenza più vicino (vedi Assistenza). è consigliabile non usare il forno fino all'avvenuta riparazione.
Sostituire la lampadina

Per sostituire la lampadina di illuminazione delorno:
- Togliere il coperchio in vetro, servendosi di un cacciavite.
- Svitare la lampadina e sostituirla con una analoga: potenza 15 W, attacco E 14.
Rimontare il coperchio, prestando attenzione a posizionare correttamente la guarnizione (vedi figura).
! Non utilizzato la lampada forno per e come illuminazione di ambienti.
ManualeFacile