FP 955.1 S - Ofen SCHOLTES - Kostenlose Bedienungsanleitung
Finden Sie kostenlos die Bedienungsanleitung des Geräts FP 955.1 S SCHOLTES als PDF.
Laden Sie die Anleitung für Ihr Ofen kostenlos im PDF-Format! Finden Sie Ihr Handbuch FP 955.1 S - SCHOLTES und nehmen Sie Ihr elektronisches Gerät wieder in die Hand. Auf dieser Seite sind alle Dokumente veröffentlicht, die für die Verwendung Ihres Geräts notwendig sind. FP 955.1 S von der Marke SCHOLTES.
BEDIENUNGSANLEITUNG FP 955.1 S SCHOLTES
Bedienungsanleitung,2
Hinweise,5
Kundendienst,7
Beschreibung Ihres Gerätes,9
Beschreibung Ihres Gerätes,11
Installation,57
Inbetriebsetzung und Gebrauch,59
Programme,59
Vorsichtsmaßregeln und Hinweise,64
Reinigung und Pflege,64

Nederlandsls
Gebruiksaanwijzing
OVEN
Inhoud
ZUR BEACHTUNG: Bei Gebrauch wird desses Gerät und alle zugänglichen Teile sehr heißt. Es ist darauf zu achtenden, dass die Heizelemente nicht berührt werden. Kinder unter 8 Jahren, die nicht ständig beaufsichtigt sind, von dem Gerät fernhalten. Das Gerätarf von Kindern ab 8 Jahren und Personen mit eingeschränkten körperlichen, geistigen oder Wahrnehmungsfähigkeiten oder aber ohne ausreichende Erfahrung und Kenntnis verwendet werden, vorausgesetzt sie werden ausreichend überwacht oder sie wurden in den sicheren Gebrauch des Geräts eingewiesen und haben eine ausreichende Wahrnehmung der mit dem Gebrauch des Geräts verbundenen Gefahren. Erlauben Sie Kindern nicht, mit dem Gerät zu playen. Reinigung- und Wartungsarbeitendürfen nicht von unbewachten Kindern ausgeführct werden.
Verwenden Sie zur Reinigung der Glastür des Backofens keine Scheuermittel oder scharfkantige Metallspachtel, um die Oberfläche nicht zu zerkratzen und so das Zerspringen des Glases zu verursachen.
Verwenden Sie zur Reinigung des Kochfeldes keine Dampf- oder Hochdruckreinigungsgeräte.
ZUR BEACHTUNG: Versichern Sie sich, dass das Gerät ausgeschaltet ist, bevor Sie die Lampe austauschen. Stromschlaggefahr.
NL
Belangrijk
Das Gerät ist mit einem Diagnose-System ausgestattet, dank dessen eventuelle Betriebsstörungen erfasst werden können. Diese werden auf dem Display durch Meldungen folgenden Typs angezeigt: “F” gefolgt von Nummern. In diesen Fälle ist der Kundendienst anzufordern.
! Wenden Sie sich auf keinen Fall an nicht autorisierte Techniker.
Geben Sieitte Folgendes an:
die genaue Beschreibung des Fehlers;
das Gerätemodell (Mod.)
die Modellnummer (S/N).
Letztere Informationen können dem Typenschild, das sich auf dem Gerät befindet, entnommen werden.
NL
Service
Belangrijk:
Beschreibung Ihres Gerätes
Geräteansicht
1 Bedienfeld
2 Backofentürfenster
NL
Description de l'ordinateil
Tableau de bord
1 AFFICHEUR
2 Bouton SELECTION TEMPS
3 Manette PROGRAMMES
4 Manette THERMOSTAT/ SELECTION TEMPS
5 Bouton ECLAIRAGE
Afficheur
Beschreibung Ihres Gerätes
Bedienfeld
1 DISPLAY
2 Taste ZEITEINSTELLUNG
3 Reglerknopf PROGRAMME
4 Reglerknopf THERMOSTAT/ZEITEINSTELLUNG
5 BACKOFENBELEUCHTUNG
Display
6 Digit-Anzeige TEMPERATURE und ZEITEN
7 Symbol UHR
8 Symbol KURZZEITWECKER
9 Symbol GARZEITENDE
10Symbol DAUER
11VORHEIZZEIT-Anzeige


IT
Installazione
! Bewahren Sie diese Bedienungsanleitungitte sorgfaltig auf, damit Sie sie jederzeit zu Rateziehen konnen. Sorgen Sie davon, dass sie im Falle eines Verkaufs, eines Umzugs oder einer Übergabe an einen anderen Benutzer das Geräst stets begleitet, damit auch der Nachbesitzer die Mochlichkeit hat, darin nachschlagen zu konnen.
! Lesen Sieitte folgende Hinweise aufmerksam durch, sie liefern wichtige Informationen hinsichtlich der Installation, dem Gebrauch und der Sicherheit.
Einbau
Um einen einwandfrei Betrieb des Einbauerates zu gewährleisten, muß der Umbauschrank geeignete Merkmale aufweisen. Auf Abbildung sind die Abmessungen des Um-bauschrankes in der Version Unterbau angegeben.

Um eine optimale Belüfung an der vorderen, unteren Seite des Möbels und an dessen Oberseite zu gewährleisten, müssen geeignete Belüftungsöffnungen vorge-sehen werden (Belüftungsöffnung von unten mindestens 200 cm², Luftabzug auf der oberen Seite mindestens 90 cm²). Die am Backofen angrenzenden Schrankwände müssen hitzebeständig sein. Besonderss bei Schranken aus Furnierholz muß der Leim einer Tem-peratur von 120^ standhalten. Gemäß den Sicherheits- vorschriften müssen nach dem Einbau des Gerätes alle Berührungsmöglichkeiten mit elektrischen Teilen ausge-schlossen sein. Alle zur Sicherheit vorhandenen Teile müssen so befestigt werden, daß sie ohne Zuhlifenahme eines Werkzeuges nicht entfernrt werden konnen.
Befestigung
Stellen Sie das Gerät in die vorgesehene Öffnung, öffnen Sie die Ofentür und befestigen Sie den Ofen am Umbauschrank mittels der 4 Schrauben "A".
Vergessen Sie damit nicht, das Distanstück zwischen der Bohrung und der Schraube einzufugen.


Elektröanschluss
Die mit einem Dreileiterspeisekabel ausgerüsteten Backöfen sind für den Betrieb mit Wechselstrom bei einer auf dem Typenschild (auf dem Gerät) aufgeführten Versorgungsspannung und -frequenz ausgelegt.
Der Erdleiter hat die Farbe gelb/grün.
Austausch des Kabels
Für den Austausch des Kabels ist ein Gummikabel vom Typ H05VV-F mit einem Durchschnitt 3 x 1,5 mm² zu verwenden. Die gelb-grüne Erdungsleitung muß um 2÷3 cm länger als die anderen Drahte sein.
- Heben Sie unter Zuhlifenahme eines Schraubenziehers die seitlichen Zungen des Klemmengehausedeckels an.
- Ziehen Sie den Deckel des Klemmengehauses ab. Verlegen Sie nun das Versorgungskabel wie folgt:
- die Schraube der Kabelklemme sowie die drei Schraubenden Kontakte L-N- herausschrauben;
- die Drähte unter Beachtung der entsprechenden Farben unter den Schraubenköpfen befestigen: Blau (N) Braun (L) Gelb/Grün
- das Versorgungskabel in der entsprechenden Kabelklemme befestigen und den Deckel schließen.


Anschluß des Versorgungskabels an das Stromnetz
Versehen Sie das Kabel mit einem Normstecker für die auf dem Typenschild angegebene Belastung; wird das Gerät direkt an das Stromnetz angeschlossen, ist ein allpoliger Schalter mit einer Mindestöffnung von 3 mm, der der Strombelastung und den geltenden Richtlinien entspricht, zwischenzuschalten (der Erdleiterarf nicht durch den Schalter unterbrochen werden).
Das Versorgungskabel muß so verlaufen, daß es an keiner Stelle eine Temperatur erreicht, die 50^ über den Raumtemperatur liegt.
Bevor der Anschluß vorgenommen wird, beachten Sie, daß:
Die elektrische Sicherheit these Gerätes nur dann gewährleistet ist, wenn es sachgemäß und gemäß den geltenden Sicherheitsvorschriften an eine leistungsfähige Erdungsanlage angeschlossen wird. Die Gegebenheit dieser grundlegenden Sicherheitsanforderung muß überprüft werden, im Zweifelsfalle ist eine Kontrolle durch Fachpersonal anzufordern. Der Hersteller kann für eventuelle durch Fehlen einer Erdungsanlage verursachte Schäden nicht zur Verantwortung gezogen werden.
- Vor Anschluß des Gerätes kontrollierten Sieitte, daß die auf dem Typenschild (befindlich auf dem Gerät und/oder auf der Verpackung) angegebenen Daten mit denen des Stromversorgungsnetzes übereinstimmen.
- Vergewissern Sie sich davon, daß die elektrische Leistung der Anlage und der Steckdosen der maximalen, auf dem Typenschild angegebenen Höchstleistung des Gerätes entspricht. Im Zweifelsfalleziehen Sieitte einen Fachmann zu Rate.
- Falls Steckdose und Stecker des Gerätes nicht übereinstimmen sollenen, ist die Steckdose von einem Fachmann durch eine andere geeigneten Typs zuersetzen. Derselbe muß bei der Gelegenheit auch überprüfen, daß der Steckdosen-Kabelquerschnitt der Leistungsaufnahme des Gerätes entspricht. Allgemein ist die Verwendung von Adpatern, Vielfachsteckdosen und/oder Verlängerungen nicht ratsam. Falls deren Gebrauch jedoch unvermeidlich sein sollte,)dürfen nur Einfach oder Vielfachadapter und Verlängerungen verwendet werden, die den geltenden Sicherheitsvorschriften entsprechen; achten Sie daraufuf, daß die auf dem Einfachadapter und den Verlängerungen angegebene Stromleistungsgrenze und die auf dem Vielfachadapter angegebene Höchstleistungsgrenze nicht übersritten wird.
!Netzkel und Steckdose müssen bei installmentem Gerät kein nicht zugänglich sein.
!Das Netzkabelarfnichtgebogenodereingklemmtwerden.
! Das Kabel muss regelmäßig kontrolliert werden und darüber durch autorisiertes Fachpersonal ausgetauscht werden (siehe Kundendienst).
! Der Hersteller lehtigt jeder Verantwortung ab, falls diese Vorschriften nicht eingehalten werden sollenen.
| TYPENSCHILD | |
| Abmessungen | Breite 59,5 cm Höhe 32,9 cm Tiefe 39,4 cm |
| Nutzvolumen | Liter 78 |
| Elektrischer Anschluss | Spannung 220-240V~ 50/60Hz (siehe Typenschild) maximale Leistungsaufnahme 2800W |
| ENERGY LABEL | Richtlinie 2002/40/EG Energieetikettierung für Elektrobacköfen Norm EN 50304-60350 Energieverbrauch Umluft- Heizfunktion: Gratin. |
| CE | Dieses Gerät entspricht den folgenden EG-Richtlinien: - 2006/95/EWG vom 12.12.2006 (Niederspannung) und nachfolgende Änderungen - 2004/108/EWG vom 15.12.04 (Elektromagnetische Verträglichkeit) und nachfolgende Änderungen - 93/68/EWG vom 22.07.93 und nachfolgende Änderungen. - 2002/96/EG und nachfolgenden Änderungen. - 1275/2008 Standby/Off-Mode |
Inbetriebsetzung und Gebrauch

!Beim Einsetzen des Rosts darauf auf achten, dass sich die Arretierung im hinteren Bereich befindet (siehe Abbildung).
Uhr einstellen
! Die Uhr kann bei ein- oder ausgeschaltetem Backofene eingestellt werden, jedoch nicht, wenn das Ende einer Garzeit programmiert wurde.
- Die Taste wiederholt drücken, bis auf dem DISPLAY das Symbol und die ersten zwei nummerischen Digitalanzeigen blinken.
- Den Drehschalter ZEITEINSTELLUNG in Richtung +^ und drherherherherherherherrherherrherrherrherrherrhets .
- Die Taste wiederholt drücken, bis auf dem DISPLAY die)nachsten beiden Digitalanzeigen blinken.
- Den Drehschalter ZEITEINSTELLUNG in Richtung , + und , = drehen, um die Minuten einzustellen.
- Die Eingabe durch das Drücken der Taste bestätigten.
Kurzzeitwecker einstellen
!These Funktion beeinflusst weder den Garvorgang, noch den Gebrauch des Backofens. Sie weist ausschließlich durch ein akustisches Signal daraufhin, dass die eingestillten Minuten abgelaufen sind.
- Die Taste 🚨 wiederholt drücken, bis auf dem DISPLAY das Symbol 📁 und die drei nummerischen Digitalanzeigen blinken.
- Den Drehschalter ZEITEINSTELLUNG in Richtung , + und , - drehen,um die Minuten einzustellen.
- Die Eingabe durch das Drücken der Taste bestätigen. An dieser Stelle wird der Count-down angezeigt, nach dessen Ablauf sich ein akustisches Signal aktiviert.
Gebrauch des Backofens
! Bei erstmaliger Inbetriebnahme sollen der leere Backofen für etwa eine Stunde bei Höchsttemperatur und geschlossener Backofentür in Betrieb genommen werden. Das Gerät danach ausschalten, die Backofentür öffnen und die Küche luften. Der bei thisem Vorgang erzeugte Geruch entsteht durch die Verflüchtigung der zum Schutz des Backofens aufgetragenen Stoffe.
! Zur Vermeidung einer Beschädigung der Beschichtung nie Kochgeschirr auf dem Backofenboden positionieren.
!Das Kochgeschirr stets auf den mit dem Gerät gelieferten Backofenrosten abstellen.
! Bei Zubereitungen, für die das Aufgehen des Teiges vorgesehen ist, die Tur nicht öffnen, um das Ergebnis nicht zu beeinträchtigen.
1. Das gewünschte Garprogramm über den Drehschalter PROGRAMME ausgehalten.
- Der Backofen schaltet auf Vorheizen. Die Vorheiz-Anzeige leuchtet auf.
Die Temperatur kann mithilfe des Drehschalters THERMOSTAT abgeändert werden. - Sobald die Vorheizzeit-Anzeige .111 erlischt, ertont ein akustisches Signal. Die Vorheizzeit ist abgelaufen: Gargut in den Backofen geben.
- Wahrend des Garvorgangs sind folgende Einstellungen jederzeit möglich:
- Andern des Garprogramms über den Drehschalter PROGRAMME.
- Andern der Temperatur über den Drehschalter THERMOSTAT.
- Programmieren der Dauer und des Garendes (siehe Garprogramme).
- Unterbrechen des Garvorgangs durch das Drehen des Drehschalters PROGRAMME auf Position „0".
- Die Garzeitdauer kann verändert werden (siehe Garprogramme).
- Das Gerät ist mit einem System ausgestattet, das im Falle eines Stromausfalls das Programm wieder an dem Punkt aktiviert, an dem es unterbrochen wurde (wenn die Temperatur im Backofen nicht zu stark abgesonnen ist). Noch auszuführende, vorprogrammierte Vorgänge werden hingegen bei der Wiederherstellung der Stromversorgung nicht berücksichtigt und sind neu zu programmieren.
Kuhl Luftgeblase
Um die Temperaturen an den äußerten Teilen des Backofens abzuseken, wird mit Hilfe eines Kühlluftgebläses ein Luftstrahl erzeugt, der zwischen dem Bedienfeld und der Backofentür austritt.
! Nach Abschluss eines Garvorgangs bleibt das Gebläse solange in Betrieb, bis der Backofen ausreichend abgekühlt ist.
Backofenbeleuchting
Bei ausgeschaltetem Backofen kann das Backofenlicht jederzeit durch Drucken der Taste eingeschaltet werden.
Programme
Manuelle Garprogramme
! Für alle Programme ist eine Gartemperatur voreingestellt.
These kann von Hand auf einen beliebigen Wert zwischen 30^ und 300^ (wo möglich) verändert werden.
Programm ECHTE HEISSLUFT
Alle Heizelemente schalten sich ein und das Geblase wird in Betrieb genommen. Da die Hitze im gesamten Backofen konstant ist, werden die Speisen sehr gleichmäßig gegart und gebräunt. Es kann auf maximal drei Einschubhöhen gleichzeitig gegart werden.
Programm TRADITIONELL
Bei dieser traditionellen Garart verwenden Sieitte nureine Einschubhöhe.

Programm GRILL-DREHSPIESS
Das obere Heizelement schaltet sich ein, und der Drehspieß wird in Betrieb gesetzt. Diese Funktion wurde für das Garen mit dem Drehspieß optimiert. Diese Garart bei geschlossener Backofentür durchführren.

ProgrammüBERBACKEN
Das obere und das runde Heizelement schalten sich ein und das Geblase wird in Betrieb genommen. Außer der einseitigen Strahlungshitze zirkuliert Heillauf im Innern des Backofens. Ideal für Gratingerichte, Lasagna usw. Garen Sie bei geschlossener Backofentür.

Programme NIEDRIGE TEMPERATUR
TheseProgramme eignen sich zum Garen von Hefeteigen, zum Auftauen von Gefriergut, zur Bereitung von Yoghurt, zum mehr oder weniger schllen Aufheizen, zum langsamen Garen bei niedriger Temperatur. Folgende Temperaturen konnen eingestellt werden: 40, 85, 120.
MultispieB
Die "Maxiformo" sind mit einem transversal angebrachten, abnehmbaren Multispieß ausgerüstet. Das zu garente Fleisch in seiner Länge nach aufspießen und mittels der regulierbaren Gabeln befestigen. Bei keinen Spißen spißen Sie das zu garente Fleisch auf die mitgelieferten Späße auf und hangen Sie diese dann in die Halterungen ein. Die Halterungen "A" und "B" in die Löscher der Fettpfanne eingufen, die Späßstange an ihrer Aussparung in den Sitz "D" einlagen, den Grillost in die unterste Einschubhöhe einschieben, die Späßstange in die Öffnung der Antriebswelle stecken und an ihrer Aussparung in den Sitz "C" einlagen.
Durch Drehen des Reglerknopfes auf die Position Grill den Motor einschalten.


Automatik-Garprogramme
! Temperatur und Garzeitdauer sind vorbestimmt und durch das System C.O.P.® (Cottura Ottimale Programmata - Programmierte optimale Garzeit) unveränderlich. Somit wird ein perfektes Ergebnis garantiert. Der Backvorgang wird automatisch unterbrochen; der Backofen signalisiert, wenn das Backgut gar ist. Die Garzeit kann um eine Minute verändert werden, wie nachfolgend in der Beschreibung der einzelnen Funktionen angegeben.

Programm BROT
Benutzen Sie diese Funktion zur Brotherstellung.
Für optimale Ergebnisse befolgen Sieitte aufmerksam die nachfolgend aufgeführten Anweisungen:
-
Halten Sie sichitte an das Rezept.
-
Berücksichtigten Sie das Maximalgewicht pro Backblech.
- Vergessen Sieitte nicht,1dl kaltes Wasser auf die aufEinschubhöhe5eingeschobeneFettpfanne zu geben.
Schieben Sie das Gargut in den kalten Ofen. Mochtte man das Gargut in den vorgeheizten Ofen geben, nachdem er für eine andere Zubereitung bereits hohe Temperaturen erreicht hat, dann zeigt das Display den Hinweis "Hot" bis die Temperatur des Backofens die 40^ erreicht hat. Nun kann das Brot in den Ofen gegeben werden.
BROTREZEPT:
1 Backblech mit 1000 g max., untere Einschubhöhe
Rezept für 1000g Teig: 600 g Mehl, 360g Wasser, 11g Salz, 25 g frische Hefe (oder zwei Tüchen Instanthefe) Vorgang:
- Vermischen Sie Mehl und Salz in einem großigen Behälter.
- Lösen Sie die Hefe in leicht lauwarmem Wasser (circa 35 Grad) auf.
- Drücken Sie eine Mulde in das Mehl.
- Geben Sie das Gemisch aus Wasser und Hefe hinein.
- Kneten Sie das Ganze, bis ein homogener und nur leicht klebriger Teig entstehen. Platten Sie hierfür den Teig mit dem Handballen und kneten Sie ihn dann wieder zusammen (fur ca. 10 Minuten).
- Formen Sie eine Kugel und geben Sie den Teig in eine Schüssel. Decken Sie den Teig mit Frischhaltefolie ab, damit er an der Oberfläche nicht austrocknet. Geben Sie die Schüssel in den auf manuelle Betriebsweise NIEDRIGTEMPERATUR bei 40^ geschalteten Backofen, und setzen Sie den Teig für ungefahr 1 Std. gehen (bis der Teig das doppelte Volumen erreicht hat).
- Teilen Sie den Teig, so dass Sie mehrere Brote erhalten.
- Geben Sie diese auf ein mit Backpapier ausgelegtes Backblech.
Bestauben Sie die Brote mit Mehl.
Schneiden Sie die Brote ein. - Vergessen Sieitte nicht,1dl kaltes Wasser auf die aufEinschubhöhe5ingeschobeneFettpfanne zu geben.Zur Reinigung empfehlen wir die Verwendung von Wasser und Essig.
- Schiebern Sie das Gargut in den kalten Ofen.
- Starten Sie das Garprogramm BROT.
- Legen Sie die Brote nach dem Garvorgang auf ein Gitter, damit sie komplett abkühlen können.

Programm PIZZA
Benutzen Sie diese Funktion zum Backen von Pizzen. Befolgen Sie das angeführte Rezept sowie die Details. Für optimale Ergebnisse befolgen Sieitte aufmerksam die nachfolgend aufgeführten Anweisungen:
- Halten Sie sichitte an das Rezept.
- Der Teig muss zwischen 500g und 700 g wiegen.
- fetten Sie die Fettpfanne und die Backbleche leicht ein. Schieben Sie das Gargut in den kalten Ofen. Mochtte man das Gargut in den vorgeheizten Ofen geben, nachdem er für eine andere Zubereitung bereits hohe Temperaturen erreicht hat, dann zeigt das Display den Hinweis "Hot" bis die Temperatur des Backofens die 120^ erreicht hat. Nun kann die Pizza in den Ofen gegeben werden.
PIZZAREZEPT:
1 Backblech,unte Einschubhöhe,bei kaltem oder vorgeheiztem Backofen
Rezept für 3 Pizzen mit etwa 550 g: 1000 g Mehl, 500 g Wasser, 20 g Salz, 20 g Zucker, 10 cl Olivenöl, 20 g frische Hefe (oder zwei Tüchen Instanthefe)
- Aufgehen bei Raumtemperatur: 1 Stunde oder manuelle Betriebsart NIEDRIGE TEMPERATUR bei 40^ und etwa 30/45 Minuten gehen给你们.
- Schieberen Sie das Gargut in den kalten Ofen.
- Starten Sie das Garprogramm PIZZA.

Programm KALBSBRATEN
Verwenden Sie diese Funktion für Kalbs-, Rinder-, Schweine- und Lammfleisch. Schieben Sie das Gargut in den kalten Ofen. Es kann jedoch auch in den vorgeheizten Backofen gegeben werden.

Programm KUCHEN
These Funktion ist ideal für die Zubereitung von Kuchen. Schieben Sie das Gargut in den kalten Ofen. Es kann jeder auch in den vorgeheizten Backofen gegeben werden.
Garzeit programmieren
! Die Programmierung ist nur nach der Festlegung eines Garprogramms möglich.
Garzeit programmieren
- Die Taste wiederholt drücken, bis auf dem DISPLAY das Symbol und die drei nummerischen Digitalanzeigen blinken.
- Den Drehschalter ZEITEINSTELLUNG in Richtung „+ und „-drehen, um die gewünschte Zeit einzustellen.
- Die Taste zur Bestätigung drucken.
- Nach Ablauf der Zeit zeigt das DISPLAY die Anzeige END an. Der Backofen schließt den Garvorgang ab und das akustische Signal wird aktiviert.
- Beispiel: Es ist 9.00 Uhr. Programmierte Garzeit: 1 Std. und 15 Min. Das Programm stoppt automatisch um 10:15 Uhr.
Programmierung eines Garzeitendes
! Das Ende einer Garzeit kann nur dann programmiert werden, wenn auch eine Garzeitdauer eingestellt wurde.
- Die zum Einstellen der Programmdauer beschrieben Schritte von 1 bis 3 durchführten.
- Die Taste wiederholt drücken, bis auf dem DISPLAY das Symbol und die beiden numerischen Digitalanzeigen blinken.
- Den Drehschalter ZEITEINSTELLUNG in Richtung „+ und „-“ drehen, um die Stunden einzustellen.
- Die Taste wiederholt drücken, bis auf dem DISPLAY die)nachsten beiden Digitalanzeigen blinken.
- Den Drehschalter ZEITEINSTELLUNG in Richtung , + und = " drehen,um die Minuten einzustellen.
- Die Taste zur Bestätigung drucken.
-
Nach Ablauf der Zeit zeigt das DISPLAY die Anzeige END an. Der Backofen schließ den Garvorgang ab und das akustische Signal wird aktiviert.
-
Beispiel: Es ist 9:00 und es wird eine Dauer von 1 Std. und 15 Min. sowie das Programmende für 12:30 Uhr vorprogrammiert. Das Programm startet um 11:15:00 automatisch.
Die eingeschalteten Symbole und Zeigen an, dass eine Programmierung erfolgt ist. Das DISPLAY gibt das Garende und die Garzeit in Wechselfolge wieder.
Die Programmierung kann durch das Drehen des Drehschalters PROGRAMME auf Position „0" rückgangig gemacht werden.
Praktische Back-/Brathinweise
!Verwenden Sie beim Heißluftgaren nicht die Einschubhöhen 1 und 5. Sie sind der Heißluft zu direkt ausgesetzt, wodurch empfindliche Gerichte leicht verbrennen können.
! Setzen Sie zum DREHSPIESSGAREN die Fettpfanne zum Aufgangen von abtropfendem Fett oder Fleischsaft auf Einschubhöhe 1 ein.
ECHTE HEISSLUFT
Die Einschubhöhen 2 und 4 verwenden, wobei Höhe 2 für die Speisen verwendet werden sollente, die einer größeren Hitze bedürfen.
- Die Fettpfanne in dieunte und den Rost in die obere Führung einfahren.
PIZZA
- Eine Leichtmetallform verwenden und diese direkt auf dem mitgelieferten Rost positionieren.
Die Fettpfanne verlängert die Garzeit. Deren Verwendung vermeiden, wenn knusprige Pizzas erzielt werden sollen. - Bei reich belegten Pizzas ist es empfehlenswert, den Mozzarella-Kase erst nach halber Backzeit hinzuzugegeben.
Tabelle Garen im Backofen
| VORSPSEN | HAUPTGERICHTE | BEISPIELE | FUNKTION | TEMPERATUR | UNTERLAGE |
| Plum-Cake (gesalzen) | Plum-Cake mit Oliven, Thunfisch usw. | Kuchen oder Heißenluft | 160 °C | Form auf Backblech | |
| Pikante Kuchen | Pikante Kuchen mit Käse, Lachspasteten usw. | Kuchen oder Heißenluft | 200 °C | a/ Backblech | |
| Terrinen | Fisch-, Fleisch-, Gemüseterrinen usw. | Ober-Unterhitze | 160 °C | Terrinenform auf Backblech (Wasserbad mit bereits heißen Wasser) | |
| Gerichte in einzelnen Formen | Geflügelleberpastete, Lachspüree usw. | Ober-Unterhitze | 160 °C | Formen auf Backblech (Wasserbad mit bereits heißen Wasser) | |
| Soufflé | Aufläufe mit Käse, Gemüse, Fisch usw. | Heißenluft | 200 °C | Form auf Backblech | |
| GEMUSEREISGERICHTE | Gefülltes Gemüse | Kartoffeln, Tomateb, Zucchini, Wirsing usw. | Heißenluft | 200 °C | a/ Backblech oder Backform auf Backblech |
| Geschmertes Gemüse in der Casserolle (mit Deckel) | Möhren, Weißwurzel, Kopfsalat usw. | Ober-Unterhitze | 200 °C | Casserolle auf Backblech | |
| Flan | Pilzflan, Gemüsefrikadellen usw. | Ober-Unterhitze | 160 °C | Formen auf Backblech (Wasserbad mit bereits heißen Wasser) | |
| Terrinen | Gemüse-Terrinen | Ober-Unterhitze | 160 °C | Formen auf Backblech (Wasserbad mit bereits heißen Wasser) | |
| Soufflé | Spargel-, Tomatensoufflé usw. | Heißenluft | 200 °C | Form auf Backblech | |
| Pasteten | Gemüsepasteten usw. | Heißenluft | 200 °C | a/ Backblech | |
| Fisch in Alufolie | Trüffel usw. | Heißenluft | 200 °C | Alufolie auf Backblech | |
| Reis | Reis Pilaf | Ober-Unterhitze | 180 °C | Form auf Backblech |
| FLEisch | HAUPTGERICHTE | BEISPIELE | FUNKTION | TEMPERATUR | UNTERLAGE |
| Geflügel a/Spieß | Huhn, Händnchen | Drehspieß | 270 °C | Drehspießhalterung | |
| Geschmortes Fleisch am Stück | Geschmorte Lammkeule (ganz), großer Kapaun oder Truthahn usw. | Heißluft | 180° (nach einem Drittel der Bratzeit auf 160°C herunterschalten) | Fleisch a/Backblech in regelmäßigen Abständen mit Bratensaat begießen | |
| Fleisch Sauté in Casserolle und traditionelle Gerichte | Rindsschmorbraten, Kaninchen, Kalbsgoulasch „Marengo“, Lammlfleisch mit Kartoffeln, Huhn mit Paprikaschoten usw. | Ober-Unterhitze | 190 °C | Casserolle auf Backblech | |
| Gegrilltes | Steak, Kotelett, Bratwurst, Speßchen, Hühnerschenkel usw. | Grill | 200 °C | auf Backofenrost (Einschuhöhe je nach Höhe) | |
| Fleisch im Teigmantel | Rindfleischfilet „Wellington“, Keule im Teigmantel usw. | Heißluft | 200 °C | Auf dem Backblech (bei großen Stücken die Temperatur auf 160°C herunterschalten, wenn der Teigmantel gar ist) | |
| Fleisch im Salzteig-Mantel | Geflügel in Salzteig usw. | Heißluft | 240 °C | Fleisch auf Backblech oder Behältnis auf Backblech | |
| FISCH | Gegrillter Fisch und Späßchen | Seebarsch, Makrele, Sardinen, Seebarbe, Thunfisch usw. | Grill | 180 °C | auf Backofenrost (Einschuhöhe je nach Höhe) |
| Ganzi Fische (gefällt) | Goldbrasse, Karpfen usw. | Heißluft | 200 °C | a/ Backblech | |
| Fischfillet (mit Zusatz von Wein oder anderen Flüssigkeiten) | Lachs, Drachenkopf, Kabeljau, Seebarsch usw. | Ober-Unterhitze | 200 °C | a/ Backblech | |
| Fisch in Alufolie | Seezunge, Limande, Jakobsmuscheln usw. | Heißluft | 200 °C | a/ Backblech | |
| Fisch im Teigmantel (Blätterteig oder Mürbeteig)Pasteten (Blätterteig oder Mürbeteig) | Lachs, Speßchen usw. | Heißluft | 200 °C | a/ Backblech | |
| Soufflé | Muscheln usw. | Heißluft | 200 °C | Form auf Backblech | |
| Fisch im Salzteig-Mantel | Kabeljau, Karpfen usw. | Heißluft | 240 °C | Fisch auf Backblech oder Gefäß auf Backblech |
Tabelle Garen im Backofen
| GEBÄCK | HAUPTGERICHE | BEISPIELE | FUNKTION | TEMPERATUR | UNTERLAGE | |
| Plätzchen (ohne Hefe) | Biskuit, Löffbeliskuit, versch. Platzchen, Brownies | Kuchen oder Heißenluft | 200 °C | Form auf Backblech | ||
| Käsekuchen | 200 °C | Form auf Backblech | ||||
| Kuchen mit Hefeteig | Süße Kuchen, Streuselkuchen mit Obst | 180 °C | Form auf Backblech | |||
| Teigböden für Torten (Sandteig) | Torten mit frischem Obst (Erdbeeren, Himbeeren usw.) | 180 °C | Backform a/Backblech (Trockenbohnen auf Kuchenteig) | |||
| Pasteten (Blätterteig oder Mühbetieg) | Birnenpasteten usw. | 220 °C | Form auf Backblech | |||
| Kleines Gebäck | Brandteiggebäck (Windbeutel), versch. Gebäck, Bigné, Saint- Honoré-Torte usw. | 190 °C | a/ Backblech | |||
| Kleines Konditorei-Gebäck (mit Hefe) | Croissants, Süße Kühlein, Brioche ohne Füllung, kl. Savarin usw. | 180 °C | a/ Backblech | |||
| Großes Konditorei-Gebäck (mit Hefe) | Gugelhopf, Christstollen, Süßes Brot, Brioche ... | Brioche | 160 °C | Backblech oder Backform auf Backblech | ||
| SÜSSPEISE N | Platzchenteig | Gebäck in Papierformen, Löffelkuchen usw. | Kuchen oder Heißenluft | 180 °C | a/ Backblech | |
| Sandteig | Mühbetieigplatzchen, Spritzgebäck, Kekse usw. | 200 °C | a/ Backblech | |||
| Blätterteiggebäck | Versch. Blätterteiggebäck | 200 °C | a/ Backblech | |||
| Mandelgebäck, Kokoskugeln | Mandelgebäck mit Kososnuss oder Mandeln | 180 °C | a/ Backblech | |||
| Hefeteig | Mini-Brioche, Mini-Croissants usw. | 180 °C | a/ Backblech | |||
| Weiß Baisers | 70 °C | a/ Backblech | ||||
| Gebräunte Baisers | 110 °C | a/ Backblech | ||||
| Pudding | Reispudding, Brotpudding usw. | Kuchen oder Heißenluft | 190 °C | Form auf Backblech | ||
| Cremes und Eierspeisen, Griespudding | Karamellpudding, Creme Brulee, Schokoladenflan usw. | 160 °C | Formen in Fettpanne (Wasserbad in Fettpfanne) | |||
| Süße Reisspeisen | Versch. Reisspeisen | 180 °C | Form auf Backblech | |||
| Soufflé | Soufflé mit Likör, Obst usw. | 200 °C | Form auf Backblech | |||
| OBST | Gefülltes Obst oder Obst in Alufolie | Bratäpfel usw. | Heißenluft | 200 °C | Backform bzw. Alufolie auf Backblech | |
| VERSCHIEDENES | HAUPTGERICHE | BEISPIELE | FUNKTION | TEMPERATUR | UNTERLAGE | |
| Yoghurt | Niedrige Temperatur | 40 °C | Kleine Form a/Backblech | |||
| Trockenobst | Trockenobst, Trockenpilze oder Trockengemüse in Scheiben usw. | Niedrige Temperatur | 80 °C | auf Backofenrost | ||
Automatik-Garprogramme
| Funktion | Empfohlener Garvorgang für ... | BEISPIELE | UNTERLAGE | Einschubhöhe Fettpfanne/Backblech | Garzeit (Minutes) | Einschieben | |
| Kalbsbraten | Braten | Kalbsbraten | auf Fettpfanne oder Form | 2 | ±10 | kalt | |
| Schweinebraten | Da +10 a +25 | ||||||
| Brathihnchen | Von +5 bis +15 | ||||||
| Lammkeule | ±10 | ||||||
| Rinderbraten | Da -20 a -5 | ||||||
| Kuchen | Plum-Cake und Pfundkuchen (mit Backpulver) | Plum-Cake mit Obst, Marmorkuchen, Pfundkuchen usw. | Form auf Backofenrost | 2 | 45** | kalt | |
| Obstkuchen (Mürbeteig oder Blätterteig, mit oder ohne Guss) | Apfel-, Mirabellen-, Birnenkuchen usw. | Form auf Backofenrost | 2 | ||||
| Blätterteiggebäck | Apfeltaschen, Gemüsekuchen, Pasteten usw. | a/ Backblech | 2 | ||||
| Kuchen ohne Hefe (Clafoutis, Mandelkuchen, Gemüsekuchen usw.) | a/ Backblech | 2 | |||||
| Pizza | Gefüllte Pizza, gefüllte Focaccia (Hefeteig) | 2 | 28** | warm oder kalt | |||
| Brot | *** | 2 | 55 | kalt |
- Bei den angegebenen Garzeiten handelt es sich um Richtwerte, die je nach Wunsch geändert werden können. Die Vorheizzeiten des Backofens sind voreingestellt und können demnach nicht von Hand geändert werden.
Die Garzeiten im Automatikbetrieb sind voreingestellt. Die in der Tabelle angegebenen Werte beziehen sich auf die Mindest- und Maximaldauer, die der Anwender ab der voreingestellten Dauer verändern kann.
* Wie im Rezept angegeben 100 gr Wasser in die Fettpfanne fällen.
Vorsichtsmaßregeln und Hinweise
! Das Gerät wurde entsprechend den strengsten internationalen Sicherheitsvorschriften entworfen und gebaut. Nachstehende Hinweise werden aus Sicherheitsgründen gefleiert und sollenn aufmerksam gelesen werden.
Allgemeine Sicherheit
- Dieses Gerät ist für den nicht professionellen Einsatz in privaten Haushalten bestimmt.
- Das Gerätarf nicht im Freien aufgestellt werden, auch nicht, wenn es sich um einen geschützten Platz handelt. Es ist hoch gefährlich, das Gerät Regen und Gewittern auszusetzen.
- Benutzen Sie zum Handling des Gerätes stets die sich seitlich am Backofen befindlichen Gerätegriffe.
- Berühren Sie das Gerät nicht mit nassen oder feuchten Händen oder Füßen und auch nicht, wenn Sie barfuß sind.
Das Gerät darf nur von Erwachsenen und gemäß den Hinweisen der vorliegenden Bedienungsanleitung zur Zubereitung von Lebensmitteln verwendet werden. Jeder andere Einsatz (zum Beispiel: zum Beheizen von Räumen) ist als unsachgemäß und gefährlich anzusehen. Der Hersteller haftet nicht für eventuelle, durch unsachgemäßen, falschen oder unangemessenen Gebrauch verursachte Schäden. - Wenn das Gerät in Betrieb ist, werden die Heizelemente und einige Ofentürteile sehr heiß. Berühren Sie sie nicht und halten Sie Kinder vom Ofen fern.
- Vermeiden Sie, dass die Netzkabel anderer Elektrogeräte in Kontakt mit bereits Backofenteilen gelangen.
Die zur Belüftung und Wärmeableitung vorgesehenen Öffnungen)dürfen nicht zugestellt bzw.abgedeckt werden. - Fassen Sie den Griff zur Türoeffnung stets in der Mitte an. An den Seiten könnte er heißt sein.
- Verwenden Sie stets Backofenhandschuhe.
- Kleiden Sie den Boden des Backofens nicht mit Aluminiumfolie aus.
- Legen Sie keine entzündbaren Materialien in den Backofen: Sie konnten entflammen, wenn das Gerät versehentlich eingeschaltet wird.
- Vergewissem Sie sich stets, dass sich die Reglerknöpfte auf der Position “●”/“○” befinden, wenn das Gerät nicht in Betrieb ist.
- Ziehen Sie den Netzstecker nicht am Netzkabel aus der Steckdose, sondern nur am Netzstecker selbst.
- Ziehen Sie vorder Reinigung oder vor Wartungsmaßnahmen stets den Netzstecker aus der Steckdose.
- Versuchen Sie bei etwaigen Störungenitte keinesfalls, Innenteile selbst zu reparieren. Setzen Sie sich mit dem Kundendienst (siehe Kundendienst) in Verbindung.
- Stellen SieittekeineGegenständeauf der geöffneten Backofenturab.
- Dieses Gerät ist kein Spielzeug für Kinder.
- Das Gerät ist nicht zur Verwendung durch Personen (einschließlich Kinder) mit eingeschränkten körperslichen oder geistigen Fähigkeiten oder Wahlnehmungsstörungen oder aber ohne ausreichende Erfahrung und Produktkennis geeignet, sofern sie nicht durch eine für ihre Sicherheit verantwortliche Person beaufsichtigt werden oder zuvor Anleitungen zum Gerätegebrauch erhalten haben.
- Dieses Gerät kann nicht mit einem externen Timer oder einem getrennten Fernsteuerungssystem betrieben werden.
Entsorgung
- Entsorgung des Verpackungsmaterials: Befolgen Sie die lokalen Vorschriften; Verpackungsmaterial kann wiederverwertet werden.
Gemäß der Europäischen Richtlinie 2002/96/EC über Elektro- und Elektronik-Altgeräte (WEEE))dürfen Elektrohaushalts-Altgeräte nicht über den herkömmlichen Haushaltsmullkreislauf entsorgt werden. Altgeräte müssen separat gesammelt werden, um die Wiederverwertung und das Recycling der beinhalteten Materialien zu optimieren und die Einflüsse auf die Umwelt und die Gesundheit zu reduzieren. Das Symbol „durchgestrichene Mülltonne" auf jedem Produkt erinnert Sie an ihre Verpflichtung, dass Elektrohaushaltsgeräte gesondert entsorgt werden müssen.
Endverbraucher können sich an Abfallämter der Gemeinden wenden, um mehr Informationen über die korrekte Entsorgung ihrer Elektrohaushaltsgeräte zu erhalten.
Energie sparen und Umwelt schonen
- Für einen sparsamen Energieverbrauch den Backofen in den Stunden zwischen dem späten Nachmittag und dem frühen Morgen verwenden. Mit Hilfe der Programmvorwahl, vor allem dem „Garvorgang mit verzögertem Start" (siehe Garprogramme) und der „Selbstreinigung mit verzögertem Start" (siehe Reinigung und Pflege) können Sie die Benutzung Ihres Backofens in thisem Sinne programmieren.
- Es empfeihlt sich, das Garprogramm DREHSPIESS stets bei geschlossener Backofentür zu verwenden: Dadurch werden nicht nur optimale Ergebnisse erzielt, sondern auch Energie gespart (ca. 10% ).
- Halten Sie die Dichtungen sauber und in einwandfreiem Zustand, so dass sie gut an der Tür anliegen und keine Wärmeverluste verursachen.
! Dieses Produkt entspricht den Vorschriften der neuen Europäischen Richtlinie zur Einschränkung des Energieverbrauchs im Standby.
Werden für 2 Minuten keine Tasten gedrückt, dann stellt sich das Gerät automatisch in den Standby-Modus. Der Standby-Modus wird mit dem stark leuchtenden "Symbol Uhr" angezeigt. Sobald eine Taste gedrückt wird, stellt sich das Gerät wieder in den normalen Betriebsmodus.
Reinigung und Pflege
Abschalten Ihres Gerätes vom Stromnetz
Vor jeder Reinigung und Pflege ist das Gerät vom Stromnetz zu trennen.
Reinigung Ihres Gerätes
-
Die beschichteten oder aus Edelstahl gefertigten Außenteile des Gerätes sowie die Gummidichtungen mit einem Schwamm und einer einfachen Spüllauge reinigen. Bei hartnäckigen Flecken spezielle Reinigungsmittel verwenden. Es wird empfohlen, die Teile nach der Reinigung gut nachzuspelen und zu trocknen. Auf keinen Fall Scheuermittel oder sonstige scharfe Reinigungsmittel verwenden.
-
Der Backofen sollte möglichst nach jedem Gebrauch, solange er noch etwas warm ist, gereinigt werden. Hierzu warmes Wasser und ein Reinigungsmittel verwenden. Mit Wasser nachspullen und mit einem weichen Tuch trocken. Scheuermittel vermeiden.
- Das Zubehör lassst sich mit Ausnahme der Gleitschienen wie normales Geschirr (auch im Geschirrspüler) reinigen.
! Verwenden Sie zur Reinigung der Kochmulde keine Dampf- oder Hochdruckreinigungsgeräte.
Reinigung derTür
Reinigen Sie die Backofentür aus Glasitte nur mit einem weichen Schwamm und mildem Spülmittel und trocknen Sie sie abschlussend mit einem weichen Tuch. Verwenden Sie keine rauen, scheuemden Materialien oder scharfkantige, metallische Schaber, da diese Kratzer auf ihrer Oberfläche hinterlassen und das Zerbrechen des Glases zur Folge haben können.
Um den Backofen muhelos gründlich reinigen zu konnen, kann die Backofentür abgenommen werden:
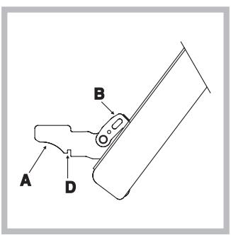
- Backofentür ganz öffnen und die 2 kleinen Hebel „B" hoch drücken;
- Backofentür nun teilweise wieder schließen; die Tür kann jetzt nach oben hin aus den beiden Haken „A“ Herausgezogen werden.
Montage der Backofentür:
Die Backofentür mittels der 2 Haken „A“ (Tür hierbei vertikal halten) in die Schlitze einhängen;
- Stellen Sie sichere, dass die Halterung „D“ ordnungsgemäß am Rand der Schlitze eingehakt ist (bewegen Sie hierzu die Tür leicht hin und her);
Abschlussend die Tur gaz offnen und die 2 kilenen Hebel, B^ nach unten klappen; Tur wieder schlieben.


Dichtungen prufen
Den Zustand der Dichtung an der Backofentür in regelmäßigen Abständen prufen. Sich im Falle einer beschädigten Dichtung an die nachstgelegene Kundendienstelle (siehe Kundendienst) wenden. Es empfehl't sich, den Backofen bis zur erfolgten Reparatur nicht zu verwenden.
Lampenaustausch

Die Backofenlampe wie folgt ersetzen:
- Die Glasabdeckung mithilfe eines Schraubenziehers entfern.
- Die Lampe ausschrauben und durch eine neue Lampe desselben Typs ersetzen: Leistung 15 W, Sockel E 14.
Die Abdeckung wieder anbringen. Darauf achten, dass die Dichtung ordnungsgemäß einlegeit wird (siehe Abbildung).
! Die OffenlampearfichtalsRaumlampe verwendet werden.
EinfachAnleitung