Bravia KD65XG8577 - Televisio SONY - Ilmainen käyttöohje ja opas
Löydä laitteen käyttöohje ilmaiseksi Bravia KD65XG8577 SONY PDF-muodossa.
Käyttäjien kysymyksiä aiheesta Bravia KD65XG8577 SONY
0 kysymys tästä laitteesta. Vastaa tuntemiisi tai esitä omasi.
Esitä uusi kysymys tästä laitteesta
Lataa ohjeet laitteellesi Televisio PDF-muodossa ilmaiseksi! Löydä käyttöohjeesi Bravia KD65XG8577 - SONY ja ota elektroninen laitteesi takaisin hallintaan. Tällä sivulla julkaistaan kaikki laitteidesi käyttöön tarvittavat asiakirjat. Bravia KD65XG8577 merkiltä SONY.
KÄYTTÖOHJE Bravia KD65XG8577 SONY
Asennustiedot Sonyn seinäasennuskiinnittimen (SU-WL450) käytämiseksi
Tuetut mallit:
KD-85XG85□□*/75XG87□□*/75XG85□□*/65XG87□□*/ 65XG85□□*/55XG87□□*/55XG85□□*
- Kyseisissä mallinimissä "□□" tarkoittaa kunkin mallin numeroita ja/tai merkkeja.
Asiakkaille
Tuotteen suojelemiseksi ja turvallisuuden vuoksi Sony suosittelee, etta television asennus annetaan. Sonyn jalleenmyyjan tai asiantuntevan huoltolikkeen tehtavaksi. Alä yritä asentaa sitä itse.
Sony-jalleenmyyjille ja huoltolikkeille
Kiinnitä erityistä huomiota turvallisuuteen tän tuotteen asennuksen, huollon ja tarkastuksen aikana.
Tämän tuotteen asentaminen edellyttä riittävä ammattitaitoa erityisesti sen märittämiseksi,kestäkö seinä television painon. Tämän tuotteen seinäan asentaminen on jatettäv Åsonyn jalleenmyyjan tai huoltolikkeen tehtäväksi ja asennuksen turvallisuuteen on kiinnitettävi rittävästi huomiota. Sony ei ole vastuussa mistään vahingosta tai vammoista, jotka johtuvat tuotteen vaärästa käsittelysta tai asennuksesta.
Varmista turvallisuus ja asianmukainen asennus noudattamalla seinaasennuskiinnittimen kayttöohjeita, TV:n asetusopasta ja tämän oppaan ohjeita.
Turvallisuus
Kiitos,että paatit ostaa tamin tuotteen.
Asiakkaille
Tāmān tuotteen asentaminen edellyttārìttāvāa ammatitaitoa. Asennus onannettava Sony-jällenmyyjan taivaltuutetun asentajan tehtavaksi, ja turvallisuenteen kiinnitettā veryista huomiota asennuksen aikana. Sony eiole vastuussa mistaan vahingosta taivammoista, jokta johtuvat tuotteen vaarastā kāsittelystā tai asennuksesta taimuun kuin māäritetyn tuotteen asennuksesta. Tāmā e vaikuta (mahdollisin) lakisaäteisiin okeuksiisi.
Sony-jalleenmyyjille
Tāmān tuotteen asentaminen edellyttā
riṭṭāvāa ammatitaitoa. Lue nāma
kāyṭṭoohjeet huolellisesti, jotta asennus
voidaan suoritttau turvallisesti. Sony ei
ole vastuussa mistään vahingosta tai
vammoista, jotka johtuvat tuotteen
vaarastā kāsittelysta tai asennuksesta.
Anna tāmā kāyṭtōohje asiakkaalle
asennuksen jälkeen.
Tassä käytöohjeessa kuvataan tuotteen oikeaoppinen käsittely sekä tärkeät varotoimet onnettoumuksien estamiseksi. Muista lukea tamä ohje huolellisesti ja käytää tuotetta oikein. Sälytä tamä käytööhje tulevaa käytöä varten.
Sonyn tuotteet on suunniteltu turvallisuutta ajatellen. Jos tuotteita kaytetaaan vaarin, seurauktena voi olla tulipalon, sahkoiskun, tuotteen kaatumisen taiutoamisen aiheuttama vakava henkilovahinko. Huomioi turvallisuutta koskevat vartoimet tallaisten onnettomuuksen istamiseksi.
VAROTOIMET
Märitetyt tuotteet
Tāmā seinaasennuskiinnit on tarkoitettu kaytettaväksi sille märiritettyen teilesioiden kanssa. Tarkista television viiteoppasta, etta seinaasennuskiinnitintā voidaan kayttä.
Asiakkaille
VAROITUS
Jos seuraavia varotoimia ei noudateta, seurauktena voi olla tulipalon, sahköiskun tai tuotteen putoamisen aiheuttamavakava henkilovahinko tai kuolema.
Asennuksen saa suorittaa vain valtuutetu asentaja. Pidä lapset poissa asennusalueelta asennuksen aikana.
Jos seinaasennuskiinnitanta tai televisiota ei asenneta oikein, seurauktena voi olla seuraavat onomettuudet. Muista jattaa asennus valtuutetun asentajan tehtavaksi.
- Televisio saattaa pudota ja aiheutta mustelmia, murtumia tai muunvakavan henkilövahingon.
Jos seina, johon seinaasennuskiinnitin asennetaan, on epavakaa, epatasainen tai se ie ole kohtisuorassa lattiaan nahden, yksikko saattaa pudota ja aiheuttaa henkilio-tai omaisuusvahingon. Seinan on pystytava kantamaan vahintaan nelj kertaa television poin. (Katso television poin sen viiteoppasta.)
Jos seinaasennuskiinnitanta ei ole asennettu seinalle tarpeeksiti tukevasti, yksikko saattaa pudota ja aiheuttta henkilo- tai omaisuusvahongin.
Muista antaa television siirtaminen tai irrottaminen valtuutetun asentajan tehtavaksi.
Jos muut kuin valtuutetut asentavat kuljettavat tai irrottavat television, se saattaa pudota ja aiheuttaa henkilö-tai omaisuusvahingon. Varmista, etta tevisiota kantamasa je irrottamassa on vahintaan kaksi henkilöa (tai vahintaan kolme henkilöa, jos television koko on yli 75 tuumaa).
Alä irrota ruuveja tms. television kiinnityksen jälkeen.
Jos nain tehdäan, tevisio saattaa pudota ja aiheuttaa henkilö- tai omaisuusvahingon.
Ala tee muutoksia seinaaasennuskiinnittimen osiin.
Jos nain tehdään,seinäasennuskiinnit saattaa pudota ja aiheuttaa henkilö-tai omaisuusvahingon.
Alä asenna muita laitteita kuin maäritelty tuote.
Täm seinaasennuskiinnit on tarkoitettu kayettaväksi ainoastaan sille märitetyn tuotteen kansa. Jos asennat muun kuin märitetyn laiteen, se saattaa pudota ja rikkoutua ja aiheuttaa henkilo- tai omaisuusvahingon.
Alä kohdista
seinäsennuskiinnitttimeen
television lisaksi muuta
kuormaa.
Alä ravista tevisiota
vasemmalle/oikealle tai
ylos/alias.
Jos nain tehdäan, tevisio saattaa pudota ja aiheuttta henkilo- tai omaisuusvahingon.
Alà nojaa tai riipu televisiosta.
Ala noja tai riipu tevisiosta, sillä se saattaa pudota ja aiheuttaavakavan henkilövahingon.
VAROTOIMET
Jos seuraavia varotoimia ei noudateta, seurauktena voi olla henkilo-tai omaisuusvahinko.
Alä kaytä liikaa voimaa tuotteen puhdustuksen tai huollon yhteydessa.
Alä paina television ylasivulta liialla voimalla. Jos nain tehdän, tevisio saattaa pudota ja aiheuttaa henkilo- tai omaisuusvahingon.
Varotoimet
- Jos.SEINAASENNUSKIINnittmeen asennettua televisiosta kayetetaan pitkaa, television takana tai ylapuolella oleva seinapinta voi varjäantya tai tapetti irrota seinamateriaialista riippuen.
- Jos seinaasennuskiinnitin irrotetaan sensean asentamisen jalkeen,seinanan jau ruvinreiai.
- Alä kayta seinäasennuskiinnitanta paikassa, johon kohdistuu mekanista tärinä.
Seinäasennuskiinnittimen asentaminen
Sony-jalleenmyyjille
VAROITUS
Seuraavat ojeet ovat ainoastaan
Sonyjalleenmyyjille.Muista lukea edella olevat turvallisuusvarotoimet ja kiinnit erityista huomiota turvallisuuteen tamntuotteen asennuksen,huollon ja tarkastuksen aikana.
Alä asenna seinäasennuskiinnitintä seinäpintoihin, joissa television kulmat tai sivut ulkonevat seinäpinnasta.
Ala asenna seinasennuskiinnitanta
pylvaa seen tai vastaavinseinapintoihin,
joissa television kulmat tai sivut ulkonevat
seinapinnasta. Jos henkil o t esine osus
television ulkonevaan kulmaan tai sivuun,
seruaksena voi olla henkil-tai
omaisuvsahinko.

Alä asenna televisiota ilmastointilaitteen ylä- tai alapuolle.
Jos tevisio altistuu ilmastointilaitteen venivuodoille tai ilmavirralle pitkiä aikoja, seuraksena voi olla tulipalo, sahkoisku tai television toimtahairi.
Muista asentaa seinaasennuskiinnitin tukevasti seinaan tassä kayttöohjeessa annettujen ohjeiden mukaisesti.
Jos jokin ruuveista on loysallai tai pudonnut,
seinasennuskiinnitin saattaa pudota ja
aiheuttta henkilo-tai omaisuusvahingon. Muista kaytttaa seinamateriaalille sopivia ruveja ja asenna yksikko tukeasti
vahintaan neljalla 8 mm:n ruuvilla (tai
vastaavalla).

Muista kayttä
toimitetuja ruuveja ja
kiinnitsosia oikein ja
noudata tassä
kayttöhjeessa
annetuja ohjeita. Jos
kaytät korvaavia osia,
tevisio saattaa
pudota ja aiheuttaa
henkilovahingon tai
vahingoittaa
televisiota.
Muista koota kiinnitin oikein noudattamalla tassä kayttöohjeessa selitety menetelmaa.
Jos jokin ruuveista on loysallai tai pudonnut, television saattaa pudota ja aiheuttaa henkilovahingon tai vahingoittta tevisiota.
Muista kiristäa ruuvit kunnolla tarkoitettuihin kohtin.
Jos nain ei tehdä, television saattaa pudota ja rikkoutua sekä aiheuttaa henkilö- tai omaisuusvahingon.
Varo kohdistamasta television iskuja asennuksen aikana.
Jos television kohdistuu isku, tevisio saattaa pudota ja rikkoutua sekä aiheuttaa henkilö- tai omaisuusvahingon.
Televisio on asennettava seinään, joka on sekkohtisuora etta tasainen.
Jos nain ei tehdä, television saattaa pudota ja rikkoutua sekä aiheuttaa henkilö- tai omaisuusvahingon.
Kun tevisio on asennettu oikein, kiinnitä kaapelit kunnolla.
Jos henkilòtā tai esineita sotteutuu kaapeleihin, seurauktena saatta olla henkilovahinko tai television vahingoittuminen.
Ala annvirtajohdon ja liitantakaapelin jaddapuristu siin.
Jos virtajohto tai liitantäkaapeli jäa puristuksiin laitteen ja seinan vänlin tai niitta taitetaan tai kierretään voimalla, sisäiset johtimet voivat tulla nakyviin ja seurauktena on oikosulku tai katkos. Täm voi aiheuttaa tulipalon tai sahköiskun.

Seinäasennuskiinnittimen seinäiinnitykseen tarvittavat ruuvit eivat sisally toimitukseen.
Käytä seinämateriaalille ja -rakenteelle
sopivia ruuveja, kun kiinnität
seinäsennuskiinnittimen.
Sisallysluettelo
Asennuksen valmistelu. 5
Osien tarkistaminen. 5
Asennuspikan märittäminen. 6
Jalustan asennussein.. 8
Television asennuksen valmistelu. 9
KD-85/75XG85□□,KD-75XG87□□
KD-65/55XG87□□,KD-65/55XG85□□.11
Television asennussein.. 13
KD-85/75XG85□□,KD-75XG87□□13
KD-65/55XG87□□,KD-65/55XG85□□.15
Asennuksen tarkistaminen. 18
Muuta tietoa 18
Tekniset tiedot 18
Television asennus seinään
Asennusmenetelma vaihtelee eri teileioilla.
Käytä seinäasennuskiinnitinta SU-WL450
television asentamiseksi seinälle.
Huomautus
- Pane irrotetut ruuvit talteen turvalliseen paikkaan pois lasten ulottuvilta.
Asennuksen valmistelu
- Ota TV:n viiteopas ja asetusopas esille ennen asennusta.
Hanki ennen kokoonpanoa valmiiksi ruuveihin sopiva ristipäruuvitalta.
Tarkista television asennuskohta. - Pida valmiina vahintaan neljia halkaisijaltaan 8mm n ja yksi 5mm n ruvi tai vastaava (lisavaruste). Valitse seinamateriaalille sopivat ruuvit.
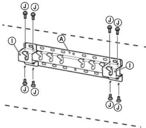
Osien tarkistaminen
Toimitetaan SU-WL450:n mukana
- Tarkista, etta kaikki osat on toimitetu.
| A Jalusta (20) (1) B Hi napyörä (2) | |
| ◎ PSW 6x20 (4)◎ PSW 4x20 ja holkki (2) | |
| ◎ Välike (20) (2)◎ Hämna (1) | |
| ◎ Holkki (20) (M4) (2) | ◎ PSW 4x20 (2) |
| ① Jalustan sovitin (2)② | PSW 4x10 (8) |
| ◎ Välike (60) (2) ⊟ PSW 6x50 (2) | |
| ◎ Holkki (M4) (2)◎ PSW 4x50 (2) | |
Asennuspikan märittäminen
1 Määrītā asennuspaikka.
Varmista, etta seine on riittävän iso teileviolle ja pystyy kantamaan vahintään neljä kertaa television painon.
Katso seuraava taulukko television asentamiseksi seinälle. Katso television paino television viiteoppaasta.

Normaali asennus Kapea asennus
Ruudun keskipiste
Yksikkö: mm
| Mallinimi | Näytönn mitat | Ruudun keskikohdan mitta | Asennuspituus | |||
| a | b | c | d | e | ||
| Normaali asennus | Kapea asennus | |||||
| KD-85XG85□□ | 1909 | 1097 | 251 | 803 | 142 | 100 |
| KD-75XG87□□ | 1673 | 963 | 107 | 595 | 116 | 75 |
| KD-75XG85□□ | ||||||
| KD-65XG87□□ | 1450 | 836 | 99 | 523 | 115 | 73 |
| KD-65XG85□□ | ||||||
| KD-55XG87□□ | 1231 | 713 | 106 | 468 | 115 | 73 |
| KD-55XG85□□ | ||||||
Huomautus
- Taulukon arvot voivat vaildella hieman asennuksen mukaan.
Kun tevisio on asennettu seinalle, sen ylareuna on hieman eteenpain kallelaan.
Jata sopiva vali television ja katon sekä seinan esiintyontyvien osien valillaseuraavan kuvan mukaisesti.
Yksikko: mm

Noudata seuraavia ohjeita asianmukaisen ilmanvaihdon varmistamiseksi ja lian tai polyn keräantymisen estämiseksi:
- Ala asenna televisiota takaosan varaan, ylosalaisin, takaperin tai sivuttain.
- Alä sijota televisiota hyllyn, maton tai vuoteen pälle tai kaappiin.
- Alä peita televisiota millaan tekstiillä tai muilla vastaavilla, esimerkiki verhoilla tai sanomalehdillä ine.
- Alä asenna televisiota alla olevien kuvien mukaisesti.
Ilmankierto estynyt.

Huomautus
Jos kaapeli on tarkoitus vetäa seinän sisälle, tee seinän reikä kaapeleille ennen asennuksen aloittamista.
Estaa kaapeleiden jaaminen puristuksiin tekemallaa seinaan reikajalustan (20) A, Jalustan sovit 1 ja valikkeen (20) E, valikkeen (60) kehanulkopuolelle.
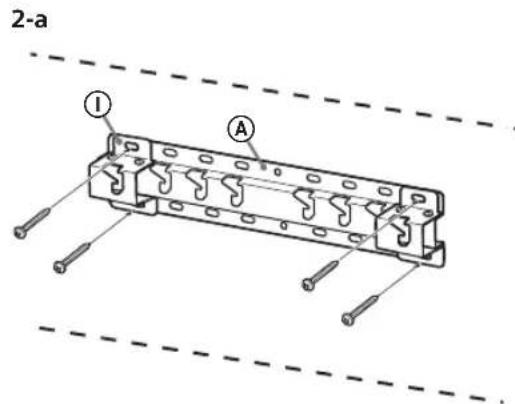
2 Valitse seineaasennustapa. Etaisyys TV:n takasivulta seinean voidaan valita seuraavasti.
2-a Normaali asennus
2-b Kapea asennus
Katso kohdan 1 taulukko.
VAROITUS
Kun valitaan 2-b, pääsy takana oleviin liittimiin on rajallinen.

3 Katso jalustan sovittimen kiinnityspaikka alla olevasta taulukosta. Jos valitaan 2-b, ohita tamä vaihe.
| Mallinimi Koukun sijainti | |
| KD-85XG85□□ | |
| KD-75XG87□□ | a |
| KD-75XG85□□ | |
| KD-65XG87□□ | |
| KD-65XG85□□ | b |
| KD-55XG87□□ | |
| KD-55XG85□□ | |

Asenna jalustan sovitin ① ruuvilla (PSW 4x10) ② jalustaan (20) ④, kun valitaan 2-a.

4 Määritätruuvien paikat jalustan (20) A asentamiseksi.
Katso tiedot sivulta 18.
Kun valitaan 2-a, käytä reikien paikkoja jalustan sovittimessa ①.
VAROITUS
Seinan, johon television asennetaan, on pystytavakantamaan vahintaan nelj kertaa television pano (Katso television pao sen viiteoppaasta.).
- Maïrità seinan kestávyys, johon tevisio asennetaan.
Vahvistaseinätarvittaessa riittavasti.
Jalustan asennus seinään
- Käytä vähintaan neljää halkaisijaltaan 8 mm:n tai vastaavaa ruuvia (lisävaruste).
- Asenna neljä ruuvia jalustan sovittimeen ① ja jalustaan (20) (vain 2-a).
- Asenna jalusta (20) A seinään vaakasuorassa.


Television asennuksen valmistelu
Katso asetusoppaasta ohjeita jalustan asennukseen.
KD-85/75XG85□□,KD-75XG87□□
1 Merkitse asennuspaikkaseinään.
- Merkitse television paikka jalustan tai jalustan sovittimen laheisyyteen esim. maalarinteippia (lisavaruste) kayttamalla. Katso alla oleva kuva ja taulukko.

Yksikkö: mm
| Mallinimi | Merkinnän pituus | Ruudun keskikohdan mitta | ||
| a | b | c | d | |
| KD-85XG85□□ | 1909 | 683 | 200 | 251 |
| KD-75XG87□□ KD-75XG85□□ | 1673 | 468 | 200 | 107 |
2 Irrota ruuvit television takaa.

3 Kiinnitä
seinäasennuskiinnittimen
kiinnitsosat. Tarkista
kiinnitsosat sivun 5
kappaleen "Osien
tarkistaminen" kohdan
"Toimitetaan SU-WL450:n
mukana" mukaisesti.
Huomautus
Kiinnitta kiinnityssosat tukevasti kayttamalla ruuveja.
Jos kaytatsahkotoimista ruuvinvaanninta, valitsekiristysvoiman asetukseksi noin 1,5 N-m 15kgf· cm
Sälytä käytetyt tai käytämattomat osat turvallissasa paikassa tulevaa käytötarvetta varten. Sälytä tamä käyttoohje tulevaa käytöa varten.

Normaali asennus (2-a)
Kapea asennus (2-b)
Huomautus
- Joitakin TV:n takana olevia liitantjä ei voi käyttaa, kun käytetaan tata asennustapaa.


4 Liitä tarvittava(t) kaapeli(t) television.
Muista liittaa kaapelit ennen television asennusta sein aan. Kaapeleita ei voi liittaa sen jälkeen, kun tevisio on asennettu. Katso television mukana toimitettu viiteopas.
Huomautus
- Anna kaapeleiden seinään asentaminen valtuutetun asentajan tehtavaksi.
Niputa liitantakaapelit yhteen ennen seinaaennusta, jotta et astu niiden paalle.
5 Irrota poytajalusta televisionista.
- Poista poytajalustan sivut yksi kerrallaan. Pitele poytajalustaa tukevasti molemmilla kasillä, kun toiset henkilöt dostavat TV:tä.

KD-85XG85□□

KD-75XG87□□,KD-75XG85□□
Toista edellinen vale he ja poista poytajalustan toinen sivu.
Huomautus
Poytajalustan irrottamisessa tarvitaan vahintaan kolme henkiloo.
Varo kayttamasta liallista voimaa irrotaessasi poytajalustaa TV:sta, jotta TV ei kaadu ja vahingoitu tai aiheuta henkilovahinkoa.
Kasittele poytajalustaa varovasti, jotta TV ei vahingoitu.
- Ole varovainen nostaessasi poytajalustasta irrotetua televisiota, sillä poytajalusta voi kaatua ja aiheuttaa henkilövahingon.
- Ole varovainen irrotaessasi poytajalustaa televisiosta, jotta tevisio ei kaadu ja vahingoita poydan pintaa.
KD-65/55XG87□□
KD-65/55XG85□
1 Irrota ruuvit television takaa.

2 Kiinnitä
seinaaasennuskiinnittimen
kiinnitsosat. Tarkista
kiinnitsosat sivun 5
kappaleen "Osien
tarkistaminen" kohdan
"Toimitetaan SU-WL450:n
mukana" mukaisesti.
Huomautus
- Kiinnitta kiinnityosat tukevasti kayttamalla ruuveja.
Jos kayt sahkotoimista ruuvinvaanninta, valitsekiristysvoiman asetukseksi noin 1,5 N·m {15 kgf·cm}.
Sälytä käytetyt tai käytämattomat osat turvallissessa paikassa tulevaa käytötarvetta varten. Sälytä tamä käyttoohje tulevaa käytöa varten.

Normaali asennus (2-a)
Kapea asennus (2-b)
Huomautus
- Joitakin TV:n takana olevia liitantojä ei voi käyttaa, kun käytetaan tata asennustapaa.


3 Liitä tarvittava(t) kaapeli(t) television.
Muista liittaa kaapelit ennen television asennusta sein aan. Kaapeleita ei voi liittaa sen jälkeen, kun tevisio on asennettu. Katso television mukana toimitettu viiteopas.
Huomautus
- Anna kaapeleiden seinään asentaminen valtuutetun asentajan tehtavaksi.
Niputa liitäntäkaapelit yhteen ennen seinäasennusta, jotta et astu niiden pälle.
4 Irrota poytajalusta televisiosta.
- Poista poytajalustan sivut yksi kerrallaan. Pitele poytajalustaa tukevasti molemmilla kasillä, kun toiset henkilönt dostavat TV:tä.

Toista edellinen valhe ja poista poytajalustan toinen sivu.
Huomautus
Poytajustan irrottamisessa tarvitaan vahintaakolme henkiloa.
Varo kayttamasta liallista voimaa irrotaessasi poytajalustaa TV:sta, jotta TV ei kaadu ja vahingoitu tai aiheuta henkilovahinkoa.
Kasittele poytajalustaa varovasti, jotta TV eivahingoitu.
- Ole varovainen nostaessasi pōytajalustasta irrotettua televisiota, sillä pōytajalusta voi kaatua ja aiheuttaa henkilövahingon.
- Ole varovainen irrotaessasi poytajalustaa televisiosta, jotta tevisio ei kaadu ja vahingoita poydan pintaa.
Television asennus seinaan
KD-85/75XG85□□,KD-75XG87□□
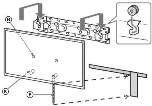
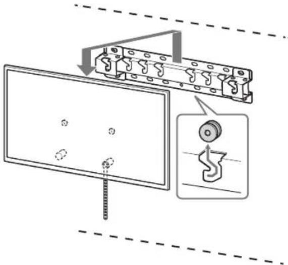
1 Nosta teilevisio paikoilleen.
- Katso hihnapyörien (B) ripustuspaikka jalustassa tai jalustan sovittimessa kohdan "Asennuspikan maärittäminen" yaiheen 3 taulukosta sivulta 7.
- Varmista televisiota nostaessasi, etta television takapuoli koskettaa jalustaa tai jalustan sovitinta.
Huomautus
Kannattele televisiota tukevasti molemmilla käsillä ja varmista, etta hihna ja television alareuna ovat linjassa maalarinteipin kanssa.
Varmista,etta television kantamiseen osallistuu kolme henkiloa, ja kanna tevisiota siten,ettatlevision edessaaeisova henkilo opastaa muita asennon saatamisessa.

- Ole varovainen asentaessasi televisiota seinälle ja varmista erityisesti televisiota alapuoleelta kannattelevan henkilön turvallisuus, sillā tevisio voi aiheuttaa pudotessaanvakavan henkilövahingon tai kuoleman.

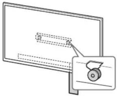
2 Asenna television jalustaan tai jalustan sovittimeen.
- Liu'uta televisiota varovasti alaspain ja ripusta television taakse kiinnitetyt hihnapyorat ⑧ jalustaan tai jalustan sovittimeen siten, etta ne ovat oikein rei'issa.
Kun tevisio on asennettu seinään, tarkista, etta hihnapyorat ⑧ ovat kunnolla kiinni jalustassa tai jalustan sovittimessa. - Varmista,etta television ei putoa, irrottamalla otteesi varovasti.

- Poista maalarinteippi seinästa, kun teilevisio on asennetttu paikoilleen.

2-a









2-b






VAROITUS
- Varmista,etta vahintaan kaksi henkiloa (tai vahintaan kolme henkiloa, jos television koko on yli 75 tuumaa) kannattelee televisiota sen kantamisen aikana.

3 Television alaosan liikkumisen estaminen.
- Poista lóysāt hihnasta (F) ja kiinnitā se tukevasti seinään.


- Kayta halkaisijaltaan 5 mm:n ruuvia tai vastaavaa (lisavaruste).
Huomautus
- Varmista yrittamallā vetä television alaosaa hieman itseasi kohti, ettei se liiku eteenpän. Jos liikettahavaitaan, sitä ei ole kiinnitetty oikein ja hihna (on kiinnitettäv tukevasti uudelleen.
KD-65/55XG87□□
KD-65/55XG85□
1 Nosta teilevisio paikoilleen.
- Katso hihnapyörien (B) ripustuspaikka jalustassa tai jalustan sovittimessa kohdan "Asennuspikan märittäminen" vaiheen 3 taulukosta sivulta 7.
- Varmista televisiota nostaessasi, etta television takapuoli koskettaa jalustaa tai jalustan sovitinta.

Huomautus
- Pida TV:sta kiinn tukevasti molemmilla käsillä.
2 Asenna televisio jalustaan tai jalustan sovittimeen.
- Liu'uta televisiota varovasti alaspain ja ripusta television taakse kiinnitetyt hihnapyorat ⑧ jalustaan tai jalustan sovittimeen siten, etta ne ovat oikein reli'issa.
Kun tevisio on asennettu seinään, tarkista, etta hihnapyorat ⑧ ovat kunnolla kiinni jalustassa tai jalustan sovittimessa. - Varmista,etta televisione i putoa, irrottamalla otteesi varovasti.


2-a

2-b

↓

↓
VAROITUS
- Varmista, etta vahintaan kaksi henkiloa (tai vahintaan kolme henkiloa, jos television koko on yli 75 tuumaa) kannattelee televisiota sen Kantamisen aikana.

3 Television alaosan liikkumisen estaminen.
- Poista lóysat hihnasta (F) ja kiinnitā setukevasti seinään.


- Käytä halkaisijaltaan 5 mm:n ruuvia tai vastaavaa (lisävaruste).
Huomautus
Varmista yrittamalla vetta television alaosaa hieman itseasi kohti, ettei se liiku eteenpain. Jos liikettahavaitaan, sita e ole kiinnitety oikein ja hihna F on kiinnitettava tukevasti uudelleen.
Asennuksen tarkistaminen
Tarkista seuraavat kohdat.
Hihnapyorat on ripustetty kunnolla jalustaan tai jalustan sovittimeen.
- Johto ja kaapeli eivät ole kiertyneenä tai puristuksissa.
Hihna F on tiukalla eikä siinä ole loysaa.
VAROITUS
Virtajohdon jne. virheellinen sjoitus saattaa aiheuttta tulipalon tai sahköiskun oikosulun vuoksi. Muista tarkistaa valmis asennus turvallisuuden vuoksi.
Muuta tietoa
Televisio irrotetaan asennukseen nahden painvastaisessa jarjestyksessa.

VAROITUS
- Varmista, etta vahintaan kaksi henkiloa (tai vahintaan kolme henkiloa, jos television koko on yli 75 tuumaa) kannattelee televisiota sen irrottamisen aikana.
Tekniset tiedot

Mitat: (noin) [mm]
a:400
b : 300
c:200
d : 100
e:80
f:480
g : 100
h1 : 20 (tapaus 2-b)
h2 : 60 (tapaus 2-a)
Paino (vain jalusta): (noin) [kg]
0,8
Rakennetta ja teknisia ominaisuksia voidaan muuttaa ilman ennakoilmoitusta.
Seda tehes voib teler kukkuda ja tekitada vigastusi voi varalist kahu.
Arge tehke seinakinnituse osadele muudatusi.
Seda tehes voib seinakinnitus kukkuda ja tekitada vigastusi voi varalist kahu.
Seda tehes voib teler kukkuda ja tekitada vigastusi voi varalist kahu.
Arge toetuge telerile voi rippuge selle kuljes.
Arge toetuge telerile voi rippuge selle kuljes, kuna see voib teile peale kukkuda ja tekitada tosisigastuse.
ETTEVAATUST
Järgmiste ettevaatusinoude eiramine voib tekitada vigastusi voi varalist kahu.
Porutuste korral voib teler kukkuda voi puruneda. See voib tekitada vigastuse.
Paigaldage teler vertikaalsele ja siledale seinale.
Vaadake teleriga komplektis olevat viitejuhti.
Markus.
- Tellige kaablite paigutamine seina sisse litsentsitud toovotjalt.
- Enne seinale paigaldamist siduge uhenduskaablid kokku, et valtida neile peale astumist.
Vaadake teleriga komplektis olevat viitejuhti.
Markus.
- Tellige kaablite paigutamine seina sisse litsentsitud toovotjalt.
- Enne seinale paigaldamist siduge uhenduskaablid kokku, et valtida neile peale astumist.
Disaini ja tehilisi andmeid voidakse muuta ilma etteetamata.
HelppoOhje