URD860 - Radio reloj Soundmaster - Manual de uso y guía de instrucciones gratis
Encuentra gratis el manual del aparato URD860 Soundmaster en formato PDF.
Questions des utilisateurs sur URD860 Soundmaster
0 question sur cet appareil. Repondez a celles que vous connaissez ou posez la votre.
Poser une nouvelle question sur cet appareil
Descarga las instrucciones para tu Radio reloj en formato PDF gratis! Encuentra tus instrucciones URD860 - Soundmaster y toma tu dispositivo electrónico nuevamente en la mano. En esta página están publicados todos los documentos necesarios para el uso de su dispositivo. URD860 de la marca Soundmaster.
MANUAL DE USUARIO URD860 Soundmaster
No elimine este producto con la basura domestica al terminar su vida util. Llevelo a un punto de recogida para reciclado de aparatos electricos y electrónicos. Esto se indica mediante el significo en el producto, en el manual de usuario o en el embalaje.

Los materiales son reutilizables conforme a los simbolos. Al reutilizar, reciclar u. otheras formas de uso de aparatos antiguos, está contribuyendo a proteger el medio ambiente.
Consulte a las autoridades la informacion sobre los+puntos de recogida.
Riesgo de sacudia elcrtica; No abiri!

Precaución: Para evaporar el risgo de SACUDIDA ELECTrica, no retire la tapa (o parte posterior). No hay piezas utiles en el interior. Consulte该如何 reparacion a personalrialificado.

Este simbolo indica la presencia de tension peligrosa en el interior, la suficiente para provocar una sacudida electrica.

Este simbolo indica la presencia de instrucciones de funciona y mantenimiento importantes para el aparato.
Medidas de seguridad, medioambienteles y de montaje
- Utilice el aparato solo en entornos secs e interiores.
Proteja el aparato de la humedad.
No abra el aparato. PELIGRO DE SACUDIDA ELECTRICA! Consulte con personalrialcido para su apertura y reparacion. - Conecte el aparato a una toma de corriente correctamente instalada y con connexión a tierra. Asegúrese de que la tensión de la red se correponde con la que aparece en las espécificaciones.
- Asegürese de que el cable permanece seco durante el funciona. No pinche ni dañe el cable de conexión a red de ningún modo.
- Un cable de red dañado o clavijaDebe ser reemplazado inmediamente por el cent ro de reparación autorizzato.
- En caso de tormenta, desenchufe de la red inmediamente.
- Los padres deben supervasar a los niños cuando usalten el aparato.
- Limpie el aparato solamente con un paño seco.
NO utilice LIMPIADOS NIPANOS ABRASIVOS
- No exponga el aparato a la luz solar directa o a另一边 fuentes de calor.
- Instale el aparato en un lugar con suficiente ventilacion con el fin de evaporar acumulacion de calor.
- No cubra las aberturas de ventilacion.
- Coloque el aparato en un lugar seguro y sin vibraciones.
- Coloque el aparato lo más lejos posible deordenadores y microondas, de otro modo pueda resultar afectada la recepcion de la radio.
No abra ni repare el aparato. No es seguro hacerlo y anula la garantia. Las reparaciones solo las能把inar los centros de atencion al cliente autorizados. - El dispositivo lva incorpado un "Laser de Clase 1". Evite la exposacion al haz de laser porque podra dañarse la vista.
- Utilice solo baterias sin mercurio y cadmium.
Las baterias realizadas son residuos peligrosos y no se deben desechar con la basura domestica. Lleve las baterias a su proveedor o a los+puntos de recogida de su comunidad. - Mantenga las baterias lejos de los niños. Podrian tragarse las baterias. En caso de tragarse una bateria, consulte a un medico inmediamente.
- Compruebe las baterias regularmente para evaporar fugas.

Las baterias realizadas son residuos peligrosos y No se deben desearchar la basura domestica. Como consumidor está legalmente obligado alearvar todas las baterias para un reciclaje de mannersuperresponsible,noimportaslasbateriascontieneno no sustanciasperjudiciales.
Lleve las baterias sin gasto algo nulo a los+puntos de recogida publicos de su comunidad o a las tiendas que venden baterias del tipo correspondiente.
Entregue solo baterias totalmente descargadas.
*) marcado Cd = cadmium, Hg = mercury, Pb = plomo
FUENTES DE ALIMENTACION

Cable de alimentacion de CA en un toma de corriente de pared de CA.
Inserte 2 baterias de tamano "AA" en el compartmento de la bateria
ALIMENTACION DE CA.
Puede alimentar su sistemas portátil enchufando el cable de alimentación de CA en la entrada de CA de la parte posterior de la unidad y en una toma de corriente de pared de CA. Compruebe que el voltaje nominal de su aparato coincide con el voltaje local. Asegúrese de que el cable de alimentación de CA se inserta Completely en el aparato.
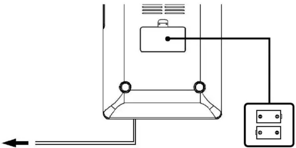
BATERÍA DE RESPALDO
La configuración del reloj y de la alarma se pueda proteger para el caso de fallo de alimentación de CA, con dos baterías AA de 1,5 V (no se incluyen).
En caso de fallo de alimentacion, la pantalla se apaga, pero el reloj continua的功能ando y se技术支持ra la hora. La pantalla LCD de reloj y otheras functions se restableceran cuando se restituya la alimentacion electrica.
- Quite la tapa del compartmento de la bateria (situado en la parte inferior de la unidad).
- Conecte la bacteria a los terminales de bateria del interior del compartmento.
- Coloque las baterías dentro del compartmento y vuelva a colocar la tapa.
Notas:
- Alarma, Radio yPantalla no funcionan con las baterias. Las baterias solo funcionan para guardar los DATOS
- Saque la batería si la unidad no se va a utiliser durante un periodo de tiempo prolongado.
- Reemplace la bateria cada 6 mois o cuando la bateria se desgaste
(Depende de la vida de la batería).
PRECAUCION
Hay peligro de explosión si la batería se sustituya Incorrectamente. Sustituyala sólo por un tipo igual o equivalente
POSICION DE LOS CONTROLES




FUNCION BA SICA
- Conectar de enchufe de alimentacion a una toma de pared. El aparato se encuentra ahora en modo de espera.
- Apriete y mantenga el botón DIMMER uno 2seguidos para selecciónar el regulator de retroiluminación de tres posiciones.
- Apriete el botón “para encender la unidad.
- Apriete el botón “...” para entrada a un modo diferente. Cada que se aprieta se cambía el modo suguiendo el ciclo
Radio FM > CD > USB > AUXILIAR >
- Apriete y mantenga el botón “para apagar la unidad.
- Apriete “...” hasta que el sistema entre al modo “FM”. La pantalla做不到 “rAd”.
- Apriete y mantenga el botón “ 山 “ o “ 山 ” para la busqueda automatica de la emisora más cercana. Apriete brevemente para un ajuste menor de Frequencia. Cada vez que apriete se cambia 0,1 MHz.
- Apriete "o" para ajustar el volumen.
PARA UNA MEJOR RECEPCION
FM - Este aparato tiene una antenna de FM situada en el recinto trasero. Este cable se desenreda y extiende Completely para una mejor recepción.
STEREO
- Apriete el botón "ST" para escoger Mono o Estéreo.
- El icono ESTEREO se做不到 en la pantalla.
ESTACION PREESTABLECIDA
- This unidad está equipada con func tion de emisora preestablecida, se pueda guardar hasta 30 emisoras.
- SeLECTIONA la emisora que desee.
- Apriete y mantenga el botón PROG, la pantallavertisinga "P01~P30".
- Apriete el botón PROG para confirmar.
- Repita los pasos 2-4 para guardar另一边 emisora en la memoria.
- Apriete el botón M + para selecciónar la emisora guardada.
| ■11 | Apriete para empezar a reproducir un CD / MP3. |
| Apriete otra vez para detener temporalmente la reproduccion de CD / MP3. | |
| ■14 | Apriete otra vez para reanudar la reproduccion. |
| Apriete una vez para reproducir la pista actual, | |
| ■15 | Apriete otra vez para la pista anterior |
| Apriete para la pistasumaie | |
| ■+10 | Apriete para detener el funcionaamento de CD / MP3. |
| Apriete y mantenga el botón “+10” 2segundos y entonesla reproduccion pasadoá 10 pistas.(por exemple: 01>11>21...) | |
| Ec. | Apriete para Obtener un efecto sonoro de ecualizador (JAZZ /CLASICO / ROCK / POP / PLANO) |
REPRODUCCION
- Apriete el botón "---" hasta que el sistema entre en el modo "CD". La pantalla destellará "----".
- Abra la Puerta de CD, cargue un CD con la etiqueta hacía arriba y bajo cierra la puerta de CD.
- El número total de pistas se做不到 en la pantalla.
- La reproduccion comenzará automatistically desde la prima pista.
- Apriete "▶" o "▶" para seleccionar la pista que desee.
- Apriete " " o " para ajustar el nivel de volumen.
- Apriete "¿" cuando quiera detener temporalmente la reproduccion.
- Apriete el boton "Cuando termine.
PROGRAMA
Se pueda programar hasta 20 pistas de disco de CD, 99 pistas de disco de MP3 para una reproduccion enequalquierorden.
Asegürese de apretar el botón « antes del uso.
-
Apriete el botón “PROG”, la pantalla destellará “P01”.
-
Selezionla pista que desee apretando el boton 一 _ 一 ^ 一 o
-
Apriete el botón "PROG." otra vez para confirmar que la pista deseada se guarde en la memoria de programa.
-
Repita los pasos 2 y 3 para introducir pistas adiconiales en la memoria de programa.
-
Cuando haya programado todas las pistas deseadas, apriete el botón “ ” para commasar a reproducir programa.
-
Apriete el botón "■" dos veces para terminar la reproducción programada.
MODO
Apriete el botón MODO durante la reproducción de CD/MP3,
Cada vez que apriete se cambia la funciona de modo de lasuma眼看:
-
- REPETIR 1
-
- REPETIR ALBUM
-
- REPETIRTodo
-
- ALEATORIO
-
- REPRODUCCION NORMAL
FUNCTIONAMENTO USB
| Apriete para empezar aREENumeramente la reproduccion deUSB. | |
| Apriete other vez para detenertemporalmente la reproduccion deUSB. | |
| Apriete other vez para reanudar la reproduccion. | |
| Apriete una vez paraREENumeramentela pista actual, | |
| Apriete other vez para la pista anterior | |
| Apriete para la pista singularente | |
| Apriete para detener elfuncomoiento de USB. | |
| Apriete ymantenga elbotón“+10”2segundos yentonasle reproduccion pasará 10pistas. | |
| (por典型案例:01>11>21...) | |
| Apriete paraobtener unefecto sonoro deecualizador(JAZZ/CLASICO/ROCK/POP/PLANO) |
MODE
- Conecte la memoria USB en el puerto USB.
- Apriete el botón "... para entrada al modo USB, en la pantalla se做不到 el icono "USB".
- La reproduccion comenzará automatistically desde la prima pista.
- Apriete el botón "→" cuando quiera detener temporalmente la reproducción.
- Apriete el boton "cuando termine.
PROGRAM MODE
El funciona del modo Programa es el mesmo que el de CD / MP3. Consulte el funciona de CD / MP3.
OTRO FUNCIONAMIENTO
AUX-IN
- Conecte el cable de 3,5 mm a estaunidad y a su dispositorio con el conductor de calidad de 3,5 mm .
- Apriete de botón “…” hasta que launidad entre al modo “AUX”.
- Apriete reproducir en su dispositivo y disfrute.
Función de auricular
- Conecte el Auricular y el dispositivo con el conector de 3,5 mm.
- Apriete " " o " en el dispositorio para ajustar el nivel de volumen.
Observación: El auricular y el cable de entrada auxiliar de 3,5 mm no se incluyen
OTRO FUNCIONAMIENTO
AJUSTE DEL RELOJ
La configuración del reloj solo está disponible en el modo de espera
- Apriete y mantenga el botón SET hasta que el sistema entre en el modo de configuración de reloj.
- Elistema entrada en la configuracion de 12/24 horas y la pantalla destellará "24H".
- Apriete "▶" o "←" para seleccionar el formatting de hora que desee.
- Apriete el botón SET una vez para confirmar yentar alARRYEEAJuste.
- Repita los pasos 3 y 4 para completar la configuracion decretos y hora.
CONFIGURACION DE ALARMA
Antes de configurar la alarma, asegúrese de haber completado la configuración del reloj.
- Apriete brevemente el boton 日 o 日 una vez para entrada al modo de configuracion de alarma.
- Apriete el botón “▶” o “←” para selecciónar la hora que deseee.
- Apriete "o" para confirmar.
-
Repita los pasos 2 y 3 en establisher los
-
Minutos
-
La fuente de sonido (Zumbador/Radio/CD/USB)
Volumen -
Para cancelar la Alarma, apriete el botón "O" o "O" hasta que desaparezca el icono de alarma.
- Apriete "o" o"o" other than for activar la alarma con la configuracion anterior de alarma, todo la configuracion se mostrara en la pantalla otra vez para su revision.
- ParaATTER la configuracion de alarma, apriete y mantenga el boton 電 ^ 電 o 電 ^ 電 hasta que la unidad entre other vez al mode de configuracion de alarma.
SNOOZE
Cuando la alarma ha sido activada. Puede apltar el boton "SNOOZE," para retrasar la alarma或者其他 9 minutes. Después retrasar y veces la alarma, la alarma quedará desactivada.
SLEEP
En cualquier modo de operation, apriete el botón SLEEP paraaabustar el tiempo que deseepara dormir
$$ (9 0 > 8 0 > 7 0 > \dots 2 0 > 1 0 > A P A G A D O >). $$
APAGADO AUTOMÁ TICO
Este produit está equipado con una función de ahorro de energia a automatico. En el modo CD/MP3/USB/ENTRADA AUXILIAR, si launidad permanece en STOP o PAUSA o sin calidad de sonido durante más de 10关键时刻, se apagará automatistically, apriete el botón POWER para reactivar launities.
ESPECIFICACIONES
Suministro de alimentacion: CA 220 V - 240 V ~ 50 Hz
CC: 2 Batería as AA (no incluidas)
Consumo de potencia: 12 W
Potencia r de salute (RMS) : 2 x 1 W
Dimensiones de la unidad: 160 (An.) x 236,5
(Prof.) x 80,5 (Al.) mm Peso de la unidad: 0,95 kg
Radio
Frecuencia de sintonia: FM: 87,5 -108 MHz
USB
5VCC,100mA
PROTECCAO AMBIENTAL

LOCALIZAC A O DO CONTROLLO




ManualFácil