URD860 - Radiowecker Soundmaster - Kostenlose Bedienungsanleitung
Finden Sie kostenlos die Bedienungsanleitung des Geräts URD860 Soundmaster als PDF.
Questions des utilisateurs sur URD860 Soundmaster
0 question sur cet appareil. Repondez a celles que vous connaissez ou posez la votre.
Poser une nouvelle question sur cet appareil
Laden Sie die Anleitung für Ihr Radiowecker kostenlos im PDF-Format! Finden Sie Ihr Handbuch URD860 - Soundmaster und nehmen Sie Ihr elektronisches Gerät wieder in die Hand. Auf dieser Seite sind alle Dokumente veröffentlicht, die für die Verwendung Ihres Geräts notwendig sind. URD860 von der Marke Soundmaster.
BEDIENUNGSANLEITUNG URD860 Soundmaster
HINWEISE ZUM UMWELTSCHUTZ

Dieses Produkt darf am Ende seiner Lebensdauer nicht über den normalen Haushaltsabfall entsorgt werden, sondern muss an einem Sammelpunkt für das Recycling von elektrischen und elektronischen Geräten abgegeben werden. Das Symbol auf dem Produkt, in der Gebrauchs-anleitung oder auf der Verpackung weist daraufhin.
Die Werkstoffe sind gemäß ihrer Kennzeichnung wiederverwertbar. Mit der Wiederverwendung, der stofflichen Verwertung oder anderen Formen der Verwertung von Altgeräten, leisten Sie einen wichtigen Beitrag zum Schutze unserer Umwelt.
Bittle fragen Sie bei ihrer Gemeindeverwaltung nach der zuständigen Entsorgungsstelle.

VORSICHT - UNSICHTBARE LASERSTRAHLUNG TRITT AUS, WENN DER DECKEL GEOFFNET, UND DIE SICHERHEITSVERRIEGELUNG NIEDERGEDRUCKT WIRD. SETZEN SIE SICH NICH T DEM STRAHL AUS.


Dieses Symbol zeigt an, dass im Inneren des Gerätes gefährliche Spannungen vorhanden sind, und einen Stromschlag verursachen können.
Dieses Symbol weist auf wichtige Bedienungs- und Wartungsanweisungen bezüglich des Gerats hin.
Sicherheits-/Umwelt-/Aufstellhinweise
Das Gerat ausnahmslos nur in trockenen Innenraumen betreiben.
- Niemals mit Feuchtigkeit in Verbindung bringen.
Schutzen Sie das Gerät vor tropfenden oder spritzenden Flüssigkeiten, und stellen Sie keine mit Flüssigkeit gefüllten Gefäße (z. B. Vasen) auf das Gerät.
- Niemals das Gerät öffnen. STROMSCHLAGGEFAHR! Dies ist nur Fachpersonal gestattet.
Schlieben Sie das Gerät nur an eine vorschfrtmäßig installierte und geerdete Netzsteckdose an. Die Netzspannung muss mit den Angaben auf dem Typenschild des Gerätes übereinstimmen.
- Achten Sie darauf, dass im Betrieb das Netzkabel niemals Nass oder feucht wird. Das Netzkabelarf nicht eingeklemmt oder anderweitig beschadigt werden.
- Der Netzstecker muss immer leicht erreichen sein, um das Gerät vom Stromnetz zunehmen.
- Der Netzstecker dient als Trennvorrichtung und muss ohne Schwierigkeiten benutzbar sein.
- Achten Sie beim Verlegen des Netzkabels darauf, dass es beim Betrieb des Gerätes nicht zu einer Stolperfälle werden kann.
- Lassen Sie beschädigte Netzstecker oder Netzkabelsofar von dem Kundenservice austauschen.
Ziehen Sie bei Gewitter oder einer längerer Abwesenheit (z.B. Urlaub) den Netzstecker und entnehmer Sie ggf. die Batterien.
- Kinder sollen das Gerät nur unter Aufsicht Erwachsener betreiben.
Das Gerat ausnahmslos nur mit einem trockenen Abstaubtuch reinigen. KEINE REINIGUNGSMITTEL oder TUCHER mit GROBEN Material verwenden!!
Das Gerat keiner Sonnenbestrahlung oder anderen Hitz equellen aussetzen.
- Stellen Sie das Gerät so auf, dass kein Hitzestau entstehen kann, also frei und gut belüftet.
Achten Sie darauf, dass an den Seiten ein Mindestabstand von 10 cm besteht, um eine ausreichende Luftzirkulation zu gewährleisten.
- Decken Sie niemals die Belüftungsöffnungen zu!!
- Lassen Sie das Gerät während des Gebrauchs nicht unbeaufsichtigt.
- Offene Brandquellen, wie z.B. brennende Kerzen, dürfen nicht auf das Gerät gestellt werden.
Es durren keine mit Flussigkeit beflitten Behalter ( z.B. Vasen) auf oder in die Nane des Gerates gestellt werden.
Das Gerät an einem sicheren, erschütterungsfreien Platz aufstellen
Gerat moglichst weit entfert von Computern und Mikrowellengeräten platzieren, da es sonst evtl. zu Empfangsstorungen im Radiobetrieb kommt kann.
Benutzen Sie das Gerät nicht, wenn es Beschädigungen aufweist, wenn es heruntergefallen ist oder nicht einwandfrei faktioniert.
Prufen Sie das Gerat, das Netzkabel sowie den Netzstecker regelmäß auf sichtbare Beschädigungen. Verwenden Sie das Gerät auf keinen Fall, wenn Sie Beschädigungen festgestellt haben.
- Sie dürfen das Gehäuse nicht öffnen oder reparieren. In thisem Falle ist die Sicherheit nicht gegeben und die Garantie erlischt. Reparaturen sind ausschließlich durch einen Service-Center/Kundencenter auszuführen.
Das Gerat verfugt uber einen Klasse 1 Laser. Setzen Sie sich nicht dem Laserstrahl aus, dies kann zu Augenverletzungen führen.
- Verwenden Sie nur Batterien, die frei von Quecksilber & Cadmium sind.
Verbrauchte Batterien sind Sonderabfall und gehoren NICHT in den Hausmull!!! Geben Sie diese Ihrem Handler zuruck oder entsorgen Sie diese an geeigneten Sammelstellen ihrer Stadt oder Gemeinde.
- Batterien dürfen nicht in die Höhe von Kindern gelangen. Kinder konnen Batterien verschlucken. Werde eine Batterie verschlukt, muss sofort medizinische Hilfe in Anspruch genommen werden.
- Überprüfen Sie regelmäßige Batterien um ein Auslaufender Batterie zu vermeiden.
- Batterien dürfen keiner Hitze (z. B. Sonnenbestrahlung), Feuer ausgesetzt werden.
- ACHTUNG: Explosionsgefahr bei falscher Batteriehandhabung. Nur durch den selben oder baugleichen Batterietyp ersetzen.

Verbrauchte Batterien sind Sonderabfall und gehoren NICHT in den Hausmull! Als Verbraucher sind Sie gesetzlich verpflichtet, alle Batterien und Akkus, egal ob sie Schadstoffe *) enthalten oder nicht, zur umweltschonenden Entsorgung zusückzugegeben.
Sie konnen alle Batterien und Akkus bei den öffentlichen Sammelstellen in ihrer Gemeinde oder dort unentgeltlich abgeben, wo Batterien und Akkus der betreffenden Art verkauft werden.
Batterien und Akkusitte nur in entladenem Zustand abgeben.
*) gekennzeichnet mit Cd = Cadmium; Hg = Quecksilber; Pb = Blei
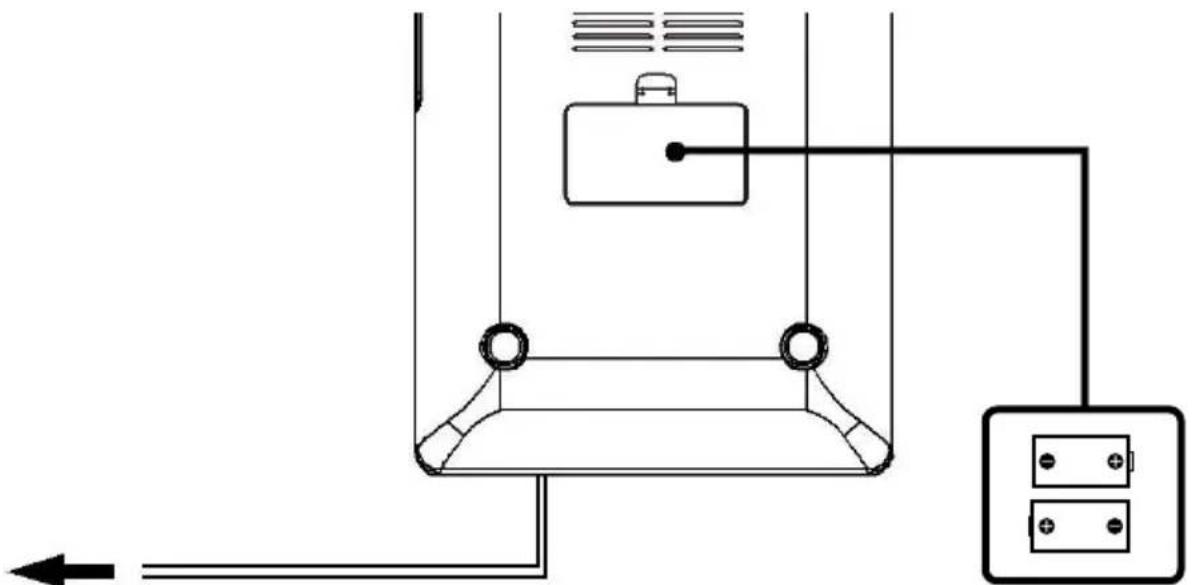
STROMQUEllen

NETZKABEL in eine NETZSTECKDOSE
Legen Sie 2 Batterien der Größe AA
ins Batteriefach ein
NETZSTROM
Sie konnen ihre Anlage mit Strom versorgen, indem Sie das Netzkabel mit dem Netzeingang auf der Rückseite des Gerätes und einer Wandsteckdose verbinden. Vergewissem Sie sich, dass die Nennspannung Ihres Gerätes der örtlichen Netzspannung entspricht. Stellen Sie safer, dass das Netzkabel safer in das Gerät eingesteckt ist.
BACKUP-BATTERIE
Die Uhrzeit- und Alarminstellungen können durch 2 x 1,5V Batterien vom Typ AA (nicht enthalten) vor Stromausfälle geschätzt werden, d.h. die Uhrzeit und Alarmzeit bleibt intern erhalten und muss nicht von erneut eingestellt werden.
Bei einem Stromausfall wird das Display deaktiviert, aber die Uhr lauft weiter und die Uhrzeiteinstellung bleibt erhalten. Sobald die elektrische Stromversorgung wieder hergestellt ist, stellt das LCD-Display wieder die Uhrzeit dar und auch die anderen Funktionen werden wieder aufgenommen.
- Entfernen Sie die Batteriefachabdeckung (an der Unterseite des Gerätes).
- Legen Sie die Batterien in das Batteriefach ein.
- Schlieben Sie die Batteriefachabdeckung wieder.
Hinweise:
- Alarm, Radio und Display Funktionieren nicht mit Batteriestrom. Die Batterien dienen nur zum DATEN-Backup
- Nehmen Sie die Batterien hereus, wenn das Gerät längerere Zeit nicht verwendet werden wird.
- Tauschen Sie die Batterien alle 6 Monate aus, bzw. wenn sie leer sind (hängt von der Lebensdauer der Batterie ab).
ACHTUNG
Explosionsrisiko, wenn die Batterien nicht korrekt ausgetauscht werden.
Nur durch Batterien desselben oder eines äquivalenten Typs ersetzen.
ANORDNUNG DER BEDIENELEMENTE




GRUNDFUNKTIONEN
- Stecken Sie den Stecker in eine Wandsteckdose. Das Gerät befindet sich jetzt im Standbymodus.
- Drücken Sie die DIMMER-Taste etwa 2 Sekunden lang, um zwischen den drei Stufen des Hintergrunddimmers auszuwahlen.
- Drücken Sie " um das Gerät einzuschalten.
- Drücken Sie " ..., um den Modus zu wechseln. jeder Tastendruck schaltet den Modus in folgender Reihenfolge
FM Radio > CD > USB > AUX >
- Halten Sie " " gedrückt, um das Gerät auszuschalten.
RADIOBETRIEB
ALLGEMEINER BETRIEB
- Drucken Sie " ..., bis das System in den Modus "FM" schaltet. Im Display erscheint "rAd".
- Halten Sie "▶▶" oder "▶▶" gedrückt, um automatisch nach dem{nachsten Radiosender zu sichen.DruckenSie kurz,um Kleinere Anpassungen derFrequenz vorzunehmen.Be{jdem Druckenändert sich dieFrequenz um 0,1MHz.
- Drücken Sie " oder " um die Lautstärke zuändern.
FÜR BESSEREN EMPFANG
FM (UKW) - Dieses Gerät ist mit einer FM (UKW)-Antenne ausgestattet, die sich hinter am Gehäuse befindet. Diese Draht wird für betteren Empfang vollständig auseinandergewickelt und ausgezogen.
STEREO
- Drücken Sie "ST", um zwischen Mono und Stereo zu wahlen.
- Das STEREO-Symbol erscheint im Display.
SENDER VOREINSTELLEN
- Dieses Gerät ist mit einer Preset-Funktion ausgestattet; bis zu 30 Sonder können fest gespeichert werden.
- Wahlen Sie den gewünschten Radiosender aus.
- Halten Sie die PROG.-Taste gedrückt, im Display wird "P01~P30" angezeigt.
- Drucken Sie die PROG.-Taste, um zu bestätigen.
- Wiederholen Sie die Schritte 2-4, um weitere Radiosender zu speichern.
- Drücken Sie die Taste M+ , um einen der gespeicherten Sender auszuwahlen.
CD / MP3-BETRIEB
ALLGEMEINER BETRIEB
Drucken, um mit der Wiedergabe der CD/MP3 zu beginnen.
Erneut drücken, um die Wiedergabe der CD/MP3 temporär zu unterbrechen.
Erneut drücken, um die Wiedergabe fortzusetzen.
Einmal drücken, um den aktuellen Track wiederzugegeben,
Erneut drücken, um den vorherigen Track abzuspielen
Drucken, um zum nachsten Track zu gelangen
Drucken, um den CD / MP3-Betrieb zu beenden.
+10 WaresheSeSukudien lang gedrückt halten, springt die
(zum Beispiel: 01>11>21...)
EQ Drucken, um EQ-Klangeffekte zu erzielen (JAZZ / Klassik / ROCK /
POP / FLAT)
WIEDERGABE
- Drücken Sie " ... ", bis das System in den Modus "CD" schaltet. Im Display blinkt "----".
- Offnen Sie die CD-Klappe, legen Sie eine CD mit der Beschriftung nach oben ein und schlieben Sie dann die CD-Klappe.
- Die Gesamtzahl der Tracks wird auf dem Display angezeigt.
- Die Wiedergabe beginnt automatisch mit dem ersten Track.
- Drucken Sie " boder " , um den gewünschten Track auszuwahlen.
- Drücken Sie "oder", um die Lautstärke zu regeln.
- Drücken Sie " -, wenn Sie die Wiedergabe temporär unterbrechen möchten.
- Drucken Sie " ", wenn Sie fertig sind.
PROGRAMMIERUNG
Bis zu 20 Tracks einer CD und 99 Tracks einer MP3 konnen für die Wiedergabe in beliebiger Reihenfolge programmiert werden.
Drücken Sie vor Beginn unbedingt die Taste.
- Drucken Sie "PROG.", im Display blinkt "P01".
- Wahlen Sie den gewünschten Track, indem Sie '' oder '' drucken.
- Drücken Sie erneut "PROG.", um zu bestätigen, dass Sie den gewünschten Track im Programmspeicher speichern möhen.
- Wiederholen Sie Schritt 2 & 3, um weitere Tracks zum Programmspeicher hinzuzufugen.
- Wenn alle gewünschten Tracks programmiert worden sind, drücken Sie die "-Taste, um mit der Wiedergabe des Programms zu beginnen.
- Drücken Sie zweimal" , um die programmierte Wiedergabe zu beenden.
MODUS
Drücken Sie während der Wiedergabe von CD/ MP3 auf die MODE-Taste, Jeder Tastendruck schaltet die Modusfungtion folgendermaßen:
1.-WIEDERHOLEN 1
2. - ALBUM WIEDERHOLEN
3. - ALLES WIEDERHOLEN
4.-ZUFA LLIG
5. - NORMALE WIEDERGABE
USB-BETRIEB
Drucken, um mit der Wiedergabe der USB zu beginnen.
Erneut drücken, um die Wiedergabe der USB temporär zu unterbrechen.
Erneut drücken, um die Wiedergabe fortzusetzen.
Einmal drücken, um den aktuellen Track wiederzugegeben, Erneut drücken, um den vorherigen Track abzuspielen
Drucken, um zum nachsten Track zu gelangen
Drucken, um den USB-Betrieb zu beenden.
+10 -Taste 2 Sekunden lang gewährkshaldie, spfhtg die
(zum Beispiel: 01 > 11 > 21
EQ Drucken, um EQ-Klangeffekte zu erzielen (JAZZ / Klassik / ROCK /
POP / FLAT)
MODE
- Stecken Sie den USB-Stick in den USB-Port.
- Drücken Sie " ", um in den USB -Modus zu gelangen, das "USB" -Symbol wird auf dem Display angezeigt.
- Die Wiedergabe beginnt automatisch mit dem ersten Track.
- Drücken Sie " ", wenn Sie die Wiedergabe temporär unterbrechen möchten.
- Drucken Sie "■", wenn Sie fertig sind.
PROGRAM MODE
Der "Program Mode" Funktioniert genauso, wie bei CD/MP3.itte lessen Sie im Abschnitt CD/MP3-Betrieb nach.
WEITEREFUNKTIONEN
AUX-IN
- Schlieben Sie ein 3,5mm Kabel an these Gerat und an Ihr Gerat an die 3,5mm-Ausgangsbuchse an.
- Drücken Sie " ..., bis das Gerät in den Modus "AUX" schaltet.
- Drücken Sie die Wiedergabetaste undGENIeBEN Sie.
Kopfhörerfungtion
- Schlieben Sie den Kopfhörer an der 3,5mm-Buchse an das Gerät an.
- Drücken Sie " oder " am Gerät, um die Lautstärke zu regeln.
Anmerkung: Kopfhörer & das 3,5mm Aux-In-Kabel sind nicht enthalten
WEITEREFUNKTIONEN
UHRZEITEINSTELLUNG
Die Uhr kann nur im Standbymodus eingestellt werden
- Halten Sie die SET-Taste gedrückt, bis das System in den Modus "Uhrzeitinstellung" schaltet.
- Das System schaltet in die 12/24 Stunden-Einstellung & im Display blinkt "24H".
- Drücken Sie " >>", oder " <<", um das gewünschte Uhrzeitformat auszuwahlen.
- Drücken Sie zur Bestätigung einmal die SET-Taste & Sie gelangen zur nachsten Einstellung.
- Wiederholen Sie die Schritte 3 & 4, um die Einstellung der Minuten & Stunden zu beenden.
ALARMEINSTELLUNG
Vergewissern Sie sich vor dem Einstellen das Alarms, dass die Uhrzeitinstellung beendet ist.
- Drücken Sie einmal kurz auf " B" oder " B", um in den Modus "Alarmeinstellung" zu gelangen.
- Drucken Sie " bder " ", um die gewünschte Stunde auszuwahlen.
- Drucken Sie zum Bestätigten "oder" ".
-
Wiederholen Sie Schritte 2 & 3, um die
-
Minuten einzustellen
-
Schallquelle (Summer/Radio/CD/USB)
Lautstärke -
Um den Alarm zu löschen, drücken Sieitte '' oder '' , bis das Alarmsymbol verschwindet.
- Drücken Sie erneut " 品 oder " 品 ", um den Alarm mit den vorherigen Alarmeinstellungen zu aktivieren, alle Einstellung werden erneut angezeigt.
- Um die Alarmeinstellungen zuändern, halten Sieitte "öder" gedrückt, bis das Gerät wieder in den Modus "Alarmeinstellung" schaltet.
SNOOZE
Wenn der Alarm aktiviert wurde. Sie können die "SNOOZE"-Taste drücken, um den Alarm weitere 9 Minuten hinauszügern. Wenn Sie den Alarm 6 Mal hinausgezögert haben, schaltet er sich automatisch ab.
SLEEP
Drücken Sie in einem beliebigen Betriebsmodus die SLEEP-Taste, um die gewünschte Schlafzeit einzustellen
$$ (9 0 > 8 0 > 7 0 > \dots 2 0 > 1 0 > A U S >). $$
AUTOMATISCHES ABSCHALTEN
Dieses Produkt ist mit einer automatischen Energiesparfunktion ausgestellt. Wenn das Gerät im CD/MP3/USB/AUX-IN-Modus über 10 Minuten lang auf STOP oder PAUSE stehen oder keine Klangwiedergabe erfolgt, schaltet es sich automatisch aus; drücken Sieitte die POWER-Taste, um das Gerät wieder zu aktivieren.
TECHNISCHE DATEN
Stromversorgung: 220-240V Wechselsspannung 50Hz
Gleichspannung: 2 × AA Batterien (nicht enthalten)
Stromverbrauch: 12W
Ausgangsleistung (RMS): 2 × 1W
Abmessungen 160 (B) × 236,5 (T) × 80,5 (H) mm,
Gewicht: 0,95kg
Radio
Abstimmfrequenz: FM: 87,5 -108MHz
USB
5V DC =100mA
Die technischen Daten können ohne vorherige Ankündigung
geändert werden. Copyright by Wörlein GmbH, Cadolzburg
HERSTELLER
Worlein GmbH
Gewerbestasse 12
D 90556 Cadolzburg
Tel.: +49 9103 7167 0
Fax.: +49 9103 7167 12
Email: service@woerlein.com
Web: www.woerlein.com
ENVIRONMENTAL PROTECTION

EinfachAnleitung