URD860 - Radio-réveil Soundmaster - Notice d'utilisation et mode d'emploi gratuit
Retrouvez gratuitement la notice de l'appareil URD860 Soundmaster au format PDF.
| Caractéristiques techniques | Détails |
|---|---|
| Type de produit | Radio-réveil |
| Affichage | Écran LED avec luminosité réglable |
| Fonctionnalités radio | FM avec présélections |
| Alimentation | Secteur avec batterie de secours |
| Dimensions | Compact, idéal pour les tables de nuit |
| Réveil | Fonction snooze et réglage de l'alarme |
| Utilisation | Facile à utiliser avec des boutons intuitifs |
| Maintenance | Nettoyage régulier de l'appareil avec un chiffon doux |
| Sécurité | Conforme aux normes de sécurité électrique |
| Informations générales | Idéal pour les utilisateurs cherchant un réveil fonctionnel avec radio |
FOIRE AUX QUESTIONS - URD860 Soundmaster
Questions des utilisateurs sur URD860 Soundmaster
0 question sur cet appareil. Repondez a celles que vous connaissez ou posez la votre.
Poser une nouvelle question sur cet appareil
Téléchargez la notice de votre Radio-réveil au format PDF gratuitement ! Retrouvez votre notice URD860 - Soundmaster et reprennez votre appareil électronique en main. Sur cette page sont publiés tous les documents nécessaires à l'utilisation de votre appareil URD860 de la marque Soundmaster.
MODE D'EMPLOI URD860 Soundmaster
Ne jetez pas ce produit avec les ordures menagères lorsqu'il est usage. Retournez-le à un point de collecte pour le recyclage des appareils électriques et électroniques. Cette recommendation est indiquée par le symbole sur le produit, le mode d'emploi ou l'emballage.

Les composants sont réutilisables en fonction de leur marquage. En réutilisant, recyclant ou employant autrement les valeurs, vous contribuées de façon significante à la protection de notre environnement.
Veuillez contacter vos collectivités locales pour vous renseigner sur les points de collecte.
Ce symbole indique la presence d'une tension dangereuse à l'intérieur de l'appareil, qui est suffisante pour provoquer un choc électrique.
Ce symbole indique la presence de consignes importantes de fonctionnement et d'entretien de pour l'ordinateil.
Consignes de sécurité, d'environnement et d'installation
N'utilisez l'appareil qu'a l'intérieur dans un lieu sec
- Protégez l'appareil contre l'humidité
N'ouvre pas l'appareil RISQUE D'ELECTROCUTION! Faites effectuer l'ouverture et l'entretien par un personnel qualifié
- Ne connectez cet apparéil qu'à une prise murale correctement installée et reliée à la terre Assurez-vous que la tension principale corresponde aux recommandations de la plaque d'indice
Assurez-vous que le cable d'alimentation reste au sec pendant le fonctionnement. Ne pincez pas le cable et ne l'endommagez d'aucune façon
- Un cable de réseau ou une prise abimés doivent être immédiatement replacés par un centre agréé.
- En cas de tonnerre, débranchez immédi atement l'appareil de l'alimentation.
- Les enfants doivent être surveillés par leurs parents lorsqu'ils utilisent l'appareil.
- Ne nettoyez l'appareil qu'avac un tissu sec. N'utilisez PAS de PRODUITS DETERGENTS ou de CHIFFONS ABRASIFS!
- N'exposez pas l'appareil à la lumière directe du soleil ou toute autre source de chaleur
- Installez l'appareil dans un emplacement suffisamment ventilé pour éviter une accumulation de chaleur.
- Ne recouvre pas les grilles d'airation!
- Installez l'appareil dans un emplacement sécurisé et sans vibrations.
- Ne pas installer l'appareil à proximé d'ordinateurs et jours à micro-ondes; sinon la réception de radio pourrait être perturbée.
- Ne pas ouvrir ou réparer l'appareil. Cela est dangereux et annulerait la garantie. La réparation doit être uniquement effectuee que par un centre de réparations / service agreeé.
Lappareil est equiped'un « Laser Classe 1 » . Evitez toute exposition au rayon laser car cela pourrait blesser les yeux.
- N'utilisez que des piles au mercure et sans cadmium.
- Les piles usagées sont des déchets dangereux et ne doivent PAS être jetées avec les ordures menagères !!! Ramenez les piles à votre point de vente ou aux points de collecte de votre ville.
Eloigne z les ples des enants. Les enants pourraient avaler les piles. En cas d'ingestion d'une pile, contactez immediatement un medecin.
- Vérifiez régulierement vos piles pour éciter les fuites.

Les piles usages sont des déchets dangereux et ne doivent PAS être jetées avec les ordures menagères! La loi impose aux consommateurs de disposeur de toutes les piles pour un recyclage écologique - et ce que les piles soient de contenance dangereuse ou pas').
Disposer gratuitement des piles dans les points de collecte de votre communauté ou auprès des magasins détaillant les piles de même catégories.
Ne disposez que de piles entiement vides.
*) marquee Cd = cadmium, Hg = mercury, Pb = plomb
SOURCES D'ALIMENTATION

Cordon d'ALIMENTATION CA dans une prise murale d'alimentation CA
Insérez 2 piles de taille 'AA' dans le compartment de piles.
ALIMENTATION CA
Votre système portable peut être alimenté en branchant le cordon d'alimentation CA dans la prise CA à l'arrête de l'appareil et dans une prise murale d'alimentation CA Vérifiez que la tension nominale de votre appareil corresponde à votre tension locale Veilles à ce que le cordon d'alimentation CA soit entièrement inséré dans l'appareil.
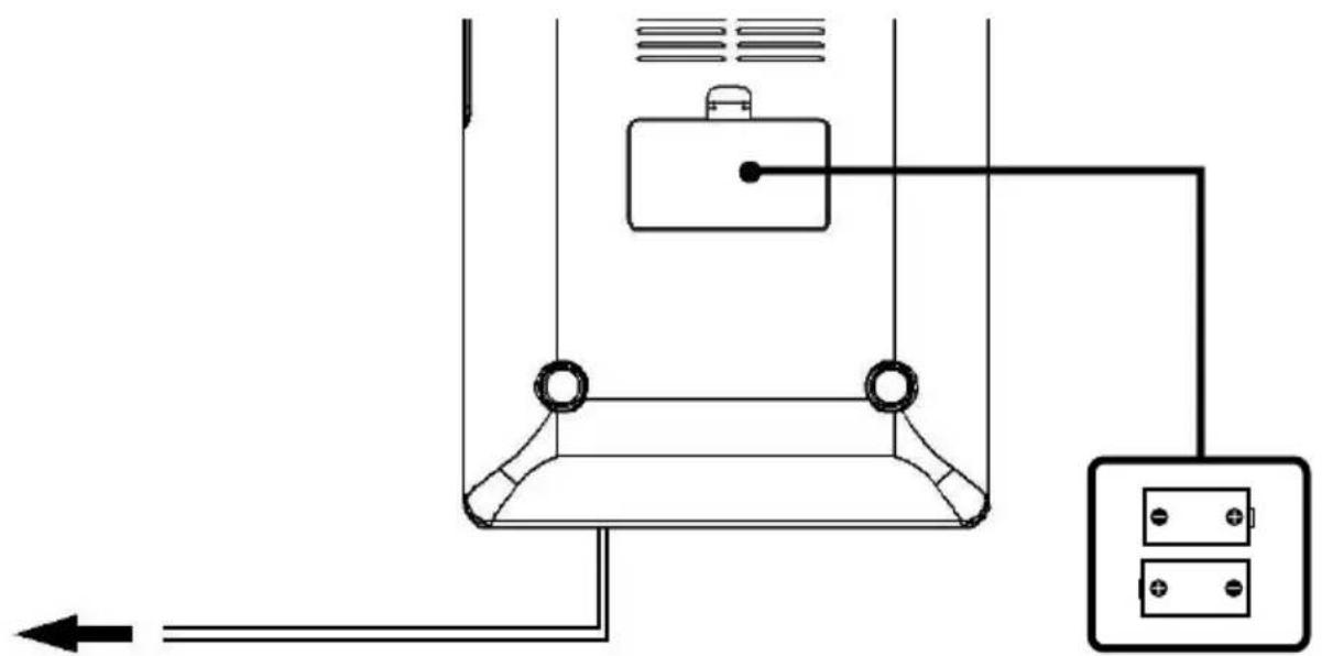
PILES DE SECOURS
Les réglages d'heure et de l'alarme peuvent être protégés contre les coupures d'alimentation CA avec 2 piles AA de 1,5V (non fournies).
Dans le cas d'une coupure de courant, l'écran deviendra vierge, mais l'horloge continuera de fonctionner et l'heure en cours sera maintainue. L'affichage LCD de l'heure et les autres fonctions reprendront lorsque l'alimentation électrique sera rebranchée.
- Retirez le cache du compartmente a piles (situé au bas de l'appareil).
- Branchez les piles aux bornes de piles à l'intérieur du compartment.
- Veuillez metre les piles dans le compartment et refermer le cache..
NB:
-
L'Alarme, la Radio et l'Écran ne fonctionnent pas avec les piles. Les piles ne sont que pour la sauvégarde des DONNEES
-
Retirez les piles si l'appareil ne doit pas etre utilisependant une longue durée.
- Changez les piles tous les 6 mois ou lorsqu'elles sont usées (Dépend de la vie de la pile).
ATTENTION
Risque d'explosion si la pile est remplacée incorrectement
Ne la remplacer qu'avec un type identique ou équivalent

EMPLACEMENT DES COMMANDES



UTILISATION SIMPLE
- Branchez la prise d'alimentation dans une prise murale L'appareil est maintainant en mode veille.
- Maintenez la touche DIMMER enfoncée pendant environ 2 secondes pour selectionner trois etapes d'intensité du retro éclairage.
- Appuyez sur la touche “ Ⓞ ” pour allumer l'appareil.
- Appuyez sur la touche “ … ” pour acceder à un mode différent. Chaque appui change le mode du cycle comme suit:
Radio FM > CD > USB > AUX >
- Maintenez la touche “ 📦 ” enforcée pour êtreindre l'appareil.
UTILISATION DE LA RADIO
FONCTIONNEMENT GÉNÉRAL
- Appuyez sur "... jusqu'à ce que le système accede au mode "FM". L'écran affichera "rAd".
- Maintenez la touche '«' ou '»' enforcée pour la recherche automatique de la station radio la plus proche. Appuyez brièvement pour un petit réglage de fréquence. Chaque appui change de 0.1MHz.
- Appuyez sur ' ou ' pour régler le volume.
POUR UNE MEILLEURE RECEPTION
FM – Cet apparéil a une antennne FM située à l'arrière de l'appareil. Ce fil doit être complètement déployé pour une meilleure réception
STEREO
- Appuyez sur la touche ' sT' pour selectionner Mono ou Stereo.
- L'icone STEREO apparaitra a I'ecran.
STATIONS PRÉRÉGLE ES
- Cet apparéil est muni d'une fonction de préréglage de station, un maximum de 30 stations peut être préréglé.
- Sélectionnez la station radio souhaïée.
- Maintenez la touche PROG enfoncée, l'écran affichera 'P01~P30'.
- Appuyez sur la touche PROG pour valider.
- Repetez les étapes 2 à 4 pour sauegarder l'autre station radio dans la mémoire.
- Appuyez sur la touche M+ pour selectionner la station preréglee sauvegardée.
UTILISATION CD / MP3
FONCTIONNEMENT GENERAL
| ■II | Appuyez à nouveau pour arrêté temporairement la lecture du CD/MP3. |
| ■▲ | Appuyez à nouveau pour continuer la lecture |
| ■▲ | Appuyez une fois pour relire le titre en cours. |
| ■▲ | Appuyez à nouveau pour le titre précédent. |
| ■▲ | Appuyez pour le titre suivant. |
| ■ | Appuyez pour arrêté le fonctionnement du CD//MP3. |
| +10 | Maintenez la touche ‘+10’ enfoncée pendant 2 secondes alors la lecture augmentera jusqu'à 10 pistes. |
| (Par exemple: 01>11>21...) | |
| EQ | Appuyez pour l'effet sonore EQ (JAZZ / CLASSIQUE/ ROCK / POP / FLAT) |
LECTURE
- Appuyez sur la touche : - jusqu'à ce que le système accede au mode 'CD'. L'écran clignotera ----'.
- Ouvrez le tiroir du CD, inserez un CD avec l'etiquette face vers le haut et puis refermez le tiroir du CD.
- Le nombre total de titres s'affichera à l'écran.
- La lecture débuta automatiquement a partir du premier titre.
- Appuyez sur « ou « pour sélectionner le titre souhaïte.
- Appuyez sur 四 _ 1 ^ 四 ou pour regler le niveau du volume.
- Appuyez sur : -Iorsque you desirez arrer momentanement la lecture.
- Appuyez sur la touche ■ lorsque terminé.
PROGRAMME
Un maximum de 20 titres d'un disque CD, 99 pistes de disque MP3 peut etre programme pour la lecture aléatoire du disque.
Avant l'utilisation, veilles à appuyer sur la touche ■'.
- Appuyez sur la touche 'PROG' l'écran clignotera "P01"
- Sélectionnéz le titre souhaité en appuyant sur la touche « ou «
- Appuyez à nouveau sur la touche ' PROG' pour valider la sauvegarde de la piste désirée dans la mémoire du programme.
- Repetez les étapes 2 et 3 pour saisir des pistes supplémentaires à sauvegarder dans la mémoire du programme.
- Lorsque tous les titres souhaités ont ete programmés, appuyez sur la touche ' pour commencer la lecture programmée.
- Appuyez deux fois sur la touche ■' pour arrêtier la lecture programmée.
MODE
Appuyez sur la touche MODE pendant la lecture du CD/ MP3, Chaque appui change la fonction du mode comme suit:
-
- REPETER 1
-
- REPETER ALBUM
-
- TOUT REPETER
-
- ALEATOIRE
-
- LECTURE NORMALE
| II | Appuyez à nouveau pour arrêté temporairement la lecture du USB. |
| Appuyez à nouveau pour continuer la lecture | |
| Appuyez une fois pour relire le titre en cours. | |
| Appuyez à nouveau pour le titre précédent. | |
| Appuyez pour le titre suivant. | |
| +10 | Appuyez pour arrêté le fonctionnement du USB. |
| Maintenez la touche ‘+10’ enfoncée pendant 2 secondes alors la lecture augmentera jusqu'à 10 titres. | |
| (Par exemple: 01>11>21...) | |
| EQ | Appuyez pour l'effet sonore EQ (JAZZ / CLASSIQUE/ ROCK / POP / FLAT) |
MODE
- Insérez la clé USB dans le port USB.
- Appuyez sur la touche ' ... ' pour acceder au mode USB, l'icone 'USB' apparaitra à l'écran.
- La lecture débutera automatiquement à partir du premier titre.
- Appuyez sur la touche « lorsque vous désirez arrêter momentanément la lecture.
- Appuyez sur la touche lorsque terminé
PROGRAM MODE
Le fonctionnement du mode 'Programme' est identique à celui du CD / MP3. Veuillez consulter le fonctionnement du CD/MP3.
AUTRES UTILISATIONS
AUX-IN
- Branchez le cordon 3,5 mm à cet apparéil et à votre disposifit à la prise de sortie 3,5 mm.
- Appuyez sur la touche ... ' jusqu'à ce que l'appareil accede au mode 'AUX'.
- Appuyez sur 'Lecture' de votre dispositif et profitez.
Fonction des Écouteurs
- Connectez l'écouteur & le dispositif avec la prise 3,5 mm.
- Appuyez sur 品 ou du dispositif pour regler le niveau du volume.
AUTRES UTILISATIONS
RéGLAGE DE L'HORLOGE
Le réglage de l'horloge ne peut être effectué qu'en mode 'Veille'.
- Maintenez la touche SET enforcée jusqu'à ce que le système accede au mode de réglage de l'heure.
- Le système accèdera le format hora de 12/24 & l'écran clignotera '24H'
- Appuyez sur « » ou « » pour sélectionner le format horaie souhaite.
- Appuyez une fois sur la touche SET pour valider & acceder au réglage suivant.
- Repetez les étapes 3 & 4 pour compléter le réglage des minutes & d'heure.
RÉGLAGE DE L'ALARME
Avant de régler l'alarme, veuilles veiller à ce que le réglage d'heure soit terminé.
- Appuyez brièvement une fois sur la touche 'ô' ou 'ô' pour acceder au mode de réglage de l'alarme.
- Appuyez sur la touche « ou « pour sélectionner l'heure souhaitatione.
- Appuyez sur 'Bou' pour valider.
-
Répétez les étapes 2 & 3 pour régler le(s)
-
Minutes
-
Type de sonnerie (Vibreur/Radio/CD/USB)
Volume -
Pour annuler l'Alarme, veuilles appuyer sur la touche 'ô' ou 'ô' jusqu'à ce que l'icone de l'alarme disparaissé.
- Appuyez à nouveau sur ' 品 ou * pour enclencher l'alarme avec le réglage précédent d'alarme, tous les réglages apparaitront à nouveau à l'écran pour vérification.
- Pour modifier le réglage d'alarme, veuillez maintainir la touche ' B' ou ' B' jusqu'à ce que l'appareil accede à nouveau au mode de réglage d'alarme.
SNOOZE
Lorsque l'alarme a eté déclenchée, Vous pouvez appuyer sur la touche SNOOZE' pour retarder l'alarme pour 9 minutes de plus. Àpès avoir retardé l'alarme 6 fois, l'alarme sera automatiquement désactivée.
SLEEP
En tous modes de fonctionnement, appuyez sur la touche SLEEP pour régler la durée de veille souhaitée
(90 > 80 > 70 > 20 > 10 > AR >)
ARRÉT AUTOMATIQUE
Cet apparéil est muni d'une fonction automatique de basse consommation. En mode CD/MP3/USB/AUX-IN, si l' apparéil reste sur ARRÉT ou PAUSE ou sans audio durant plus de 10 minutes, il s'éteindra automatiquement, veuillez appuyer sur la touche POWER pour pallumer l' apparéil.
SPECIFICATIONS
Alimentation électrique : CA 220 V-240 V ~, 50 Hz
Consommation d'énergie : 12W
Puisance de sortie (RMS) 2 x 1W
Dimensions de l'appareil : 160 mm (l) x 236,5 mm (P) X 80,5
mm (H) Poids de l'appareil : 950 g
Radio
Réglage de Fréquence : FM 87,5 -108 MHz
USB
5VCC = 100mA
MILIEUBESCHERMING

Notice Facile