PSA 900E - Power tool BOSCH - Free user manual and instructions
Find the device manual for free PSA 900E BOSCH in PDF.
Download the instructions for your Power tool in PDF format for free! Find your manual PSA 900E - BOSCH and take your electronic device back in hand. On this page are published all the documents necessary for the use of your device. PSA 900E by BOSCH.
USER MANUAL PSA 900E BOSCH
Power Tools Division
70745 Leinfelden-Echterdingen
Germany
www.bosch-pt.com
1609 929 X53 (2012.04) O/70 WEU

1609929X53
PSA 900 E

BOSCH
de Originalbetriebsanleitung
en Original instructions
fr Notice originale
es Manual original
pt Manual original
it Istruzioni originali
nl Oorspronkelijke
gebruiksaanwijzing
da Original brugsanvisning
sv Bruksanvisning i original
no Original driftsinstruks
fi Alkuperäset oheje
el Ipwrtouno oobnyw xpnns
tr Orijinal isletme talimati
ar

Deutsch . 5
English 9
Français. Page 14
Espanol .Pagina 19
Portugues.. Pagina 24
Italiano . . . . . . . . . . . . . . . . . . . . . . . . . . . . . . . . . . . . . . . . . . . . . . . . . . . . . . . . . . . . . . . . . . . . . .. Pagina 29
Nederlands.. .Pagina 33
Dansk. Side 38
Svenska. Sida 42
Norsk. Side 46
Suomi. .Sivu 50
Eayniká. 54
Türkce Sayfa 60
68



PSA 900 E





Deutsch | 5
Deutsch
Senior Vice President
Engineering
Helmut Heinzelmann
Head of Product Certification
PT/ETM9



Robert Bosch GmbH, Power Tools Division
D-70745 Leinfelden-Echterdingen
27.03.2012
Montage
General Power Tool SafetyWarnings
WARNING
Read all safety warnings and all instructions. Failure to follow the warnings
and instructions may result in electric shock, fire and/or serious injury.
Save all warnings and instructions for future reference.
The term "power tool" in the warnings refers to your mains-operated (corded) power tool or battery-operated (cordless) power tool.
Work area safety
- Keep work area clean and well lit. Cluttered or dark areas invite accidents.
- Do not operate power tools in explosive atmospheres, such as in the presence of flammable liquids, gases or dust. Power tools create sparks which may ignite the dust or fumes.
- Keep children and bystanders away while operating a power tool. Distractions can cause you to lose control.
Electrical safety
Power tool plugs must match the outlet. Never modify the plug in any way. Do not use any adapter plugs with earthed (grounded) power tools. Unmodified plugs and matching outlets will reduce risk of electric shock.
10|English
- Avoid body contact with earthed or grounded surfaces, such as pipes, radiators, ranges and refrigerators. There is an increased risk of electric shock if your body is earthed or grounded.
Do not expose power tools to rain or wet conditions. Water entering a power tool will increase the risk of electric shock. - Do not abuse the cord. Never use the cord for carrying, pulling or unplugging the power tool. Keep cord away from heat, oil, sharp edges and moving parts. Damaged or entangled cords increase the risk of electric shock.
- When operating a power tool outdoors, use an extension cord suitable for outdoor use. Use of a cord suitable for outdoor use reduces the risk of electric shock.
If operating a power tool in a damp location is unavoidable, use a residual current device (RCD) protected supply. Use of an RCD reduces the risk of electric shock.
Personal safety
Stay alert, watch what you are doing and use common sense when operating a power tool. Do not use a power tool while you are tired or under the influence of drugs, alcohol or medication. A moment of inattention while operating power tools may result in serious personal injury.
- Use personal protective equipment. Always wear eye protection. Protective equipment such as dust mask, non-skid safety shoes, hard hat, or hearing protection used for appropriate conditions will reduce personal injuries.
Prevent unintentional starting. Ensure the switch is in the off-position before connecting to power source and/or battery pack, picking up or carrying the tool. Carrying power tools with your finger on the switch or energising power tools that have the switch on invites accidents.
Remove any adjusting key or wrench before turning the power tool on. A wrench or a key left attached to a rotating part of the power tool may result in personal injury.
Do not overreach. Keep proper footing and balance at all times. This enables better control of the power tool in unexpected situations.
Dress properly. Do not wear loose clothing or jewellery. Keep your hair, clothing and gloves away from moving parts. Loose clothes, jewellery or long hair can be caught in moving parts.
If devices are provided for the connection of dust extraction and collection facilities, ensure these are connected and properly used. Use of dust collection can reduce dust-related hazards.
Power tool use and care
Do not force the power tool. Use the correct power tool for your application. The correct power tool will do the job better and safer at the rate for which it was designed.
Do not use the power tool if the switch does not turn it on and off. Any power tool that cannot be controlled with the switch is dangerous and must be repaired.
Disconnect the plug from the power source and/or the battery pack from the power tool before making any adjustments, changing accessories, or storing power tools. Such preventive safety measures reduce the risk of starting the power tool accidentally.
- Store idle power tools out of the reach of children and do not allow persons unfamiliar with the power tool or these instructions to operate the power tool. Power tools are dangerous in the hands of untrained users.
- Maintain power tools. Check for misalignment or binding of moving parts, breakage of parts and any other condition that may affect the power tool's operation. If damaged, have the power tool repaired before use. Many accidents are caused by poorly maintained power tools.
- Keep cutting tools sharp and clean. Properly maintained cutting tools with sharp cutting edges are less likely to bind and are easier to control.
- Use the power tool, accessories and tool bits etc. in accordance with these instructions, taking into account the working conditions and the work to be performed. Use of the power tool for operations different from those intended could result in a hazardous situation.
Service
Have your power tool serviced by a qualified repair person using only identical replacement parts. This will ensure that the safety of the power tool is maintained.
SafetyWarnings for Sabre Saws
Hold power tool by insulated gripping surfaces, when performing an operation where the cutting accessory may contact hidden wiring or its own cord. Cutting accessory contacting a "live" wire may make exposed metal parts of the power tool "live" and could give the operator an electric shock.
- Keep hands away from the sawing range. Do not reach under the workpiece. Contact with the saw blade can lead to injuries.
Apply the machine to the workpiece only when switched on. Otherwise there is danger of kickback when the cutting tool jams in the workpiece.
- When sawing, the adjustable footplate 2 must always faces against the workpiece. The saw blade can become wedged and lead to loss of control over the machine.
When the cut is completed, switch off the machine and then pull the saw blade out of the cut only after it has come to a standstill. In this manner you can avoid kickback and can place down the machine securely.
Use only undamaged saw blades that are in perfect condition. Bent or dull saw blades can break, negatively influence the cut, or lead to kickback.
Do not brake the saw blade to a stop by applying side pressure after switching off. The saw blade can be damaged, break or cause kickback.
- Clamp material well. Do not support the workpiece with your hand or foot. Do not touch objects or the floor with the saw running. Danger of kickback.
- Use suitable detectors to determine if utility lines are hidden in the work area or call the local utility company for assistance. Contact with electric lines can lead to fire and electric shock. Damaging a gas line can lead to explosion. Penetrating a water line causes property damage or may cause an electric shock.
- When working with the machine, always hold it firmly with both hands and provide for a secure stance. The power tool is guided more secure with both hands.
Secure the workpiece. A workpiece clamped with clamping devices or in a vice is held more secure than by hand.
Always wait until the machine has come to a complete stop before placing it down. The tool insert can jam and lead to loss of control over the power tool.
Products sold in GB only: Your product is fitted with an BS 1363/A approved electric plug with internal fuse (ASTA approved to BS 1362).
If the plug is not suitable for your socket outlets, it should be cut off and an appropriate plug fitted in its place by an authorised customer service agent. The replacement plug should have the same fuse rating as the original plug.
The severed plug must be disposed of to avoid a possible shock hazard and should never be inserted into a mains socket elsewhere.
Products sold in AUS and NZ only: Use a residual current device (RCD) with a rated residual current of 30mA or less.
Product Description and Specifications

Read all safety warnings and all instructions. Failure to follow the warnings and instructions may result in electric shock, fire and/or serious injury.
Intended Use
The machine is intended for sawing wood, plastic, metal and building materials while resting firmly on the workpiece. It is suitable for straight and curved cuts. When using the appropriate bimetal saw blades, it is possible to cut flush to the workpiece surface. The saw blade recommendations must be observed.
Product Features
The numbering of the product features refers to the illustration of the machine on the graphics page.
1 Saw blade*
2 Base plate
3 Saw blade holder
4 Stroke rod
5 SDS clamping lever for saw blade release
6 On/Off switch
7 Handle (insulated gripping surface)
8 Clamping plate
*Accessories shown or described are not part of the standard delivery scope of the product. A complete overview of accessories can be found in our accessories program.
Technical Data
| Sabre saw | PSA 900 E | |
| Article number | 3603 CA6 0.. | |
| Rated power input | W | 900 |
| Stroke rate at no load n0 | min-1 | 0 - 2700 |
| Tool holder | SDS | |
| Stroke rate control | ● | |
| Stroke | mm | 28 |
| Cutting depth, max. | ||
| - in wood | mm | 200 |
| - in non-alloy steel | mm | 20 |
| - Pipe diameter | mm | 150 |
| Weight according to EPTA-Procedure 01/2003 | kg | 3.5 |
| Protection class | ☐/II | |
| The values given are valid for a nominal voltage [U] of 230 V. For differ-ent voltages and models for specific countries, these values can vary. | ||
Noise/Vibration Information
Measured sound values determined according to EN 60745. Typically the A-weighted noise levels of the product are: Sound pressure level 90 dB(A); Sound power level 101 dB(A). Uncertainty K = 3 dB.
Wear hearing protection!
Vibration total values a_h (triax vector sum) and uncertainty K determined according to EN 60745:
Cutting board: a_h = 20 m/s^2 , K = 1.5 m/s^2 .
Cutting wooden beam: a_h = 32 m/s^2 , K = 1.5 m/s^2 .
The vibration emission level given in this information sheet has been measured in accordance with a standardised test given in EN 60745 and may be used to compare one tool with another. It may be used for a preliminary assessment of exposure.
The declared vibration emission level represents the main applications of the tool. However if the tool is used for different applications, with different accessories or poorly maintained, the vibration emission may differ. This may significantly increase the exposure level over the total working period.
An estimation of the level of exposure to vibration should also take into account the times when the tool is switched off or when it is running but not actually doing the job. This may significantly reduce the exposure level over the total working period.
Identify additional safety measures to protect the operator from the effects of vibration such as: maintain the tool and the accessories, keep hands warm, organise work patterns.
Declaration of Conformity

We declare under our sole responsibility that the product described under "Technical Data" is in conformity with the following standards or standardization documents: EN 60745 according to the provisions of the directives 2011/65/EU, 2004/108/EC, 2006/42/EC.
Technical file (2006/42/EC) at:
Robert Bosch GmbH, PT/ETM9.
D-70745 Leinfelden-Echterdingen
12 | English
Dr. Egbert Schneider
Senior Vice President
Engineering
Helmut Heinzelmann
Head of Product Certification
PT/ETM9


Robert Bosch GmbH, Power Tools Division
D-70745 Leinfelden-Echterdingen
27.03.2012
Assembly
Replacing/Inserting the Saw Blade
Before any work on the machine itself, pull the mains plug.
- When mounting the saw blade, wear protective gloves. Danger of injury when touching the saw blade.
- When changing the saw blade, take care that the saw blade holder is free of material residue, e. g. wood or metal shavings.
Selecting a Saw Blade
An overview of recommended saw blades can be found at the end of these instructions. Use only 12 universal shank saw blades. The saw blade should not be longer than required for the intended cut.
The shank thickness of the saw blade must be 0.8 - 1.6mm
Use a thin saw blade for narrow curve cuts.
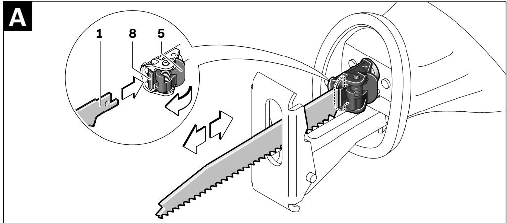
Inserting the Saw Blade (see figure A)
Press the SDS clamping lever 5 forward and guide the saw blade 1 behind the clamping plate 8 into the saw blade holder
- Release the SDS clamping lever 5.
Check the tight seating by pulling on the saw blade. A loose saw blade can fall out and cause injury.
For certain work, the saw blade 1 can also be turned through 180^ (with the teeth pointed upwards) and re-inserted again.
Removing the Saw Blade
Before removing, allow the saw blade to cool down.
Danger of injury when touching the hot saw blade.
Press the SDS clamping lever 5 forward and pull out the saw blade 1. Release the SDS clamping lever 5.
Dust/Chip Extraction
Dusts from materials such as lead-containing coatings, some wood types, minerals and metal can be harmful to one's health. Touching or breathing-in the dusts can cause allergic reactions and/or lead to respiratory infections of the user or bystanders.
Certain dusts, such as oak or beech dust, are considered as carcinogenic, especially in connection with wood-treatment additives (chromate, wood preservative). Materials containing asbestos may only be worked by specialists.
- Provide for good ventilation of the working place.
- It is recommended to wear a P2 filter-class respirator. Observe the relevant regulations in your country for the materials to be worked.
Prevent dust accumulation at the workplace. Dusts can easily ignite.
Operation
Operating Modes
Before any work on the machine itself, pull the mains plug.
Pivoting Footplate (see figure B)
Due to its movability, the adjustable footplate 2 adapts to the required angular position of the surface.
Starting Operation
Observe correct mains voltage! The voltage of the power source must agree with the voltage specified on the nameplate of the machine. Power tools marked with 230V can also be operated with 220V .
Switching On and Off
To start the machine, press the On/Off switch 6 and keep it pressed.
To switch off the machine, release the On/Off switch 6.
Note: For safety reasons, the On/Off switch 6 cannot be locked; it must remain pressed during the entire operation.
When not using the power tool, switch it off in order to save energy.
Controlling the Stroke Rate
Increasing or reducing the pressure on the On/Off switch 6 enables stepless stroke-rate control of the switched-on machine.
Light pressure on the On/Off switch 6 results in a low stroke rate. Increasing the pressure also increases the stroke rate.
The required stroke rate is dependent on the material and the working conditions and can be determined by a practical trial. Reducing the stroke rate is recommended when the saw blade engages in the material as well as when sawing plastic and aluminium.
After longer periods of work at low stroke rate, the machine can heat up considerably. Allow the machine to cool down by running it for approx. 3 minutes at maximum stroke rate.
Working Advice
Tips
- When sawing light building materials, observe the statutory provisions and the recommendations of the material suppliers.
Check wood, press boards, building materials, etc. for foreign objects such as nails, screws or similar, and always use the correct sawblade.
Switch the machine on and guide it toward the workpiece.
Position the footplate 2 onto the surface of the work and saw through the material applying uniform contact pressure and feed. After completing the working procedure, switch the machine off.
If the saw blade should jam, switch the machine off immediately. Widen the gap somewhat with a suitable tool and pull out the machine.
sh|13
Plunge Cutting (see figures C-D)
The plunge cutting procedure is only suitable for treating soft materials such as wood, plaster board or similar! Do not work metal materials with the plunge cutting procedure!
Use only short saw blades for plunge cutting.
Place the machine with the edge of the footplate 2 onto the workpiece and switch on. For power tools with stroke speed control, set the maximum stroke speed. Press the power tool firmly against the workpiece and allow the saw blade to slowly plunge into the workpiece.
As soon as the footplate 2 fully lays on the surface of the workpiece, continue sawing alongside the desired cutting line.
For certain work, the saw blade 1 can also be inserted turned through by 180^ and the sabre saw can be guided accordingly in a reversed manner.
Flush Cuts (see figure E)
Using elastic bimetal saw blades, items still attached to a wall (e. g. projecting building elements such as water pipes, etc.) can be sawn off flush at the wall.
Pay attention that the saw blade always extends beyond the diameter of the material being worked. There is danger of kickback.
Position the saw blade directly against the wall and apply some lateral pressure via the tool until the footplate faces against the wall. Switch the power tool on and saw through the workpiece, applying constant lateral pressure.
Coolant/Lubricant
When sawing metal, coolant/lubricant should be applied alongside cutting line because of the material heating up.
Maintenance and Service
Maintenance and Cleaning
Before any work on the machine itself, pull the mains plug.
For safe and proper working, always keep the machine and ventilation slots clean.
Clean the saw blade holder preferably with compressed air or a soft brush. Remove the saw blade from the power tool for this. Ensure proper operation of the saw blade holder by applying a suitable lubricant.
Heavy contamination of the machine can lead to malfunctions. Therefore, do not saw materials that produce a lot of dust from below or overhead.
If the replacement of the supply cord is necessary, this has to be done by Bosch or an authorized Bosch service agent in order to avoid a safety hazard.
If the machine should fail despite the care taken in manufacturing and testing procedures, repair should be carried out by an after-sales service centre for Bosch power tools.
In all correspondence and spare parts order, please always include the 10-digit article number given on the type plate of the machine.
After-sales Service and Customer Assistance
Our after-sales service responds to your questions concerning maintenance and repair of your product as well as spare parts. Exploded views and information on spare parts can also be found under:
www.bosch-pt.com
Our customer service representatives can answer your questions concerning possible applications and adjustment of products and accessories.
Great Britain
Robert Bosch Ltd. (B.S.C.)
P.O.Box 98
Broadwater Park
North Orbital Road
Denham
Uxbridge
UB95HJ
Tel. Service: +44 (0844) 736 0109
Fax: +44 (0844) 736 0146
E-Mail: boschservicecentre@bosch.com
Ireland
Origo Ltd.
Unit 23 Magna Drive
Magna Business Park
City West
Dublin 24
Tel. Service: +353 (01) 466 67 00
Fax: +353 (01) 4666888
Australia, New Zealand and Pacific Islands
Robert Bosch Australia Pty. Ltd.
Power Tools
Locked Bag 66
Clayton South VIC 3169
Customer Contact Center
Inside Australia:
Phone: +61 (01300) 307 044
Fax: +61 (01300) 307 045
Inside New Zealand
Phone: +64 (0800) 543 353
Fax: +64 (0800) 428570
Outside AU and NZ:
Phone: +61 (03) 9541 5555
www.bosch.com.au
Republic of South Africa
Customer service
Hotline: +27 (011) 6519600
Gauteng - BSC Service Centre
35 Roper Street, New Centre
Johannesburg
Tel.: +27 (011) 493 93 75
Fax: +27 (011) 4930126
E-Mail: bsctools@icon.co.za
14|Français
KZN - BSC Service Centre
Unit E, Almar Centre
143 Crompton Street
Pinetown
Tel.: +27 (031) 7012120
Fax: +27 (031) 7012446
E-Mail: bsc.dur@za.bosch.com
Western Cape - BSC Service Centre
Democracy Way, Prosperity Park
Milnerton
Tel.: +27 (021) 5512577
Fax: +27 (021) 5513223
E-Mail: bsc@zsd.co.za
Bosch Headquarters
Midrand, Gauteng
Tel.: +27 (011) 6519600
Fax: +27 (011) 6519880
E-Mail: rbsa-hq.pts@za.bosch.com
Disposal
The machine, accessories and packaging should be sorted for environmental-friendly recycling.
Do not dispose of power tools into household waste!
Only for EC countries:

According the European Guideline 2002/96/EC for Waste Electrical and Electronic Equipment and its implementation into national right, power tools that are no longer usable must be collected separately and disposed of in an environmentally correct manner.
Subject to change without notice.
François
Senior Vice President Engineering
Head of Product Certification PT/ETM9

i.v. h : w
Robert Bosch GmbH, Power Tools Division D-70745 Leinfelden-Echterdingen
27.03.2012
Français|17
Montage
Robert Bosch (France) S.A.S.
| Sierra sable | PSA 900 E | |
| N° de articulo | 3 603 CA6 0.. | |
| Potencia absorbida nominal | W | 900 |
| N° de carreras en vacio n0 | min-1 | 0 - 2700 |
| Alojamento del útil | SDS | |
| Regulación del n° de carreras | ● | |
| Carrera | mm | 28 |
| Profundidad de corte maxi. | ||
| - en madera | mm | 200 |
| - en acero, sin alear | mm | 20 |
| - tubo de diametro | mm | 150 |
| Peso según EPTA-Procedure | ||
| 01/2003 | kg | 3,5 |
| Clase de protección | □/II | |
| Estos datos son validos para una tension nominal de [U] 230 V. Los va-losoresSEOSEOSEOSEOSEOSEOSEOSEOSEOSEOSEOSEOSEOSEOSEOSEOSEOSEOSEOSEOSEOSEOSEOSEOSEOSEOSEOSEOSEOSEOSEOSEOSEOSEOSEOSEOSEOSEOSEOSEOSEOSEOSEOSEOSEOSEOSEOSEOSEOSEOSEOSEOSEOSEOSEOSEOSEOSEOSEOSEOSEOSEOSEOSEOSEOSEOSEOSEOSEOSEOSEOSEOSEOSEOSEOSEOSEOSEOSEOSEOSEOSEOSEOSEOSEOSEOSEOSEOSEOSEOSEOSEOSEOSEOSEOSEOSEOSEOSEOSEOSEQEOSEOSEOSEOSEOSEOSEOSEOSEOSEOSEOSEOSEOSEOSEOSEOSEOSEOSEOSEOSEOSEOSEOSEOSEOSEOSEOSEOSEOSEOSEOSEOSEOSEOSEOSEOSEOSEOSEOSEOSEOSEOSEOSEOSEOSEOSEOSEOSEOSEOSEOSEOSEOSEOSEOSEOSEOSEOSEOSEOSEOSEOSEOSEOSEOSEOSEOSEOSEOSEOSEOSEOSEOSEOSEOSEOSEOSEOSEOSEOSEOSEOSEOSEOSEOSEOSEOSEOSEOSEOSEOSEOSEOSEOSEOSEOSEOSEOSEOSEO SEOSEOSEOSEOSEOSEOSEOSEOSEOSEOSEOSEOSEOSEOSEOSEOSEOSEOSEOSEOSEOSEOSEOSEOSEOSEOSEOSEOSEOSEOSEOSEOSEOSEOSEOSEOSEOSEOSEOSEOSEOSEOSEOSEOSEOSEOSEOSEOSEOSEOSEOSEOSEOSEOSEOSEOSEOSEOSEOSEOSEOSEOSEOSEOSEOSEOSEOSEOSEOSEOSEOSEOSEOSEOSEOSEOSEOSEOSEOSEOSEOSEOSEOSEOSEOSEOSEOSEOSEOSEOSEOSEOSEOSEOSEOSEOSEOSEOSEOSEOseoSEOSEOSEOSEOSEOSEOSEOSEOSEOSEOSEOSEOSEOSEOSEOSEOSEOSEOSEOSEOSEOSEOSEOSEOSEOSEOSEOSEOSEOSEOSEOSEOSEOSEOSEOSEOSEOSEOSEOSEOSEOSEOSEOSEOSEOSEOSEOSEOSEOSEOSEOSEOSEOSEOSEOSEOSEOSEOSEOSEOSEOSEOSEOSEOSEOSEOSEOSEOSEOSEOSEOSEOSEOSEOSEOSEOSEOSEOSEOSEOSEOSEOSEOSEOSEOSEOSEOSEOSEOSEOSEOSEOSEOSEOSEOSEOSEOSEOSEOEOSEOSEOSEOSEOSEOSEOSEOSEOSEOSEOSEOSEOSEOSEOSEOSEOSEOSEOSEOSEOSEOSEOSEOSEOSEOSEOSEOSEOSEOSEOSEOSEOSEOSEOSEOSEOSEOSEOSEOSEOSEOSEOSEOSEOSEOSEOSEOSEOSEOSEOSEOSEOSEOSEOSEOSEOSEOSEOSEOSEOSEOSEOSEOSEOSEOSEOSEOSEOSEOSEOSEOSEOSEOSEOSEOSEOSEOSEOSEOSEOSEOSEOSEOSEOSEOSEOSEOSEOSEOSEOSEOSEOSEOSEOSEOSEOSEOSEO SEO SEOSEOSEOSEOSEOSEOSEOSEOSEOSEOSEOSEOSEOSEOSEOSEOSEOSEOSEOSEOSEOSEOSEOSEOSEOSEOSEOSEOSEOSEOSEOSEOSEOSEOSEOSEOSEOSEOSEOSEOSEOSEOSEOSEOSEOSEOSEOSEOSEOSEOSEOSEOSEOSEOSEOSEOSEOSEOSEOSEOSEOSEOSEOSEOSEOSEOSEOSEOSEOSEOSEOSEOSEOSEOSEOSEOSEOSEOSEOSEOSEOSEOSEOSEOSEOSEOSEOSEOSEOSEOSEOSEOSEOSEOSEOSEOSEOSEOSEO SEOleo | ||
Senior Vice President Engineering
Head of Product Certification PT/ETM9


Robert Bosch GmbH, Power Tools Division
D-70745 Leinfelden-Echterdingen
27.03.2012
Montaje
Senior Vice President
Engineering
Helmut Heinzelmann
Head of Product Certification
PT/ETM9

i. V. h : ml _____
Robert Bosch GmbH, Power Tools Division
D-70745 Leinfelden-Echterdingen
27.03.2012
Montagem
Senior Vice President
Head of Product Certification
Engineering
PT/ETM9


Robert Bosch GmbH, Power Tools Division
D-70745 Leinfelden-Echterdingen
27.03.2012
Montaggio
Dr. Egbert Schneider Senior Vice President Engineering
Helmut Heinzelmann
Head of Product Certification
PT/ETM9

i. V. h = m_c
Robert Bosch GmbH, Power Tools Division
D-70745 Leinfelden-Echterdingen
27.03.2012
Montage
Zaagblad inzetten of cervangen
Senior Vice President
Head of Product Certification
Engineering
PT/ETM9

Robert Bosch GmbH, Power Tools Division
D-70745 Leinfelden-Echterdingen
27.03.2012
Montering
Bosch Service Center
Telegrafvej 3
2750 Ballerup
TIf. Service Center: +45 (4489) 8855
Fax: +45 (4489) 87 55
E-Mail: vaerktoej@dk.bosch.com
Bortskaffelse
Dr. Egbert Schneider Senior Vice President Engineering
Helmut Heinzelmann
Head of Product Certification
PT/ETM9

Robert Bosch GmbH, Power Tools Division D-70745 Leinfelden-Echterdingen 27.03.2012
Montage
Bosch Service Center
Telegrafvej 3
2750 Ballerup
Danmark
Tel.: +46 (020) 41 44 55
Fax: +46 (011) 187691
Avfallshantering
Senior Vice President
Head of Product Certification
Engineering
PT/ETM9

i. V. h = ml
Robert Bosch GmbH, Power Tools Division
D-70745 Leinfelden-Echterdingen
27.03.2012
Montering
Dr. Egbert Schneider Helmut Heinzelmann Senior Vice President Head of Product Certification Engineering PT/ETM9
PA · PB i.v. k · m _____
Robert Bosch GmbH, Power Tools Division D-70745 Leinfelden-Echterdingen 27.03.2012
Asennus
Senior Vice President
Engineering
Helmut Heinzelmann
Head of Product Certification
PT/ETM9

i. V. h = ml _____
Robert Bosch GmbH, Power Tools Division
D-70745 Leinfelden-Echterdingen
27.03.2012
EuvaipoIoyon
UvapmoIoyon/AvtkaTaOtaon Tnc npiovlaauc
ByaceTo oic ano nTv npia npv ano onoiabnote epyaia otnktpko epyaieio.
OopoeT npootateutikayavta yva va ouvapmooyoet nynpiovoLama.Ytapxei kivduvoTpaumiaou av ayiefeetnynpiovoLama.
Piooexe otav aaaaTe npiovolaeta unofox npiovolaac va mcv civat lepwevn, n. x. ano Pokaviia/ypceia ano luio h metaa.
EmloynTnc npiovoaia
Mia eiokoinyia npoteivoevec npiovolacep bioketai oto teao autw vov oywnxipnC. Na xnpaunoieire mvo npovolacev otEeXoc yeviknc xipnC 12 .H piovola dev 0a npenei va evia maoputepn ano aataeitr ia tvn npoBlenoeyn korn
To naxoc tou steixouc tnc npiovolaac npenei va avexpxetai oE0,8-1,6 mm.
XpouoioeTe Oevc npiovaoaue yia TnKoKn Kaumuawv.
SuvaipooloyonTnpiovolac(βλeTeicovaA)
Pntote to moxAo SDS 5 npoc ta emuoc kai eoyet nnpiovoala a 1, niaw ano tnnv naoka ouapxiNC 8, otyn unoox npiovoalaac 3. Anote euethetao to moxAo SDS 5.
TpaβhTe Tn npiovola yva va βeBaawOeir ot Eeia aopalioi kaA. 'Otav n npiovola eivai xaIapn mnpoei va byeikai va oac tpauiatoei.
Tia Tny ekTeLeon oipouevuv evyaov mnpoeite va yupioeTe Tny npiovolaja 1 enionc kat 180° (Me ta dovtia va deixvou npo Ta naw) kai akolouthetawc va Tny tonoetjote nali.
Apaipoeon nnc pioiovolaauc
ApoTe TnV npioVolama va Kpuooei npv TnV apaupeote. O'Tav ePthetae ae enaep me Tnv kautn npiovola ma nopei va tpaumatiote.
Pntto To oxlo SDS 5 npoc ta unpoc kai apaipote Tny npiovolama 1. Aptote eleuthetao to oxlo SDS 5.
Avappopnon kovnc/pokaviwv
H oKovn ano opiaeva ulka.n. ano molu3bouxcmuoyiec, ano epiaka i6n fukou, ano opukta ulka kai ano metalaa mopei va eivai avbuyieivn. H enapn ie tn akovn n/ka i n tianov nnc mopei va npokalaea alaepyikc avidopoeic n/ka a0theveic twv avanveuotikw ov8ow tou xnpotn n tuxov napeupiokevaw atoumw. Oipiaeva e1n oKovnc, n.x. oKovn ano EulooBaleviadic nxiac 0eewpoovtai avkapivoyova, iiaitepa oe oudeltauao me diapopa aunlnpomegaatika ulka nou xpnaonoiovtai otny katepyaia (evwoei cxpwiuou, elonpoataeutikma). H katepyaia aiaivtoxuv ulkov etinpenetai movo e i6ikakekntidemuva atoa.
Tia va 0eote ktoeouyiaoc to aeepko epyaaleio aipote eueoepo to diakotnON/OFF 6.
YnodcEi:KataTt diapkeia TcIeIoupyiac o diaKoTTnc ON/OFF 6 npenei, yia loyouca aopaaleiac, va mauvaalwetai, aaVa v kpatietai ouvexwc nntmuevoc.
Na anevepyoioite to nAekptko epyaleio otav dev to xpoouoioite. Eto iEoiokovoeite evpeyia.
'Eaeyoc tou apiOou eboiaow
Me auEionn, avriotoia, meiwn tnc nieonc sto diakottn ON/OFF 6 moneite va eleye et (va puthetaae) adiaa aotato tv api0o eioiaouv tou eupikov ou aeitoupyia nektpkou evyaleiou.
Elaappia pieon endvw otio diakottn ON/OFF 6 etippeei xmuI aip0e uBoLIAuW. O ap0uc eBoluau auavetai avaloya me nV auXnontnpieons
O ekataote anapatitntoc apiOc eBolaiouv Eapratai aoTo uIko kai TIC ouVthke cepyaiaac kai npenei va eakpiBwtheta ipe npaktikdokiu.
Zaocouleoume, katoakoumuotaou nAekptikou epyaleiou 10to katepyaia ukoKaWc kaiotavpiovite nlaotika uka nalouivio, vaeuwete tov aipoEboiaowv.
'Otav epyaTe yia noaH npa me kipo apiOo eBolaiouw npoei va zotaTe uinepBoIka to nEeKtpiO epyaIeo. Na apivete to nAeKtpiO epyaIeo va aeitoupeyia 3 aeTn peipoune myto aepio eBoloiuow ia va kpuwei.
YnodeiEicepyaiaC
EuβouAe
Otav katepyaTe eIaaPdi bOmuka ulkau npenei va Tnpeite Tc vomuke diataEic kai Tc ouotaoecTwv Kataoekuaotov TwuUkwv.
Piiv To pioviqa 山 ,popoaoavi6w,doiikwulukkwKTλ. va eXeTe, mTWC auta npiexouv Evaavtkeiueva,π.x. kappia Biede c K a. kalva xnpaonoeite Tnv katalnn npiovolama.
OeTeTo nIektpiO epyaleio oIeIoupyia kai odnyntote 10o KATEpyaia Teayio. AkoumnoTe To nEla2 enavw otynv etupaveia Tou no KATEpyaia Teayxiou Ka npioviote aokwvtac elappiia piean, avaloya, mTPIa npowthon. OeTeTo nIektpiO epyaleio EKTOc LEITOpuyiac MIOIC TELEWOTEN KOHn.
Tnpoue to dikaiomegaaalayov.
Türkce
Güvenlik Talimatu
Senior Vice President
Engineering
Helmut Heinzelmann
Head of Product Certification
PT/ETM9

Robert Bosch GmbH, Power Tools Division
D-70745 Leinfelden-Echterdingen
27.03.2012
62 | Türçç e
Montaj
Testere bicaaginin takilmasi/deigistirlimesi
Bosch San. ve Tic. A.S.
Ahi Evran Cad. No:1 Kat:22
Polaris Plaza
80670 Maslak/Istanbul
BoschUzmanEkibi +90 0212)3671888
Isiklar LTD.STI.
Kizilay Cad. No: 16/C Seyhan
Adana
Tel.: 0322 359 97 10
Tel.: 0322 359 13 79
aIyI yI gaiiaI aI ayaiia I Jaiia Jaiia
L 1
yJyJyJyJyJyJyJyJyJyJyJyJyJyJyJyJyJyJy
.
y
1 1
25
1 1
b1 = - b2 = 0 b_2 = 0
aiee aee eae ee eae eae eae eae
.
a 1
Jylll l 1111111111111
juljoljgao
i 1
a
2^n - 1,3 = 1
www.bosch-pt.com
a 1 a
1.
y
b_a = 70 - 50 = 20
a
jaii jaii jaii jaii jaii jaii jaii jaii jaii jaii jaii jaii jaii jaii jaii jaii jaii jaii jaii jaii jaii jaii jaii jaii jaii jaii jaii jaii jaii jaii jaii jaii jaii jaii jali
y
jaoaobajaojaojaojaojaojaojaojaojaojaojao
-
-
-
-
-
-
-
-
-
-
-
-
-
-
-
-
-
-
-
-
-
-
-
- 1.
-
-
-
-
-
-
-
-
-
-
-
-
-
-
-
-
-
-
-
-
-
-
j
aal al g aiee e ae eae aee aeg aeg aeg aeg
· = 1
a. j. 1
J 1 J 1 J 1 J 1 J 1 J 1 J 1 J 1 J 1 J 1 J 1 J 1 J 1 J 1 J 1
y
(D-Cjzssal
aal jaa aal aal aal aal aal aal aal aal aal
a
1
jll jie bai lal ylae ge g
.
juii jai j
Jidll Jz i 10 45 13
L
jbl. jll 1 jai wulp 5SDS
.5 SDS
jlll/lll b
jss jss sss
aLo 1. aLo 1.
1 1
j 1
S SUI = S UIO + S_ OJO
11b 1111111111111111
()
(20
p 100000000000000000000000000000000000000
S ACD = S COD + S BDO - S ADB
P2
1
Jg 1j j Jj j
J
J
(Bi j)
- cibly, jiey iiei ci yjuy jiy jiy jiy jiy jiy jiy jiy jiy jiy jiy jiy jiy jiy jiy jiy jiy jiy jiy jiy jiy jiy jiy jiy jiy jiy jiy jiy jiy jiy jiy jiy jiy jiy jiy jiy jiy jiy jiy jiy jiy jiy jiy jiy
a 6ably jy
J 1
aalalalalalalalalalalalalalalalalalalal
b1
1
- 1obly, lealil cie loe allo
16 16 16 16 16 16 16 16 16 16
-
-
-
-
-
-
-
-
- 10.
-
-
-
-
-
-
-
1 1
an + 1 = 2( an + 1) ( a_n + 2) > 0 ,
a 1111111111111111111111
j 1
y
j 1
10 10
Jooa aoo ooo
Jolal
Jouell
y
Jaua aai jaaai jaaai iaaai jaaai aai ai aai
C∈
j 1
EN60745:
.2006/42/EG .2004/108/EG .2011/65/EU
:2006/42/EG)
Robert Bosch GmbH, PT/ETM9,
D-70745 Leinfelden-Echterdingen
Dr. Egbert Schneider
Helmut Heinzelmann
Senior Vice President
Head of Product Certification
Engineering
PT/ETM9
ppa.
i. V. k · m _____
Robert Bosch GmbH, Power Tools Division
D-70745 Leinfelden-Echterdingen
27.03.2012
1
a a a a a a a a a a a a a a a a a a a a
Cii1jxNll
.EN60745
all 1000
(A_已) 101 a 190
S ACD = S COD + S DCE - S CDE
1
KgLgl(cIaIyLg()aHJyN
:EN60745
t^2 = 1.5 = K.t^2 + 20 = ah : bhz_h( 1 - x) = 0
- 1,5 = K . 1 / p 32 = a_h
y
zjyjxJ 1111111111111111111111111111111111
J 1
aannnnn nnnn
1jI iJ jll jll jll jll jll
ailll lll bbl 1 jlll lal 1 jlll 1 jlll
4.3.1.2.
()
Jaaa aee lae ylly
y
a 1
J 1
.
julil julil julli aol do 2 oolal iou jol jol
ailllally pckll ldd
a a a a a a a a a a a a a a a a a a a a a
.
iis
J 1
y
J 1
.
a aal 1000
Sg 100000000000000000000000000000000000000000
(2)证明: 11! + 2! + 3! + 12! + 3! + 4! + ·s + 1n! + 1! + n + 2 < 11! + 2! + 3!
J 1
.
a
a
- 15.15.15.15.15.15.15.15.15.15.15.15.15.15.15.15.15.15.15.15.15.15.15.15.15.15.15.15.15.15.15.15.15.15.
aIyRklll aol ldo yIe oI Ioo
1281g

()
C
1
.
Jaaai Jaaai
jJy jdy 10g ydsdall ydl 1y d 1y d 1y d
a a a a a a a a a a a a a a a a a a a a a a a a a a a a a

#
aLgSLLsUuIolaeia
1 1 1 1 1 1 1 1 1 1 1 1 1 1 1 1 1 1 1 1 1 1 1 1 1 1 1 1 1 1 1 1
Jaiu Jia 10000000000000000000000000000000000000000000000000000000000000000
Jauuui lae du Jauuui 11 11 11 11 11 11 11 11 11 11 11
y
y jy y. y. y. y. y. y. y. y. y. y. y. y. y. y. y. y. y. y. y. y. y. y. y. y. y. y. y. y. y. y. y. y. y. y. y. y. y. y. y. y. y. y. y. y. y. y. y. y. y. y. y.y 100000000000000000000000000000000000000000000000000000000
a 1 a 1 1 1 1 1 1 1 1 1 1 1 1 1 1 1 1 1 1 1 1 1
a a a a a a a a a a a a a a a a a a a a a a a a a a a a a a a a a a a a a a a a a a a a
Luee Laiy JyJyIuayN HsHauydua CysuL Jaee paoiui 1
Jaaee yuuu JyS uuuu JyEae. yuuu yuuu uuuu Juaee
Jyaee yuuu cuauuuuuuuuuuuuuuuu
a 1
Jolli
Laiy aay yllal alal ay lal yol yol yol o ly 1y 1y 1y 1y 1y 1y 1y 1y 1y 1y 1y 1y 1y 1y 1y 1y 1y 1y 1y 1y 1y 1y 1y 1y 1y 1y 1y 1y 1y



High carbon steel



Bi-Metal



Bi-Metal



Bi-Metal




ManualGo.com