SIESTA 412 - Gasgrill BARBECOOK - Kostenlose Bedienungsanleitung
Finden Sie kostenlos die Bedienungsanleitung des Geräts SIESTA 412 BARBECOOK als PDF.
Laden Sie die Anleitung für Ihr Gasgrill kostenlos im PDF-Format! Finden Sie Ihr Handbuch SIESTA 412 - BARBECOOK und nehmen Sie Ihr elektronisches Gerät wieder in die Hand. Auf dieser Seite sind alle Dokumente veröffentlicht, die für die Verwendung Ihres Geräts notwendig sind. SIESTA 412 von der Marke BARBECOOK.
BEDIENUNGSANLEITUNG SIESTA 412 BARBECOOK
13 Technische gegevens 27
6 HET TOESTEL VAN GAS VOORZIEN
13 TECHNISCHE GEGEVENS
13.1 Typelabel
DE - BEDIENUNGSANLEITUNG
1 Registrieren Ihres Geräts 46
2 Informationen zu dieser Handbuch. 46
3 Wichtige Sicherheitshinweise 46
- Lesen und Befolgen der Anweisungen 46
Vorsicht im Umgang mtt Gas. 46
Wahl eines geeigneten Standorts 46
Wichtige Sicherheitschinweise 46
4 Wiederkehrende Konzepte 46
- Venturirohre. 47
Brennerdeckel. 47 - Emaille 47
- Stichflammen 47
5 Montieren des Gerats 47
- Sicherheitshinweise 47
Montage des Gerats 47
6 Anschlieben van Gas an das Gerät. 47
- Welche Flasche, welcher Schlauch und welches Ventil? 47
- Sicherheitshinweise 48
Anschlieben des Schlauchs an das Gerät 48
Anschlieben des Schlauchs und der Flasche an das Ventil 49
Austauschen der Gasflasche 49
7 Prufen auf Gaslecks 49
Warum sollte auf Gaslecks geprüft werden? 49
Wann sollte auf Gaslecks geprüft werden? 49
- Sicherheitshinweise 49
- Welche Materialien werden benötigt? 49
So prufen Sie auf Gaslecks 49
- Im Fall eines Gaslecks 50
8 Vorbereiten des Gerats für die Verwendung. 50
Vor jeder Verwendung. 50
- Var der ersten Inbetriebnahme (var der erstmaligen Benutzung nach einem längeren Zeitraum) .....50
Einbrennen des Geräts 50
9 Entzünden der Brenner 51
- Sicherheitschinweise 51
Entzünden der Hauptbrenner 51
Entzündes des seitlichen Brenners 51
Ausschalten der Brenner 52
Erneutes Entzünden der Brenner. 52
Prufen der Flammen 52
10 Hilfreiche Tipps und Tricks. 52
Vorheizen des Gerats. 52
Verhindern des Anhaftens van Speisen 52
- Direktes und indirektes Grillen 52
Grillen mtt geschlossen Deckel 53
- Beobachten der Temperatur 53
- Nutzen der Heizzonen. 53
- Vermeiden van Stichflammen 53
11 Pflege des Geräts 53
Reinigen des Grillrosts 53
Reinigen der Schale. 53
Reinigen der Brenner und Venturohre. 53
- Pflegen van Emaille, Edelstahl, Chrom und pulverbesicherteten Teilen 54
Lagern des Gerats 55
Lagern van Gasflaschen 55
Bestellen van Ersatzteilen 55
12 Gewährleistung 55
Abgedeckt 55
- Nicht Abgedeckt 55
13 Technische Daten 55
Typenschild 55
Durch messer der Einsatzdüssen 55
14 Fehlerbehebung 56
1 REGISTRIEREN IHRES GERÄTS
Vielen Dank für den Kauf eines Barbecook-Geräts! Eine neue Welt wartet darauf, von Ihnen entdeckt zu werden – sei es inmitten der ruhigen Natur oder mitten in der Stadt. Werden Sie zum Grillmeister in unserer #Barbecook-Community, damit wir ihre Grillkünste ins rechte Licht rücken können.
Registrieren Sie Ihr Barbecook-Gerät online, um von diesen Vorteilen zu profitieren:
- Sie erhalten Zugriff auf die vollständige Bedienungsanleitung und lernen Ihr Gerät in- und auswendig kennen.
- Sie profitieren von einem persönlichen Service, der Sie damit unterstützt, schnell Ersatzteile und einen optimalen Garantieservice zu erhalten.
- Wie informieren Sie über Produktneuheiten und geben Ihnen Tipps, verraten Tricks und liefern Grillspiration, um den Grillmeisten in Ihnen zu wecken.
Sind Sie bereit für ein Abenteuer? Registrieren Sie Ihr Produkt und werden Sie Teil der #Barbecook-Community!
Weitere Informationen zum Registrieren Ihres Geräts\ finden Sie auf www.barbecook.com.
i
Barbecook respektiert ihre Privatsphäre. Ihr Daten werden weder verkauft noch verteil oder mit Dritten geteilt.
2 INFORMATIONEN ZU DIESEM HANDBUCH
Dieses Handbuch besteht aus zwei Teilen:
- Den ersten Teil lesen Sie gerade. Er enthalt Anweisungen zur Montage, Verwendung und Pflege des Geräts.
- Der zweite Teil beginnnt auf Seite 73. Er umfasst verschiedene Zeichnungen (Explosionsansichten, Montagezeichnungen ... ) der Gerät, die in dieser Handbuch beschrieben sind.
3 WICHTIGE SICHERHEITSHINWEISE
3.1 Lesen und Befolgen der Anweisungen
Lesen Sie die Anweisungen, bevor Sie das Gerät verwenden. Befolgen Sie die Anweisungen stets tatsäch. Abweichende Montage oder Verwendung des Geräts kann zu einem Brand oder zu Materialschäden führen.
A
Schäden aufgrund von Nichtbeachtung der Anweisungen (falsche Montage, unsachgemäß Verwendung, ungeeignete Pflege ...) fallen nicht unter die Gewährleistung.
3.2 Vorsicht im Umgang mit Gas
Die Arbeit mit Gas ist sicher, erfordert jeder eine zusätzliche Vorsichtsmaßnahmen:
Lagern Sie Gasflaschen immer an einem gut belufteten Ort im Freien. Vergewissern Sie sich, dass sie nicht übermäßiger Wärme oder direktem Sonnenlicht ausgesetzt sind.
Lagern Sie die Gasflasche oder Ersatzflaschen nie im Unterschrank Ihr's Geräts.
Lagern Sie Ersatzgasflaschen nie in der Nähe eines verwendeten Gasgeräts.
- Schalten Sie die Gaszufuhr an der Gasflasche nach jeder Verwendung ab.
- Rauchen Sie nie in der Höhe eines Gasgeräts oder in der Höhe von Gasflaschen (voll/leer).

Wenn Sie Gas riechen, schlieben Sie die Gaszufuhr umgehend, löschen Sie alle Flammen und öffnen Sie den Deckel des Geräts. Falls der Geruch anhalt, wenden Sie sich an ihren Gaslieferanten oder die Feuerwehr.
3.3 Wahl eines geeigneten Standorts
Das Gerätarf nur im Freien verwendet werden. Die Verwendung in Räumen, auch in einer Garage oder Hütte, kann zur Kohlenmonoxidvergifting führen.
Beachten Sie bei der Wahl eines Standorts im Freien Folgenden:
- Stellen Sie das Gerät in mindestens drei Meter Entfemung von Gebäuden an einem offen und gut belufteten Ort auf.
- Vergewissern Sie sich, dass die Luft jederzeit ungehindert zu den Brennem und durch die Luftlöcher im Unterschrank strömen kann.
- Vergewissern Sie sich, dass das Gerät nicht unter einem Überhang (z. B. Balkon oder Schutzdach) oder unter einem Baum stehen.
- Stellen Sie das Gerät auf eine gerade und stabile Fläche. Stellen Sie es unter keinen Umständen auf ein sich bewegendes Fahrzeug (z. B. Boot oder Anhänger).
3.4 Wichtige sicherheitshinweise
Nur im Freien verwenden
- Lesen Sie die Bedienungsanleitung vor Inbetriebnahme des Gerätes
Das Gerät während des Betriebes nicht bewegen
- Lassen Sie das Gerät während der Verwendung nicht unbeaufsichtigt, insbesondere wenn Kinder und Tiere anwesend sind.
- ACHTUNG: Zugängliche Teile können sehr hei sein. Kinder fernhalten
- Verwenden Sie einen geeigneten Schutz, wenn Sie mit heiBen Teilen (Deckel, Grillrost...) arbeiten.
Das Gerät muss während des Betriebs von brennbaren Materialien ferngehalten werden
- Verwenden Sie kein Holz, keine Holzkohle, keine Lavasteine oder Keramikbriketts im Gaserät.
- Verwenden Sie das Gerät nicht, wenn Sie Alkohol getrunken oder Drogen zu sich genommen haben.
Nach Gebrauch das SchlieBventil der Gasflasche schlieBen
Das Gerät nicht verändern!
4 WIEDERKEHRENDE KONZEPTE
Dieser Teil umfasst Definitionen einiger wenigerbekannt Konzepte. Diese Konzepte werden in verschiedene Themen dieseres Handbuchs verwendet.
4.1 Venturirohre
Die Venturirohre sind keine Schläuche, die an den Eingängen der Brenner befestigt sind. Seitlich an den Venturirohren befindet sich ein Loch, das an den Hauptbrennem und am seitlichen Brenner sightbar ist:

Auf dem Weg zu den Brennem wird das Gas durch die Venturirohre geleitet. Über die Seitenlichen Löscher wird das Gas mit Luft und somit mit Sauerstoff gemischt. Das ist für eine problemlose Zündung der Brenner erforderlich: nur das korrekte Gemisch aus Gas und Sauerstoff ermöglich eine richtige Zündung und Flammenbildung.
4.2 Brennerdeckel
Bei den Brennerdeckeln handelt es sich um Abdeckungen, die Sie über den Brennem Ihres Geräts montieren. Sie schützen die Brenner vor herabtropfendem Fett. Die seitlichen Öffnungenden Deckel verteilen die Wärme über den Grill, sodass eine schnellere und gleichmäßige Erwärung gewährleistet wird.
4.3 Emaille
Einige Teile des Geräts sind mit geschmolzenem Glas, so genannten Emaille überzogen. Diese Emaille schützt das darunterliegende Material vor Korrosion. Emaille ist ein hochwertiges Material: Es rostet nicht, halt hohen Temperaten stand und ist kein zu pflegen.

Da die Emaille weniger flexibel ist als das davon umgebene Metall, kann die Emaille abblättem, wenn Sie das Gerät unsachgemäß handhaben. Um derartige Probleme zu vermeiden, sollen den Sie bei der Montage emaillierter Teile vorsichtig vorgehen und darauf auf achten, dass die Emaille erhalten bleibt. Beachten Sie dazu die Beschreibungen in dieser Handbuch.
4.4 Stichflammen
Stichflammen sind beim Grillen plötzlich auftretende Flammen.
These entstehen, wenn Fett oder Marinade heruntertropfen.
5.1 Sicherheitshinweise
- Ändem Sie das Gerät beim Zusammenbau nicht. Es ist überaus gefährlich und untersagt, Teile, die vom Hersteller vormontiert und/oder versiegelt wurden, zu ändem.
Befolgen Sie die Montageanweisungen stets tatsäch. - Der Benutzer ist für die korrekte Montage des Geräts verantwortlich. Schäden, die durch falsche Montage verursacht werden, fallen nicht unter die Gewährleistung.
Sie benötigen einen Kreuzschlitzschraubendreher, einen Flachkopfschraubendreher und eine AA-Batterie (elektrischer Zünder). Im Lieferumfang des Geräts sind keine Batterien enthalten.
- Stellen Sie das Gerät auf eine gerade und saubere Fläche.
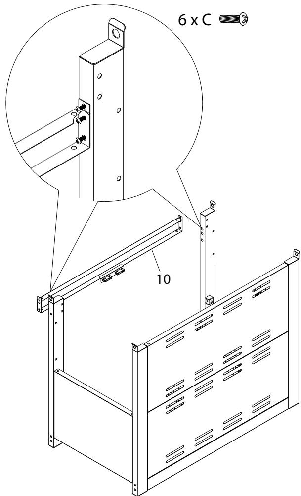
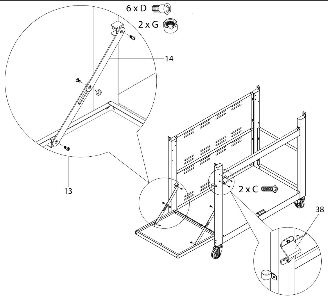
- Bauen Sie das Gerät wie auf den Montagezeichnungen gezeigt zusammen. Sie finden sie im zweiten Teil dieser Handbuch, hinter den Explosionsansichten Ihres Geräts.

Gehen Sie bei der Montage der emailierten Teile besonderss sorgfältig vor. Die Werkzeuge und Schrauben küssen die Emaille beschädigen. Verwenden Sie die mitgelieferten Unterlegscheiben, um die Emaille um die Schrauben herum zu schützen.

Die Blisterpackungen können mehr Schrauben als nötig enthalten. Nach der Montage können Schrauben übrig sein.

Die Verpackung enthalt ein Notfallkit mit Ersatzteilen (Schrauben, Muttem, Unterlegscheiben ...). These konnen verwendet werden, falls Teile verloren gehen oder beschädigt werden.
6 ANSCHLIEBEN VON GAS AN DAS GERÄT
6.1 Welche Flasche, welcher Schlauch und welches Ventil?
Bevor Sie das Gerät mit Gas versorgen konnen, müssen Sie eine Gasflasche, einen Schlauch und ein Druckminderventil kaufen. Die nachfolgende Tabelle zeigt, welche Flasche, welcher Schlauch und welches Ventil verwendet werden müssen. In Belgien (BE) müssen Sie beispielsweise eine Propangasflasche mit einem Schlauch und einem Ventil für 37 mbar oder eine Butangasflasche mit einem Schlauch und Ventil für 28-30 mbar verwenden.
| Land | Flasche, Schlauch und Ventil |
| DK, GR, NO, SE, EE, LT, LV, CZ, PL, MT, HU, SI, SK, NL | Propangas, 30 mbar/ Butangas, 30 mbar |
| ES, GB,, IE, PT, BE, FR, LU, IT, CY | Propangas, 37 mbar/ Butangas, 28 - 30 mbar |

Das Gerät ist für den Betrieb mit Butan/Propan-Flaschen (inhalt zwischen 4,5 und 15 kg) mit geeignetem Druckminderer eingestellt. Wir empfehlen die Verwendung von Propangas. Propangas ermöglich eine hochwertige Verbrennung und ist weniger anfällig für Frost. Die Höhe H des Tanks darf 58 cm nicht überschreiben, ungeachtet der Breite bzw. des Durchmessers D des Tanks.

Kaufen Sie das Druckminderventil und die Gasflasche zusammen. Nicht alle Ventile passen auf alle Flaschen.

Verwenden Sie nur einen Gasschlauch und ein Druckminderventil, der für das bestimmte Land genehmigt ist.
6.2 Sicherheitshinweise
Schlieben Sie die Flasche nie direkt an das Gerät an. Montieren Sie zunachst ein Druckminderventil an der Flasche.
- Ändern Sie die vormontierten oder versiegeiten Teile an der Flasche, am Schlauch oder am Druckminderventil unter keinen Umständen.
- Halten Sie den Schlauch so kurz wie möglich (maximal 1,5 m), um zu verhindem, dass er auf dem Boden schleift.
- Den Schlauch nicht verbiegen. Nicht am Schlauchziehen undihn nicht verdrehen.Von Teilen entfemthalten, die heiwerden konnen. Prufen, ob derSchlauch normal verlauft, ohne Drall oder Zug.
- Zu ersetzen bei Beschädigungen, rissen, wenn es die Vorschriften des Landes verlangen oder je nach seiner Lebensdauern (Z.b. Frankreich).
Den Schlauch nicht verbiegen.
Die Flasche stets aufrecht halten.
Die Gaszufuhr nicht öffnen.
- Wenn Veränderungen am Gasanschluss vorgenommen wurden, stets auf Lecks prüfen. Siehe "7 Prüfen auf Gaslecks".
6.3 Anschlieben des Schlauchs an das Gerät
Frankreich:
Das Gerät kann mit 2 Arten von Schläuchen benutzt werden:
Schlauch zum Aufstecken auf Schlauchanschlüsse am Gerät und am Druckminderer, befestigt mit Schellen (nach Norm XP D 36-110). Empfohlene Länge 1,25 m
Schlauch (nach Norm XP D 36-112) mit Gewindemutter G 1/2 zum Aufschrauben auf das Gerät und Gewindemutter M 20x1,5 zum Aufschrauben auf den Druckminderer, empfohlene Länge 1,25 m.
Andere Länder:
Das Gerät muss mit einem Schlauch verwendet werden, der für den Einsatz von Butan und Propan geeignet ist. Diese darf nicht länger als 1,50 m sein.
Um den Gasschlauch an das Gerät anzuschlieBen,,müssen Sie einen Anschluss am Gasschlauch des Geräts anbringen. Im Lieferumfang des Geräts sind zwei Anschlüsse für bestimmte Länder enthalten:
| Land | Anschluss |
| BE, CH, CZ, DK, ES, FI, GB, IE, IT, PT, SI | Anschluss A |
| FR | Anschluss B |

Wenn Ihr Land nicht in der Tabelle aufgeführ ist, verwenden Sie den Anschluss, der den nationalen Standards entspricht.

6.3.1 ANSCHLUSS A
Sie benötigen einen 19-mm-Schraubenschlüssel und einen Kreuzschlitzschaubendreher.
- Schrauben Sie den Anschluss auf den Gasschlauch des Geräts (A) undziehen Sie ihn mit einem 19-mm-SchraubenschlOssel (B) test.


- Schieben Sie den Schlauch Ober den Anschluss (C) undziehen Sie den Klemmring mit einem Kreuzschlitzschraubendreher (D) fest.


6.3.2 ANSCHLUSS B
Siebenotigen einen 22-mm-Schraubenschlussel und einen Universalschraubenschlussel.
- Schrauben Sie den Anschluss auf den Gasschlauch des Geräts (A) undziehen Sie ihn mit einem 22-mm-SchraubenschlOssel (B) fest.


- Schrauben Sie den Gasschlauch auf den Anschluss (C) undziehen Sie ihn mit zwei Schraubenschlüsseln fest.Halten Sie den Anschluss mit einem 22-mm-Schraubenschluss und drehen Sie den Schlauch mit einem Universalschaubenschluss (D) fest.


6.4 Anschlieben des Schlauchs und der Flasche an das Ventil
Je nach Typ des verwendeten Druckminderventils benötigen Sie einen Kreuzschlitzschraubendreher und/oder einen Universalschausbenschlüssel.
-
Schlieben Sie den Schlauch an das Druckminderventil an. Führn Sie eine der folgenden Aufgaben durch:
-
Wenn der Schlauch einen Klemmring hat, schieben Sie den Schlauch über das Ventil undziehen Sie den Klemmring mit einem Kreuzschlitzschraubendreher fest (A).
- Wenn der Schlauch eine Mutter hat, schrauben Sie den Schlauch auf das Ventil undziehen Sie die Mutter mit einem Universalschaubenschlüssel fest (B).


-
Schließen Sie das Druckminderventil an die Gasflasche an. Führren Sie eine der folgenden Aufgaben durch:
-
Wenn das Ventil eine Mutter hat, schrauben Sie das Ventil im Uhrzeigersinn auf die Flasche undziehen Sie die Mutter mit einem Universalschraubenschlüssel fest (B).
- Wenn das Ventil ein Schraubengewinde hat, schrauben Sie das Ventil gegen den Uhrzeigersinn auf die Flasche (D).



Nur Druckminderventile entsprechend EN 16129 verwenden.
6.5 Austauschen der Gasflasche
- SchlieBen Sie die Gaszufuhr und stellen Sie alle Regler auf OFF.
- Trennen Sie die leere Flasche und schlieben Sie die volle Flasche an.
- Prufen Sie die Flasche, den Schlauch und alle Gasanschlüsse auf Lecks. Siehe "7 Prufen auf Gaslecks".

Achtung, der Wechsel des Gaszylinders sollte immer von Zündquellen entferntstattfinden.
7 PRÜFEN AUF GASLECKS
7.1 Warum sollte auf Gaslecks geprüft werden?
Propan und Butan sind schwerer als Luft. Daher werden Sie nicht vom Gerat weggetragen. Insbesondere an windstillen Tagen kann ein Leck dazu führen, dass sich Gas im Gerat und darum herum ansammelt. Dieses agensammelte Gas kann sich entzünden und explodieren.
7.2 Wann sollte auf Gaslecks geprüft werden?
- Vor der ersten Inbetriebnahme oder vor der erstmaligen Benutzung nach einem längeren Zeitraum.
Prufen Sie auch auf Gaslecks, wenn das Gerat von ihrer Handlcr montiert wurde. - Immer dann, wenn eine Gaskomponente ausgetauscht wurde.
- Mindestens einmal pro Jahr, vorzugsweise zu Beginn der Grillsaison.
7.3 Sicherheitshinweise
- Stellen Sie das Gerat im Freien an einem gut belufteten Ort auf. Vergewissern Sie sich, dass es in der Höhe des Gerats keine Flammen oder Wärmequellen gibt.
- Verwenden Sie unter keinen Umständen ein Feuerzeug oder ein Streichholz, um auf Gaslecks zu prüfen.
- Rauchen Sie nicht und zünden Sie die Brenner nicht an, wenn Sie auf Gaslecks prufen.
7.4 Welche Materialien werden benötigt?
Um auf Gaslecks zu prüfen, wird folgenden benötigt:
- Eine Testflüssigkeit. Sie können ein gebrauchsfertiges Leckspray oder eine Mischung aus Wasser (50 %) und Spülmittel (50 %) verwenden.
Das Lecktestwerkzeug, das im Lieferumfang des Gerats enthalten ist. Verwenden Sie es, um die Testflüssigkeit aufzunehmen und auf die Gaskomponenten oder Verbindungen aufzutragen, die geprüft werden sollen.

7.5 So prüfen Sie auf Gaslecks
Zum Prufen auf Gaslecks verwenden Sie eine Testflüssigkeit, die auf alle Gaskomponenten und Verbindungen angewendet wird. Wenn die Blasenbildung an einer speziellen Komponenten oder Verbindung zunimmt, tritt Gas aus:

Gehen Sie folgendermaßen vor, um auf Gaslecks zu prüfen:
- Stellen Sie das Gerat ins Freie.
- Halten Sie das Lecktestwerkzeug und die Testflüssigkeit (Leckspray oder Seifenlauge) bereit.
- Öffnen Sie den Deckel und stellen Sie alle Regler auf OFF
- Öffnen Sie die Gaszufuhr leicht. Drehen Sie das Ventil der Gasflasche nur einmal.
- Ziehen Sie mit dem Lecktestwerkzeug etwas Testflüssigkeit auf und tragen Sie sie auf den Bereich auf, der geprüft werden soli. Folgenden muss geprüft werden:
Die Schweibnähte an der Flasche (A)
Der Schlauch (B)
Die Verbindungen zwischen Flasche und Druckminderventil und zwischen Druckminderventil und Schlauch (C)
Die Verbindung zwischen dem Schlauch und dem Gerat (D)





Das Druckminderventil Ihres Gerats und die Anschlüsse können von den dargestellen abweichen.
-
Führn Sie eine der folgenden Aufgaben durch:
-
Wenn Sie ein Leck erkennen, fahren Sie wie unter" Im Fall eines Gaslecks" beschreiben fort.
- Wenn keine Lecks vorhanden sind, schlieben Sie die Gaszufuhr, spulen Sie alle Komponenten gründlich mit Wasser und trocknen Sie sie gut.
7.6 Im Fall eines Gaslecks
-
Schlieben Sie die Gaszufuhr und gehen Sie folgendermaßen vor:
-
Wenn Sie ein Gasleck an einer der Verbindungen entdecken,ziehen Sie diese Verbindung fest.
-
Wenn Sie ein leck an der Flasche oder am Schlauch entdecken, tauschen Sie die Flasche oder den Schlauch aus.
-
Prüfen Sie die Verbindung oder Komponente, bei der das Leck entdeekt wurde, erneut.
- Wenn das Leck nicht beseitigt werden kann, wenden Sie sich an einen Barbecook-Handler. Verwenden Sie das Gerat erst wieder, nachdem das Leck behoben wurde.

Eine Listemit Barbecook-Händlern in Ihrer Nareh finden Sie auf www.barbecook.com.
8 VORBEREITEN DES GERÄTS FÜR DIE VERWENDUNG
8.1 Vor jeder Verwendung
Stellen Sie vor jeder Verwendung des Gerats Folgenden sichere:
- Dass das Gerat an einem geeigneten Ort aufgestellt ist. Siehe "3.3 Wahl eines geeigneten Standorts".
- Dass der Gasschlauch nicht auf dem Boden schleift und nicht mit bereits Flächen oder tropfendem Fett in Berührung kommt kann.
- Dass die Schale sauber ist. Wir empfehlen, die Schale nach jeder Verwendung zu reinigen. Siehe "11.2 Reinigen der Schale".
- Dass die Brenner und Venturirohre nicht von Insektennestern oder Spinnweben blockiert werden. Siehe "11.3 Reinigen der Brenner und Venturirohre".
- Dass die Brenner korrekt montiert sind. Die Venturirohremüssen sich über den Öffnungen der Gasventile befinden.


Wenn Sie sicherstellen wollen, dass die Gasverbindung in Ordnung ist, können Sie Ihr Gerat vor jeder Verwendung auf Gaslecks prüfen. Siehe “7 Prüfen auf Gaslecks”.
8.2 Vor der ersten Inbetriebnahme (vor der erstmaligen Benutzung nach einem längeren Zeitraum)
Wenn Sie das Gerat zum ersten Mal oder nach langer Zeit wieder verwenden, müssen Sie einige zusätzliche Prüfungen durchführren.
- Lesen Sie alle Anweisungen in thisem Handbuch sorgfältig durch (nur vor der ersten Inbetriebnahme).
- Prüfen Sie das Gerat auf Gaslecks. Siehe "7 Prüfen auf Gaslecks".

Prüfen Sie auch auf Gaslecks, wenn das Gerat von ihrer Handlert montiert wurde.
- Reinigen Sie die Brenner und Venturohre (nur vor der erstmaligen Benutzung nach einem längeren Zeitraum). Siehe "11.3 Reinigen der Brenner und Venturohre".
- Brennen Sie das Gerat ein, bever Sie Speisen darauf legen (nur vor der ersten Inbetriebnahme). Siehe "8.3 Einbrennen des Gerats".
8.3 Einbrennen des Geräts
Durch das Einbrennen des Gerats vor der ersten Verwendung entfern den Sie Fette, die durch die Fertigung am Gerat verblieben sind. Gehen Sie folgendermaßen vor:
- Entzünden Sie die Hauptbrenner und stellen Sie die Regler auf HIGH. Siehe "9.2 Entzünden der Hauptbrenner".
- Schlieben Sie den Deckel und halten Sie das Gerat 15 Minuten lang brennen. Legen Sie noch keine Speisen auf das Gerat.
- Öffnen Sie nach 15 Minuten den Deckel und halten Sie das Gerat weitere 5 Minuten brennen (wobei die Regler weiterhin auf HIGH stehen).
- Nach 5 Minuten kann das Gerat verwendet werden. jetzt können Sie Speisen auf den Grill legen.
Um die Brenner mit dem elektrischen Zünder entzünden zu konnen, müssen Sie eine M-Batterie in den Zünder einlagen. Diese Batterie ist im Lieferumfang des Gerats nicht enthalten. Sie finden das Batteriefach des Zünders an der Innenseite der Frontblende des rechten Tisches.
9.1 Sicherheitshinweise
- Führn Sie vor dem Entzünden des Gerats alle Überprüfen aus, die in "8 Vorbereiten des Gerats für die Verwendung" aufgeführrt sind.
- Vergewissern Sie sich, dass der Deckel immer geöffnet ist, wenn Sie einen Brenner entzünden.
- Beugen Sie sich nie direkt über einen Brennen, wenn Sieihn entzünden.
9.2 Entzünden der Hauptbrenner
9.2.1 VERWENDEN DES ZündERS
- Öffnen Sie den Deckel und stellen Sie die Regler der Hauptbrenner auf OFF.
- Wenn noch kein anderer Brenner entzündet ist, öffnen Sie die Gaszufahr und warten Sie zehn Sekunden. Dadurch kann sich das Gas stabilisieren.
- Drücken Sie den Regler eines Brenners, stellen Sieihn auf HIGH und halten Sieihn einen Moment gedrückt. Der integrierte Zünder produziert Funken, die den Brenner entzünden.

Zünden Sie zunachst immer einen Hauptbrenner. Zünden Sie nie alle Hauptbrenner gleichzeitig.
- Wenn sich der Brenner nach drei versuchen nicht entzündet, stellen Sie die Regler auf OFF, schlieben Sie die Gaszuführ und warten Sie 5 Minuten. Dadurch kann das angesammelte Gas entweichen.
- Versuchen Sie erneut, den Brenner zu entzünden. Wenn er sich noch immer nicht entzündet, versuchen Sie,ihn mit einem Streichholz zu entzünden. Lesen Sie auch "14 Fehlerbehebung", um die Ursache des Problems zu lokalisieren.
9.2.2 VERWENDENEINES STREICHHOLZES
- Legen Sie ein Streichholz in den Streichholzhalter.

- Öffnen Sie den Deckel und stellen Sie die Regler der Hauptbrenner auf OFF.
- Wenn noch kein anderer Brenner entsetzt ist, öffnen Sie die Gaszufuhr und warten Sie zehn Sekunden. Dadurch kann sich das Gas stabilisieren.
- Entzünden Sie das Streichholz und halten Sie es etwa 13 mm vom Brenner entfemt.

- Stellen Sie den Regler eines Brenners auf HIGH.
Zünden Sie zunachst immer einen Hauptbrenner. Zünden Sie nie alle Hauptbrenner gleichzeitig.
6. Wenn sich der Brenner innerhalb ven 5 Sekunden nicht entzündet, stellen Sie den Regler auf OFF, schlieben Sie die Gaszufuhr und warten Sie 5 Minuten. Dadurch kann das angesammelte Gas entweichen.
7. Versuchen Sie emeut, den Brenner zu entzünden. Wenn er sich noch immer nicht entzündet,lesen Sie "14 Fehlerbehebung", um die Ursache des Problems zu lokalisieren.
8. Nachdem ein Brenner entscheidet ist, zünden Sie die anderen, indem Sie die Regler auf HIGH stellen.
9.3 Entzünden des seitlichen Brenners

Der seitliche Brenner kann nur Kochgeschirr mit einem Gewicht von bis zu 9 kg trag. Der maximale Durchmesser beträgt 220 mm, der minimale Durchmesser 120 mm.
9.3.1 VERWENDEN DES ZündERS
- Öffnen Sie den Deckel und stellen Sie den Regler des seitlichen Brenners auf OFF.
- Wenn noch kein anderer Brenner entzündet ist, öffnen Sie die Gaszufuhr und warten Sie zehn Sekunden. Dadurch kann sich das Gas stabilisieren.
- Drücken Sie den Regler des seitlichen Brenners, stellen Sieihn auf HIGH und halten Sieihn einen Moment gedrückt. Der integrierte Zünder produziert Funken, die den seitlichen Brenner entzünden.
- Wenn sich der Brenner nach drei versuchen nicht entzündet, stellen Sie die Regler auf OFF, schlieben Sie die Gaszufuhr und warten Sie 5 Minuten. Dadurch kann das angesammelte Gas entweichen.
- Versuchen Sie erneut, den beiden im Bereich von den Brenner zu entzünden. Wenn er sich noch immer nicht entzündet, versuchen Sie, indem mit einem Streichholz zu entzünden. Lesen Sie auch "14 Fehlerbehebung", um die Ursache des Problems zu lokalisieren.
9.3.2 VERWENDEN EINES STREIHHOLZES
- Legen Sie ein Streichholz in den Streichholzhalter.
- Öffnen Sie den Deckel und stellen Sie den Regler des seitlichen Brenners auf OFF.
- Wenn noch kein anderer Brenner entsetzt ist, öffnen Sie die Gaszufuhr und warten Sie zehn Sekunden. Dadurch kann sich das Gas stabilisieren.
- Entzünden Sie das Streichholz und halten Sie es etwa 13

- Stellen Sie den Regler des beiden Brenners auf HIGH.
- Wenn sich der seitliche Brenner innerhalb ven 5 Sekunden nicht entzündet, stellen Sie den Regler auf OFF, schlieben Sie die Gaszufuhr und warten Sie 5 Minuten. Dadurch kann das angesammelte Gas entweichen.
- Versuchen Sie ermut, den beiden im Morgen am 1930s entzünden. Wenn er sich noch immer nicht entsetzt, lesen Sie "14 Fehlerbehebung", um die Ursache des Problems zu lokalisieren.
9.4 Ausschalten der Brenner
Wenn Sie die Brenner nicht mehr verwenden, müssen Sie ausgeschaltet werden. Gehen Sie folgendermaßen vor:
- SchlieBen Sie die Gaszufuhr.
- Stellen Sie die Regler der Brenners auf HIGH.
Wenn Sie zuerst die Gaszufuhr schlieBen, stellen Sie sicher, dass im Gerät kein Gas mehr vorhanden ist.
9.5 Erneutes Entzünden der Brenner
Wenn ein Brenner während der Verwendung ausgeht, gehen Sie folgendermaßen vor:
- Öffnen Sie den Deckel und schlieBen Sie die Gaszufuhr.
- Stellen Sie alle Regler auf OFF und warten Sie 5 Minuten Dadurch kann das angesammelte Gas entweichen.
- Zünden Sie den/die Brenner erneut an.
9.6 Prüfendr Flammen
Wenn Sie einen Brenner anzünden, müssen Sie seine Flammen prufen. Eine perfekte Flamme ist fast vollkommen blau, mit einigen gelben Spitzen. Sporadische gelbe Flammen sind normal und nicht schädlich.
Sollte es Probleme mit den Flammen geben, gehen Sie folgendermaßen vor, um das Problem zu losen:
| Wenn die Flammen... | Dann... |
| Niedrig und vollkommen gelb sind | 1. Schließen Sie umgehend die Gaszufuhr und stellen Sie alle Regler auf OFF.2. Siehe “14 Fehlerbehebung”, um die Ursache des Problems zu bestimmen. Wahrscheinlich sind die Venturohre verstoptf. |
| Höher als die Schale sind | 1. Schließen Sie umgehend die Gaszufuhr und stellen Sie alle Regler auf OFF.2. Warten Sie 5 Minuten, damit angesammeltes Gas entweichen kann.3. Züllen Sie den/die Brenner erneut an.4. Wenn das Problem weiterhin besteht, siehe “14 Fehlerbehebung”, um die Ursache des Problems zu bestimmen. |

10 HILFREICHE TIPPS UND TRICKS
10.1 Vorheizen des Geräts
Durch das Vorheizen des Geräts stellen Sie sicher, dass der Grill ausreichend heißt ist, wenn Sie Speisen darauf auf legen. Gehen Sie folgendermaßen vor:
- Entzünden den/die Brenner und stellen Sie den/die Regler auf HIGH.
- SchlieBen Sie den Deckel und halten Sie das Gerät zehn Minuten lang brennen.
- Öffnen Sie den Deckel nach zehn Minuten und legen Sie Speisen auf den Grill.
- Wenn Sie nun weniger Hitze bestehtigen, stellen Sie den/die Regler auf eine niedrigere Position.
10.2 Verhindern des Anhaftens von Speisen
So verhindem Sie, dass Speisen am Grill anhaften:
- Bestreichen Sie die Speisen mithilfe eines Pinsels weniger mit Öl, bevor Sie sie auf den Grill legen. Auch der Grill kann geändt werden.
Heizen Sie das Gerät vor. Je wärmer der Grill ist, wenn Sie die Speisen aufflogen, umso weniger haften sie an. - Drehen Sie die Speisen nicht zu schnell. Warten Sie, bis sie sich erwärmt haben.
10.3 Direktes und indirektes Grillen
Je nach Art der Speisen, die Sie zubereiten, und Zubereitungsweise können Sie entweder direkt oder indirectr grillen:
| Methode | Beschreibung | Verwendung |
| Direkt | Lagen Sie ihre Speisen direkt über einen angezündeten Brenner, stellen Sie eine hohe Brennerposition ein und halten Sie den Deckel geöffnet. | Zum Anbraten von Fleisch und Gemüse |
| Indirekt | Lagen Sie ihre Speiseniben einen angezündeten Brenner, stellen Sie eine mittlere/niedrige Brennerposition ein und schreiben Sie den Deckel. | Zum weiteren Garen von angebratenem Fleish |

Achten Sie beim Grillen mit geschlossenem Deckel stets auf das Thermometer, um sicherzustellen, dass das Gerät nicht zu heißt wird. Siehe "10.5 Beobachten der Temperatur".
10.4 Grillen mit geschlossen Deckel
Das Schlieben des Deckels beim Grillen bietet einige wichtige Vorteile:
Die Temperatur des Grills ist hoher und bleibt konstanter.
- Sie reduzieren die Garzeit der Speisen und sie bleiben saftiger.
- Sie reduzieren Stichflammen und sparen Gas.

Achten Sie beim Grillen mit geschlossenem Deckel stets auf das Thermometer, um sicherzustellen, dass das Gerät nicht zu heißt wird. Siehe "10.5 Beobachten der Temperatur".
10.5 Beobachten der Temperatur
Ihr Gerät ist mit leistungsstarken Brenner ausgestattet. Das heißt, es erwartt sich Schnell und Sie konnen die Temperatur konstant halten. Stellen Sie beim Grillen mit geschlossenem Deckel sicher, dass das Gerät nicht zu heißt wird. Beobachten Sie das Thermometer am Deckel und beachten Sie damit folgende Richtlinien:
Die normale Gartemperatur beträgt etwa 210^ . Bei hohenen Temperaturen können sich tropfendes und angesammeltes Fett entzünden.
Die Temperatur sollte nie länger als fünf Minuten über 300 °C liegen. Andernfalls kann das Gerät beschädigt werden und sich verformen.

Wenn das Gerät zu warm wird, setzen Sie es abkühlen, indem Sie den Deckel öffnen und die Brenner auf eine geringere Position regeln.
10.6 Nutzen der Heizzonen
Wenn alle Brenner entzündet sind, verteilen die Brennerdeckel die Wärme möglichst gleichmäßig über den Grill. Trotz dieser gleichmäßigen Erwärung sind einige Zonen heißer als andere. Diese Heizzonen können Sie nutzen, um ihre Speisen perfekt zu grillen:
| Zone | Heiß? | Verwendung... |
| Vorn | Heiß | Grillen empfindlicher Speisen (Garnelen, Fisch ...) |
| Mitte | Heißer | Zubereiten von Speisen, die eine längerere Garzeit benöttigen (z. B. Würstchen, Hähnchenschenkel...) |
| Hinten | Am heißesten | Anbraten von Fleisch und Gemüse |

Sie können auch Heizzonen erschaffen, indem Sie mit der Leistung der Brenner experimentieren. So können Sie beispielsweise einen Brenner auf eine niedrige Position einstehen und die Zone über dem Brenner für empfindliche Speisen oder Speisen verwenden, die eine langere Garzeit benötigen.
10.7 Vermeiden von Stickflammen
Während des Grillens sind einige Stichflammen normal. Zu weitere Stichflammen erhöhen jedoch die Temperatur im Gerät und können zur Entzündung von angesammeltem Fett führen. So vermeiden Sie Stichflammen:
- Vergewissern Sie sich vor dem Grillen, dass die Schale sauber ist. Wir empfehlen, die Schale nach jeder Verwendung zu reinigen. Siehe "11.2 Reinigen der Schale".
- Überprüfen Sie regelmäßig, dass die Öffnung für ablaufendes Fett nicht verstopft ist und dass der Fettbehälter nicht voll ist.
Entfemen Sie überschüssiges Fett von fettigem Fleisch, schlieBen Sie den Deckel und stellen Sie die Brenner auf eine möglichst niedrige Temperatur ein.
11 PFLEGE DES GERÄTS
11.1 Reinigen des Grillrosts
Wir empfehlen, den Grillrost nach jeder Verwendung mit einem Barbecook cleaner zu reinigen.
Sie können den Grillrost auch mit einem sanften Reinigungsmittel oder mit Natriumkarbonat reinigen. Verwenden Sie unter keinen Umständen Ofenreiniger für den Grillrost.
11.2 Reinigen der Schale
Wir empfehlen, die Schale nach jeder Verwendung mit einem Barbecook cleaner zu reinigen. Verwenden Sieihn wie auf den Grill rosten.
11.3 Reinigen der Brenner und Venturirohre
11.3.1 WARUM MÜSSEN DIE BRENNER UND VENTURIROHRE GEREINIGT WERDEN?
Spinnen und Insekten können Weber und Nester in den Brennem und Venturohren anlagen. Dadurch kann die Gaszufahr zu den Brennern blockiert werden. Dadurch:
- Konnen Sie die Brenner nicht entzünden. Wenn Sie trotzdem entsetzt werden können,produkieren Sie lediglich qualmende und gelbe Flammen.
- Kann sich das Gas außerhalb der Venturirohre entzünden, an den Regiem. Diese Feuer werden als Flammenrückschlag bezeichnet und können zu emsten Verletzungen und Materialschäden führen.


Schäden aufgrund von verstopfen Brennem und Venturirohren werden als unsachgemäß Wartung betrachtet und fallen nicht unter die Gewährleistung.
11.3.2 WANN MÜSSEN DIE BRENNER UND VENTURIROHRE GEREINIGT WERDEN?
Sie mussen die Brenner und Venturohre Ihres Geräts reinigen:
- Vor der erstmaligen Benutzung nach einem längeren Zeitraum.
- Mindestens zweimal pro Jahr, einmal zu Beginn der Grillsaison.
11.3.3 So REINIGEN SIE DIE BRENNER UND VENTURIROHRE
- Entfernen Sie die Brennen wie in den Zeichnungen gezeigt vom Gerät. Wenn Sie bemerken, dass ein Brenner beschädigt ist, müssen Sie ihn austauschen.


- Reinigen Sie die Brenner und Venturirohre mit einer kleinen Bürste oder einem Pfeifenreiniger (auch mit einer gerade gebogenen Buroklammer, einer Pfeifenbürste ...).
- Setzen Sie die Brenner wieder ein. Vergewissern Sie sich, dass sich die Venturohre über den Öffnungen der Gasventile befinden.
11.4 Pflegen von Emaille, Edelstahl, Chrom und pulverbeschichteten Teilen
Das Gerät besteht aus Emaille-, Edelstahl-, Chrom- und pulverbeschiedten Teilen. Jedes dieser Materialien muss unterscheidlich gegflect werden.
| Material | Materialpflege |
| Emaille | Keine scharfkantigen Objekte verwenden und nicht gegen harte Flächen schlagen.Kontakt mit kalten Flüssigkeiten vermeiden, wenn die Fläche noch warm ist.Es konnen Metallkratzer und Scheuermittel verwendet werden. |
| Edelstahl und Chrom | Keine aggressiven, scheuernden oder metallischen Reiniger verwenden.Weiche Reinigungsmittel verwenden, die Verschmutzungen selbstständiglös.Einen weichen Schwamm oder ein weiches Tuch verwenden.Nach der Reinigung gründlich spülen und vor der Lagerung gut trocknen halten. |
| Pulverbeschichtet | Keine scharfkantigen Objekte verwenden. Sanfte Reinigungsmittel und einen weichen Schwamm oder ein weiches Tuch verwenden.Nach der Reinigung gründlich spülen und vor der Lagerung gut trocknen halten. |

Um zu verhindem, dass sich Rost an den Edelstahlteilen bildet, vermeiden Sie den Kontakt mit Chlor, Salz und Eisen. Wir empfehlen, das Gerät nicht in Küstennähe, in der Nähe von Bahngleisen oder Swimmingpools zu verwenden.

Schäden aufgrund von Nichtbeachtung dieser Anweisungen werden als unsachgemäß Be Wartung betrachtet und fallen nicht unter die Gewährleistung.
Unter der Explosionsansicht Ihres Geräts (zweiter Teil des Handbuchs) finds Sie eine Liste mit allen Teilen. Diese Liste verwendet auch Symbole für das Material jeder Teils, sodass Sie hier nachschlagen können, wie ein bestimmtes Teil zu pflegen ist. Folgende Symbole werden in der Teileliste verwendet:
| Symbol | Material |
| ● | Emaille |
| ▲ | Chrom |
| ■ | Edelstahl |
| ★ | Pulverbeschichtet |
11.5 Lagern des Geräts
Wenn Sie das Gerät über einen längeren Zeitraum nicht benutzen, lagern Sie es an einem trockenen Ort. Vor dem L.agem des Geräts:
- Trennen Sie die Gasflaschen. L.agem Sie das Gerät nicht in geschlossenen Räumen (auch nicht in einer Garage oder einem Schuppen), solange die Gasflasche angeschlossen ist.
- Reinigen Sie die Brenner und Grillroste, reiben Sie sie mit Öl ein und wickeln Sie sie in Papier.
- Decken Sie das Gerät mit einer Barbecook-Abdeckung ab. Registrieren Sie Ihr Gerät auf www.barbecook.com, um herauszufinden, welche Abdeckung Sie benötigen.
11.6 Lagern von Gasflaschen
These Anweisungen geiten für leere und volte Flaschen.
Lagern Sie Gasflaschen immer an einem gut belufteten Ort im Freien. Vergewissern Sie sich, dass sie nicht übermäßiger Wärme oder direktem Sonnenlicht ausgesetzt sind.
Lagern Sie Gasflaschen nie an einem Ort, der sehr heißt werden kann (in einem Auto, auf einem Boot...).
Lagern Sie die Gasflasche ader Ersatzflaschen nie im Unterschrank Ihres Geräts.
Lagern Sie Ersatzgasflaschen nie in der Nähe eines verwendeten Gasgeräts.
Lagern Sie Gasflaschen stets außerhalb der Reichweite von Kindern.
Lagern und transportieren Sie Gasflaschen immer aufrecht.
11.7 Bestellen von Ersatzteilen
Teile, die direkt Feuer ader intensiver Hitze ausgesetzt sind, müssen von Zeit zu Zeit ausgetauscht werden. So bestellen Sie ein Ersatzteil:
- Schlagen Sie die Referenznummer des gewünschten Teils nach. Sie finden eine(Liste aller Referenznummem unter den Explosionsansichten im zweiten Teil theses Handbuchs und auf www.barbecook.com.

Wenn Sie Ihr Gerät online registriert haben, werden Sie automatisch auf die korrekte Ersatzteilliste geleitet in IhrmyBarbecook Konto. Sie haben da die Möglichkeit Ersatzteile online zu bestellen.
2. Bestellen Sie das Ersatzteil auf www.barbecook.com oder bei dem Handler. Ersatzteile mit Gewährleistung können Sie nur bei dem Handler bestellen, bei dem Sie Ihr Barbecook Gerät gekauft haben.
12 GEWÄHRLEISTUNG
12.1 Abgedeckt
Ihr Gerät umfasst eine Gewährleistung von zwei Jahren ab Beginn des Kaufdatumss. Diese Gewährleistungdeckt alle Herstellungsfehler ab, vorausgesetzt:
- Sie haben Ihr Gerät entsprechend den Anweisungen in thism Handbuch verwendet, zusammengebaut und gepflegt. Schäden, die durch unsachgemäße Verwendung, falsche Montage oder ungeeignete Pflege entstehen, werden nicht als Herstellungsfehler betrachtet.
-
Sie können den Kaufbeleg und die eindeutige Seriennummer Ihres Geräts verlegen. Diese Seriennummer setzt sich aus dem Buchstaben G und 15 Ziffem zusammen. Sie befindet sich:
-
In dieser Handbuch und im Startpaket, das in dieser Handbuch enthalten ist.
-
Auf der Verpackung des Geräts.
An der Innenseite der Gehäusetür.
Die Qualitätsabteilung von Barbecook pruft, ob die Teile defekt sind und dass sie bei normaler Verwendung, korrekter Montage und geeigneter Pflege beschädigt wurden.
- Wird eine der oben genannten Bedingungen nicht erfüllt, haben Sie keinen Anspruch auf Wiedergutmachung. In allen Fällen ist die Gewährleistung auf die Reparatur ader den Austausch der defekten Teile beschränkt.
12.2 Nicht abgedeckt
Folgende Schäden ader Defekte sind von der Gewährleistung nicht abgedeckt:
- Normale Abnutzung (Rost, Verformung, Verfärbung ...) von Teilen, die Feuer ader intensiver Hitze direkt ausgesetzt sind. Es ist normal, dass diese Teile von Zeit zu Zeit ausgetauscht werden müssen.
- Optische Unregelmäßigkeiten, die auf den Fertigungsprozess zurückzuführen sind. These Unregelmäßigkeiten werden nicht als Herstellungsfehler betrachtet.
Alle Schäden, die durch ungeeignete Pflege, falsche Lagerung, unsachgemäß Montage oder Änderungen an vormontierten Teilen entstehen.
Alle Schäden, die durch unsachgemäß Verwendung des Gerats (nicht entsprechend den Anweisungen in dieser Handbuch, für komerzielle Zwecke ...) verursacht werden.
Alle Folgeschäden aufgrund von Nachländigkeit ader nicht bestimmungsgemäßer Verwendung des Geräts. - Rost ader Verfärbung aufgrund äußerer Einflüsse, durch die Verwendung aggressiver Reinigungsmittel, Kontakt mit Chlor ... Diese Schäden werden nicht als Herstellungseffecter betrachtet.
13 TECHNISCHE DATEN
13.1 Typenschild
Das Typenschild führt alle technischen Daten Ihres Geräts auf. Sie befindet sich:
Im zweiten Teil theses Handbuch.
An der Innenseite der Gehäusetür.
13.2 Durchmesser der Einspritzdüssen
Hauptbrenner: 0.92
Seitlicher Brenner: 0.85
| Problem | Mögliche Ursache(n) | Lösung(en) |
| Nicht ausreichend Wärme | · Gaszufahr nicht geöffnet · Venturohre nicht über den Öffnungen der Gasventile platziert · Brenneröffnungen verstopt! · Gasflasche (tast) leer · Druckminderventil nicht korrekt an die Flasche und/oder den Schlauch angeschlossen | · Gaszufahr öffnen · Venturohre Ober den Öffnungen der Gasventile platzierten · Brenneröffnungen reinigen oder Brenner austauschen · Gasflasche austauschen · Druckminderventil ermut an Flasche und/oder Schlauch anschließen |
| Übermäßig Wärme und/oder Stickflammen | · Speisen zu fettig · Öffnung für ablautendes Fett verstopt!, Fett in Schale und/oder Fett aut Brennem · Temperatur zu hoch | · Überschüssiges Fett abschneiden oder Brenner auf niedrigere Position einstellen · Öffnung für ablautendes Fett, Schale und Brenner reinigen · Brenner auf niedrigere Temperatur einstellen und/oder Speisen direkt grillen |
| Wärme wird nicht gleichmäßig über Grillfläche verteilt | Gewisse Wärmeunterschiede sind normal, siehe "10.6 Nutzen der Heizzonen". Mögliche Ursache(n) für große Wärmeunterschiede: · Gerät nicht vorgeheit | · Gerät vorheiten |
| Gelbe Flammen | · Brenner oder Venturohre verstopt! · Salz auf Brennem · Gerät an Butangasflasche angeschlossen | · Brenner und Venturohre reinigen · Brenner reinigen · Gerät mit einem geeigneten Druckminderventil an Propangasflasche anschließen |
| Unvollständige Flamine | · Brenner verstopt!, gelöchert oder verrostet | · Brenner reinigen oder austauschen |
| Flammenrückschlag (Flammen außerhalb der Venturohre/an Regiem) | · Brenner oder Venturohre verstopt! | · Gaszufahr schlieben und Brenner auf OFF stellen. · Gerät abkühlen setzen. · Brenner und Venturohre reinigen. |
| Flammen/higher als Schalenrand | · Viel Wind · Gasflasche (tast) leer · Fett in Schale und/oder aut Brenner geben | · Gerät mit Rückseite zum Wind aufstellen · Gasflasche austauschen · Schale und Brenner reinigen |
| Druckminderventil summt | · Heiβes Wetter · Neue (volle) Gasflasche | · Keine Getahr und kein Detekt. Soltte nach einer Weile von selbst aufhören. |
| Brenner pfeift, wenn er auf LOW gestellt ist | · Gaseinspritzdüse, Venturohr und/oder Brenner verschutzt | · Gaseinspritzdüse, Venturohr und Brenner reinigen |
| Brenner kann nicht entzündet werden (mit Zünder oder Streichholz) | · Brenner oder Venturohr verstopt! · Keine Gaszutuhr | · Brenner und Venturohr reinigen · Gaszufahr öffnen und Sicherheitsknot an Druckminderventil drücken (nicht bei allen Regiem vorhanden) |
| Brenner kann nicht mit Zünder entzündet werden | · Keine Batterie eingelegt oder Batterie nicht korrekt eingelegt · Mittlerer Brenner wurde nicht als erster entzündet · Zünderkabel nicht korrekt montiert · Elektrode beschäftigt · Falsche Erdung · Fehlerhafter zonder | · Batterie (neu) einlagen, auf richtige Ausrichtung der AnschlOsse achten · Mittleren Brenner zuerst entzünden · Alle ZOnderverbindungen prÖfen und neu montieren · Elektrode austauschen · Elektroden, Brenner und Zünder prüfen und neu montieren · Zünder austauschen |
| Keine Funken und kein Geräusch beim Betätigten des Zünders | · Keine Batterie eingelegt oder Batterie nicht korrekt eingelegt · Batterie leer · Zündknot nicht korrekt montiert · Fehlerhafter Funkenerzeuger | · Batterie (neu) einlagen, auf richtige Ausrichtung der Anschlõsse achten · Batterie austauschen · Zündknap neu montieren · Funkenerzeuger austauschen |
| Beim Betätigten des Zünders nur Ton (keine Funken) | Falsche ErdungBrenner und Elektrode zuweit von einander entfemt | Funkenerzeuger und Elektroden neu anschließenElektrode keinig biegen, um sie)naher an den Brenner zu bringen |
| Funken vorhanden, die nicht von Brennern stammen | Falsche Verkabelung | Verkabelung austauschen |
| Funken vorhanden, aber nicht an allen Elektroden und/oder nicht ausreichend stark | Falsche ErdungBatterie fast leerFeuchte oder beschädigte Elektroden | Funkenerzeuger und Elektroden neu anschließenBatterie austauschenElektroden mit Papiertüchem trocknen oder Elektroden austauschen |
CONECTAR EL GAS AL APARATO
6.1 ÚQUÉ BOMBONA, MANGUERA Y REGULADOR?
9 ACENDER OS BICOS DE GÁS

1 REGISTRERA DIN PRODUKT
7 LETA EFTER GASLÄCKOR
8 FÖRBEREDA GRILLEN FÜR ANVÄNDNING
9.3.1 ANVÄNDNING AV TÄNDAREN
7 EFTERSE FOR GASLAEKAGER
3 TÄRKEITÄ TURVALLISUUSOHJEITA
Tuubisilt 221
- Injektorite LABimodud 221
14 Törkeotsing 221
1 REGISTREERIGE OMA SEADE
| 1 1x | 2 1x | 3 1x | 4 2x | 1x |
| 5 2x | 6 1x | 7 1x | 8 1x | 1x |
| 9 1x | 10 1x | 11 1x | 12 1x | 1x |
| 13 2x | 14 2x | 15 1x | 16 1x | 1x |
| 17 1x | 18 1x | 19 1x | 20 1x | 2x |
| 21 2x | 22 4x | 23 1x | 24 1x | 1x |
| 25 1x | 26 2x | 27 1x | 28 1x | 2x |
| 29 1x | 30 1x | 31 1x | 32 1x |
| 33 3x | 34 1x | 35 1x | 36 2x |
| 37 1x | 38 1x |

1

2

3

4

5

6

7

8

9

10

11
12


13

14

15

16

17

18

19

20

21

22

23

24

25
26

27

28


29
| A | B | C | D | E | F | G | H | I | J | ||||||
| G30 | G31 | G30 | G31 | G30 | G31 | ||||||||||
| barbecook® | Siesta 412 black edition (720-0875A) | BE, CH, CY, CZ, ES, FR, GB, GR, IE, IT, LT, LU, LV, PT, SI, SK, TR | 28 - 30 mbar | Butane | \( I_3+(28-30/37) \) | 1,5 V battery (not included) | 16.9 kW | 1230g/h | / | 14 kW | 1019g/h | / | 2.9 kW | 211g/h | / |
| 37 mbar | Propane | ||||||||||||||
| BE, BG, CY, CZ, DK, EE, FI, FR, GB, GR, HR, HU, IT, LT, LU, LV, MT, NL, NO, RO, SE, SI, SK, TR | 28 - 30 mbar | Propane, butane or their mixtures | \( I_3B/P (30) \) | 16.9 kW | 1230g/h | 1208g/h | 14 kW | 1019g/h | 1001g/h | 2.9 kW | 211g/h | 207g/h | |||
| PL | 37 mbar | Propane, butane or their mixtures | \( I_3B/P (37) \) | ||||||||||||

Home & Garden
Industrielaan 4
H. Nominal vermögen mit zipbräder - Capacite nominale avec brüchteinaterie - Nominal capacity with sideburner - Nominal Kapazität mitSeitenkocher - Capacite nominale conbruciterale laterale - Capacidad nominal con hominallaterale - Capacidad nominal con gueimdat
lateral - Nominell kapacitet med den side - Nominel ydelse med side - Mitoitettu k
: Nominale vermior zonder Zjorbrander - Capacite nominale sans brueur laterale - Nominal capacity without sideburner - Nominal Ka - pazität ohne Seitenkocher - Capacita nominale senze bruciatore laterale - Capacidad nominal sin hornilla lateral - Capacidade nominal sem
queimador lateral - Nominell kapacitet utan den side - Nominel ydelse uden side - Mitoitettu kapasteetti ilman sivupolttim
PIN: 1008 CP 2787
side gasbrannaren - Nominal ydelse side bränders - Mitoitettu kapasiteetti sivupolttimen
Type-Typ-Tipo-Tyyppi A1
Innsptuer hoofobrander - Injecteur bruleur principal - Injector main burner - Injektor Hauptbrenner - Injetlore bruciatore capo - Inyector para homilla principal - Injector queimador principal - Insprutningspumpen head gasbrannaren - Den store branders dystyle - Suutin paapolittimen - Tryska hlavnich hoaku - Tryska bochnich horakov
EinfachAnleitung