PT100 - Projektor OPTOMA - Kostenlose Bedienungsanleitung
Finden Sie kostenlos die Bedienungsanleitung des Geräts PT100 OPTOMA als PDF.
Benutzerfragen zu PT100 OPTOMA
0 Frage zu diesem Gerät. Beantworten Sie die, die Sie kennen, oder stellen Sie Ihre eigene.
Eine neue Frage zu diesem Gerät stellen
Laden Sie die Anleitung für Ihr Projektor kostenlos im PDF-Format! Finden Sie Ihr Handbuch PT100 - OPTOMA und nehmen Sie Ihr elektronisches Gerät wieder in die Hand. Auf dieser Seite sind alle Dokumente veröffentlicht, die für die Verwendung Ihres Geräts notwendig sind. PT100 von der Marke OPTOMA.
BEDIENUNGSANLEITUNG PT100 OPTOMA
Wichtige Sicherheitshinweise DE2-3
Ihr Projektor DE-4
Über Ihren Projektor DE-4
Projektor anschreiben DE4-5
An einen Computer anschlieben DE-5
An einen DVD-Player anschlieben DE-5
Projektor verwenden DE6-11
Projektor einschalten DE-6
Projektor ausschalten DE-6
Projektorfokus anpassen DE-6
Grosse des projizierten Bildes anpassen DE-7
Winkel anpassen DE-7
Bedienfeld benutzen DE-8
OSD-MENU nutzen DE-8
Menübedienung DE9-11
Audio DE-11
Problemlösung zu Ihrm Projektor DE-12
Lieferumfang
Ihr Projektor wird mit allen nachstehenden Komponenten gefelfert. Stellen Sie sicher, dass der Lieferumfang vollständig ist.
- Composite Video-Kabel
2.Netzeil - Bedienungsanleitung
- Zusatzinformationen
Wichtige Sicherheitshinweise
Warning
Wenn das Gerät mit einem polarisierten Stecker gefelft wird, dürfen Sie es zur Verhinderung eines Stromschlags nicht mit einem Verlängerungskabel, Mehrfachstecker oder anderen Steckdosen verbinden, bei denen der Stecker (die Kontaktstifte) nicht vollständig eingesteckt werden kann. Zur Vermeidung von Brand- und Stromschlaggefahr setzen Sie these Gerät keinem Regen oder Feuchtigkeit aus.
Richten Sie zur Vermeidung von Stromschlaggefahr den breiteren Kontakt des Steckers am breiterten Schlitz aus; stecken Sie den Stecker vollständig hinein.

Dieses Blitzzeichen mit Pfeilspitze innerhalb eines gleichseitigen Dreiecks soll Sie davor warnen, dass sich im Inneren des Produktgehauses unisolierte gefährliche Spannung befindet, die ausreichend stark ist, bei Menschen einen Stromschlag zu verursachen.
CAUTION RISK OF ELECTRIC SHOCK DO NOT OPEN
Warning: Entfernen Sie zur Reduzierung der Stromschlaggefahren nicht die Abdeckung (oder Rückseite). Es befinden sich keine vom Benutzer reparierbaren Komponenten im Inneren. Überlassen Sie Reparaturarbeitungen qualifiziertem Fachpersonal.

Das Ausrufezeichen innerhalb eines gleichseitigen Dreiecks soll Sie auf wichtige Bedienungs- und Wartungs-(Reparatur-) Hinweise in der dem Gerät beiliegenden Literatur hinweisen.
- Lesen Sie sich diese Anweisungen durch.
- Bewahren Sie die Anweisungen auf.
- Befolgen Sie alle Warnhinweise.
- Befolgen Sie alle Anweisungen.
- Installieren Sie den Projektor und das Netzteil entsprechend den Anweisungen des Herstellers.
- Verwenden Sie nur das vom Hersteller angegebene Zubehör.
- Die Leistungsangaben des Projektors befinden sich an der Unterseite des Gehäuses; die Leistungsangaben des Netzteils befinden sich an der Rückseite des Gehäuses.
- Setzen Sie den Projektor und das Netzeil keinem Spritz- oder Tropfasswer aus; platzieren Sie keine mit Flüssigkeiten gefüllten Gegenstände, wie z. B. Vasen auf dem Projektor oder Netzeil.
- Zum vollständigen Trennen von der Stromversorgung müssen Sie den Netzstecker des Netzteils aus der Steckdoseziehen.
- Der Netzstecker des Netzteils sollte während des Betriebs stets frei zugänglich sein; entfernen Sie mögliche Hindernisse.
- Blockieren Sie die Beluftungsöffnungen nicht.
- Platzieren Sie den Projektor und das Netzeil nicht in der Höhe von Wärmequellen wie z. B. Heizungen, Hezungsgittern, Öfen und anderen wärmeerzeugenden Geräten (inklusive Verständern).
- Halten Sie Kunststoffeile, Papier und brennbare Materialien mindestens 0,5 m vom Projektorobjektiv und den Luftungsöffnungen halten.
- Trennen Sie den Projektor und das Netzeil während eines Gewitters vom Stromnetz; unterbrechen Sie die Stromversorgung auch, wenn das Gerät langere Zeit nicht benutzt wird.
- Reinigen Sie den Projektor und das Netzeil nur mit einem trockenen Tuch.
- Blichen Sie nicht direkt in das Objektiv, wenn der Projektor eingeschaltet ist.
- Wenn der Projektor und/oder das Netzeil beschädigt wurde(n), ist eine Reparatur erforderlich. Überlassen Sie alle Reparaturarbeitungen qualifiziertem Fachpersonal.
Wichtige Sicherheitshinweise


Verbraucherhinweise
FCC-Erklärung:
Dieses Gerät erfüllt Teil 15 der FCC-Regulären. Der Betrieb unterliegt den folgenden beiden Voraussetzungen: (1) Dieses Gerät darke Störungen verursachen, und (2)这点 Gerät muss jegliche empfangenen Störungen hinnemen, einschließlich Störungen, die zu unbeabsichtigtem Betrieb führen können.
Warning:
Änderungen oder Modifikationen, die nicht ausdrücklich von der für die Übereinstimmung verantwortlichen Stelle zugelassen sind, können die Berechtigung des Anwenders zum Betrieb der Ausrüstung erlösen lessen.
Hinweis:
Dieses Gerät wurde getestet und als mit den Grenzwerten für Digitalergeäte der Klasse B gemäß Teil 15 der FCC-Regulären übereinstimmend befinden. Diese Grenzwerte wurden geschaffen, um angemessenen Schutz gegen Störungen beim Betrieb in Wohngebieten zu gewährleisten. Dieses Gerät erzeugt, verwendet und kann Hochfrequenzenergie abstrahlen und kann - falls nicht in Übereinstimmung mit den Bedienungsanweisungen installiert und verwendet - Störungen der Funkkommunikation verursachen. Allerdings ist nicht gewährleistet, dass es in bestimmten Installationen nicht zu Störungen kommt. Falls diese Ausrüstung Störungen des Radio- oder Fernsehempfangs verursachen sollen, was leicht durch Ausschalten der Ausrüstung hersausgefunden werden kann, wird dem Anwender empfohlen, die Störung durch eine oder mehrere der folgenden Maßnahmen zu beseitigen:
- Neausrichtung oder Neuplatzierung der Empfangsantenne(n).
- Vergroßern des Abstands zwischen Ausrüstung und Empfänger.
- Anschluss der Ausrüstung an einen vom Stromkreis des Empfängers getrennten Stromkreis.
- Hinzuziehen des Handlers oder eines erfahrenen Radio-/Fernsehtechnikers.
IC-Erklärung:
Dieses Digitalgerät der Klasse B erfüllt die Richtlinien der Canadian ICES-003.
"Cet appeareil numérique de la classe B est conforme à la norme NMB-003 du Canada."
Ihr Projektor
Über ihren Projektor


- Bedienfeld
- Fokusring
- Objektiv
- Hohenverstellbarer Fuß
Vorsicht: Sicherheitschinweise
- Verwenden Sie den Projektor nicht in der Höhe von Geräten, die starke Hitze erzeugen.
- Verwenden Sie den Projektor nicht an Orten, an denen er übermöigem Staub ausgesetzt ist. Staub kann Fehlfunktionen des Systems und eine automatische Abschaltung des Projektors verursachen.
- Achten Sie darauf, den Projektor an einem gut belufteten Ort aufzustellen.
- Blockieren Sie die Luftungsschlitze und Öffnungen am Projektor nicht.
- Achten Sie daraufauf, den Projektor innerhalb der Betriebstemperatur zur betreiben (5 °C bis 35 °C).
- Betreiben und lagern Sie den Projektor nicht an Orten mit hoher Feuchtigkeit.
Projektor anschließen

- Composite Video-/Audioeingang
- DC-Anschluss
- PC-Eingang
Vorsicht:
Befolgen Sie vor der Durchführung der in thisem Abschnitt beschrieben Verfahren die Sicherheitshinweise auf den Seiten 2 und 3.
An einen Computer anschließen
Über ein VGA-Kabel an einen Computer anschließen

- VGA-Kabel
2.Netzeil
An einen DVD-Player anschließen
Über ein Composite Video-Kabel an einen DVD-Player anschließen

1.Netzeil
2. Composite Video-Kabel
Projektor verwenden
Projektor einschalten
Hinweis: Schalten Sie zuerst den Projektor, dann die Bildquelle ein.
- Schließen Sie das Composite Video- oder VGA-Kabel am Projektor an.
- Schließen Sie das Composite Video- oder VGA-Kabel an der Bildquelle an.
- Drücken Sie die POWER ON/OFF-Taste (die Position der POWER ON/OFF-Taste enthalten Sieitte „Projektor verwenden" auf Seite 8).
- Schalten Sie ihre Bildquelle ein (Computer, DVD-Player, etc.).
- Falls sich die aktuelle Quelle von der zuvor verwendeten Quelle unterscheidet, währten Sie mit der SOURCE-Tasteitte die Quelle, die Sie anzeigen möchten.
(Hinweis: Der DLP Projektor ist standardmäßig auf die Composite Video-Quelle eingestellt).
Wenn bei Composite Video oder PC VGA die Meldung „Source not found (Quelle nicht gefunden)" auf der Leinwand erscheint, prufen Sieitte, ob die entsprechenden Kabel korrekt angeschlossen sind.
Wenn mehrere Bildquellen am Projektor angeschlossen sind, können Sie mit der SOURCE-Taste am Bedienfeld die gewünschte Bildquelle ausgehalten.
Projektor ausschalten
Hinweis: Trennen Sie den Projektor von der Stromversorgung, nach dem Sieihn entsprechend des nachstehenden Verfahrens ordnungsgemäß heruntergebnissen haben.
- Drucken Sie die POWER ON/OFF-Taste.
- Die Lüfter laufen noch eine Sekunden weiter.
- Trennen Sie das Netzteil.
- Trennen Sie alle Composite Video-/PC- (VGA-) Kabel vom Projektor.
Projektorfokus anpassen
- Drehen Sie den Fokusring, bis das Bild klar angezeigt wird. Der Projektor fokussiert auf eine Entfernung von 60 bis 366 cm.
- Verschieben Sie den Projektor zum Vermögen / Verkleinern nach vorne / hinten.

- Fokusring
Gröbe des projizierten Bildes anpassen

Abstand zwischen Projektor und Leinwand
| Abstand | Breite | Höhe | Diagonale |
| 61 cm | 29,3 cm | 16,5 cm | 13,25 Zoll (33,6 cm) |
| 122 cm | 57 cm) | 32 cm | 25,75 Zoll (65,5 cm) |
| 244 cm | 112,4 cm | 62,5 cm | 50,75 Zoll (129 cm) |
| 366 cm | 168 cm | 94 cm | 75,5 Zoll (192 cm) |
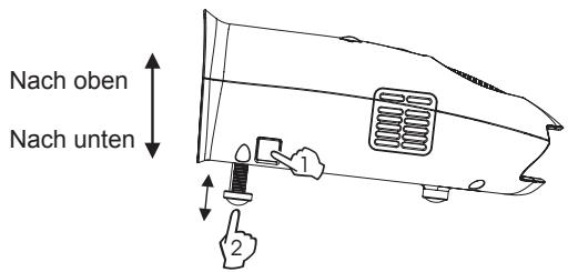
Winkel anpassen
Der vorder Fuf ist hohenverstellbar; indem Sie die seitliche Taste (1) drucken, den Fuf (2) wie gewünscht zum Kippen des projizierten Bildes ausziehen oder hineinschieben und die Taste dann zum Einrasten wieder freigeben.

Projektor verwenden
Bedienfeld benutzen

- POWER ON/OFF (Ein-/Austaste) – Zum Ein- und Ausschalten des Projektors. Weitere Informationen finden Sie in den Abschnitten „Projektor einschalten" und „Projektor ausschalten" auf Seite 6.
- SOURCE (Quelle) – Zum Umschalten zwischen den Eingängen PC VGA und Composite Video.
- MENU (Menu) - Zum Einblenden des Bildschirmmenus.
4.▶,▶- Zur Auswahl von Menüelementen, wenn das Bildschirmmenu eingeblendet ist. - / VOL+ , VOL - - Zum Anpassen der OSD-Einstellungen im angezeigten Bildschirmenu. Zum Erhöhen/Verringern des Lautstärkepegels, wenn das Bildschirmenu nicht eingeblendet ist.
OSD-MENU nutzen
Der Projektor verfügbar über ein Bildschirmmenü, das durch Betätigten der MENU-Taste eingebrendet werden kann (unabhängig davon, ob eine Bildquelle angeschlossen ist).
Mit den Tasten / am Bedienfeld navigieren Sie durch die Register des Hauptmenus.
Drücken Sie zur Auswahl einer Option die Taste / VOL+ oder VOL- am Bedienfeld. Wenn ein Element ausgewähl ist, wird dessen Name nicht mehr grau, sondern schwarz angezeigt.
Projektor verwenden
Menübedienung
Drücken Sie zum Aufrufen der obersten Menüebene die MENU-Taste.
Wahlen Sie mit den Tasten und zwischen den Menus Image Preferences (Bildprüferenzen), Image Size (Bildgroße), Image Orientation (Bildausrichtung), Input Source (Bildquelle) und Language(Spracheinstellungen).
Image Preferences(Bildprüferenzen)-Menu



Wahlen Sie mit den Tasten / VOL+ und /VOL -zwischen Bright Mode (Hell-Modus), Standard Mode (Standardmodus) und Video Mode (Videomodus).
BRIGHT (Hell) - Beim Betrachten von Bildern in gut beleuchteten Räumen auswahlen.
STANDARD (Standard) - Beim Anschlieben an eine Xbox 360 / PS2 / PS3 / Wii oder beim Betrachten der Bilder von einem Computer auswahlen.
VIDEO (Video) – Beim Betrachten von Bildern, die relativ dunkel angezeigt werden sollen (z. B. Film- und Musikvorführungen), auswahlen.
Image Size(Bildgroße)-Menu
BildgroBe

BildgroBe

Wahlen Sie mit den Tasten / VOL+ und / VOL -zwischen 4 × 3 (Normal) und 16 × 9 (Gestrecht).
4x3 (Normal) – Beim Betrachten von Bildern, die bei einem 4:3-Seitenverhältnis angezeigt werden sollen, auswahlen.
16x9 (Gestreckt) – Beim Betrachten von Bildern, die mit einem Seitenverhältnis von 16:9 angezeigt werden sollen, bzw. zum Ausfüssen der gesamten Leinwand bei PC VGA-Bildern auswahlen (werkseitige Standardeinstellung bei Composite Video & PC VGA).
Image Orientation(Bildausrichtung)-Menu
Bildausrichtung



htprojektion

Rückprojektion

Deckenprojektion

Rück- und
Deckenprojektion
Bildausrichtung

Frontprojektion

Rückprojektion

Deckenprojektion

Rück- und
Deckenprojektion
Bildausrichtung

Frontprojektion

Rückprojektion

Deckenprojektion

Rück- und
Deckenprojektion
Bildausrichtung

Frontprojektion

Rückprojektion

Deckenprojektion

Rück- und
Deckenprojektion
Wahlen Sie mit den Tasten / VOL+ und /VOL -zwischen Front Projection (Frontprojection), Short Edge Flip (H. Spiegeln), Long Edge Flip (V. Spiegeln), Short+Long Edge Flip (H.+V. Spiegeln), damit das Bild in derselben Ausrichtung wie der Buchstabe „R“ besteht der jeweiligen Option angezeigt wird. (Werkseitige Standardeinstellung ist Front Projection (Frontprojection)
Projektor verwenden
Image Source(Bildquelle)-Menu
Eingangssignal

Composite Video
VGA (PC) /
Koponenten Video
Eingangssignal

Composite Video

VGA (PC) /

Komponenten Video
Wahlen Sie mit den Tasten / VOL+ und / VOL- den Eingang Composite Video oder PC VGA. (Werkseitige Standardeinstellung ist Composite Video)
Composite Video-Anzeige

Composite Video
Nach dem eine Composite Video-Quelle angeschlossen wurde, wird die Meldung „Composite Video OSD (Composite Video-Anzeige)“ möglicherweise noch eine Sekunden lang angezeigt, bis die Erkennung der Quelle abgeschlossen ist; daraufhin erscheint das Composite Video-Bild auf der Leinwand.

Composite Video
Kein Signal
Wenn Composite Video nicht erkannt wird, erscheint die Meldung „Composite Video Source Not Found OSD (Composite Video-Quelle nicht gefunden)”.
Bitte überprüfen Sie in thisem Fall, ob die Composite Video-Quelle angeschlossen und eingeschaltet ist.
PC VGA-Anzeige

VGA (PC)
Nach dem eine PC- (VGA-) Quelle angeschlossen wurde, wird die Meldung „PC VGA OSD (PC VGA-Anzeige)“ möglichwerse noch einige Sekunden lang angezeigt, bis die Erkennung der Quelle abgeschlossen ist; daraufhin erscheidt das PC- (VGA-) Bild auf der Leinwand.

VGA (PC) /
Komponenten Video
Kein Signal
Wenn PC (VGA) nicht erkannt wird, erscheint die Meldung „PC VGA Source Not Found OSD (PC VGA-Quelle nicht gefunden)"
Bitte überprüfen Sie in thisem Fall, ob die PC- (VGA-) Quelle angeschlossen und deren Auflösung auf 640 × 480 bei 60Hz , 800 × 600 bei 60Hz oder 1024 × 768 bei 60Hz eingestellt ist.
Wenn es sich bei der PC- (VGA-) Quelle um einen Apple™-PC handelt, sollte die Auflösung auf 1024 x 768 bei 60 Hz eingestellt sein.
Spracheinstellungen

English
Francais
Nederlandss
Espanol
English

Francais
Nederlandss
Espanol
English
Francais

Deutsche
Nederlandss
Espanol
English
Francais
Deutsche

Nederlandsl
Espanol
English
Francais
Deutsche
Nederlandss




Wahlen Sie mit den Tasten / VOL+ und / VOL -zwischen den Sprachen English, Francais, Deutsche, Netherlands, Espanol.
Audio
Lautstärke:

Lautstärke

#
Stummschaltung

#
Passen Sie die Lautstärke des Lautspechers mit Hilfe der Tasten VOL+ und / VOL- an; anschließend wird kurz ein Symbol bzw. eine Lautstärkeleiste eingeblendet. Wenn die Lautstärke auf das Minimum reduziert wird, wird kurz das Stumm-Symbol angezeigt.
Auf Werkseinstellungen zurücksetzen
und - wenn Sie diese Tasten gleichzeitig drücken, wird der Projektor auf die werkseitigen Standardeinstellungen zurückgesetzt.
Problemlösung zu Ihrm Projektor
Falls Probleme mit Ihr Projektor auftreten, beachten Sieitte die nachstehenden Tipps zur Problemlösung.
Problem Mögliche Lösung
Es erscheint kein Bild auf der Leinwand
Stellen Sie bei Verwendung eines tragbaren Computers safer, dass der externe Grafikanschluss aktiviert ist.
Achten Sie darauf, dass alle Kabel sicher
angeschlossen sind. Siehe Seite 5.
Stellen Sie sicher, dass die Kontaktstfte der Anschlüsse nicht verbogen oder abgebrochen sind.
Bildlauf, zerteiltes oder falsch angezeigtes Bild
Rechtsklichen Sie auf einen leeren Bereich Ihres Windows-Desktops; klichen Sie auf „Eigenschaften“, wahlen Sie das „Einstellungen“-Register.
Achten Sie darauf, dass die Einstellung des externen Monitoranschlusses 640 x 480, 800 x 600 oder 1024 x 768 Pixel beträgt.
Falls Probleme bei der Änderung der Auflösung auftreten oder die Anzeige einfriert, starten Sie alle Geräte sowie den Projektor neu.
Sollte das Problem bestehen bleiben,
aktualisieren Sieitte den Grafikkartenreiber
(Videotreiber) auf die neuste Version;
versuchen Sie es anschließend noch einmal.
Das Bild ist unscharf
Passen Sie den Fokusring am Projektorobjektiv an.
Stellen Sie sicher, dass sich die
Projekteinsland im erforderlichen Abstand zum Projektor befindet (60 cm bis 366 cm).
Das Bild erscheint gestreckt
Bitte passen Sie die Einstellung im Image Size(Bildgroße)-Menu auf das richtige Seitenverhältnis entsprechend des angezeigten Quellvideoos an.
Projektor stoppt
Der Projektor ist überhützt. Schalten Sie das Anzeigegerät wieder ein, nachdem der Projektor abgekühlt ist. Sollte das Problem fortbestehen, wenden Sie sichitte an den Kundendienst.
Lüfter stoppt, dann stoppt der Projektor
Ein Projektlorbeiter ist ausgefallen, der Projektorschaltet sich automatisch aus. Soltte das Problem fortbestehen, wenden Sie sichitte an den Kundendienst.
EinfachAnleitung