KVI1884 - ثلاجة BAUKNECHT - دليل المستخدم المجاني

ابحث عن دليل الجهاز مجاناً KVI1884 BAUKNECHT بصيغة PDF.

📄 88 صفحات PDF ⬇️ العربية AR 💬 سؤال الذكاء الاصطناعي 🖨️ طباعة
Notice BAUKNECHT KVI1884 - page 80
مساعد الدليل
مدعوم بواسطة ChatGPT
في انتظار رسالتك
معلومات المنتج

العلامة التجارية : BAUKNECHT

الموديل : KVI1884

الفئة : ثلاجة

تنزيل التعليمات لجهازك ثلاجة بصيغة PDF مجاناً! ابحث عن دليلك KVI1884 - BAUKNECHT واستعد السيطرة على جهازك الإلكتروني. في هذه الصفحة منشورة جميع الوثائق اللازمة لاستخدام جهازك. KVI1884 لعلامة BAUKNECHT.

دليل المستخدم KVI1884 BAUKNECHT

البيانات التقنية االرتفاع (سم)

Øأنبوب الصرف (سم) 110-85

مكونات غير مزودة مع الجهاز مــن أجــل تنزيــل تعليمــات الســامة ودليــل االســتخدام والوثيقــة الفنيــة وبيانــات الطاقــة:

  • زوروا موقعنا اإللكتروني docs.whirlpool.eu
  • استخدم رمز الكشف السريع QR
  • أو ,اتصــل بخدمــة الدعــم الفنــي (علــى رقــم الهاتــف الــوارد علــى كتيــب الضمــان) .عنــد االتصــال بمركــز الدعــم الفنــي ،قــم بتزويدهــم باألكــواد الموجــودة علــى لوحــة الرقــم المسلســل للمنتــج.

التخلص من الجهاز يحمــل هــذا الجهــاز عالمــة التوافــق مــع التوجيــه األوروبــي ،2012/19/ECوالخــاص بنفايــات المعــدات واألجهــزة الكهربائيَّــة واإللكترونيَّــة ( .)WEEEعنــد قيــام المســتخدم بالتخلــص مــن الجهــاز بعــد انتهــاء عمــره التشــغيلي بالشــكل الصحيــح ،فإنــه بذلــك يُســهم فــي تــدارك حــدوث أيــة عواقــب ســلبية أو أضــرار علــى البيئــة وعلــى الصحــة. يشــير الرمــز الموجــود علــى المنتــج أو علــى الوثائــق المرفقــة إلــى أن هــذا المنتــج ال يجــب التعامــل معــه فــي نهايــة عمــره التشــغيلي علــى أنــه أحــد النفايــات المنزليــة العاديــة ولكــن يجــب تســليمه إلــى مركــز مختــص بتجميــع األجهــزة الكهربائيــة واإللكترونيــة وإعــادة تدويرهــا .تخلَّــص مــن هــذا الجهــاز وفقًــا للقوانيــن المحليَّــة بشــأن التخلــص مــن النفايــات .لمزيــد مــن المعلومــات حــول معالجــة هــذا المنتَــج وإعــادة اســتخدامه وإعــادة تدويــره ،يُر َجــى االتِّصــال بالمكتــب المحلــي المختــص ،أو بخدمــة جمــع النفايــات المنزليَّــة ،أو بالمتجــر الــذي اشــتريت منــه هــذا الجهــاز. تم تصميم هذا الجهاز وتصنيعه واختباره تشغيليًا وفقًا للمواصفات التالية:

  • األداء التشغيليEN/IEC 61591; ISO 5167-1; ISO 5167-3; ISO 5168; EN/IEC 60704-1; EN/IEC 60704-2-13; :
  • الكهرومغناطيسيEN 55014-1; CISPR 14-1; EN 55014-2; CISPR 14-2; EN/IEC 61000-3-2; EN/IEC 61000- : .3-3اقتراحــات لكيفيــة اســتخدام الجهــاز بالشــكل الصحيــح بغــرض تقليــل األثــر البيئــي لــه :عنــد بــدء عمليَّــة الطهــي ،أوقِــد الش ـفَّاط علــى الحــد األدنــى للســرعة ،مــع تركــه يعمــل أيض ـا ً لبضــع دقائــق بعــد االنتهــاء مــن عمليَّــة الطهــي .ال تقــم بزيــادة الســرعة إال فــي حالــة الكميــات الكبيــرة مــن الدخــان والبخــار ،مــع اســتخدام وظيفــة الجهــاز المعــزز فــي الحــاالت القصــوى فقــط .مــن أجــل الحفــاظ علــى الفعاليــة الجيــدة لجهــاز تخفيــض الروائــح ،اســتبدل ،عندمــا يلــزم ،مرشح/مرشــحات الكربــون .مــن أجــل الحفــاظ علــى الفعاليــة الجيــدة لمرشــح الدهــون ،قــم بتنظيفــه فــي حالــة الضــرورة .مــن أجــل تحســين الفعاليــة للحــد األمثــل وتقليــل الضوضــاء للحــد األدنــى ،اســتخدم أقصــى قطــر لنظــام األنابيــب المشــار إليــه فــي هــذا

خلل أو عطل التشغيل إن كان شي ٌء ما ال يبدو أنه يعمل ،قبل االتصال بخدمة الدعم الفني قم بتنفيذ الفحوصات البسيطة التالية:

  • إذا كان الشفاط ال يعمل: تحقق من أنه: ال يوجد انقطاع في التيار. تم اختيار سرعة.• إذا كانت كفاءة الشفاط منخفضة: تحقق من أنه: سرعة المحرك المختارة كافية لكمية العادم واألبخرة الصادرة. تهوية المطبخ كافية لكي تسمح بتجديد الهواء. مرشح الكربون غير مستهلك (الشفاط بإصدار الترشيح).• إذا انطفأ الشفاط أثناء التشغيل العادي: تحقق من أنه: ال يوجد انقطاع في التيار. جهاز القطع أحادي القطب غير ُمفعَّل.ـوان مــن التغذيــة الكهربائيــة عــن طريــق فــي حالــة أعطــال التشــغيل المحتملــة ،قبــل توجهكــم إلــى خدمــة الدعــم الفنــي افصلــوا الجهــاز لمــدة 5ثـ ٍ نــزع القابــس ثــم أعيــدوا توصيلــه مــن جديــد .فــي حالــة اســتمرار عطــل التشــغيل ،توجــه إلــى خدمــة الدعــم الفنــي.

للقيــام بعمليَّــة التنظيــف اســتخدِم فقــط وحصريَّــا قطعــة قمــاش مبلَّلــة بمنظفــات ســائلة محايــدة .ال تســتخدِم أيَّــة أدوات أو معــدَّات للقيــام بالتنظيــف! تجنــب اســتخدام المنتجــات المحتويــة علــى مــواد كاشــطة .ال تســتخدِم

يحجز الروائح الكريهة الناتجة عن عملية الطهي. يحــدث تشـبُّع ُمر ِ ّ شــح الكربــون بعــد فتــرة اســتخدام طويلــة وفقــا لنوعيــة المطبــخ وطبيعــة وعــدد مــرات تنظيــف وغســل مرشــحات حجــب وإزالــة الدهــون .يجــب فــي جميــع األحــوال اســتبدال الخرطوشــة كل أربعــة اشــهر كحــد أقصــى (أو عندمــا يشــير نظــام التنبيــه عــن تشــبع المرشــحات -إذا كان موجــودا فــي الموديــل الــذي بحوزتكــم -إلــى ضــرورة االســتبدال). ال يجوز غسله أو إعادة استخدامه مرشح الكربون الدائري ضــع واحــدا ً جانبيــا لتغطيــة كلتــا شــبكتي حمايــة حلقــة الضــخ الـ ّالخاصــة بالمحــرك ،ثــم قــم بعــد ذلــك باللــف فــي اتجــاه عقــارب الســاعة. لف ّكه لف في عكس اتجاه عقارب الساعة. صيانة مرشحات إزالة الدهون يحجز في داخله جسيمات الدهون الناتجة عن عملية الطهي. يجــب تنظيفــه مــرة واحــدة كل شــهر (أو عندمــا يُشــير نظــام التنبيــه الخــاص بتشــبُّع المر ّ شــحات -إذا مــا نُــصَّ علــى ذلــك فــي الموديــل المملــوك – فإنــه يشــير إلــى ضــرورة القيــام بتنظيفهــا) ،باســتخدام ســالة األطبــاق منظفــات غيــر عدوانيّــة ،ســواء بشــكل يــدوي أو فــي غ ّ بدرجــات حــرارة منخفضــة وبــدورة تنظيــف قصيــرة. ســالة األطبــاق فــإن مرشــح إزالــة الدهــون المعدنــي عنــد الغســيل فــي غ ّ يمكــن أن يفقــد لونــه ولكــن خصائصــه ومواصفاتــه ال ُمتعلِّقــة بعمليــة الترشــيح ال تتغيــر مطلقًــا. إلزالة ُمر ّ شح الدهون قم بشد مقبض الفك ذي النابض. استبدال المصابيح افصل الجهاز عن شبكة التيار الكهربي. تنبيه! قبل لمس المصابيح ،تأ َّكد من أنَّها باردة. انزع الشبكة استبدل المصباح التالف اســتخدم مصابيــح الليــد بقــوة 2,5W-E14علــى األقصــى .لمزيــد مــن التفســير ،قــم باستشــارة الورقــة الملحقــة «( ”ILCOS Dالوضــع الرقمــي األبجــدي “.)”1e أعد تركيب الشبكة.

(لموديالت الشفط) قم بتوصيل الشفّاط بأنابيب وفتحات التفريغ الحائطية والتي قُطرها يجب أن يكون مساوي لمخرج الهواء (حافة الوصلة). اســتخدام أنابيــب أو فتحــات تفريــغ حائطيــة بقُطــر أقــل يمكــن أن يتســبب فــي تقليــل مســتوى األداء التشــغيلي لعمليــة الشــفط ويــؤدي إلــى زيــادة كبيــرة وملحوظــة فــي مســتوى الضوضــاء. ال تتح َّمل الشركة المصنعة أيَّة مسؤوليَّة كانت في هذا الشأن. ! استخدم أنبوب بأقل طول ضروري. ! استخدم أنبوب به أقل عدد ممكن من أكواع التوصيل (الحد األقصى النحناء األكواع هو 90درجة). ! تجنب التغييرات العنيفة لقُطر األنبوب. ! ال تتحمل الشركة أية مسئولية في حالة عدم االلتزام بهذه التوجيهات. موديل الترشيح أو موديل الشفط؟

الشفاط الخاص بكم جاهز لكي يستخدم بإصدار الشفط. من أجل استخدام الشفاط بإصدار الترشيح فإنه يجب تركيب طقم الملحقات المخصص لذلك. تأكدوا في الصفحات األولى من هذا الدليل إذا كان طقم الملحقات وارد بالفعل أو أنه يجب شراؤه منفصالً. مالحظــة :إن تــم توريــده ،فــي بعــض الحــاالت ،فــإن نظــام الترشــيح اإلضافــي المكــون مــن الكربــون النشــط قــد يكــون مركب ـا ً بالفعــل علــى المعلومات الخاصة بتحويل الشفاط من إصدار الشفط إلى إصدار الترشيح يتضمنها بالفعل هذا الدليل. موديل الشفط يتم طرد األبخرة إلى الخارج عن طريق أنبوب التفريغ المثبّت على حافة الوصلة.

أنبوب التفريغ ال يأتي مع الجهاز ويجب شراءه. قُطر أنبوب التفريغ يجب أن يكون مساوي لقُطر حلقة التوصيل.

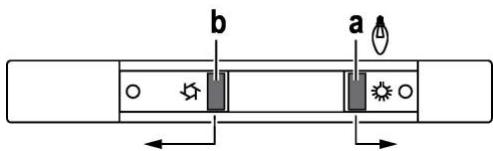
مزود بمرشح /مرشحات كربون ،يجب إزالة هذا المرشح /المرشحات. إذا كان الشفّاط ّ موديل الترشيح يتــم تخليــص الهــواء المشــفوط مــن الدهــون ثــم إزالــة الروائــح الكريهــة منــه قبــل إعــادة ضخــه فــي الغرفــة .قبــل اســتخدام الشـفّاط بموديــل الترشــيح يجــب تركيــب نظــام ترشــيح إضافــي يعمــل بالكربــون النشــط. أوامر التحكم تم تزويد الشفّاط بلوحة أوامر ومفاتيح تشغيل من خاللها يتم التحكم في سرعات الشفط وإضاءة مصابيح إنارة موقد الطهي المسطح. .aزر تشغيل \ إيقاف OFF/ONاألضواء .bزر إيقاف OFFالمحركات .e - .d - .cأدنى قوة للشفط ( ،).cمتوسطة ( ،).dأقصى قوة (.).e

انتبه :الجهاز غير مخصص للتشغيل بواسطة جهاز خارجي أو جهاز تحكم منفصل عن بعد. هذا الجهاز غير مخصص لالستخدام المهني .ال تستخدم الجهاز في مكان مفتوح. من أجل تجنب خطر اإلصابات الشخصية ،يجب تحريك الجهاز وتركيبه بواسطة شخصين أو أكثر. يجــب إجــراء التركيــب مــن قِبــل طاقــم عمــل مؤهــل ،بمــا فــي ذلــك أيضـا ً أيــة توصيــات للتغذيــة بالمــاء (إن وجــدت) والتوصيــات الكهربائيــة، وعمليــات اإلصالح. عند اكتمال التركيب ،احتفظ بمواد التغليف (األجزاء البالستيكية ،البوليسترين ،الخ) بعيدًا عن متناول األطفال لتجنب خطر االختناق. ال تستخدم الجهاز عندما تكون مبتالً أو حافي القدمين. ال تستخدم أبدًا أجهزة التنظيف بالبخار – يوجد خطر التعرض لصدمة كهربائية. مواد التغليف قابلة إلعادة التدوير بنسبة %100وتحمل رمز إعادة التدوير يمكــن للش ـفّاط مــن الناحيــة الشــكلية الجماليــة أن يختلــف عــن تصميمــات الش ـفّاطات الــواردة فــي هــذا الدليــل ،ولكــن بالرغــم مــن ذلــك فــإن تعليمــات االســتخدام والصيانــة والتركيــب تظــل نفســها. يرجــى إتبــاع التعليمــات واإلرشــادات الــواردة فــي هــذا الدليــل وااللتــزام التــام بهــا .ال تتحمــل الشــركة المصنّعــة أيــة مســؤولية أيـا ً كانــت عــن أيــة مشــاكل أو أضــرار أو حرائــق تلحــق بالجهــاز نتيجــة لعــدم مراعــاة التعليمــات الــواردة فــي هــذا الدليــل .تــم تصميــم هــذا الش ـفّاط لشــفط األدخنــة واألبخــرة الناتجــة عــن عمليــات الطهــي وهــو مخصــص فقــط لالســتخدام المنزلــي. االطــاع عليهــا مســتقبالً عنــد الحاجــة إلــى ذلــك .فــي حالــة البيــع أو التنــازل أو

  • مــن المهــم حفــظ جميــع ال ُكت ِيّبــات ال ُمرافقــة لل ُمنتــج للتم ُّكــن مــن النقــل ،تأكــد مــن أن الكتيبــات تبقــى مــع المنتــج.
  • اقرأ بعناية التعليمات :توجد معلومات هامة بشأن التركيب واالستخدام واألمان.
  • ال تُنفذ تعديالت كهربائية أو ميكانيكية على المنتج أو على أنابيب الصرف. مكوناتــه قبــل الشــروع فــي عمليــة التركيــب .خــاف ذلــك يجــب االتِّصــال بوكيــل التوزيــع ويجــب إيقــاف
  • تحقــق مــن ســامة الشـفّاط واكتمــال ّ عمليَّــة التركيــب. المســافة الصغــرى بيــن ســطح دعامــة األوانــي علــى الموقــد والجــزء الســفلي مــن شــفاط الموقــد يجــب أال تقــل عــن 50ســم فــي حالــة المواقــد الكهربائيــة و 65ســم فــي حالــة المواقــد التــي تعمــل بالغــاز أو المختلطــة. إذا ما كانت التعليمات الخاصة بتركيب جهاز الطهي الذي يعمل بالغاز تح ّدِد مسافة فاصلة أكبر ،فإنَّه يجب أخذ ذلك في االعتبار. التوصيل الكهربائي يجــب أن يتوافــق تــردد وفلطيــة التيــار الموجــود فــي شــبكة التيــار الكهربائــي المنزليــة مــع تــردد وفولطيــة التيــار المحــدد لتشــغيل الشـفّاط والمذكــور علــى لوحــة البيانــات التعريفيــة والمواصفــات الموجــودة داخــل الش ـفّاط .فــي حالــة وجــود قابــس تيــار قــم بتوصيــل الش ـفّاط بمأخــذ تيــار مطابــق للقواعــد والقوانيــن المعمــول بهــا فــي هــذا الشــأن والــذي يجــب تواجــده فــي منطقــة قريبــة ســهلة الوصــول إليهــا أيضـا ً بعــد إتمــام عمليــة التركيــب. فــي حالــة عــدم وجــود قابــس التيــار (للتوصيــل ال ُمباشــر بشــبكة التيــار) أو فــي حالــة أن قابــس التيــار موجــود فــي مــكان بعيــد صعــب الوصــول إليــه، حتــى بعــد إتمــام عمليــة التركيــب ،قــم بوضــع مفتــاح قطــع وتوصيــل تيــار ثنائــي األقطــاب مطابــق للمواصفــات التــي تضمــن الفصــل الكامــل للتيــار الكهربــي فــي حــاالت الحمــوالت الكهربائيــة الزائــدة مــن الفئــة ،IIIبالشــكل الــذي يتطابــق مــع قواعــد وشــروط التركيــب.

قبــل إعــادة توصيــل دائــرة الشـفّاط بشــبكة التيــار الكهربــي وقبــل التأكــد مــن عملــه بالشــكل الصحيــح ،يجــب دائمـا ً التأكــد أوالً مــن أن كابــل شــبكة التيــار قــد تــم تركيبــه بالشــكل الصحيــح. مزود بقابس ،قم بتوصيل األسالك بموجب الجدول التالي: إذا كان الكابل غير ّ توصيل األسالك جهد وتردد الشبكة يُرجــى الرجــوع إلــى القيمــة المشــار إليهــا فــي ملصــق المواصفــات داخــل الشــفاط.

: Nأزرق : Lبني استبدال كابل التيار الكهربائي الشفاط مزود بكابل تغذية خاص؛ في حالة تلف الكابل ،اطلبه من خدمة الدعم الفني.

السالمة واألمان العام

  • قبــل أيــة عمليــة نظافــة أو صيانــة ،افصــل الشــفاط عــن الشــبكة الكهربائيــة عــن طريــق نــزع القابــس أو فصــل المفتــاح العــام للمنــزل.
  • من أجل إجراء كافة عمليات التركيب والصيانة استخدم قفازات عمل.
  • يمكــن اســتخدام هــذا الجهــاز مــن قِبــل األطفــال األكبــر مــن ســن 8ســنوات واألشــخاص الذيــن يعانــون مــن قصــور فــي قدراتهــم البدنيــة أو الحسّــية أو العقليــة ،أو الذيــن لديهــم نقــص فــي الخبــرة الالزمــة أو المعرفــة الضروريــة الســتخدام هــذا الجهــاز شــريطة أن يكونــوا تحــت مالحظــة ـخص بالــغ أو بعــد تعريفهــم باإلرشــادات والتعليمــات الالزمــة لالســتخدام الصحيــح وإشــراف شـ ٍ
  • يجب مراقبة األطفال حتى ال يلعبوا بالجهاز.
  • ال يجب أن تُنفذ النظافة والصيانة من قِبل أطفال دون مراقبة.
  • يجــب توفيــر تهويــة كافيــة فــي مــكان التركيــب خاصــة عنــد اســتخدام شـفّاط المطبــخ فــي نفــس وقــت عمــل أجهــزة أخــرى تعمــل بالغــاز أو بــأي محروقــات أخــرى.
  • يجــب أن يُنظــف الشــفاط بصفــة متكــررة ســواء مــن الداخــل أو مــن الخــارج (علــى األقــل مــرة شــهرياً) ،التــزم فــي جميــع األحــوال بمــا تشــير إليــه صراح ـةً تعليمــات الصيانــة .عــدم مراعــاة قواعــد تنظيــف الش ـفَّاط وعمليَّــات اســتبدال وتنظيــف المر ِ ّ شــحات يســبب أخطــار الحرائــق.
  • ممنوع منعًا باتًا طهي الطعام باللهب تحت الشفَّاط.
  • الســتبدال المصابيــح اســتخدم مصابيــح مــن النوعيــة المحــددة والمذكــورة فــي قســم صيانــة\ اســتبدال المصابيــح فــي هــذا الدليــل. ـار للغايــة بالمر ِ ّ شــحات ويمكــن أن يسـ ِبّب الحرائــق ،لذلــك يجــب تجنُّــب اســتخدام اللهــب ال ُحــر ضـ ٌ القيــام بذلــك فــي جميــع األحــوال. يجب أن يتم القلي تحت مراقبة من أجل تجنب أن يشتعل الزيت الساخن. انتبه :عند استخدام موقد الطهي يمكن أن تُصبِح األجزاء القريبة من الشفاط ساخنة. صل الجهاز بشبكة التيار الكهربائي إال بعد االنتهاء تما ًما من عملية التركيب.
  • فيمــا يخــص اإلجــراءات الفنيــة وتلــك الخاصــة باألمــن والســامة والتــي يجــب اتّخاذهــا لشــفط وطــرد األدخنــة ،يجــب الرجــوع دائ ًمــا إلــى مــا تنــص عليــه لوائــح وقوانيــن الســلطات المحليــة المعنيــة بهــذا الشــأن وااللتــزام بها.
  • ال يجــب توجيــه وطــرد الهــواء المســحوب مــن الشــفاط فــي األنابيــب المســتخدمة لتفريــغ وطــرد األدخنــة الناتجــة عــن أجهــزة االحتــراق التــي تعمــل بالغــاز أو بــأي محروقــات أخــرى.
  • ال تستخدم أو تترك الشفاط دون مصابيح مركبة بشك ٍل صحيح لتجنب خطر الصعق الكهربائي المحتمل.
  • ال تقم أبدًا باستخدام الشفاط دون شبكة مركبة بشك ٍل جيد!
  • ال يجب استخدام الشفاط أبدا ً كسطح إسناد إال أن يُشار إلى ذلك صراحةً.
  • ال تستخدم إال مسامير التثبيت المرفقة مع المنتج من أجل التركيب ،أو إن لم تكن مرفقة ،اشتر نوع المسامير الصحيح.
  • استخدم البراغي ذات األطوال الصحيحة والتي تم تحديدها في دليل عملية التركيب.
  • في حالة الشك ،استشر مركز الدعم الفني المعتمد أو العمالة المؤهلة المماثلة.

ُعرضك ألخطار كهربائية.

  • عدم تركيب براغي وأجهزة التثبيت بالشكل المحدَّد في اإلرشادات الواردة في هذا الدليل يمكن أن ي ِ ّ
  • ال تستخدم الجهاز مع أداة برمجة أو مؤقت أو جهاز تحكم عن بعد منفصل أو أي جهاز يتم تنشيطه تلقائيا. ق األطفــال الذيــن تقــل أعمارهــم عــن 3ســنوات بعيديــن عــن الجهــاز .أبــق الجهــاز بعيــدا ً عــن األطفــال الذيــن تقــل أعمارهــم عــن 8ســنوات، فــي حالــة عــدم وجــود مراقبــة مســتمرة مــن أحــد البالغيــن.