DVB11CPN - Placa de cozinha ROSIERES - Manual de utilização gratuito
Encontre gratuitamente o manual do aparelho DVB11CPN ROSIERES em formato PDF.
Perguntas dos utilizadores sobre DVB11CPN ROSIERES
0 pergunta sobre este aparelho. Responda às que conhece ou faça a sua.
Faça uma nova pergunta sobre este aparelho
Baixe as instruções para o seu Placa de cozinha em formato PDF gratuitamente! Encontre o seu manual DVB11CPN - ROSIERES e retome o controlo do seu dispositivo eletrónico. Nesta página estão publicados todos os documentos necessários para a utilização do seu dispositivo. DVB11CPN da marca ROSIERES.
MANUAL DE UTILIZADOR DVB11CPN ROSIERES
MANUAL DE USO E MANUTENÇÃO
PLACA DE COZINHA DE ENCASTRAR DOMINO BARBECUE
PCDVB11CPN
INSTRUÇÉS DE MONTAGEM
CHARACTERISTICAS TÉCNICAS
| MODELOS | PCDVB11CPN |
| Voltagem | 230V |
| Corrente | 16A |
| Potência Tmaxa W | 2400 |

1. Montagem
A instalação é de responsabilité do comprador. O fabricante é dispensoamento de este service. As eventuais intervenções solicitadas ao Fabricante, necessárias devido a instalação Incorrecta, não está ao abrigo da garantia.
Ásplaces de encastrar sào previstas para a instalacao em tampos realizados em qualquer material, a condicao que resistente a uma temperatura de 100^, e de espessura variavel entre 25 e 40 mm. Se a placar for encastrada de modo que no seu lado esquerdo ou direito esta a parede de um molev, a distencia entre a parede e a borda da placar deve ser de peso menos 150 mm, e a distancia entre a parede posterior e a borda da placar deve ser de peso menos 55 mm. Quando sob a placar houver um compartmento accesivel, entre a placar de encastrar e o compartmento inferior deve ser inserido um pailen divisor em material isolante (madeira ou similares). Este pailen deve ficar a peso menos 10 mm do fundo da caixa.
X = minimo 150~mm
Z = 10mm
Y = paine divisor

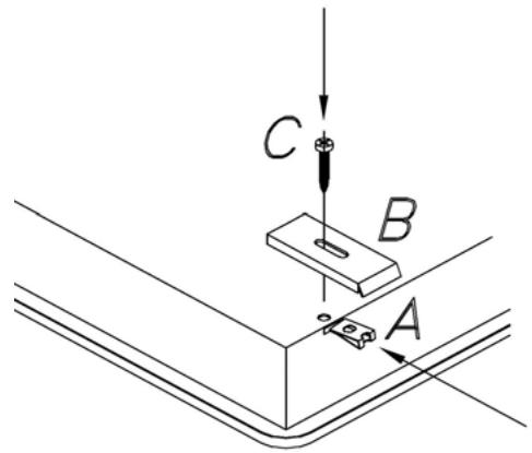
Fixação no molevel
A fixação noovel é feita mediante uniónes que são fornecidas como acessórios. Na parte inferior da caixa encontrar-se os furos onde inserir as plaquetas (A) que devem ser fixadas pelos respectivos parafudos (C) para bloquear as uniónes de fixação (B).
A =plaqueta a inserir no dato da placadecearstar
B = uniono de fixacao
C = parafuso

Aplicação da junção de vedação
Important - A figura abaixo indica como deve ser aplicada a junção de vedação em todo o perímetro.
Este aparecido foi concebido para o uso não profissional no interior de生活方式.

Acoplamento de das ou maisplaces Domino
Corte o tempo para encasar duas ou maisplaces Domino.
Primeiro posicao o suporte de aço (E) fornecido na embalagem e em seguida coloque a placar de cozinha (G) conforme ilustra a figura abaixo. No espoço que ficou livre, colque a othera placar de cozinha (F).
O suporte de aço jintamente com a junção existente nas dasplacedas Domino garantirá a estanquidade contra a eventual infiltração de liquidos.
A fixação das placas Domino no tempo é feitautilizando o kit de uniónes de fixação fornecido.

2. Ligação eletrica
Controle as caracteristicas na plaqueta que foi aplicada no fundo da plac de cozinha, e entao verifique se a tension nominal da rede e a potencia disponveis são apropriadas para o seu funcaoamento.
Antes de fazer a ligação, verifique se o Sistema de terra é eficiente. A ligação à terra do aparenho é obligatória por lei. O fabricante declina toda responsabilitadpe por eventuais danos a pessoas ou coisas derivantes da inobservança esta norma.
Para modelos que não possuem ficha, monte no cabo uma ficha em conformidade com a norma, que está capaz de suportar a energia indicada na plaqueta. O conductor de terra do cabo está marcado com as cores amarelo-verde. A ficha deve fazer numa posicao accesivel.
Se se deseja fazer uma ligação fixa à rede, deve-se interpor entre o aparecido e a rede um dispositivo omnipolar de corte com distência entre os contactos deleo menos 3 mm.
Para ligar o cabo à placá de cozinha, é necessário soltar e registrar a tampa do terminal às chegar os contactos no seu interior. Terminada a ligação, o cabo deve ser bloqueado com o Sistema de fixação fornecido e a tampa do terminal de ser fechada imeditamente.
Em caso de substituição do cabo eletrico, o conductor de terra (amarelo-verde) deve obligatoriamente ser maior de 10mm em790% aos condutores de linha.
Utilize somente um cabo de borracha tipo H05RR-F, cuja secção dos fios sera de 3 × 1.5 ~mm .
DECLARação DE CONFORMIDADE. Este aparecido, no que diz respeito às partes destinadas aentrarem em contacto comsubstências alimentares, está em conformidade com a directriz CEE 89/109 e com o D.L. de actuacao N° 108 de 25/01/92.
CE Aparelho em conformidade com as direcrizes europeias 89/336/CEE, 93/68/CEE, 73/23/CEE e successivas modificações.
Possibility de ligação
REDE DE ALIMENTACION ELECTRICA

INSTRUÇÉS DE USO
Importante: Antes de cozinhar pela primaira vez, é necessario limpar a placac de cozinha. Em seguida, delve-se acender a resistencia por 5 minutos à temperatura maxima. Deste modo, elimina-se o risco que, durante a cozedura, o alimento possa absorver o odor que a resistencia produz ao ser ligada pela primaira vez.
Para inicir a cozedura, delve-se ligar o botao da parte frontal da placac de cozinha. O led se acende para indicar que a placac de cozinha está ligada e o aquecimento da resistencia, que pode cozer mais ou menos rapiido consoante a posicao do botao (de 1 a 12).
Na posicao 12 ouve-se um ligeiro "clic" que indica a escolha maxima que se pode fazer. A resistencia ficará rapidamente quente e a cozedura sera tipo "grill".
Nas posições intermediadas, Obtém-se uma cozedura mais uniforme mesmo nas partes mais internas dos alimentos. Estas posições são recomendadas para a cozedura de pratos delicados.

LED DE SINALIZACHO
A cuba content, no seu interior, rocha lávica, cuja função é absorver as gotas de oleo ou de gordura que se produzem durante a cozedura. Para eles disso, acumula calor da resistência e permite obter alimentos grelhados de modo mais uniforme, muito semelhantes aos feitos com o carvão. Para obter resultados melhores, recomenda-se pré-aquecer a rocha lávica por pelo menos 10 minutos numa das posições mais baixas, antes de iniciar a cozer os alimentos.
No lugar da rocha lávica, pode ser'utiliza água (o nível recommendado na cuba deve ser deleo menos 3 cm).Esta elimina a formação de odores desagradáveis sem comprometer o desempenho do barbecue.
Alguns conselhos para a cozedura
Observações importantes
Atenão: as superficies das zonas de cozedura ficam quentes durante o uso. Por este motivo, recomenda-se manter tais superficies longe do alcance das crianças.
EviteIxar cair objects duros nas superficies de vidro. O material, em algumas condições, é sensivel as cargas mecanicas. Cargas deCHOque pontiagudas podem partir as superficies. Se a plac de vitroceramica se partir ou se forem feitas fissuras ou ranhuras acidentalmente, é necessario interromper imeditamente a utilizaçao da plac de cozinha e recorrer a assistencia acos clientes.
Para algo disso, é necessario asseguar-se de que os cabos e as fichas de eventuais electrodomesticos ligados às tomadas nas proximas nunca entrem em contacto com as superficies de cozedura quentes.
A plac de cozinha nao deve absolutamente ser limpa com aparehos de limpeza a vapor ou similares.
Apos o uso, é necessário limpar sempre a placá de cozinha, mas aguarde que esfrie. Mesmo os mais preocupos residuos carbonizam-se. Use somente os produits deterentes aconsehados e vendidos no comércio. As partes de aço devem ser limpas com produits apropriados não abrasivos ou corrosivos. Evite produits à base de cloro (lixívia, etc.). Palha de aço, esponjas abrasivas e pós podem riscar a superficie. Os produits para a limpeza doorno não são indicados,PGA corrosivos.
Os��enos residios podem ser eliminados com um pano humido ou com soda quente. Os residuos de detergente devem ser eliminados com agua fria e delve-se secar as superficies muito bem. As nódoas de agua resistentes à agua em ebulização podem ser eliminadas com vinagre e limão ou com liquidos anticalcário. Se um destes detergentes entra em contacto com o caixinho ou com a cuba de aço, deverão ser imeditamente limpos com um pano molhado, poi são substancias acidas.
As incrustações no vidro podem ser retradas fácilmente com uma espátula para vidro. A pega da espátula nunca deve ser de material plácico,驻村 os color nas superficies quentes. Preste atençao durante o seu uso:驻村 é perigo de lesoes.
Para fácilar a limpeza, a pedra lávica e a cuba de aço que a contentem poder ser lavadas na boa da lavar loça.
ASSISTÊNCIA TÉCNICA
Antes de contactar o service de assistência Tecnica, siga as instruções abaixo:
Se não consuerigir localizar a causa do functiimento irregular, deslue o aparelho, não tente consertá-lo e contacte o服务于 de assistência Tecnica.
O aparecido é dotado de um certificado de garantia que permite usufrir do Serviço de Assistência Técnica.
O certificado de garantia deve ser conservado, devidamente preenchido, para serpresentado ao Servico de
Assistência Tecnica Autorizada, em caso de necessidade, juntamente com um documento fiscalemente VXido emitidoelo revendedor no momento da compra (nota de entrega, factura,nota fiscal,除外) no qual estejam indicados o nome do revendedor, a data de entrega, as caracteristicas do produits e o preco de vendia.
ManualFácil