DVB11CPN - Bandeja para hornear ROSIERES - Manual de uso y guía de instrucciones gratis
Encuentra gratis el manual del aparato DVB11CPN ROSIERES en formato PDF.
| Tipo de dispositivo | Placa de cocción empotrable |
| Número de quemadores | 2 |
| Tipo de cocción | Gas / Barbacoa |
| Control | Manual |
| Material de la superficie | Acero inoxidable |
| Dimensiones (An x P) | No especificado |
| Tipo de empotramiento | Domino |
| Encendido | Eléctrico integrado |
| Seguridad | Termopar |
| Tipo de quemador | Quemador de gas estándar |
| Potencia total | No especificado |
| Color | Acero inoxidable |
| Uso | Interior, empotrable |
| Limpieza | Fácil, superficie lisa |
| Accesorios incluidos | Rejilla para barbacoa |
Preguntas frecuentes - DVB11CPN ROSIERES
Preguntas de los usuarios sobre DVB11CPN ROSIERES
0 pregunta sobre este aparato. Responde a las que conoces o haz la tuya.
Hacer una nueva pregunta sobre este aparato
Descarga las instrucciones para tu Bandeja para hornear en formato PDF gratis! Encuentra tus instrucciones DVB11CPN - ROSIERES y toma tu dispositivo electrónico nuevamente en la mano. En esta página están publicados todos los documentos necesarios para el uso de su dispositivo. DVB11CPN de la marca ROSIERES.
MANUAL DE USUARIO DVB11CPN ROSIERES
Se a placn nao funcionar, recomendamos verificar se a ficha está ligada correctamente a toma de corrente.
ENCIMERAS EMPOTRABLES DOMINO BARBECUE
PCDVB11CPN
INSTRUCCIONES PARA EL MONTAJE
DATOS TECNICOS
| MODELOS | PCDVB11CPN |
| Tensión | 230V |
| Corriente | 16A |
| Potencia máximo W | 2400 |

1. Montaje
La instalación es a cargo del comprador. El Fabricante noiene la obligation de efectuar dicho servicios. Los serviciosrequireidos al Fabricante, si dependen de una instalación incorrecta, no está incluidos en la garantía.
Las instalas empotrables estan preparadas para ser instaladas en encimeras de qualquier material, siempre y cuando resistan a una temperatura de 100^ , y tengan un grosor entre 25 y 40 mm. Si la plac se monta en una posicion en que su lado izquierdo o derecho quedeoca de una pared de un mueble, la distancia entre la pared vertical y el borde de la plac debe ser de 150 mm como minimo;@masonas que la distancia entre la pared trasa y el borde de la plac debe ser de 55 mm como minimo. Si abajo de la plac hay un espioutilizable, entre la plac y dicho espacio debe haber una pared divisoria de material aislante (madero or similar). Dicha pared debe estar a 10 mm, como minimo, del fondo de la plac.
X = minimo 150~mm
Z = 10mm
Y = pared divisoria

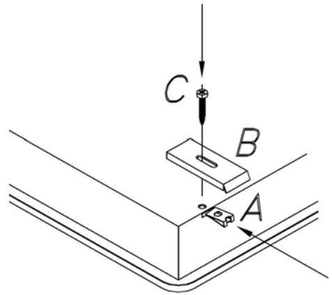
Fijación al mueble
La fijación al mueble se realiza con soportes de fijación que seentaçan como accesorios. En la parte inferior de la placá hay agujeros en donde se introduce las espigas (A) en donde se enroscan los tornillos (C) que bloquean los estribos de fijación (B).
A = espiga a introducir en el fondo de la placà empotrable
B = estribodefijacion
C = tornillo

Aplicación de la junta
Importante - La figura de abajo indica el modo de aplicar el sellador en todo el perimetro.
Este aparato ha sido fabricado para uso no profesional dométrico.

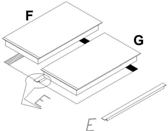
Acoplamento de dos o varias encimeras domino
Realice un corte en la encimera que permita encasar dos o varias placas domino.
En primer lugar hay que colocar el soporte de acero (E),entargado en el embalaje,yuego introducir la plac (G) como indicado en la figura de abajo. En el espacio que queda libre, introduzca la plac (F).
El soporte de acero, jusqu'à junta montada en las dos placas domino, garantizarán un cierre hermético contra las filtraciones de liquidos.
Las instalas domino se fijan a la encimera con el juego de estribos suministrado.

Controle los datos indicados en la plac situation en el fondo de la encimera y verifique que la tension nominal de linea y potencia disponibles Sean adecuadas para su functionamento.
Antes de efectuar la connexion, controle la eficiencia de la instalacion de puesta a tierra. La puesta a tierra del aparato es obligatoria por Ley. El Fabricante no se asume ninguna responsabilidad por posibles lesiones a personas o daños a cosas causados por la inobservancia de dicha norma.
Para los modelos sin enchufe, instale en el cable un enchufe normalizzato que.soporte la energia indicada en la placar de
caracteristicas. El conductor de tierra del cable es de color amarro-verde. De todas maneras, el enchufe debe ser
accesible.
Si se desea realizar una connexion fija a la linea, habra que colocar entre el aparato y la linea, un dispositivo omnipolar de corte con una distancia entre los contactos de 3 mm como minimum.
Para conectar el cable a la encimera hay que aflojar y qutar la tapa de la regleta paraURTAR a los contactos. Una vez efectuada la connexion, bloquee el cable con el systema de fijacion y ciderre la tapa de la regleta.
Si hubiera que sustituir el cable de alimentacion, el conductor de tierra (amarillo-verde) debe ser, obligatoriamente, 10 mm más largo que los conductores de linea.
Use solo un cable de goma tipo H05RR-F, la seccion de los cables internos debe ser de 3× 1,5mm
DECLARACION DE CONFORMIDAD. Las partes destinadas a tener contacto consubstancias alimenticias de este aparato son conformes a la Directiva 89/109 CEE y al Dec. Legislativo N° 108 del 25/1/92.
CE Aparato conforme a las directivas europeas 89/336/CEE, 93/68/CEE, 73/23/CEE y modificaciones siguientes.
Posibiliad de connexion

INSTRUCCIONES DE USO
Importante: aes de cincar por primera z, es necasrio limpiar la encimera. Despues encienda el elemento calentador (resistencia) durante 5 minutos a la temperatura maxima, a fin de eliminar el riesgo de que al cocinar los alimentos absorban el olor que la resistencia emanaradurante el primer encendido.
Para cocinar hay que girar el mando situado en la parte frontal de la encimera. El piloto que se enciende indica que la encimera está encendada y que se está calentando la resistencia, que pueda cocinar más o menos rápidamente según la posición selecciónada del mando, de 1 a 12.
En la posicion 12 se advertira un ligero chasquido, quesea se trata de la posacion maxima que se pue. alcanzar. La resistencia se pondra incandescnte y la coccion sera tipo "grill".
En cambio, en las posiciones intermedias se obtendra una cocción más uniforme también en el interior de la comida. Dichas posiciones se aconsejan para la cocción de platos delicados.


PILOTO
La cuba contiene en su interior piedras volcanicas, cuya funciona es aquella de absorber las gotas de aceite o de grasa que se producen durante la cocción. Además, acumula calor de la resistencia procurando una cocción más uniforme, muy similar a aqulla que se obtiene utilizing carbón. Para lograr mejores resultados, se aconseja precalentar las piedras volcanicas durante 10 Minutes por lo menos, en las posiciones más bajas antes de cocinar.
En lugar de las piedras volcanicas se pueda usar agua (el;nvel aconsejado en la cuba es de 3 cm minimo),que impide la formacion de olores desagradables, sin perjudar las prestaciones de la barbacoa.
LIMpieZA Y MANTENIMIENTO
Algunos consejos para cocinar
Notas importantes
Atencion: las superficies de la zona de cocción se ponen incandescentes durante su uso. Por tal razón, se aconseja mantener alejados a los niños.
Procure que no caigan objetos duros sobre las superficies en vidrio. En ciertas conditiones, el material es sensible a las cargas mecánicas. Los choques con objetos puntiagudos peuvent provocar la rotura de las superficies. Si inadvertamente se produjaran roturas o gritas en la superficie de vitrocerámica, interruppa de inmediato el uso y contacte al service de asistencia clients.
Tambien es necessario controlar que los cables y enchufes de otros electrodomesticos, conectados en tomacorrientes cercanos, no tengan nunca contacto con superficies de cocciudadantes.
Nunca debe limpiarse la encimera utilizing dispositivos de limpieza por vapor o similares.
Després de su uso, limpie la encimera una vez que se haya enfriado, porque incluo los residuos más pequeños terminarán por carbonizarse al utiliser nuevomente el aparato. Utilice exclusivamente los produits deterentes commerciales acontejados. Las piezas de acero deben limpiarse con produits idoneos no abrasivos ni corrosivos. Evite usar produits a base de cloro (lejía, etc.). Los estropajos de acero, esponjas abrasivas o polvos能把ducir rayaduras. No utiliselos produits para la limpieza del hora, porque son corrosivos.
La suciedad ligure可以选择 Eliminarse por medio de un paño humedo o con sosa caliente. Los residuos de detergente deben eliminarse con agua fria y las superficies deben secarse correctamente. Las manchas de agua, resistentes al agua hiriendo, peuvent eliminarse con vinagre o limón o con liquidos antical. Si uno de tales productos tiene contacto con el marco o con la cuba de acero, limpie los mismos de inmediato con un trapo mojado, porque son substancias ácidas.
Las incrustaciones en el vidrio peuvent eliminarse fácilmente con una rasqueta para vidrio. El mango de la rasqueta no debe ser de plástico, porque podra pegarse sobre las superficies calientes. Tenga cuidado durante su uso, porque podra lastimarse.
Para fácilar la limpieza, las piedras volcánicas y la cuba de acero能把 colocarse en el lavavajillas.
SERVICIO TÉCNICO
Antes de llamar al Servicio de Asistencia Técnica proceda de lasuma眼看:
Si el aparato no funciona, le aconsejamos comprar que el enchufe está bien connectado en el tomacorriente.
Si no enquiryra la causa del desperfcto, apague el aparato y no trate de reparlo, llame al Servicio de Assistance Tecnica.
El aparato estáacompañado por un certificado de garantía que le permite utiliser el Servicio de Asistencia Técnica.
Conserve el certificado de garantía debidamente cumplimiento para loctrico Autorizzato junto con un recibo fiscal valido emitido por el revendedor en el momento de la compra (boletin de entrega, factura, recibo, etc.), en donde tienen que estar indicados el nombre del revendedor, la Fecha de entrega, los datos de identificacion del producto y el precio de vente.
ManualFácil