DVB11CPN - Piano cottura ROSIERES - Manuale utente e istruzioni gratuiti
Trova gratuitamente il manuale del dispositivo DVB11CPN ROSIERES in formato PDF.
Domande degli utenti su DVB11CPN ROSIERES
0 domanda su questo apparecchio. Rispondi a quelle che conosci o fai la tua.
Fai una nuova domanda su questo apparecchio
Scarica le istruzioni per il tuo Piano cottura in formato PDF gratuitamente! Trova il tuo manuale DVB11CPN - ROSIERES e riprendi in mano il tuo dispositivo elettronico. In questa pagina sono pubblicati tutti i documenti necessari per l'utilizzo del tuo dispositivo. DVB11CPN del marchio ROSIERES.
MANUALE UTENTE DVB11CPN ROSIERES
LIBRETTO D'USO E MANUTENZIONE
PIANI DI COTTURA DA INCASSO DOMINO BARBECUE
PCDVB11CPN
DATI TECHNICI
| MODELLI | PCDVB11CPN |
| Tensione | 230V |
| Corrente | 16A |
| Potenza massima W | 2400 |

1. Montaggio
L'installazione è a carico dell'acquirente. La Casa Costrutrice è esonerata da questo servizio. Gli eventuali interventi richiesti alla Casa Costrutrice, se dipendono da un'errata installazione, non sono compresi nella garanzia.
I piani da incasso sono predisposti per l'installazione in top realizzati in qualsiasi materiale, perché resistente ad una temperature di 100^ , e di spessore variabile fra 25 e 40 mm. Qualora il piano venga incassato in modo che sul suo lato sinistro o destro ci sua parete di un mobile, la distanza fra la parete verticale ed il bordo del piano, delve essere almeno 150 mm; la distanza fra la parete posteriore ed il bordo del piano delve essere invece di almeno di 55mm. Tra il piano da incasso ed il vano sottostante delve essere insertita una parete di divisione in materiale isolante (legno o similari). Tale parete delve distare almeno 10 mm dal fondo della cassetta.
X=minimo150mm
Z=10mm
Y = parete divisoria

Fissaggio al mobile
Il fissaggio al mobile è ottenuto mediante staffe di fissaggio che vengono fornite come accessori. Nella parte inferiore della cassetta sono più predisisti i fori dove vengono inserte le spine (A) cui devono essere avvitate le apposite viti (C) che bloccano le staffe di fissaggio (B).
A = spina da insere sul fondo del piano ad incasso
B = staffa di fissaggio
C = vite

Applicazione sigillante
Importante-La figura qui sotto indica come deve essere applicato il sigillante su tutto il perimetro.
Quest'apparecchio è stato concepito per uso di tipo non professionale all'interno d'abitazioni.

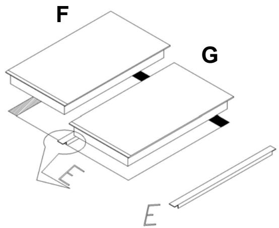
Accoppiamento di due o più pianeti domino
Eseguire un taglio sul piano di lavoro che permetta l'incasso di due o più piani domino.
Posizione innanzitutto il supporto in acciaio (E) fornito in dotazione nell'imballo e successivement inseire il piano di cottura (G) come indicate nella figura sottostante. Nello spazio rimasto libero inseire il piano di cottura (F).
Il supporto in acciaio, con la guarnizione presente sui due piani domino garantirà una chiusura ermetica contro l'eventuale infiltrazione di liquidi.
Il fissaggio dei domino al top è ottentuto mediante l'utilizzo del kit di staffe in dotazione.

2. Collegamento elettrico
Controllare i dati riportati sulla targhetto posta sul fondo del piano di cottura, quando accertarsi che tensione nominale di rete e potenza disponibili, siano adatte al suo funzionamento.
Prima di effettuare il collegamento verificare l'efficienza dell'impiano di messa a terra.La messa a terra dell'apparecchio è obbligatoria per Legge. La Casa Costrutrice declina agli responsabilità per eventuali danni a persona e a cose derivanti alla mancata osservanza di但这a norma.
Per eventuali modelli sprovvi di spina, montare sul cavo una spina normalizzata che sa in grado di所提供 r il carico. indicato in targhetta.lI conduttore di terra del cavo è contraddistinto dai colori giallo verde.In agli caso la spina deve essere accessibile.
Nel caso si desideri realizazare una connessione fissa alla rete, si dovrà interporre, tra l'apparecchio e la rete un dispositivo onnipolare con aperture minima fra i contatti di almeno 3 mm.
Per il collegamento del cavo con il piano di cottura è necessario allentare e rimuovere il coperchio della morsettiera sino ad arrivare ai contatti nel suo interno. Effettuato il collegamento, il cavo deve essere bloccato con il systema di fissaggio in dotazione e il coperchio della morsettiera immediatamente richiuso.
In caso di sostituzione del cavo di alimentazione, il conduttore di terra (giallo-verde), deve obbligatoriamente essere più lungo di 10mm rispetto ai conduttori di linea.
Utilizzare esclusivamente un cavo in gomma tipo H05RR-F; la sezione dei cavetti deve essere di 3 × 1.5 ~mm .
DICHIARAZIONE DI CONFORMITA. Quest'apparecchiatura, nelle parti destinate a venire a contatto con sostanze alimentari é conforme alla prescrizione della dir.CEE89/109 e al D.L.. di attuazione N° 108 del 25/01/92.
CE Apparecchio conforme alle direttive europee 89/336/CEE, 93/68/CEE, 73/23/CEE e successive modifiche.

ISTRUZIONI PER L'USO
Importante: Prima di cucinare per la prima volta è necessario provedere alla pulizia del piano di cottura. Dopodiché si passera all'accensione dell'elemento riscaldante (resistenza) per 5 minuti alla massima gradazione di temperatura. In questo modo si eliminerà il rischio che durante la cottura il cibo possa assorbire l'odore che la resistenza produrrà durante la prima accensione.
Per cucinare si deve agire sulla manopola posta sulla parte frontale del piano di cottura. La luce spia che si accende sta ad indicare l'accensione del piano di cottura e il riscaldamento della resistenza, che può cuocere più o meno velocimento in funzione della posizione scelta della manopola da 1 a 12.
Alla posizione 12 si avvertirà un leggero scatto che indica la massima selezione che si può raggiungere. La resistenza diverrà in breve rovente e la cottura sare di tipo "grill".
Invece nelle posizioni intermedie si otterra una cottura più uniformeanche nelle parti più interne dei cibi.Tali positioni sono consigliate per la cottura di pietanze delicate.


SPIA SEGNALAZIONE
La vaschetta contiene al suo interno roccia lavica, la cui funzione è quella di assorbire le gocce d'olio o di grasso che si producono durante la cottura. Inoltre accumulare calore alla resistenza consentendo di ottenere una grigliata più uniforme, molto simile a quella che si ottiene usinga la carbonella.Per ottenere migliori risultati si consiglia quando di preriscaldare la roccia lavica per almeno 10 minuti sulle posizioni più basse prima della cottura dei cibi.
Alippo della roccia lavica pue essere utilizzata acqua (il livllo consigliato nella vaschetta deve essere almeno 3cm).Essa elimina la formazione di odori sgradevoli alla compromettere le prestazioni del barbecue.
PULIZIA E MANUTENZIONE
Alcuni consigli per cucinare
Note importanti
Attenzione: le superfici delle zone di cottura divertano roventi durante l'uso. Per quello motivo è consigliabile Maintainere i bambini lontano alla loro portata.
Evitate di far cadere oggetti duri sulle superfici in vetro. Il materiale in alcune condizioni è sensibile ai carichi meccanici. Carichi d'urto puntiformi possono condurre alla rottura delle superfici. Nel caso si provochino inavvertamente rotture, crepe o incrinature sul piano in vetroceramica, è necessario interrompere immediatamente l'uso del piano di cottura e contattare l'assistenza clienti.
E' inoltre necessario assicurarsi che i cavi e le spine di eventuali elettrodomestici inserte in prese nelle vicinanze non vengano mai aicontatto con le superfici di cottura calde.
Il piano di cottura in nessun caso deve essere pulito facendo uso di dispositivi di pulizia a vapore o simili.
Dopo l'uso è necessario pulire agli volta il piano di cottura, aspettando prima che si raffreddi. Anche i più piccoli residui, al successivo uso finirebbero per carbonizzarsi. Usate solamente i prodotti detergenti consigliati e reperibili in commercio. Le parti in acciaio devono essere pulite con prodotti idonei non abrasivi o corrosivi. Evitare prodotti a base di cloro(varechina, ecc.). La paglietta d'acciaio, spugne abrasive e polveri sono Produce graffiti. I prodotti per la pulizia del forno non sono indicate perché corrosivi.
Lo sporco leggero più essere eliminato per mezzo di un panno umido o con soda calda. I residui di detergente devono essere eliminati con acqua fredda e le superfici devono quando essere accuramente asciugate. Le macchie d'acqua resistenti all'acqua bolrente possono essere eliminate con aceto e limone, o con liquidi anticalcare. Se uno di questi detergenti viene a contatto con la cornice o la vaschetta in acciaio,queste devono essere immediatamente pulite con un panno bagnato perché sono sostanze acide.
Le incrostazioni sul vetro possono essere asportate agevolmente con un raschetto per vetro. Il manico del raschetto non deve essere di materiale plastico, poiché potrebbe incollarsi sulle superfici calde. Prestate attenzione durante il suo uso: pericolo di ferimento.
Per facilitare la pulizia, la pietra lavica e la vaschetta in acciaio che la contiene possono essere inserite nella lavastoviglie.
ASSISTENZA TECHNICA
Prima di chiamare il servizio di Assistenza Tecnica procedere nel modo seguente:
In caso di mancato funzionamento del piano vi consiglio di verificare il buon inserimento della spina nella presa di corrente.
Nel caso non s'individui la causa del mal funzionamento,specnere l'apparecchio, non manometterlo e chiamare il Servizio di Assistenza Tecnica.
L'apparecchio è corredato da un certificato di garanzia che le permette di usfuquire del Servizio Assistenza Tecnica.
Il certificato di garanzia dovrè essere da Lei conservato, debitamente compilato, per essere molto al Servizio Assistenza Tecnica Autorizzato, in caso di necessità, unitamente ad un documento fiscalmente valido rilasciato dal rivenditore al momento dell'acquisto (bolla di consegna, fattura, scontrino fiscale, altro) sul quale siano indicate il nominativo del rivenditore, la data di consegna, gli estremi identificativi del prodotto ed il prezzo di cessione.
ManualeFacile