BHG400SS - Fogão BAUMATIC - Manual de utilização gratuito
Encontre gratuitamente o manual do aparelho BHG400SS BAUMATIC em formato PDF.
Baixe as instruções para o seu Fogão em formato PDF gratuitamente! Encontre o seu manual BHG400SS - BAUMATIC e retome o controlo do seu dispositivo eletrónico. Nesta página estão publicados todos os documentos necessários para a utilização do seu dispositivo. BHG400SS da marca BAUMATIC.
MANUAL DE UTILIZADOR BHG400SS BAUMATIC
Instalacao - Uso - Manutencao
Caro Cliente,
Agradecemos, muito sinneramente a sua escolha, e aproveitamos da ocasião para o felicitar. Este novo produto, que foi projectado com grande atençao e construido com os melhorhes materiais, foi verificado e aprovado, de maneira a dar-lhe imensa satisfação para um cozinho perfeito. Por consiguito, pedimos que leia e siga as vezes instruções que lhe permitirão de alcantar excellentes resultados desde
o ∈cio da sua utilização. Juntamente com este moderno aparecido, aproveitamos para lhe enviar os outros melhores cumprimentos.
O FABRICANTE
Indice
Instruções para o'utilizar 63
Instalacao 64
Utilização 64
Manutenção 67
Instruções para o instalador 68
Instalacao 68
Ligaçao do gás 70
Conexão eletrica 70
Characteristicasdaspecasutilizar73
ESTE PRODUTO FOI CONCEBIDO PARA UMA UTILIZACAO DE TIPO DOMESTICA. O FABRICANTE DECLINA TODAS AS RESPONSABILIDADES NO CASO DE EVENTUAIS DANOS A COISAS OU PESSOs DERIVADOS DE UMA INSTALAÇÃO INCORRECTA OU DE USO IMPROPRIQ, ERRONEO OU ABSURDO.
OAPARELhONAODEVESERUSADOPORPPESOAS (INCLUSIVE CRIANÇAS) COM CAPACIDADES FISICAS, SENSORIAIS OUMENTAIS REDUZIDAS, OU

Italiano

English

Français

Deutsch

Espanol

Portugues

POR PESSOAS QUE NÃO TENHAM EXPERIÊNCIAS NEM CONHECIMENTO NECCESSÁRIO A NÃO SER QUE SEJAM SUPERVISIONADAS E INSTRUIDAS, SOBRE O USO DO APARELHO, POR UMA PESSOA RESPONSEAVEL PELA SEGURANÇA DAS MESMAS. AS CRIANÇAS DEVÉM SER CONTROLADAS PARA CONTROLADAS PARA SE TER CERTEZA DE QUE NÃO BRINQUEM COM O APARELho.
Instruções para o uso de paino
Instalacao
Todas as operações relativas à instalação (ligação eletrica, ligation de gás, adaptação ao tipo de gás, regulações subsequentes, etc.) terao de ser efectuadas por pessoal qualificado, segundo as normas em vigor. Para instrções发展目标as, veja-se a parte reservada para o专业技术e instalador.
Utilização
Modo stand-by (Fig. 1-2)
Apos ter alimentado o dispositivo, sera realizado um breve auto-diagnóstico e uma calibração do teclado por toque (todos os displays e leds permanecem aceses durante algunos segundos). No fim da operação o display está Completely apagado. Desta maneira está possivel acender o dispositivo somente pressionando a tecla ON/OFF.
Acendimento do Plano de Cozedura
Para acender o dispositivo é necessário premir de maneira continua a tecla ON/OFF pelo menos por 2 segundos. O dispositivo acende-se e os displays relativos ao queimadores visualizarao o;nivel zero,que corresponde ao estado de queimadores apagados.
Acendimento de um queimador
Para acender um queimador, premir as relativas teclas "+" e "- no pailen de comandos. A pressao das teclas deve ser realizada de modo simultaneo e continuo, pelo menos por 1 segundo. No acendimento do queimador o nivel de caudal do queimador sera programado com o caudal medio o relativo display indicar o nivel 3.
Cada queimador, para o qual não está programado o relativo temporizador,DSLa-se automaticamente antes 4 horas deestrfunctionamentocontinuo.
A ligação do queimador está sinalizada quando peguês em um lugar posicionado embaixo do relativo display, ou quando permance activo durante todo o tempo em que o queimador permanecer acesso.
Regulação do nível da chama de um queimador
como queimador aceso, paraacular o nivel de caudal é necessario premir a tecla "+" vice-versa, para diminuir o nivel de caudal, é necessario premir a tecla "-". Para realizar uma modificação continua do nivel de caudal, basta manter premida a tecla "+" ou "-e solta-la no nivel desejado. O nivel de caudal pode ser mudado de 1 a 5.
Apagamento de um queimador
Para apagar um queimador é necessário premir simultaneamente as respectivas teclas "+" e "-" por um breve instante.
Apagamento de todos os queimadores
Para apagar simultaneamente todos os queimadores basta premir brevamente a tecla ON/OFF, esta maneira o disposicao ficar em condicao de stand-by.
Programação do tempo de desigamento de um queimador
É possével programar, de modo independente para cada queimador, um tempo às tem do qual o queimador deslagasse automaticamente.
Para selección a programação do timer de um queimador é necessário premir a tecla PT. No display de visualização da hora, aparecerá aanela Time, esta alta, premindo a tecla “-” ou “+” do queimador que se quer temporizar, aanela Time desaparecerá e aparecerá a indicação 0.00. O queimador selecionado é reconhecido pelo acendimento do relativo Led. O algarismo que pesca, à esquerda do ponto, indica as horas, os que piscam, à direita do punto, indicam os minutos. Premindo as teclas “+” ou “-” do queimador selecionado, é possivel augmentar ou diminuir o número de horas de funçãoamento de 0 a 9. Mantendo as teclas “+” ou “-” premidas, a variação do número de horas realiza-se de modo continuo.
Para específico o número dos Minutes, premir novamente a tecla PT. Activa-se a intermitência dos algarismos à direita do punto separator. Para programar os minutos actuar como indicado para as horas.
Durante a programação do tempo é possivel, em qualquermomento,resetaraprogramaçãoactual premindo simultaneamenteasteclas“+”e“-”.Um tempo igual a zero desactivo or temporizadordoqueimador Para confirmar o tempo visualazo no display é necessario premiratela PT.Nestaaltitudepermanecemacesos,de modo intermitente,sososalizadoresdosqueimadores供求 temporizador estáactivo.
No display do relógio aparece o tempo remanescente para o desligamento indicando um 't' narente das horas (por ex.: t0.12). Se, durante a programação não for premida nenhuma teça por um periodo superior a 10segundos, o procedimento de programação interromperse de modo automatico e voltará para a visualização principal. Eventualis programações em的方式来 de 修改 no queimador selecionado não se perdem o relativo timer resultará activo.
O timer pode ser programado tanto com o queimador desligado quando aceso, e a contagem partirá imeditamente après a confirmação do tempo programado. quando a contagem termina, o queimador temporizado é desactivado e, ao mesmo tempo, é emitida

una sequência de sinais sonoros, que dura 30 segundos.
Esta sequência pode ser interrompida mediante a tecla PT.
O desligamento de um queimador pelo'utilizarou determina a desactivacao do relativo timer.
Notaparamodelo2gas
Se también os queimadores foram programados simultaneamente, sera visualizzato no display do timer a contagem relativa ao queimador que se desligar antes e, o relativo Ledarethesequeimador piscara com una frequencia maior em relacao ao除外.
Notaparaomodelo Dual
Para este Modelo a programação pode ser efetuada quando com as teclas -B e +B. Se forem aceses ambas as coroas, a temporização sera valida para ambas as coroas; se forca acesa so a coroa interna, a temporização sera valida para a coroa interna.
Regulacao do relógio
Após interruptções de corrente électrique, sera necessário programar a hora visualizada pelo relógio interior no dispositivo. Para regular o relógio é necessário premir simultaneamente as teclas PT e KLazo些 por 3 segundos.
O algarismo que pesca, à esquerda do punto, indica as horas, os algarismos que piscam, à direita do punto, indicam os minutos. Premindo as teclas “+A” ou “-A” é possível fazer ou diminuir as horas e, mantendo premidas as teclas “+A” ou “-A”, a modificação do número de horas realiza-se de modo continuo.
Para regular os minutos, premir novamente a tecla PT. Activa-se a intermitência dos algarismos à direita do punto separador e(depí, para modifier os minutos, actuar como indicado para as horas. Premindo a tecla PT memoriza-se a horário programado.
Desbloqueio do queimador
O relativo display dos queimadores em estado de bloqueio visualizam a letra "b". Activa-se o desbloqueio premindo simultaneamente a tecla "-A" e a tecla "KL" de modo continuo pelo menos por 2 seg. No fim do desbloqueio os queimadores restabelecem-se no quando 0, prontos para serem novamente aceses.
N.B.: Se tiver que repetir o procedimento de desbloqueio por 5 vezes consecutivas num periodo de 15关键时刻, o dispositivo visualizará Ft06 e não aceitar a nenhum pedido de desbloqueio por outros 15关键时刻.
Bloqueio do teclado
Activa-se premindo so a tecla "KL" pelo menos por 2 segundos. Todos osnoxis dos queimadores permanecarao nolvelactual.O estado de teclado boqueado manifesta-se com o acendimento dos pontos
decimais nos displays do nível de capacidade relativos a cada queimador. Durante o bloqueio do teclado não é mais possivel modifier os níveis dos queimadores ou mudar as programações do timer, mas é posível, todavia, desligar o plano premindo a tecla ON/OFF.
Não é possivel desbloquear um queimador, em estado de bloqueio, quando o bloqueio do teclado estiver activo. Portanto, está necessário desbloquear o teclado antes de realizar o procedimento de desbloqueio dos queimadores.
Desbloqueio do teclado
Desbloqueia-se o teclado premindo a tecla "KL" e a tecla "+"pelo menos por 2 seg. O desbloqueio do teclado manifesta-se com o desligamento dos pontos nos displays do nivel da chama.
Calor Residual
Quando se desiga um fogo, aparece noativo display um "H" para avisar que, naquele queimador, a temperatura estáagate muito elevada e o relativo led, perto do display do temporizador, quando permanece acesso.
O symbolo "H" e o led apagam-se successivement quando a temperatura do relativo queimador tiver abaixado.
Cozeduras especialis lentas (Duty cycle)
Esta funcao permite acender e apagar qualquer queimador do plano de cozedura, conforme a sequencia indica na tabela.
A funcão se activa premindo simultaneamente a tecla "+" do fogo em什麽 e a tecla PT (o queimador).
interessado deve estar apagado no momento em que se.
activa a funcao).
O queimador se acende no;nivel 3 e, nesse momento, pode-se programar, actuando nas teclas "+"e"-, o;nivel no qual aplicar a funcao.
Se, por exemple, for programado o valor a;nível 1, o queimador permanecera aceso por 50 segundos,deois desliga-se por 10 segundos,repetindo this ciclo ate que outilidador nao apague o queimador.
Se outilidador nao intervir,apos60minutodesliga-se automaticamente.Quando esta funcao estiver activa,o displaydoqueimador,na qualestayactiva,pisca.

BHG4205802GTCX
Fig. 1

BHG400SS
Fig. 2
N.B.
- Recomenda-se o uso de panelas com diametro oficial ao dos queimadores evitando que a chama, quando estiver alta, saía por debaixo das ditas panelas (Fig. 3):
- não deixar panelas bazias sobre o lume aceso;
Quando terminou de cozhar, siga a boa regra de fechar igualmente a torneira principal do conduto e/ou do balao de gás.

GAS
dual 20-32
rápido 020-24
auxiliar* 0 10-14

Fig. 3
Manutenção
Antes de qualquer operacao, desligue o aparelho da corrente eletrica.
Para uma maior duracao, eindispensavel executar periodicamente uma esmerada limpeza geral ao aparecido tomando sempre em consideracao o que segue:
- as partes em vidro, aço e/ou esmaltadas terão de ser limpas com produits apropriados (que se encontrar no commercio) e que não sejam nem abrasivos nem corrosivos. Evite de usar Produtos om base de cloro (substâncias para branquear, etc.);
- evite de deleixar substancias acidas ou alcalinas (vinagre, sal, sumo de limao, etc.) sobre a chapa de travailho;
- os bicos de gás e as��enias tampas (partes moveris do queimador) tem de ser lavados frequently com agua fervente e detersivo, tomando grande cuidado com possíveis incrustações. Depois, exugue com cuidado, e controle que nenhum dos buracos estejam completeness ou parcialmente obturados;
Controle periodicamente o estado de conservacao do tubo flexivel de alimentacao do gas.
No caso de perdas de gás, chamar imeditamente o pessoal qualificado, para a substituição do dito tubo.
Este aparecido não possui um dispositivo de descarga do produits da combustão. Recomenda-se por consiguito, que venha instalado em Lugares suficientemente arejados segundo as dispositions das leis em vigor. Aquantitye necessaria de ar para a combustao, não devera ser inferior a 2.0m^3 /h por cada kW de forca instalada. Veja aabela relativa a forca dos queimadores.
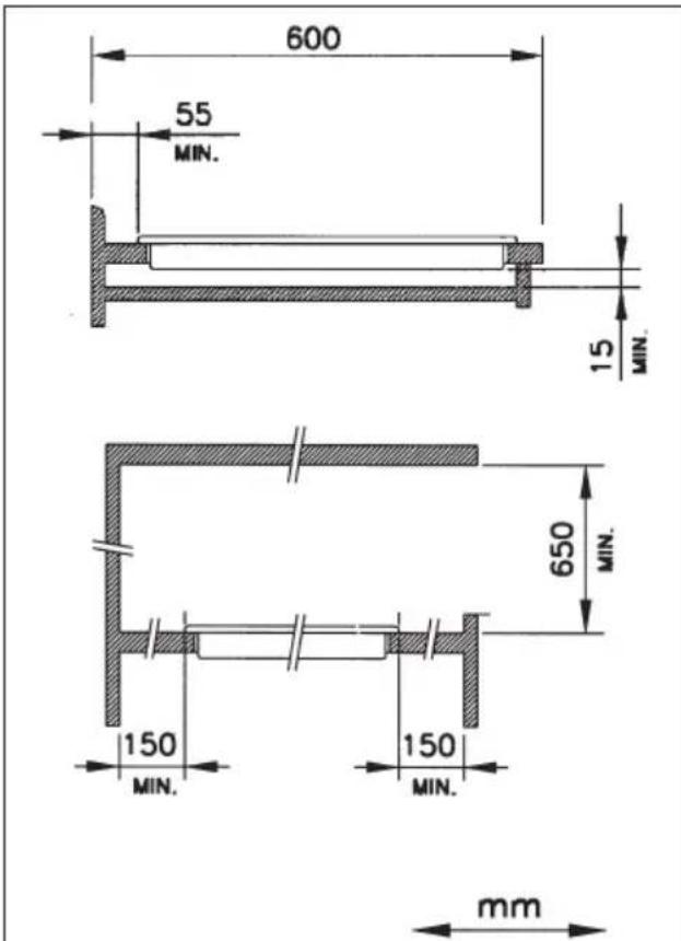
Posicionamento (Fig. 4)
Antes de introduzir o plano prepare a guarança de vedação ao redor de todo o perimetro da abertura do encaixe.
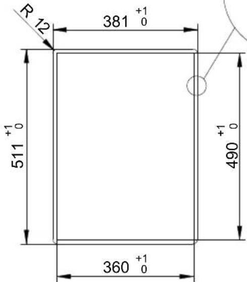
As medidas de encaixe está indicadas nas figuras 6-7-8-9.
Para os modelos Filotop é necessário realizar um abaixamento na zona perimetral da abertura de encaixe por uma profundidade de 1,5mm .
Para os modelos Semifilotop esse abaixamento não deve ser realizado.
A instalação pode ser realizada em various materiais, mais como em aço, marmore, conglomerados, sintéticos,madeira e madeira revestida com laminados plácicos, sempre que resistentes a uma temperatura de 90^

Sob o pailen deve ser instalado um pailen de madeira ou除外 material isolante, posicionado a uma distancia minima de 15mm do involucro do plano.

Fig. 5


1-AUXILIAR
2 - RAPIDO
NOTA: para a versao Semifilotop nao é necessario realizar o abaixamento de 1,5 mm.



Fig. 6
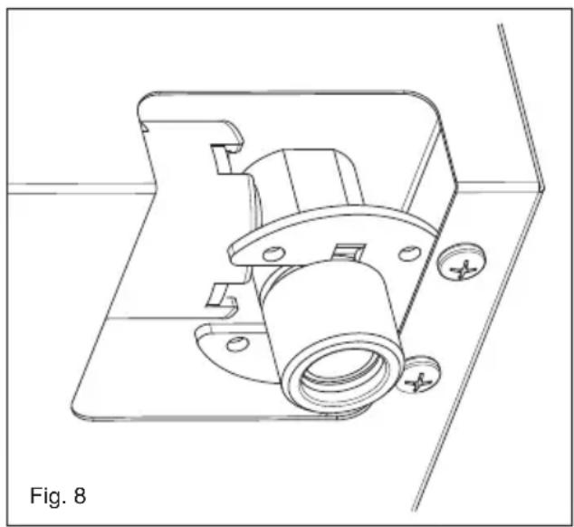
Ligação do gás (Fig. 8)
A ligação na botija ou na instalação de rede deve ser realizada por pessoalrialicado e, como prescrito pelas normas UNI-CIG 7129 e 7131 em vigor e successivasactualizacoes,controlandopreventivamente que o aparecido esta predisisto para o tipo de gás disponible. Em caso contrário ver: "Adaptação para um tipo de gássimilare".Verificar也是非常que a pressão de alimentação respeite os valuores indicados naabela: "Caracteristicas dosutilizadores".

Ligação com tubo metalico rígido/semi-rígido
Realizar a ligação com uniónes e tubos metalicos (mesmo flexíveis) de modo a não provocar esforços nos orgados internos do aparelho.
NOTA: terminada a ligaçao, certificque-se da total ausencia de fugas por meio de uma soluçao com sabão. NOTEA IMPORTANTE: realizar a ligaçao exclusivamente com unidos e tubos metalicos (tubo flexivel de aço inoxidavel de parede continua ou com tubo rigido de cobre ou aço) e de modo que possam ser inspeccionados ao longo de todo o comprimento.
Conexão eletrica (Fig. 9)
O instalador deve ser qualificado e é responsavel pela correcta ligação eletrica e respeito das normas de seguranca.
Antes de efectuar a conexão eletrica, sera preciso assegurar que:
- as caracteristicas da instalacao sigam o que está indicado sobre a chapa da matriz aplicada no fundo
da chapa de cozimento;
- a instalacao esteja munida de uma conexao à ter-ra eficaz, segundo as normas e disponções das leis em vigor. A conexão aterra é obligatório nosermos da lei.
No caso que o aparecido não esteja命中o de cabo e/ou da relativa tomada, utilize o material apropriadó para absorver o que está indicado na chapa da matriz, para uma devida temperatura de cozimento. O tubo não deverá nunca atingir a temperatura de 50^ acima da temperatura ambiente.
Para efectuar a ligation directa à rede é necessário intalar um interruptor omnipolar dimensionado para a cargo nominal que, garantá a desconexão da rede e, com uma distência de abertura dos contactos que consinta adesconção completeness dascondências de sobretensão de categoria I1, em conformidade com as regras de instalação (o cabo de terra amarelo/verde não deve ser interrompido).
A tomada ou o interruptor onipolardeerao ser posicionados para una fácil manipulacao do aparelho instalado.

Adaptação a diversostipso de gás (Fig. 10)
No caso que o aparecido esta predisisto para um tipo de gás不一样 do gás de alimentação que utilizez, deverá proceber da segunte forma:
- substitua os bicos (Fig.12) ocm outros para tipo de gás que utiliser (veja aanela relativa às “Caracteristicas das peças a utiliser”;

Procedimento de regulação da capacidade minima dos queimadores
O procedimento para a@aquisicao dos-minimos permite ao operador a modifieda da capacidade minima pre-definida, adaptando cada queimador com ascharacteristicas da rede de distribuicao de gas na qual o plano de cozedura está ligado.
O procedimento activa-se premindo as teclas "+"e-A" simultaneamente com a tecla ^+ B" de modo continuo por 3 seg, com todos os queimadores desligados.
Aactivationo proceedingsedegreguaocestasinalizada no display com a escrita MINNestaaltitude,e possivel selecionar o queimador a ser regulado actuando nas respectivas teclas ^+ e-.Premir depuis uma das teclas, o queimador selecionado acende-se no minimume sera
possívelLERoudiminuracapacidade no nivel minimoactuando nasteclas ^+ e - relativasaoproprio queimador.Durante o procedimento de regulação os displaysdneveldachamaindicarao -一 se o minimoprogramado corresponder comaprogramacaodefabrica, sa indicaocudara para " ^ 中 ou " ^ 中 demode intermitente, indicando respectivamenteumacapacidade superior ou inferior em relaço a pre-definida.O procedimento termina premindo atecla PT.Os niveis de capazidade minima sào,portanto,adquiridos e memorizadospelodispositivo,eseraoutilizadosnoemprego normal do planocozedura.
Selecao do tipo de gás combustivel
É possível configurar o plano de cozedura para o funcionalmente com various gases (ver tabela 1). Para fazer o procedimento de seleção do gás combustível empregado é necessário ter o plano a funcional e com todos os queimadores desligados. Basta premir simultaneamente as teclas “-” do queimador A, “-” do queimador B e a tecla P-elo menos por 2 segundos. O inico do procedimento de seleção do tipo de gás combustível é assinalado pelo apagamento dos displays de nível dos queimadores eleo aparecido, nos displays do temporizador, da escrita “2020”, “3029”, “2525” ou “2010”, conforme a configuraçãoactualmente em uso. É possível escolher a programação desejadautilizando as teclas A- e A+. Para terminar o procedimento o operador deve premir a tecla PT.
Aactivationdessafuncaocomportoocancelamento de eventuais temposdeapagamento programados para os queimadores.
Auto-diagnóstico das placas electrónicas
As placas electronas realizam um controlo continuo do proprietary estado. Caso se verificarem eventuales problemas hardware ou avarias no interior da placar capazes de prejudicarem a segurar do'utilizar final, o dispositivo posiciona-se num estado "seguro"onde as electrovalvulas desligam-se e nos displays aparecera uma codificacao relativa ao tipo de avaria.

| Erro visualizzato | Tipo de anomalia Possível cause Possivel SOLUTION | |
| B | único queimador em estado de bloqueio | Falta gásRestabelecer o gás e realizar a operação de desbloqueio dos queimadores |
| Eléctrodo de ionização sujo ou não alcancadopela chamaLimpar ou reposicionar o eletródo e realizar a operação de desbloqueio dos queimadores | ||
| Falta de ligaçao à terra do disposítivoControlar as cabagens e realizar a operação de desbloqueio dos queimadores | ||
| F | Chama parasita / anomalia no circuito de detectação de chama noúnico queimador | Errada cabagem dos electrolydes de ionização Controlar as cabagens |
| Avaria no circuito Substituir o disposítivo | ||
| Flt00 | Anomalía no circuito de controlo da válvula principal | Avaria no circuito Substituir o disposítivo |
| Flt01 | Anomalía no circuito de tensaode referência | Avaria no circuito Substituir o disposítivo |
| Flt02 Anomalía no circuito watchdog Avaria no circuito Substitir o disposítivo | ||
| Flt03 | Anomalía nas portas microcontrolador | Avaria no circuito Substitir o disposítivo |
| Flt04 Anomalía Eeprom Avaria no circuito Substitir o disposítivo | ||
| Flt05 | Anomalía no circuito de pilotagem das válvulas | Avaria no circuito Substitir o disposítivo |
| Flt06 | Superação do limite máximo de 5 desbloqueiros em 15 minutos | Foi realizada a operação de desbloqueio dos queimadores mais de 5 vezes em 15 minutosAguardar 15 minutos ecedes realizar a operação de desbloqueio dos queimadores |
| Flt08 | Anomalía no circuito de alimentação | Avaria no circuito Substitir o disposítivo |
| Flt09 | Anomalía genérica | Foi cortada a tensão no disposítivo quando precedenteamente verificou-se及其他 tipo de avariaRealizar a operação de desbloqueio dos queimadores |
| Anomalia ressoador Avaria no circuito Substitir o disposítivo | ||
| Flt0A | Todados os queimadores está em estado de bloqueio | Falta gás Falta gásLimpar ou reposicionar os electrolydes e realizar a operação de desbloqueio dos queimadores |
| Falta de ligação à terra do disposítivoControlar as cabagens e realizar a operação de desbloqueio dos queimadores | ||
| Fuga de gás por uma válvula que causou o acendimento indesejado de um segundo queimador durante o acendimento do primeiro. A presence de chama no segundo queimador por mais de 10segundos causa esse tipo de anomalia.Substitir a válvula defeituosa | ||
| Flt0[ | Erros de comunicação na lógica de controlo | Avaria no circuito Substitir o disposítivo |
| Flt0E Erro no controlo do teclado | Pode ser que uma deformação mecânica tenha comprometido o apoio do teclado no vidro | Águardar durante algumas segundos a calibração do teclado, se o erro persistir cortar e fazerce de novo tensão e se àsinda houvererro substituira o disposítivo |
| Flt1E Erro hardware teclado Avaria no circuito | Controlar se a placá do teclado está inserrida corretoamento no conector. Substituira o disposítivo | |
| Flt2E Erro hardware teclado Avaria no circuito | Controlar se a placá do teclado está inserrida corretoamento no conector. Substituira o disposítivo | |
| CHARACTERISTICAS DAS PEÇAS A UTILizar | ||||
| QUEIMADORES DE GAS | ||||
| ALIMENTaçãoTIPO PRESSão mbarNORM. | QUEIMADOR | Ø BICOS1/100 | CAPACIDADETÉRMICA | CONSUMO |
| Gás natural G20 20 | r às pido 129 3000 286auxiliar 77 1000 95dual 71A-95B 4000 381 | €/h | ||
| GásIlicuefeitoG30/G31 28-30/37 | r às pido 87 3000 218auxiliar 50 1000 73dual 46A-65B 4000 291 | €/h | ||
| Gás natural G25 25 | r às pido 132 3000 332auxiliar 80 1000 111dual 71A-100B 4000 443 | €/h | ||
| G20 10 | r às pido 155 3000 286auxiliar 92 1000 95dual 80A-143B 4000 381 | €/h | ||

SERVIZIO ASSISTENZA TECNICA:0331-723318
Baumatic®
United Kingdom
Baumatic Ltd.,
Baumatic Buildings,
6 Bennet Road,
Reading, Berkshire
RG2 0QX
United Kingdom
Sales Telephone
(0118) 933 6900
Sales Fax
(0118) 931 0035
ManualFácil