BHG400SS - Cuisinière BAUMATIC - Notice d'utilisation et mode d'emploi gratuit
Retrouvez gratuitement la notice de l'appareil BHG400SS BAUMATIC au format PDF.
| Caractéristiques techniques | Cuisinière BAUMATIC BHG400SS, 4 foyers à gaz, four électrique, finition inox |
|---|---|
| Dimensions | Largeur : 60 cm, Profondeur : 60 cm, Hauteur : 85 cm |
| Capacité du four | 65 litres |
| Type de cuisson | Convection naturelle |
| Utilisation | Idéale pour la cuisson de plats variés, facile à utiliser avec des commandes manuelles |
| Entretien | Nettoyage facile grâce à la surface en inox, grilles amovibles |
| Sécurité | Système de sécurité pour les foyers à gaz, protection contre la surchauffe du four |
| Informations générales | Garantie de 2 ans, consommation énergétique classée A |
FOIRE AUX QUESTIONS - BHG400SS BAUMATIC
Téléchargez la notice de votre Cuisinière au format PDF gratuitement ! Retrouvez votre notice BHG400SS - BAUMATIC et reprennez votre appareil électronique en main. Sur cette page sont publiés tous les documents nécessaires à l'utilisation de votre appareil BHG400SS de la marque BAUMATIC.
MODE D'EMPLOI BHG400SS BAUMATIC
merci et sincères félicitations pour le choix que vous avez fait.
Ce nouveau produit, développé avec soin et fabriqué avec des matières de toute première qualité, a été soigneusement rodé pour satisfaire toutes vos exigences d'une cuisson parfaite.
Veuillez lire attentivement les instructions simples portées sur cette notice qui vous permettront d'obtenir d'excellents résultats dès la première utilisation. Nous vous souhaitons une entière et pleine satisfaction quant à l'utilisation de cet appareil moderne.
Notice d'emploi 28
Installation 28
Mode d'emploi 28
Entretien 31
Modalités d'installation 32
Installation 32
Raccordement au gaz 34
Branchementélectrique34
Caractéristiques utilisateurs 37
Toutes les opérations relatives à l'installation (branchement électrique, raccordement gaz, adaptation au type de gaz, réglages nécessaires, etc.) doivent être effectuées par des spécialistes suivant les normes en vigueur. Pour les instructions spécifiques, voir la partie qui concerne les modalités d'installation.
Modalités standby (fig. 1-2)
Après avoir mis l'appareil sous tension, on a assisté à un autodiagnostic rapide et à l'établissement du clavier à effleurement (tous les afficheurs et voyants restent allumés pendant quelques secondes), après quoi l'afficheur s'éteint. Dans cette modalité, on ne pourrait activer le dispositif qu'après avoir appuyé sur la touche ON/OFF.
Activation de la table de cuisson
Pour activer l'appareil, exercer une pression continue sur la touche ON/OFF pendant au moins 2 secondes. Celui-ci s'allume et les afficheurs relatifs aux brûleurs indiqueront le niveau zéro qui correspond à l'état des brûleurs éteints.
Allumage électronique d'un brûleur
Pour allumer un brûleur, appuyer sur les touches + et correspondantes sur le bandeau de commande. Appuyer simultanément et en continu sur les touches pendant au moins 1 seconde. À l'allumage du brûleur, le débit est réglé au niveau moyen et l'afficheur correspondant indique le niveau 3.
Les brûleurs dont le temporisateur correspondant n'a pas été programmé s'éteignent automatiquement au bout de 4 heures de fonctionnement continu.
L'allumage du brûleur est également signalé par l'indicateur positionné sous l'afficheur correspondant qui restera actif aussi longtemps que le brûleur restera allumé.
Réglage du niveau de flamme d'un brûleur
Lorsque le brûleur est allumé, appuyer sur la touche + pour augmenter le niveau de débit ; vice versa, pour réduire le niveau de débit, appuyer sur la touche -. Pour obtenir une variation continue du niveau de débit, il suffit de maintenir la touche + ou - enfoncée et de la relâcher au niveau souhaité. Le niveau de débit peut varier de 1 à 5.
Extinction d'un brûleur
Pour éteindre un brûleur, appuyer simultanément et brièvement sur les touches ^+ et ^-.
Extinction de tous les brûleurs
Pour éteindre simultanément tous les brûleu rs, il suffit d'appuyer brièvement sur la touche ON/OFF ; la table de cuisson se met ainsi en standby.
Programmation du temps d'extinction d'un brûleur
On peut régler indépendamment sur chaque brûleur un temps au-delà duquel le brûleur s'éteint automatiquement.
Pour programmer la programmation du temporisateur d'un brûleur, appuyez sur la touche PT. Sur l'afficheur de l'heure s'affiche le message Time ; à présent, lorsqu'on appuie sur la touche - ou + du brûleur qu'on souhaite temporiser, le message Time disparaît et l'indication 0.00 s'affiche. Le brûleur sélectionné est identifié par l'allumage du voyant correspondant. Le chiffre clignotant à gauche du point indique les heures, ceux de droite les minutes. En appuyant sur les touches - ou + du brûleur sélectionné, on peut augmenter ou diminuer le nombre d'heures de fonctionnement de 0 à 9. En maintenant les touches + ou - enfoncées, la variation du nombre d'heures est continue.
Pour spécifier le nombre de minutes, appuyez de nouveau sur la touche PT. Les chiffres à droite du point de séparation clignotent. Pour sélectionner les minutes, suivez la procédure de sélection des heures.
Durant la programmation du temps, vous pouvez à tout moment annuler le réglage actuel en appuyant simultanément sur les touches + et -. Un temps égal à zéro désactive le temporisateur du brûleur. Pour confirmer les temps affichés, appuyez de nouveau sur la touche PT. Seuls les indicateurs des brûleurs dont le temporisateur est actif clignotent.
L'afficheur de l'horloge indique le temps restant avant l'extinction, en affichant un t'avant les heures (par ex. t0.12). Si durant la programmation aucune touche n'est enforcée pendant un temps supérieur à 10 secondes, la procEDURE de réglage est automatiquement interrompue et l'on revient à l'affichage principal. Les évventuels réglages en cours de modification sur le brûleur sélectionné ne sont pas perdus et le temporisateur correspondant est actif.
Le temporisateur peut être programmé lorsque le brûleur est allumé ou éteint et le compte à rebours commencera immédiatement après la confirmation du temps sélectionné. À la fin du calcul, le brûleur temporisé s'éteindra et, au même moment, une série d'impulsions sonores se déclenchera pendant 30 secondes. Cette série pourra être interrompue en sélectionnant la touche PT.
L'extinction d'un brûleur de la part de l'utilisateur
détermine la désactivation du temporisateur correspondant.
Remarque pour le modèle 2 gaz
Si on programme les deux brûleurs simultanément, l'afficheur du temporisateur affiche le comptage correspondant; celui-ci s'éteint le premier et le voyant de ce brûleur clignotera à une fréquence supérieure par rapport à l'autre.
Remarque pour le modèle dual
Pour ce modèle, la programmation peut uniquement être exécutée au moyen des touches -B et +B. En revanche, si les deux couronnes sont allumées, la temporisation sera uniquement valable pour la couronne interne.
Réglage de l'horloge
Suite à des coupures de courant, vous devrez régler l'heure affichée par l'horloge interne du dispositif. Pour régler l'horloge, appuyez simultanément sur les touches Horloge PT et KL, pendant au moins 3 secondes.
Le chiffre clignotant à gauche du point indique les heures, ceux de droite les minutes. En appuyant sur les touches +A ou -A, vous augmentez ou diminuez les heures, et en maintenant la touche +A ou -A enfoncée, le nombre d'heures change en continu.
Pour régler les minutes, appuyez de nouveau sur la touche PT. Les chiffres à droite du point de séparation clignoteront ; puis, pour modifier les minutes, suivez la procédure de réglage de l'heure. En appuyant sur la touche PT, on mémorise l'heure sélectionnée.
Déblocage du brûleur
L'afficheur correspondant des brûleurs bloqués affiche le caractère "b". On effectue le déblocage en appuyant simultanément sur les touches -A et KL pendant au moins 2 s. Une fois débloqués, les brûleurs seront rétablis au niveau 0, prêts pour un nouvel allumage.
N. B.: Si vous repêtez la procédure de déblocage 5 fois de suite en 15 minutes, le dispositif affiche Ft06 et n'acceptera plus aucune demande de déblocage au cours des 15 minutes suivantes.
Blocage du clavier
On bloque le clavier en appuyant sur la touche KL pendant au moins 2 secondes. Tous les niveaux des brûleurs se maintiendront au niveau actuel. L'état de blocage du clavier se manifeste par l'allumage des points décimaux sur les afficheurs du niveau de puissance relatifs à chaque brûleur. Durant le blocage du clavier, il est impossible de modifier les niveaux des brûleurs ou les réglages du temporisateur, mais il est always possible d'éteindre le plan de cuisson en appuyant sur
la touche ON/OFF.
Il est impossible de bloquer un brûleur bloqué si le blocage du clavier est actif. Il faudra donc débloquer le clavier avant d'exécuter la procédure de déblocage des brûleurs.
Déblocage du clavier
On débloque le clavier en appuyant sur les touches KL et +A pendant au moins 2 s. Le déblocage du clavier se manifeste par l'extinction des points sur les afficheurs du niveau de la flamme.
Chaleur résiduelle
Lorsqu'on éteint un foyer, l'afficheur correspondant indique le caractère « H » pour signaler le brûleur dont la température est encore élevée et le voyant correspondant situé à proximité de l'afficheur du temporisateur reste allumé.
Le symbole « H » et le voyant s'éteignent lorsque la température du brûleur a baissé.
Cuissons spéciales lentes (duty cycle)
Cette fonction permet d'allumer et d'éteindre un brûleur quelconque de la table de cuisson, selon la séquence indiquée dans le tableau.
| NIVEAU SELECTIONNE | 1 2 | 3 4 5 | |||
| TEMPS D'EXTINCTION | 10 Sec. | 20 Sec. | 30 Sec. | 40 Sec. | 50 Sec. |
| TEMPS D'ALLUMAGE | 50 Sec. | 40 Sec. | 30 Sec. | 20 Sec. | 10 Sec. |
On active cette fonction en appuyant simultanément sur la touche + du foyer auquel on souhaite l'appliquer, et sur la touche PT (le brûleur concerné doit être au moment où l'on active cette fonction).
Le brûleur s'allume au niveau 3 et l'on peut à présent sélectionner le niveau auquel appliquer cette fonction, en appuyant sur les touches + et -.
Si on sélectionne par exemple la valeur au niveau 1, le brûleur reste allumé pendant 50 secondes, puis il s'éteint pendant 10 secondes; ce cycle se répète jusqu'à l'extinction du brûleur de la part de l'utilisateur.
Il s'éteint automatiquement au bout de 60 minutes, si l'utilisateur n'intervient pas. Lorsque cette fonction est active, l'afficheur du foyer correspondant clignote.



- On vous conseille d'utiliser des casseroles avec un diamètre proportionné aux brûleurs, évitant que la flamme au maximum déborde de leur fond (Fig. 3);
- Ne laissez jamais de casseroles vides sur le feu allumé; à la fin de la cuisson il faut fermer le robinet principal du conduit et/ou de la bouteille.

Entretien
Avant toute opération, débrancher l'appareil du réseau électrique. Pour assurer une longue vie à l'appareil, il faut absolument effectuer de temps en temps un nettoyage général soigneux en gardant à l'esprit ce qui suit:
- Les parties en vitre et acier doivent être nettoyées avec des produits appropriés (vendus en magasins) non abrasifs ni corrosifs. Eviter les produits qui contiennent du chlore (eau de Javel/etc.).
- éviter de laisser sur la table de travail des substances, acides ou alcalines (vinaigre, sel, jus de citron, etc.);
- les orifices du brûleur et les chapeaux (pièces mobiles du brûleur) doivent être fréquemment lavés avec de l'eau bouillante et du détergent, en ayant soin d'enlever tout incrustation, ensuite ils doivent être essuyés soigneusement, en contrôlant que tous les trous soient débouchés;
Contrôler de temps en temps l'état de conservation du conduit flexible d'alimentation gaz. Si il y a des fuites, remplacez immédiatement. Dans tous les cas, ne pas oublier de la changer avant la date limite indiquée sur le tube.
NE PAS UTILISER DE NETTOYEURS A VAPEUR
nettoyees
Installation
Cet appareil n'est pas pourvu de dispositif d'évacuation des produits de la combustion. On doit donc l'installer dans des endroits suffisamment aérés suivant les dispositions des lois en vigueur. La quantité d'air nécessaire à la combustion ne doit pas être inférieure à 2.0 m³/h pour chaque kW de puissance installée. Voir tableau puissances brûleurs.
Positionnement (fig. 4)
La table de cuisson doit être encastrée dans un plan de travail tel que l'illustre la figure.
Avant d'introduire la table de cuisson, déposer le joint d'étanchéité sur tout le périmètre de l'ouverture d'encastrement.
Les dimensions d'encastrement sont indiquées dans les figures 6, 7, 8 et 9.
Pour les modèles Filotop, réaliser un abaissement sur le périmètre de l'ouverture d'encastrement sur une profondeur de 1,5mm.
Ce façage n'est pas nécessaire pour les modèles Semifilotop.
L'installation est réalisable sur différents matériaux comme l'acier, marbre, béton, synthétiques, bois et bois revêtu de stratifié, à condition qu'ils soient résistants à une température de C).

Fig. 5 Sous le bandeau, il faut monter un panneau en bois ou réalisé dans un autre matériel isolant, positionné à une distance minimale de 15mm de l'enveloppe de la table de cuisson.
BHG420SS02GTCX N.B. L'abaissement n'est pas nécessaire pour la version Semifilotop.

1-AUXILIAIRE 2 - RAPIDE
Fig. 6
BHG4005801G DWK TC X N. B. L'abaissement n'est pas nécessaire pour la version Semifilotop.

1-DUAL
Fig. 7

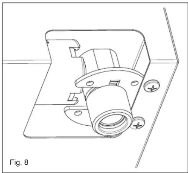
Raccordement au gaz (fig. 8)
Le raccordement à la bouteille de gaz ou au réseau de distribution doit être réalisé par du personnel qualifié et conformément aux normes UNI-CIG 7129 et 7131 en vigueur et aux mises à jour successives, en vérifier préalablement que l'appareil est réglé pour le type de gaz disponible. Dans le cas contraire, voir « Adaptation à un type de gaz différent ». Vérifier également que la valeur de la pression d'alimentation se situe dans les limites figurant dans le tableau « Caractéristiques des dispositifs »

Branchement métallique rigide/semi-rigide
Réaliser le branchement avec des raccords et des tuyaux métalliques (ceux-ci peuvent être flexibles) de manière à ne pas provoquer de contraintes au niveau des organes internes de l'appareil.
N. B. - Au terme de l'installation, contrôle, avec une solution savonneuse, l'étanchéité parfaite de l'ensemble du système de raccordement.
Remarque importante : utiliser exclusivement des raccords et des tuyaux métalliques (tuyau flexible en acier à paroi continue ou tube rigide en cuivre ou en acier) et les disposer de manière à pouvoir les inspecter sur toute leur longueur.
Branchement électrique (fig. 9)
L'installateur doit être qualifié ; il est responsable du branchement électrique et du respect des normes de sécurité.
Avant d'effectuer le branchement électrique, s'assurer que:
- la tension de l'installation électrique correspond au voltage indiqué sur la plaque signalétique appliquée au fond du plan;
- l'installation a une connexion de terre efficace suivant les normes et les dispositions de loi en vigueur. La mise à terre est obligatoire aux termes de la loi.
Si l'appareil n'a pas de câble et/ou de prise correspondante, ne utiliser que des câbles et des prises, selon les données indiquées sur la plaque signalétique et à la température de travail. Le câble ne devra jamais atteindre une température supérieure de 50°C à celle de l'ambiance.
Pour le raccordement direct au réseau, il faut prévoir un interrupteur omnipolaire d'une puissance adaptée aux données figurant sur la plaque pour déconnecter l'appareil en cas de besoin ; conformément aux règles d'installation, la distance d'ouverture des contacts doit permettre une déconnexion complète dans les conditions de surtension de la catégorie III (le câble jaune et vert de mise à la terre ne doit pas être interconnecté). La prise ou l'interrupteur omnipolaire doit être facilement accessibles après la mise en place de l'appareil.

Adaptation à un différent type de gaz (fig 10)
Si l'appareil prévoit un type de gaz différent de celui d'alimentation disponible, on doit procéder:
- à la substitution des injecteurs (Fig. 7) correspondants au type de gaz qu'il faut utiliser (voir tableau "Caractéristiques utilisateurs");

augmenter ou réduire la portée au niveau minimum en agissant sur les touches + et - relatives au brûleur. Durant la procédure de réglage, les afficheurs du niveau de la flamme indiqueront - si le minimum sélectionné correspond à la sélection d'usine ; cette indication changera en ^ ou y et clignotera, signalant respectivement une portée supérieure ou inférieure par rapport à la portée définie. La procédure se termine lorsqu'on appuie sur le bouton PT. Les niveaux de portée minimale sont ensuite saisis et mémorisés par le dispositif et ils seront utilisés durant le fonctionnement normal du plan de cuisson.
Sélection du type de gaz combustible
On peut configurer la table de cuisson pour qu'elle fonctionne avec différents gaz (voir tableau 1). Pour activer la procédure de sélection du gaz combustible utilisé, la table doit être en fonction et tous les brûleurs doivent être éteints. Il suffit d'appuyer simultanément sur la touche - du brûleur A, sur la touche - du brûleur B et sur la touche P- pendant 2 secondes au moins. Le début de la procédure de sélection du type de gaz combustible se manifeste par l'extinction des afficheurs de niveau des brûleurs et par l'apparition sur l'afficheur du temporisateur du message « 2020 », « 3029 », « 2525 » ou « 2010 », suivant la configuration utilisée. On peut désir la sélection souhaitée au moyen des touches A- et A+. Pour terminer la procédure, l'opérateur doit appuyer sur la touche PT.
L'activation de cette fonction entraîne l'effacement des éventuels temps d'extinction programmés pour les brûleurs.
Autodiagnostic électronique
Les cartes électroniques exécutent un contrôle continu de leur état. En cas de problèmes matériels éventuels ou de défauts sur la carte risquant de compromettre la sécurité de l'utilisateur final, le dispositif se met en état « sécurisé » : les électrovannes sont mises hors tension et l'afficheur indique un code relatif au type de défaut.
Procédure de réglage de la portée minimale des brûleurs
La procédure de saisie des débits minimums permet de modifier la portée minimale prédéfinie, en ajustant chaque brûleur aux caractéristiques du réseau de distribution du gaz auquel est raccordé le plan de cuisson.
On active la procédure en appuyant sur les touches +A et -A et simultanément sur la touche +B en continu pendant 3 s, lorsque les brûleurs sont tous éteints.
L'activation de la procédure de réglage est signalée sur l'afficheur par le message "MIN". Après, on peut sélectionner le brûleur à régler en agissant sur les touches + et - respectives. Après avoir appuyé sur une des touches, le brûleur sélectionné s'allume et l'on pourrait

| Erreur affichée | Type d'anomalie Cause possible | Solution | |
| B Un brûleur est bloqué | Absence de gaz | Rétablit l'arrivée du gaz et débloquer les brûleurs | |
| Electrode d'ionisation encrassée ou pas atteinte par la flamme | Nettoyer ou repositionner l'électrode et débloquer les brûleurs | ||
| L'appareil n'est pas raccordé à la terre | Contröler les câblages et débloquer les brûleurs | ||
| F | Flamme parasite / anomalie sur le circuit de détction de la flamme d'un brûleur | Câblage des electrodes d'ionisation erroné Contröler les câblages | |
| Défaut sur le circuit Remplacer le disposifit. | |||
| FIt00 | Anomalie sur le circuit de contrôle de la valve principale | Défaut sur le circuit Remplacer le disposifit. | |
| FIt01 | Anomalie sur le circuit de la tension de référence | Défaut sur le circuit Remplacer le disposifit. | |
| FIt02 | Anomalie sur le circuit watchdog | Défaut sur le circuit Remplacer le disposifit. | |
| FIt03 | Anomalies des ports du microcontrôleur | Défaut sur le circuit Remplacer le disposifit. | |
| FIt04 Anomalie Eeprom Désaut sur le circuit Remplacer le disposifit. | |||
| FIt05 | Anomalie sur le circuit de pilotage des valves | Défaut sur le circuit Remplacer le disposifit. | |
| FIt06 | Dépassement de la limite maximaile de 5 déverrouillages en l'espace de 15 minutes | L'opération de déverrouillage des brûleurs a été effectué plus de 5 fois en l'espace de 15 minutes | Attendre 15 minutes puis débloquer les brûleurs |
| FIt08 | Anomalie sur le circuit d'alimentation | Défaut sur le circuit Remplacer le disposifit. | |
| FIt09 | Anomalie générique | L'appareil a été mis hors tension lors d'un début précédent d'un autre type. | Débloquer les brûleurs |
| Anomalie résonateur Défaut sur le circuit Remplacer le disposifit. | |||
| FIt0A Tous | es brûleurs sont bloqués | Absence de gaz | Rétablit l'arrivée du gaz et débloquer les brûleurs |
| Electrodes d'ionisation encrassées ou pas atteintes par la flamme | Nettoyer ou repositionner les electrodes et débloquer les brûleurs | ||
| L'appareil n'est pas raccordé à la terre | Contröler les câblages et débloquer les brûleurs | ||
| Fuite de gaz par une valve ayant provoqué l'allumage accidentel d'un deuxième brûleur durant l'allumage du premier brûleur La présence d'une flamme sur le second brûleur pendant plus de 10 secondes provoque ce type d'anomalie | Remplacer la valve défectueuse | ||
| FIt0[ | Erreurs de communication au niveau de la logique de contrôle | Défaut sur le circuit Remplacer le disposifit. | |
| FIt0E | Erreur durant le contrôle du clavier | Une déformation mécanique pourrait avoir compromis l'appui du clavier sur le verre | Attendre quelques secondes le réétalonnage du clavier ; si l'erreur persiste, couper puis remettre la tension ; si l'erreur persiste encore, remplaner le disposifit. |
| Ft1E Erreur matérielle clavier Défaut vers le circuit | Contröler si la carte clavier est correctement introduite dans le connecteur. Remplacer le disposifit | ||
| Ft2E Erreur matérielle clavier Défaut vers le circuit | Contröler si la carte clavier est correctement introduite dans le connecteur. Remplacer le disposifit | ||
| CHARACTERISTIQUES UTILISATEURS | |||
| BRULEURES A GAZ | |||
| ALIMETATION TYPE GASTOEVER mbar NORM. | BRULEUR ∅ INJECTEURS 1/100 | DEBIT THERMIQUE NOMINAL W | CONSOMMATION |
| Gaz naturel G20 20 | rapide 129 3000 286 auxiliaires 77 1000 95 dual 71A-95B 4000 381 | ||
| Gaz liquéfié G30/G31 28-30/37 | rapide 87 3000 218 auxiliaires 50 1000 73 dual 46A-65B 4000 291 | ||
| Gaz naturel G25 25 | rapide 132 3000 332 auxiliaires 80 1000 111 dual 71A-100B 4000 443 | ||
| G20 10 | rapide 155 3000 286 auxiliaires 92 1000 95 dual 80A-143B 4000 381 | ||

SERVIZIO ASSISTENZA TECNICA:0331-723318
Avant de effectuer la connexion électrique, vérifier que:
NE PAS UTILISER DE NETTOYEURS À VAPEUR
Notice Facile