BHG400SS - Cocina BAUMATIC - Manual de uso y guía de instrucciones gratis
Encuentra gratis el manual del aparato BHG400SS BAUMATIC en formato PDF.
Descarga las instrucciones para tu Cocina en formato PDF gratis! Encuentra tus instrucciones BHG400SS - BAUMATIC y toma tu dispositivo electrónico nuevamente en la mano. En esta página están publicados todos los documentos necesarios para el uso de su dispositivo. BHG400SS de la marca BAUMATIC.
MANUAL DE USUARIO BHG400SS BAUMATIC
Instalación - Uso - Mantenimiento
MESAS DE ENCASTRAR DOMINO ELECTROGÁS FILOTOP TOUCH PT
le agradecemos mucho y le felicitamos por su elección.
Este nuevo producto, cuidadosamente estudiado y construido con materiales de primera calidad, ha sido probado esmeradamente para poder satisfacer todas sus exigencias de una perfecta cocción. Por lo tanto le rogamos lea y respete las fáciles instrucciones que le permitiránURTAR研究成果 excellentes desdela primerautilizacion.
Con este moderno aparato le expresamos nuestras miglioras felicitaciones.
EL CONSTRUCTOR
Indices
Instrucciones para el usuario 52
Instalación 52
Utilación 52
Mantenimiento 55
Instrucciones para el instalador 56
Instalación 56
Conexión gas 58
Characteristicasutilizadores61
ESTE PRODUCTO FUE CONCEBIDO PARA UN USO DE TIPO DOMESTICO. EL CONSTRUCTOR DECLINA CUALQUIER RESPONSABILIDAD EN EL CASO DE DANOS EVENTUALES A COSAS O PERSONAS QUE DERIVEN DE UNA INSTALLACION INCORRECTA O DE UN USO IMPROPIO, ERRADO O ABSURDO.
NO PUEDEN UTILizar EL APARATO PERSONAS (INCLUIDOS NINOS) CON CAPACIDADES FISICAS, SENSORIALES O MENTEALES REDUCIDAS, NI PERSONAS QUE NO DISPONGAN DE LA

Italiano

English

Français

Deutsch

Espanol

Portugues
EXPERIENCIA Y DE LOS CONOCIMIENTOS NECESARIOS, A MENOS QUE ESTEN BASO LA SUPERVISION DE UNA PERSONA RESPONSABLE DE SU SEGURIDAD O HAYAN RECIBIDO LAS INSTRUCCIONES NECESARIAS SOBRE LA UTILIZATION DEL APARATO. LOS NINOS TIENEN QUE ESTAR CONTROLADOS PARA ASEGURARSE DE QUE NO JUEGAN CON EL APARATO.
Instrucciones para el usuario
Instalación
Todas las operaciones relativas a la instalacion (conexion eléctrica, conexión de gas, adaptación al tipo de gas, regulaciones correspondentes, etc.) tienen que ser efectuadas por personalrial significado segun las normas vigentes. Para las instruccionespecificasvease la parte reservada al instalador.
Utilización
Modalidad standby (Fig. 1-2)
Després de haber alimentado el dispositivo, se llevará a cabo un breve autodiagnosticó y una calibración del panel táctil (todos los display y los led permanecen encendidos durante algunos segundos). Al final el display quedará Completely apagado. En esta modalidad sera possible encender el dispositivo solo pulsando la tecla ON/OFF.
Encender la placacocciudad.
Para encender el dispositivo es besoino pulsar de forma continua la tecla ON/OFF durante por lo menos 2 seguidos. El dispositivo se encenderá y los display que corresponden a los quemadores visualizarán el nivel cero que corresponde al estado de quemadores apagados.
Encender un quemador
Para encender un quemador pulse las correspondentes teclas +y - en el panel de mandos. La pulsacion de las teclasiene que efectuarse de forma simultanea y continua durante por lo menos 1 segundo. Cuando se enciende el quemador el nivel de caudal del quemador se configura al caudal medio y el correspondiente display indica el nivel 3.
Cada quemador para el que no se ha programado el correspondiente temporizador, se apaga de forma automática tras 4 horas de funciona continuo.
El encendido del quemador seenialemainiente el led situado bajo del display correspondiente que permanecera activo durante todo el periodo en el que el quemador está encendido.
Regulación del nivel de llama de un quemador
Con el quemador encendido, para augmentar el nivel de caudal es besoinario pulsar la tecla +, viceversa para disminuir el nivel de capacité, es besoinario pulsar la tecla - Para Obtener una variacion continua del nivel de caudal, es suficiente Maintener pulsada la tecla + o - y soltarla en el nivel desrado. El nivel de caudal puede variar de 1 a 5.
Apagar un quemador
Para Obtener el apagado de un quemador es你需要 pulsar de forma contemporánea las respectivas teclas + y - durante un breve instante.
Apagar todos los quemadores
Para Obtener el apagado simultaneo de todos los quemadores es suficiente pulsar brevemente la tecla ON/OFF, de esta forma el dispositivo se situara en condidion de standby.
Programación del tiempo de apagado de un quemador
Es possible configurar de forma independiente para cada uno de los quemadores un tiempo a partir delrial el quemador se apaga de forma automatica.
Para configurar la programación del temporizador de un quemador es必須o pulsar la tecla PT. En el display de visualización de la hora aparecerá el mensaje Time, ahora pulsando la tecla - o + del quemador que se deseña temporizar la palabra Time desaparecerá y aparecerá la indicación 0.00. El quemador seleccióndo se reconoce por el encendido del led correspondiente. El digito intermitente de la izquierda del punto indica las horas y el de la derecha los Minutes. Pulsando las teclas + o - del quemador selecciónado, es possibleacular o disminuir el número de horas de funcionaimiento de 0 a 9. Manteniendo pulsadas las teclas + o - la variación del número de horas se produce de forma continua.
Para especificar el número de los Minutes, pulsar de nuevo la tecla PT. Se activa el parpadeo de los dígitos a la derecha del punto separador. Para configurar los关键时刻 efectuar lo mesmo que se ha indicado para las horas.
Durante la programación del tiempo es possible poder a cero en cualquier momento la configuración corrente pulsando juntas las teclas + y -. Un tiempo equals a cero desactiva el temporizador del quemador. Para confirmar el tiempo visualizzato en el display es necesario pulsar la tecla PT. Ahora permanecen encendidos de forma intermitente solo los signadores de los quemadores queienen el temporizador activo.
En el display del reloj se indica el tiempo restante para el apagado con una t' delante de las horas ( por ej. t0.12). Si durante la programación no se pulsa ninguna tecla durante un periodo superior a los 10segundos, el procedimiento de configuración se interrupse de forma automática y se vuelve a la visualización principal. Eventuales configuraciones en bajo de modificacion en el quemador selectionado no se pierden y el temporizador correspondiente aparecerá activo.
El temporizador se pueda programar tanto con el quemador apagado como con el quemador encendido, y elcomputedepezarajustosdupuesde la confirmacion del tiempo configurado.Al terminarla cuenta,elquemador temporizadosepagay de forma contemporanea se

emite una secuencia de impulsos sonoros durante 30 segundos.Esta secuencia se pueda interruptir seleccionando la tecla PT.
El apagado de un quemador por parte del usuario determina la desactivacion del temporizador correspondiente.
Notaparaelmodelo2gas
Si se programan los dos quemadores de forma contemporánea, se visualizaré en el display del temporizador el computo correspondiente al quemador que se apagará en primer lugar, y el led correspondiente a este quemador parpadeará a una Frequencia m ayor respecto al除外.
Notaparaelmodelo Dual
Para este Modelo la programación se pueda efectuar sólo con las teclas -B y +B. Si las dos coronas están encendidas, la temporización sera valida para ambas coronas; si está encendida sólo la corona interna, la temporización sera valida sólo para la corona interna.
Regulación del reloj
Tras una Interruption en la alimentacion eletrica sera necessario configurar la hora visualizada por el reloj interior del dispositivo. Para regular el reloj es necessario pulsar de forma contemporanea las teclas PT y KL durante por lo menos 3segundos.
El digito intermitente de la izquierda del punto indica las horas y el de la referencia los Minutes. Pulsando las teclas +A o -A es possible augmentar o disminuir las horas, y manteniendo pulsadas las teclas +A o -A la variación del número de horas se produce de forma continua.
Para regular los Minutes pulsar de nuevo la tecla PT. Saactivar el parpadeo de los digitos a la derecha del punto separador y bajo para variar los instantos efectuar lo mesmo que se indica para las horas.Pulsando la tecla PT se memorizarae el horario configurado.
Desbloqueo quemador
Los quemadores en estado de bloqueo disponible del correspondiente display que visualiza la letra "b". El desbloqueo se activa pulsando juntas las teclas -A y la tecla KL de forma continua durante por lo menos 2 seg. Al final del desbloqueo los quemadores se restableceran en el nivel 0, listos para ser encendidos de nuevo.
N.B: si se tuviera que repetir el procedimiento de desbloqueo 5 vezes consecutivas en un periodo de 15关键时刻, el dispositivo visualizará Ft06 y no aptará贯穿una solicitud de desbloqueo durante los siguientes 15关键时刻.
Bloqueo del teclado
Se activa pulsando solo la tecla KL durante por lo menos 2 segundos. Todos los niveles de los quemadores permaneceran en el nivel actual. El estado de teclado bloqueado se manifiesta con el encendido de los
puntos decimales en el display del nivel de capacité correspondiente a cada quemador. Durante el bloqueo del teclado ya no sera possible variar los niveles de los quemadores oCambiar las configuraciones del temporizador, pero sera possible enequalquier caso apagar la placacde coccion pulsando la tecla ON/OFF.
No es posible desbloquear un quemador bloqueado,msteads el bloqueo del teclado se encontrartra activo.Por lo tanto, sera necessario desbloquear el teclado antes de efectuar el procedimiento de desbloqueo de los quemadores.
Desbloqueo del teclado
El teclado se desbloquea pulsando la tecla KL y la tecla +A durante por lo menos 2 seg. El desbloqueo del teclado se manifesta con el apagado de los+puntos en los display del nivel de la llama.
Calor restante
Cuando se apaga un fogón, en el display correspondiente aparece una "H" para signalar en este quemador la presencia de una temperatura todaya elevada, también el correspondiente led cerca del display del temporizador permanece encendido.
El@simbolo"H"y el led se apagan suscesivamente cuando la temperatura del correspondiente quemador se ha reducido.
Cocaciones especialas lentas (Duty cycle)
Estamericano.
cualquiera de la placacocciion segun la secuencia que
aparece en la tabla.
| NIVEL CONFIGURADO | 1 2 | 3 4 5 | |||
| TIEMPO DE APAGADO | 10 Sec. | 20 Sec. | 30 Sec. | 40 Sec. | 50 Sec. |
| TIEMPO DE ENCENDIDO | 50 Sec. | 40 Sec. | 30 Sec. | 20 Sec. | 10 Sec. |
La funciona seactiva pulsando de forma contemporanea la tecla ^+ del fogon en el que se quiere aplicar, y la tecla PT (el quemador interesado tiene que estar apagado.
cuando se activa la funciona).
El quemador se enciende a nivel 3 y en este momento se pueda configurar, acontenderas teclas + y-,el nivel al cui aplicar la functiOn.
Si por exemple se configura el valor a nivel 1, el quemador permanecerá encendido durante 50segundos, bajo se apagará durante 10segundos y bajo repetirá este ciclo hasta que el usuario apague el quemador.
Si el usuario no interviene, se apaga de forma automatica, las 60 horas. Cuando está activa esta funciona, el display del fogón en el que está activa parpadea.

ES

N.B.:
- Ze aconseja utiliser sartenes de diametro apto a los quemadores evacitarando que la llama al máximo salga del fondo de las malmas (Fig. 3);
- no dejar ollas vacías con el fuego encendido
Al final de la cocción se aconseja ciirren el grifo principal del tubo y/o de la bombona.

Mantenimiento
Antes de cualquier operación desconectaré electrificamente el aparato. Para una mayor duración del aparato es indispensable要做到 periodically una cuidadasa limpieza general teniendo enIELD lo suiviente:
- las partes en vidrio, de acero y/o esmaltadas tienen que ser limpiadas con productos idoneos (que se pueda encontrar a la vente) no abrasivos ni corrosivos. Eviten productos a base de cloro (lejía de algas, ecc.);
eviten dejar sobre el tablero de trabajo acidas o alcalinas (vinagre, sal, zumo de limón, ecc.); - los rompellamas y las tapaderas (partes del quemador) tienen que ser lavados a bajo con agua muy caliente y detergente teniendo el cuidado deuitar toda incrustacion, SIXen que ser secados cuidadosamente, y hay que controlar que ninguno de los agujeros de los rompellamas este obturado, ni siquiera parcialmente;
Controlar periodically el estado de conservacion del tubo flexible de alimentacion gas. En caso de perdidas solicitar la intervencion immediata del personalequalido para su sustitución.
NO UTILIZAR LIMPIADOSES A VAPOR
substencias
movibles
Instruccionespara el instalador
Instalación
Este aparato no tiene un dispositivo de descarga de los productos de la combustión. Se aconseja instalarlo en locales suficientemente aireados según las dispositionses de ley vigentes. La calidad de aire Neededa a la combustión noiene que ser menos que 2.0m^3 /h por cada kW de potencia instalado. Véase tabla potencias quemadores.
Colocacion (Fig. 4)
El aparato está preparado para ser empotrado en una mesa de trabajo tal como se ilustra en la figura correspondiente.
Antes de introducir la placá de cocción es NEEDario preparar la guarnación de estanqueidad ⑧ en todo el perimetro de la perforación del empotrado.
Las medidas de empotrado aparecen en las figuras 6-7-8-9.
Para los modelos Filotop es besoino efectuar una reduccion en alteura en la zona perimetral del orificio de empotrado de 1,5 mm de profundidad.
Para los modelos Semifilotop este fresa no de tiene que efectuar.
La instalación se pueda realizar sobre materiales distinctos como acero, marmol, conglomerados, sintéticos, madera y madera revestida con laminados de plástico, siempre que Sean resistentes a una temperatura de 90^ .

Fig. 5

Debrero del panel se Tiene que instalar un panel de madera u other material aislante, colocado a una distancia minima de 15 mm del envase de la plac.


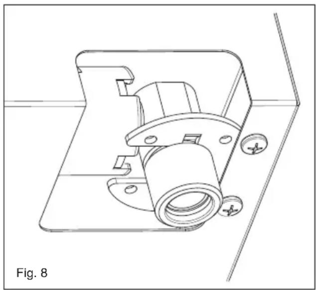
Conexión gas (Fig. 8)
La conexión a la bombona o a la instalación tiene que efectuarla personalrialcificado y compliendo con las normas UNI-CIG 7129 y 7131 en vigor y suscesivasactualizaciones verificando previamente que el equipo este preparado para el tipo de gas disponible. En caso contrariovease: "Adaptaciona un tipo de gasdistincto Comprobar también que la presion de alimentacion seencuentre en losvaloresqueparecen en la tabla: "Caracteristicas.usuarios".


Conexión metálica rígida/semirigida
Efectuar la connexion con racores y tubos metálicos (tambien flexibles) para Severitye esfuerzos en los dispositivos internos del aparato.
N.B. - Al final de la instalación seranecessarycontrolar, conunaSolutionjabonosa,laperfectaestanqueidade todo elsystemadeense.
Nota importante: efectuar la connexion exclusivamente con racores y tubos metálicos (tubo flexible de acero de pared continua o con tubo rígido de cobre o acero) y de forma que sea possible inspeccionarlos en toda su longitud.
Conexión electrónica (Fig. 9)
L'installatore deve essere qualificato ed è responsable El instalador tiene que serriallicado y es responsable tanto de la correcta connexion electrica como del accomplishment de las normas de seguidad.
- las caracteristicas de la instalacion satisfagan cunato
indicado en la plac matricula colocada sobre el fondo de la superficie de cocción;
- que la instalaciónonga una eficaz conexión de tierra según las normas y las prescrições de ley vigentes. La;puesta a tierra es obligatoria por ley.
En el caso de que el aparato noonga el cable y/o el relativo enchufe utilizing material apto para la absorccion indicado en la plac matricula y para la temperatura de trabajo. El cable en ningún punto tendrá queURTAR a una temperatura superior de 50^ a la temperatura ambiente. Para la connexion directa a la red es necesario interponer un interruptor omnipolar dimensionado para la carga de placque que asegure la desconexion de la red con una distancia de aperture de losc ontactos que permitla desconexion completa en las conditiones de la categoria de sobretension lI de conformidad con las reglas de instalacion (el cable de tierra amarillo/verde noDee esteartrumpido).El enchufe o el interruptor omnipolar tiene que ser fácilmente alcanzables con el aparato instalado.

Adaptación a un tipo diferente de gas (Fig. 10)
Si el aparato estuviera preparado para un tipo de gas diferente del de la alimentacion disponible, hay que efectuar:
- la sustitución de los inyctores (Fig. 12) correspondientes al tipo de gas a utiliser (vease tabla "Caracteristicas realizadores").

Procedimiento de regulación de la capacité minima de los quemadores
El procedimiento para la adquisión de los míncimos permite al operador la modificación de la capacité minima predefinida, adaptando cada quemador a las caracteristicas de la red de distribución del gas a la que la placá de coccción está conectada.
El procedimiento se activa pulsando las teclas +A y -A bajo con la tecla +B de forma continua durante 3 seg, con los quemadores todos apagados.
Laactivación del procedimiento de regulación sesea en el display con el mensaje "MIN". Ahora sera possible seleccionar el quemador a regular actionando las
respectivas teclas + y. Tras la presion de una de las teclas, el quemador seleccionado se encendera al minimum y sera possible augmentar o disminuir la capacité al nivel minimum acontecimiento las teclas + y - correspondentes al quemador. Durante el procedimiento de regulacion los display de nivel de la llama做不到a la indicacion -si el minimum configurado corresponde con la configuracion de fabrica, y la indication cambiara a o v en modalidad luz intermitenteindicando respectivementuna capacidad superior o inferior respecto a la predefinida. El procedimiento termina pulsando la tecla PT. Por lo tanto, el dispositivo adquiere y memoriza los niveles de你能idad y se utilizes durante el uso normal de la placad de coccion.
Selección del tipo de gas combustible
Es possible configurar la plaza de coccción para el funciona con distinctos temas de gas (vease tablet 1). Para activar el procedimiento de selección del gas combustible utilizado es Necessary que la plaza de coccción está en función y con todos los quemadores apagados. Es suficiente pulsar juntas las teclas - del quemador A, - del quemador B y la tecla P- durante por lo menos 2segundos. El inizio del procedimiento de selección del tipo de gas combustible se manifiesta con el apagado de los display de nivel de los quemadores y con la aparación en los display del temporizador del mensaje "2020", "3029", "2525" o "2010", según la configuraciónactualmente en uso. Es possible escoger la configuración眼看ada utilizing las teclas A-y A+ Para terminar el procedimiento el operador tiene que pulsar la tecla PT.
Laactivacionde estafuncioncomptaraleliminacion de eventuales tiempos deapagado programados para losquemadores.
Las tarjetas electrónicas efectuan un control continuo del propio estado. Si se verificaran eventuales problemas hardware o averías en el interior de la tarjeta capaces de perjudicar la seguridad del usuario final, el dispositivo se situaria en un estado "seguro" en el que las electrovalvulas se apagan y en los display aparece una codificacionreferente al tipo de avería.

| Error visualizzato | Tipo anomalia Posible | causa Posible solución | |
| B | Un uncommon quemador en bloqueo | Falta el gas | Restablecer el gas y efectuar la operación de desbloqueo de los quemadores |
| Electrodo de ionización sueño o no a contacto con la llama | Limpiar o repositionar el electrodo y efectuar la operación de desbloqueo de los quemadores | ||
| Ausencia de connexion a tierra del disposito | Contrar los cableados y efectuar la operación de desbloqueo de los quemadores | ||
| F | Llama parásita / anomía circuito detectión llama en el quemador | Erróneo cableado electrodos de ionización Controlar los cableados | |
| Avería en el circuito Sustituir el disposito | |||
| FIt00 | Anomalía circuito control válvula principal | Avería en el circuito Sustituir el disposito | |
| FIt01 | Anomalía circuito tensión de referencia | Avería en el circuito Sustituir el disposito | |
| FIt02 Anomalía circuito watchdog Avería en el circuito Sustituir el disposito | |||
| FIt03 | Anomalía puertas microcontrolador | Avería en el circuito Sustituir el disposito | |
| FIt04 Anomalía Eeprom Avería en el circuito | Sustituir el disposito | ||
| FIt05 | Anomalía circuito pilotaje válvulas | Avería en el circuito Sustituir el disposito | |
| FIt06 | Superación del limite máximo de 5 desbloqueos en 15 horas | Se ha efectuado la operación de desbloqueo de los quemadores más de 5 veces en 15 horas | Esperar 15 Minutes y bajoeffectuar la operación de desbloqueo de los quemadores |
| FIt08 | Anomalía en el circuito de alimentación | Avería en el circuito Sustituir el disposito | |
| FIt09 | Anomalía genérica | Se ha SACado tensión al disposito cuando previamente se ha comprobado otro tipo de avería | Efectuar la operación de desbloqueo de los quemadores |
| Anomalía resonator Avería en el circuito Sustituir el disposito | |||
| FIt0A | Todo los quemadores en estado de bloqueo | Falta el gas | Restablecer el gas y efectuar la operación de desbloqueo de los quemadores |
| Electrivos de ionización sueños o no a contacto con la llama | Limpiar o repositionar los electrivos y efectuar la operación de desbloqueo de los quemadores | ||
| Ausencia de connexion a tierra del disposito | Controlar los cableados y efectuar la operación de desbloqueo de los quemadores | ||
| Pérdida de gas de una válvula que ha provocado el encendido indeseado de unsegundo quemador durante el encendido del primo. La presencia de llama en el segundo quemador durante más de 10segundos provoca este tipo de anomalía. | Sustituir la válvula defectuosa | ||
| FIt0[ | Erroses de communicated en la lógica de control | Avería en el circuito Sustituir el disposito | |
| FIt0E Error en el control del teclado | Una deformación mecánica podrá haber comprometido el apoyo del teclado en el vidrio | Esperar durante algunosseguidos la recalibración del teclado, si el error persistece sacar y dar de nuevo tensión y si el error se oculta toda presente sustituir el disposito | |
| Ft1E Error hardware teclado Avería en el circuito | Controlar que la tarjeta del teclado se incluye correctamente situada en el conector. Sustituir el disposito | ||
| Ft2E Error hardware teclado Avería en el circuito | Controlar que la tarjeta del teclado se incluye correctamente situada en el conector. Sustituir el disposito |
| CHARACTERISTICAS UTILIZADOS | ||||
| QUEMADORES DE GAS | ||||
| ALIMENTACION TIPO PRESION mbar NORM. | QUEMADOR | Ø INYECTORES 1/100 | CAPACIDAD TÉRMICA | CONSUMPTION |
| Gas natural G20 20 | r应用程序 129 3000 286 auxiliar 77 1000 95 dual 71A-95B 4000 381 | € | ||
| Gas liceufacto G30/G31 28-30/37 | r应用程序 87 3000 218 auxiliar 50 1000 73 dual 46A-65B 4000 291 | € | ||
| Gas natural G25 25 | r应用程序 132 3000 332 auxiliar 80 1000 111 dual 71A-100B 4000 443 | € | ||
| G20 10 | r应用程序 155 3000 286 auxiliar 92 1000 95 dual 80A-143B 4000 381 | € | ||

SERVIZIO ASSISTENZA TECNICA: 0331-723318
Ex.mo. Sr. Persona,
O aparecido está previsto para ser encaixado num plano de trabajo como ilustrado na responsiva figura.
ManualFácil