S880DB - Alto-falante EDIFIER - Manual de utilização gratuito
Encontre gratuitamente o manual do aparelho S880DB EDIFIER em formato PDF.
| Características técnicas | Alto-falante ativo com conectividade Bluetooth, entrada RCA e entrada óptica. |
|---|---|
| Potência de saída | 24W por canal (48W no total). |
| Resposta de frequência | 48 Hz - 20 kHz. |
| Dimensões | 220 x 350 x 260 mm. |
| Peso | 6,5 kg por alto-falante. |
| Uso | Ideal para uso doméstico, estúdio de gravação ou para entretenimento. |
| Manutenção | Limpar regularmente com um pano macio, evitar umidade. |
| Segurança | Não expor à água ou a temperaturas extremas, usar com uma fonte de alimentação adequada. |
| Informações gerais | Compatível com a maioria dos dispositivos Bluetooth, televisores e computadores. |
Perguntas frequentes - S880DB EDIFIER
Perguntas dos utilizadores sobre S880DB EDIFIER
0 pergunta sobre este aparelho. Responda às que conhece ou faça a sua.
Faça uma nova pergunta sobre este aparelho
Baixe as instruções para o seu Alto-falante em formato PDF gratuitamente! Encontre o seu manual S880DB - EDIFIER e retome o controlo do seu dispositivo eletrónico. Nesta página estão publicados todos os documentos necessários para a utilização do seu dispositivo. S880DB da marca EDIFIER.
MANUAL DE UTILIZADOR S880DB EDIFIER
PT Instruções de segurança importantes
- Por favor, leia as instruções com atenção. Guarde-as num local seguro para referência futura.
- Use apenas acessórios aprovados pelo fabricante.
- Instale o instrumento corretamente seguindo as instruções na secção de ligação do dispositivo.
- Recomenda-se a utilização do produto num ambiente de 0-35°C. Recomenda-se o envio e o armazenamento do produto num ambiente de 0-35°C.
- Para reduzir o risco de incêndio e choque elétrico, não exponha o produto à chuva nem à humidade.
- Não use este produto perto da água. Não mergulhe o produto em nenhum líquido nem o exponha a gotas ou salpicos.
- Não instale nem use este produto perto de nenhuma fonte de calor (por ex., aquecedores, fornos, radiadores ou outros dispositivos que gerem calor).
- Não coloque nenhum objeto com líquido, como copos, sobre o produto; nem coloque chamas nuas, como velas acesas sobre o produto.
- Não bloqueie nenhuma abertura de ventilação. Não insira nenhum objeto nas aberturas de ventilação ou ranhuras.
- Poderá causar um incêndio ou choque elétrico. Mantenha um espaço suficiente à volta do produto para manter uma boa ventilação (mínimo de 5cm recomendado).
- Não force uma ficha na tomada. Antes de ligar, verifique se a tomada está bloqueada e se a ficha corresponde à tomada e se está orientada para a direção correta.
- Mantenha os acessórios e peças fornecidos (como parafusos) longe das crianças, para evitar que sejam ingeridos pelas mesmas, por engano.
- Não abra nem remova a estrutura. Poderá ficar exposto a tensão perigosa ou a outros riscos perigosos. Independentemente da causa dos danos (tais como, danos no cabo ou ficha, exposição a salpicos ou queda de objetos estranhos no produto, exposição à chuva ou humidade, não funcionamento ou queda do produto, etc.), a reparação terá de ser executada i mediatamente por um profissional de reparação autorizado.
- Antes de limpar o produto com um pano seco, desligue-o sempre e retire a ficha da tomada primeiro.
- Nunca use ácido forte, álcali, gasolina, álcool ou outros solventes químicos para limpar a superfície do produto. Use apenas solventes neutros ou água limpa para limpar.
- O produto tem de ser usado a uma altitude inferior a 2000m.

A música excessivamente alta pode conduzir à perda de audição. Por favor, mantenha o volume num nível seguro.

Descarte Correto deste produto. Esta marca indica que este produto não deve ser descartado com outros lixos domésticos. Para evitar possíveis danos ao meio-ambiente e à saúde humana causados por descarte descontrolado de resíduos, recicle este produto de forma responsável para promover a reutilização sustentável dos recursos materiais. Para devolver seu dispositivo usado, use o sistema de devolução e coleta ou entre em contato com o revendedor onde o produto foi adquirido. Eles podem coletar este produto para reciclagem ambientalmente segura.

Utilize apenas com o carrinho, suporte, tripé, apoio ou mesa especificados pelo fabricante ouvendido com o aparelho. Quando utilizar um carrinho, tenha cuidado ao mover o conjunto carrinho/aparelho para que não ocorram ferimentos se este tombar.
Instruções de segurança importantes
Aviso de potência:
- Coloque o produto perto da saída de potência para uma utilização fácil.
- Antes de usar, certifique-se de que a tensão de funcionamento é igual à tensão de alimentação local. A tensão de funcionamento correta encontra-se na placa do produto.
- Para fins de segurança, retire a ficha do produto da tomada durante trovoadas ou sempre que não usar o produto durante muito tempo.
- Em condições normais, a fonte de alimentação pode ficar quente. Mantenha uma boa ventilação na área e tenha cuidado.
- Placa com o nome do produto e etiquetas de aviso na carcaça ou na parte inferior do produto ou do adaptador de energia.

Este símbolo serve para alertar o utilizador para a presença de tensão perigosa não isolada dentro do compartimento do produto, a qual pode ter magnitude suficiente para constituir um risco de choque elétrico para as pessoas.

Este símbolo serve para avisar o utilizador para não desmontar o compartimento do produto e que não existem peças passíveis de substituição pelo utilizador. Leve o produto a um centro de reparação autorizado para reparação.

Este símbolo indica que o produto destina-se apenas ao uso no interior.

Este símbolo indica que o produto é CLASSE II ou um dispositivo elétrico com duplo isolamento sem ligação à terra necessária.
A ficha de ALIMENTAÇÃO ou adaptador é utilizado como forma para desligar o aparelho e deve manter-se pronto a ser utilizado.
Produtos sem fio:
- Os produtos sem fios podem gerar frequências de rádio de ondas curtas e interferir com a utilização normal de outros dispositivos eletrónicos ou equipamento médico.
- Desligue o produto quando não for permitido usá-lo. Não use o produto em instalações médicas, em aviões, em bombas de gasolina, perto de portões automáticos, sistemas de alarme de incêndio automáticos ou outros dispositivos automatizados.
- Não use o produto perto de um pacemaker, a menos de 20cm de distância. As ondas de rádio podem afetar o funcionamento normal do pacemaker ou outros dispositivos médicos.
Conteúdo da caixa

Conteúdo da Caixa:

Cabo de áudio RCA de 3,5mm

Cabo de ligação ao altifalante

Cabo de ligação USB

Cabo de áudio RCA para RCA

Adaptador elétrico e cabo elétrico

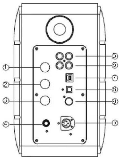
Controlos do Altifalante

Seleção da entrada áudio (prima para alterar a entrada PC-AUX-USB-OPT-COX- -PC)
Controlo de stanbdy (mantenha premido para aceder ao modo standby, prima novamente para ligar o altifalante)
- Ligue ao cabo elétrico
- Entrada AUX
- Entrada de PC
- Porta de ligação USB tipo B (para entrada de áudio digital USB)

- Porta de entrada ótica
- Porta de entrada coaxial
- Ligar à porta do altifalante passivo (L)
- Ligar à porta do altifalante ativo (R)
- Indicador LED
a. Mostra PC, AUX, USB, OPT, COX ou ✗, para indicar a entrada áudio atual
b. Intermitente para indicar o modo de reprodução
Ativar o modo MONITOR: A luz LED pisca uma vez
Ativar o modo DYNAMIC: A luz LED pisca duas vezes
Ativar o modo CLASSIC: A luz LED pisca três vezes
Ativar o modo VOCAL: A luz LED pisca 4 vezes

- Ligar/desligar
- Modo MONITOR
- Modo DINÂMICO
- Seleção da entrada de áudio (entrada PC-AUX-USB-OPT-COX- 📧 -PC)
Nota: devido ao modo de ligar do sistema precisar de ser iniciado, quando prime esta tecla para alterar a entrada de áudio, mantenha premida 1 segundo antes de alterar para a próxima entrada de áudio e a luz Led pisca uma vez para mostrar que entra no modo atual. Prima novamente para alterar para o modo seguinte.
- Modo CLÁSSICO
- Modo VOCAL
- Faixa anterior (no modo Bluetooth/USB)
- Aumentar volume
- Diminuir volume
- Reproduzir/pausa (no modo Bluetooth/USB)
- Faixa seguinte (no modo Bluetooth/USB)
Dicas:
Modo CLASSIC - reproduz um som HIFI clássico
Modo MONITOR - reproduz um som original e preciso
Modo DYNAMIC - desfruta de uma elevada paixão dinâmica
Modo VOCAL - Destaca o vocal
O modo predefinido do sistema está definido como modo “Clássico”. Escolha manualmente o seu modo preferido com o controlo remoto.
Instalação do controlo remoto
Instalação e substituição da pilha do controlador:
Conforme ilustrado, insira uma moeda na ranhura e gire para a esquerda, para a posição “○” para abrir a tampa da pilha. Coloque então a pilha CR2025 e gire para a direita, para a posição “●” para fechar a tampa.


Abrir Fechar

ATENÇÃO!
NÃO INGERIR A BATERIA, RISCO DE QUEIMADURA QUÍMICA
- (O controle remoto fonecido com) Este produto contém uma bateria de botão/moeda. Se a bateria de botão/moeda for ingerida, ela pode causar queimaduras internas graves em apenas 2 horas, e pode levar à morte.
- Mantenha as baterias novas e usadas longe de crianças, se o compartimento da pilha não fechar adequadamente, pare de utilizar o produto e mantenha-o longe de crianças.
- Caso você desconfie que as baterias foram ingeridas ou inseridas em qualquer parte do corpo, procure ajuda médica imediata.
Nota:
- Não coloque o controlo remoto em locais quentes e húmidos.
- Não carregue as pilhas.
- Remova as pilhas sempre que não as usar durante um longo período de tempo.
- As baterias (do controle remoto) não devem ser expostas a calor excessivo, como luz solar direta, fogo ou similares.
- Perigo de explosão se a bateria for substituída incorretamente. Substitua apenas pelo mesmo tipo ou por um tipo equivalente.
Ligações

text_image
Dispositivo com entrada ótica* Este tipo de conector é utilizado somente para fins de ilustração.
- Ligue o altifalante ativo e passivo com o cabo de ligação do altifalante (incluído);
- Siga a ilustração acima para ligar ao dispositivo áudio;
- Ligue o altifalante à fonte de alimentação com o adaptador elétrico e o cabo elétrico (incluídos);
- O altifalante liga-se, o indicador LED no altifalante ativo indica a fonte de áudio atual. Se não for o que selecionou, selecione a entrada de áudio com o controlo remoto.
Entrada PC/AUX

flowchart
graph LR
A["手指按钮"] --> B["旋转图标"]
B --> C["播放器"]
C --> D["点击+按钮"]
D --> E["结束按钮"]
- Prima o botão de volume no altifalante ativo ou prima a tecla SOURCE (entrada) no controlo remoto para selecionar a entrada PC/AUX, a luz LED mostra a entrada PC ou AUX.
- Reproduza a partir do seu dispositivo e ajuste o volume conforme necessário.
Entrada áudio digital USB

text_image
s0.65 ou → ↓↓ → + - OU-
Prima o botão de volume no altifalante ativo ou prima a tecla SOURCE (entrada) no controlo remoto para selecionar a entrada USB, a luz LED mostra a entrada USB.
-
Reproduza a partir do seu dispositivo e ajuste o volume conforme necessário.
Dicas:
O chip de interface USB no S880DB é um chip XMOS, utilizado por equipamento áudio de topo. Depois de ser ligado ao PC, a interface USB extrai diretamente e reproduz o sinal de áudio digital de forma semelhante à "transmissão de áudio externo USB" para evitar degradação do som e compressão de gama dinâmica provocada pela conversão de digital para analógico da transmissão de áudio do computador e para garantir o restauro da qualidade de som original.
Nota:
- Controlador USB padrão para áudio no sistema operativo Windows 7/Windows 10 apenas suporta Áudio USB de Classe 1, o que limita a transmissão de áudio a apenas 2 canais PCM com a taxa máxima de amostragem de 96 kHz. Para suportar PCM com maior taxa de amostragem (p.ex., 192 kHz etc.), a interface USB do S880DB está criada em Áudio USB de Classe 2, portanto é necessário um controlador específico para utilizar com o Windows 7/Windows 10. Consulte a https://www.edifier.com/product-s880db.html para obter detalhes.
- Entenda que o sistema operativo Windows XP não é mais mantido pela Microsoft, o software de controladores para funcionar com o Windows XP não está mais disponível. Pode surgir um aviso de risco durante a instalação, instale de acordo com as suas necessidades.
- O controlador USB no SO Mac suporta Áudio USB de Classe 1 e áudio USB de Classe 2 por predefinição. Portanto não é necessário nenhum software de controlador dedicado para o S880DB utilizar com computadores Mac.
- Para mais informações sobre o software de controlador, inicie sessão no link abaixo para mais detalhes: https://www.xmos.com/support/usb-audio-driver-support
- Se precisar de adquirir um cabo de dados USB A- para-B, pode procurar e adquirir em várias plataformas de vendas eletrónicas.
- No modo USB, é suportada a transmissão PCM com várias taxas de amostragem, incluindo 44,1 kHz/48 kHz/96 kHz/192 kHz.
Nota: o controlo de reprodução na entrada USB pertence ao controlo USB HID, este controlo tem de suportar o software do leitor, podem existir diferenças de compatibilidade para diferente software de leitor áudio.
Entrada Ótica e Coaxial

- Prima o botão de volume no altifalante ativo ou prima a tecla "SOURCE" (entrada) no controlo remoto para selecionar a entrada ótica/coaxial.
- Utilize um cabo ótico ou coaxial (cabo coaxial não incluídos) para ligar as entradas áudio do seu altifalante.
- Reproduza a partir dos seus dispositivos e ajuste o volume conforme necessário.
Nota:
- Nos modos ótico e coaxial, só é possível descodificar o sinal PCM com 44,1KHz/48KHz/96KHz/192KHz.
Entrada Bluetooth


Bluetooth®

- Ligue o altifalante e ligue o modo Bluetooth ao premir o botão SOURCE (entrada) no controlo remoto ou no botão volume no altifalante ativo até a luz LED mostrar 🎨(Bluetooth)
- Vá para a secção de configuração nos seus dispositivos de origem (telemóveis, tablets, etc.), procure dispositivos Bluetooth próximos e encontrará “EDIFIER S880DB” na lista.
- Emparelhe o seu dispositivo com "EDIFIER S880DB".
- Reproduza faixas de áudio no seu dispositivo e ajuste o volume para um nível pretendido.
- Para desligar o Bluetooth, mantenha o botão SOURCE (entrada) no controlo remoto premido durante cerca de 2 segundos.
Nota:
- O Bluetooth no produto só pode ser pesquisado e ligado quando o altifalante está ligado e na entrada Bluetooth. Quando o altifalante está em outras entradas áudio, a ligação será desligada. Quado ligado na entrada Bluetooth, o altifalante vai tentar ligar ao último dispositivo de entrada Bluetooth ligado.
- A cometividade e compatibilidade Bluetooth podem ser diferentes entre os dispositivos de origem, dependendo das versões de software dos mesmos.
- Para desfrutar de todas as funções Bluetooth deste produto, certifique-se de que o seu dispositivo móvel suporta o perfil A2DP e AVRCP.
- Se for necessário, o código PIN para ligação é "0000".
Especificações
Saída de potência: D/E (Agudos): 12W+12W
Resposta de frequência: 55Hz-40KHz
Entradas áudio: PC/AUX/USB/Ótica/Coaxial/Bluetooth
Informações do adaptador de energia:
Fabricante: EDIFIER
Modelo: ADT-60180
Entrada: 100-240V \~ 50 / 60Hz 1.5A
Saída: 18V = 3A
Declaração para UE
Banda de Frequência: 2.402GHz \~ 2.480GHz
RF Potência de Saída: ≤ 10 dBm (EIRP)
Não existem restrições à utilização.
Resolução de problemas
Sem som
- Verifique se a luz do indicador de alimentação está ACESA.
- Tente aumentar o volume utilizando o controlo do volume principal ou o controlo remoto.
- Certifique-se de que os cabos de áudio estão bem ligados e que a entrada está corretamente selecionada nos altifalantes.
- Verifique se existe saída do sinal do dispositivo de áudio fonte.
Não é possível ligar por Bluetooth
- Certifique-se de que o altifalante está comutado para a entrada Bluetooth. Se estiver noutro modo de entrada de áudio, a função Bluetooth não será ligada.
Desligue de todos os dispositivos Bluetooth premindo e mantendo premido o botão do volume no modo Bluetooth, e tente novamente. - O alcance efetivo da transmissão por Bluetooth é de 10 metros; certifique-se de que está a operar dentro desse alcance máximo.
- Tente ligar-se a outro dispositivo Bluetooth.
O S880DB não se liga
- Verifique se a fonte de alimentação principal está ligada ou se a tomada de parede tem corrente.
Ruído proveniente das colunas
- As colunas EDIFIER geram pouco ruído, ao passo que o ruído de fundo de alguns dispositivos de áudio é bastante alto. Desligue os cabos de áudio e aumente o volume, se não escutar nenhum som a 1 metro de distância da coluna, significa que existe um problema com este produto.
Para mais informações sobre a EDIFIER, consulte o site www.edifier.com
Para obter informações sobre a garantia da EDIFIER, aceda à página relevante do país em www.edifier.com e consulte a secção dos Termos da Garantia.
EUA e Canadá: service@edifier.ca
América do Sul: Visite o site www.edifier.com (Inglês) ou www.edifierla.com (Espanhol/Português) para obter informações sobre o contacto local.
Resolução de problemas
Se o altifalante estiver em entrada áudio USB e estiver ligada ao PC com um cabo de ligação USB:
a. se o PC tiver o sistema operativo Windows, certifique-se que instala o controlador USB especial S880DB, caso contrário, transfira o controlador e instale.
b. certifique-se que o altifalante tem a enumeração USB concluída. Para os utilizadores Windows, abra “gestor de dispositivos”, para verificar se precisa enumerar o dispositivo USB “EDIFIER S880DB” ou “XMOS USB Audio”. Caso não encontre, pode ter de instalar o controlador USB especial S880DB ou reiniciar o PC. Para utilizadores Mac, abra “Preferências do sistema” → o separador “Som” para verificar se precisa enumerar o dispositivo de saída de áudio “EDIFIER S880DB”.
c. certifique-se se o altifalante está definido como dispositivo de saída de áudio.
Para utilizadores Windows, abra “Painel de controlo” → “Dispositivo de som e áudio”, com o separador “Áudio” → item “Dispositivo predefinido”, para definir “Áudio XMOS USB” como dispositivo de saída de áudio atual.

Resolução de problemas
Para utilizadores Mac, abra “Preferências do sistema” → o separador “Som” e selecione “EDIFIER S880DB” como o dispositivo de saída de áudio atual.

text_image
System Preferences About: Trip Max... System Preferences... File Edit... Actions Record Cards Forms Cells... C:\MSI Name Reset... Shut Down... Up Out ECP... NOG Settings Preferences Search General Desktop & Screen Panel Book User(s) Control Language & Image Default & History Spotspot Status Status Success Energy Storage Keyboard Window Handprint Windows & Internet Showout Allowing Options Clouds Internet Windows App Store Hotbox Playback Smartphone Bluetooth Lab or Web Download Sync/Video On Case & Time Tang Machine Accessibility Soft Player Java
ManualFácil