221891 - Blender Hendi - Notice d'utilisation et mode d'emploi gratuit
Retrouvez gratuitement la notice de l'appareil 221891 Hendi au format PDF.
| Caractéristiques | Détails |
|---|---|
| Type d'appareil | Blender |
| Puissance | 700 W |
| Capacité du bol | 1,5 L |
| Matériau du bol | Verre |
| Nombre de vitesses | 2 vitesses + fonction pulse |
| Dimensions | Hauteur : 38 cm, Largeur : 20 cm, Profondeur : 17 cm |
| Poids | 2,5 kg |
| Utilisation | Idéal pour smoothies, soupes, sauces et autres préparations liquides. |
| Entretien | Bol et couvercle compatibles lave-vaisselle. |
| Sécurité | Système de verrouillage de sécurité, base antidérapante. |
| Garantie | 2 ans |
FOIRE AUX QUESTIONS - 221891 Hendi
Téléchargez la notice de votre Blender au format PDF gratuitement ! Retrouvez votre notice 221891 - Hendi et reprennez votre appareil électronique en main. Sur cette page sont publiés tous les documents nécessaires à l'utilisation de votre appareil 221891 de la marque Hendi.
MODE D'EMPLOI 221891 Hendi
Lisez attentivement ce mode d'emploi avant d'utiliser l'appareil.
Gardez ces instructions avec cet appareil.
Pour l'usage à l'intérieur seulement.
Merci d'avoir acheté cet appareil Hendi. Lisez attentivement ce manuel, en accordant une attention particulière aux règles de sécurité décrites ci-dessous, avant d'installer et d'utiliser cet appareil pour la première fois.
Règlement sur la sécurité
- L'appareil est destiné à un usage commercial.
- N'utilisez l'appareil qu'aux fins prévues pour lesquelles il a été conçu comme décrit dans le présent manuel.
- Le fabricant n'est pas responsable des dommages causés par un mauvais fonctionnement et une mauvaise utilisation.
- Gardez l'appareil et la prise électrique à l'écart de l'eau et des autres liquides. Dans le cas où l'appareil tombe dans l'eau, retirez immédiatement la prise d'alimentation de la prise. N'utilisez pas l'appareil tant qu'il n'a pas été vérifié par un technicien certifié. Si vous ne respectez pas ces instructions, vous risquez de mettre la vie en danger.
- N'essayez jamais d'ouvrir le boîtier de l'appareil par vous-même.
- N'insérez pas d'objets dans le boîtier de l'appareil.
- Ne touchez pas la prise avec les mains mouillées ou humides. DANGER DE CHOC ELECTRIQUE! N'essayez pas de réparer l'appareil par vous-même, les réparations doivent être effectuées uniquement par du personnel qualifié.
- N'utilisez jamais un appareil endommagé! Lorsqu'il est endommagé, débranchez l'appareil de la prise et contactez le détaillant.
- AVERTISSEMENT! Ne pas immerger les parties électriques de l'appareil dans de l'eau ou d'autres liquides.
- Ne tenez jamais l'appareil sous l'eau courante.
- Vérifiez régulièrement la prise d'alimentation et le cordon pour tout dommage. Lorsqu'il est endommagé, il doit être remplacé par un agent de service ou une personne qualifiée de la même manière afin d'éviter un danger ou une blessure.
- Assurez-vous que le cordon n'est pas en contact avec des objets tranchants ou chauds et maintenez-le à l'écart du feu ouvert. Ne tirez jamais le cordon d'alimentation pour le débrancher de la prise, tirez toujours la prise à la place. Assurez-vous que le cordon d'alimentation et/ou le rallonge ne présente pas de risque de déclenchement.
- Ne laissez jamais l'appareil sans surveillance pendant l'utilisation.
- AVERTISSEMENT! Tant que la prise est dans la prise, l'appareil est connecté à la source d'alimentation.
- Éteignez l'appareil avant de le débrancher de la prise.
- Connectez la prise d'alimentation à une prise électrique facilement accessible afin qu'en cas d'urgence l'appareil puisse être débranché immédiatement.
- Ne portez jamais l'appareil par le cordon.
- N'utilisez pas de périhériques supplémentaires qui ne sont pas fournis avec la solution matérielle-logicielle.
- Connectez uniquement l'appareil à une prise électrique dont la tension et la fréquence sont indiquées sur l'étiquette de l'appareil.
- N'utilisez jamais d'accessoires autres que ceux recommandés par le fabricant. Le fait de ne pas le faire pourrait présenter un risque pour la sécurité de l'utilisateur et pourrait endommager l'appareil. Utilisez uniquement des pièces et accessoires d'origine.
- Cet appareil ne doit pas être utilisé par des personnes ayant des capacités physiques, sensorielles ou mentales réduites, ou par des personnes qui ont un manque d'expérience et de connaissances.
- Cet appareil ne doit en aucun cas être utilisé par des enfants.
- Gardez l'appareil et son cordon d'alimentation hors de portée des enfants.
- ATTENTION: éteignez TOUJOURS l'appareil et débranchez de la prise d'alimentation avant le nettoyage, l'entretien ou le stockage.
Règlement spécial sur la sécurité
- Utiliser cet appareil uniquement comme décrit dans ce mode d'emploi. À utiliser uniquement à l'intérieur.
- Cet appareil doit être utilisé par du personnel qualifié.
- Lorsque l'appareil est laissé sans surveillance et avant le montage, le démontage et le nettoyage, déconnectez-le obligatoirement de la source d'alimentation en retirant la fiche de la prise murale.
- Pendant le fonctionnement de l'appareil ne dirigez la lame vers quelqu'un d'autre qui se trouve à proximité.
- Pendant le fonctionnement de l'appareil ne touchez pas la lame ou d'autres pièces mécaniques. Pendant le fonctionnement de l'appareil ne touchez pas les éléments mobiles avec vos mains ou d'autres ustensiles de cuisine ; attachez vos cheveux.
- Séchez complètement l'appareil et ses accessoires avant de brancher l'appareil à l'alimentation électrique.
- RISQUE DE LÉSIONS ET DE BLESSURES AUX MAINS! Manipulez attentivement la lame de l'appareil - elle est tranchante.
- N'ajoutez pas des ingrédients dans un récipient pendant le fonctionnement de l'appareil.
- ATTENTION: Débranchez l'appareil de l'alimentation électrique immédiatement après l'utilisation ou avant d'enlever ou de changer d'accessoires.
- Le mélangeur est conçu pour le traitement des produits alimentaires dans un récipient.
- Toutes les interventions d'entretien et d'installation et la réparation de l'appareil doivent être effectuées par les techniciens qualifiés et autorisés.
- AVERTISSEMENT: Pendant le fonctionnement de l'appareil, ne mettez pas vos mains ou des ustensiles de cuisine dans le récipient,
- N'utilisez pas l'appareil trop longtemps pour éviter une surchauffe du moteur. L'appare
- Ne nettoyez pas l'appareil avec de l'eau ou avec un fort courant d'eau. Le lavage de l'appareil avec de l'eau peut provoquer la pénétration de l'eau dans des parties électriques et provoquer le choc électrique. Les parties de l'appareil ne peuvent pas être lavées dans le lave-vaisselle.
- Faites passer le câble d'alimentation de sorte que l'appareil ne puisse pas être débranché accidentellement et que personne ne trébuche sur le câble.
- Ne nettoyez pas l'appareil ou ne le rangez pas avant le refroidissement complet. Le mélangeur et un appareil de la classe de protection.
Pour installer sur le mur le support fourni avec le modèle 222393, lisez attentivement les instructions de sécurité suivantes :
- Pour des raisons de sécurité, le montage doit être effectué par un technicien qualifié.
- Avant l'installation, vérifie que le mur peut supporter la charge totale de l'appareil et de ses accessoires.
- Assurez-vous qu'il n'y a pas de câbles électriques, installations d'eau, de gaz ou autres composants à proximité du lieu de l'installation.
- Consultez un entrepreneur qualifié ou un spécialiste de montage si vous n'êtes pas sûr de la structure du mur.
- Serrez les vis. Ne serrez pas trop fort. Un serrage excessif peut endommager les vis et réduire considérablement la stabilité du montage.
- Ne laissez pas les enfants ou les animaux s'approcher de l'installation.
- ATTENTION! Ne placez pas d'autres éléments que l'appareil sur le support pour éviter de surcharger le support.
Utilisation prévue
- L'appareil est destiné à un usage professionnel. L'appareil est exclusivement destiné à mixer, émulsionner et mélanger des produits alimentaires chauds et froids pour des fins commerciales. L'appareil sert à préparer des soupes, des purées, des crèmes, de la masse de massepain, du fromage à la crème, etc. directement dans le
plat. L'utilisation de l'appareil à d'autres fins peut entraîner des dommages ou des blessures. L'utilisation de l'appareil à d'autres fins sera considérée comme une utilisation inappropriée. L'utilisateur sera seul responsable de l'utilisation incorrecte de l'appareil.
Description du produit
221884 avec un fouet mixeur supplémentaire (option) 221891 avec un fouet mixeur supplémentaire (option) Modèle 222393 avec le bras du mixeur plongeur 400mm

Modele: 222140
Modèles: 221884 / 221891
Spécification technique
| FR | Code | Tension | Puisance | Vitesse | Poids du corps sans fouet mixeur ou battant | A (Longueur) | B (Diametre) |
| 222140 | 230 V/50 Hz | 220 W | 4,000 ~ 20,000 tr./min. | 1,15 kg | 304 mm | Ø 75 mm | |
| 221884 | 230 V/50 Hz | 350 W | 4,000 ~ 16,000 tr./min. | 2,35 kg | 416 mm | Ø 100 mm | |
| 221891 | 230 V/50 Hz | 500 W | 4,000 ~ 16,000 tr./min. | 2,55 kg | 416 mm | Ø 100 mm |
Note : La spécification technique peut être modifiée sans préavis.
Tableau de combinaison avec le fouet mixeur et le fouet battant. Les accessoires présentés ne sont pas fournis avec le produit.
| Code Poids env. C | Longueur) | D (Diamètre) | Description | |
| 222164 | 0,81 kg | 185 mm | - | Fouet battant pour le modele 222140 (option) |
| - | 0,52 kg | 160 mm | Ø 28 mm | Fouet mixeur pour le modele 222140 (inclus) |
| 222263 | 0,86 kg | 250 mm | - | Fouet battant pour les modèles 221884 (option) et 221891 (option) |
| 222225 | 0,82 kg | 250 mm | Ø 35 mm | Fouet mixeur pour les modèles 221884 (option) et 221891 (option) |
| 222232 | 1,02 kg | 300 mm | Ø 35 mm | |
| 222249 | 1,28 kg | 400 mm | Ø 35 mm | |
| 222256 | 1,56 kg | 500 mm | Ø 35 mm | |
Remarques : Modèle 222393 - l'ensemble comprend 221884 + 222249 + 222263 + support mural + kit de montage (2 kits de vis de fixation, rondelles, boulons expansifs).
- Avant d'utiliser l'appareil, lisez attentivement les informations sur le fonctionnement. Il comprend des informations importantes concernant la sécurité de l'utilisateur ainsi que des conseils sur la façon d'utiliser et d'entretenir.
- L'appareil est destiné pour un usage professionnel dans des crémeries, des restaurants, des cuisines d'hôtel, pour préparer les glaces, les soupes aux légumes, les purées, les sauces, la farce, la mayonnaise, la pâté aux tomates ou le pesto etc.
- Pour profiter pleinement de l'appareil, lisez attentivement les informations sur ses fonctions.
- L'entretien de l'appareil consiste à réaliser quelques activités simples qui peuvent être effectuées par l'opérateur.
- Pour assurer une longue durée de vie de l'appareil, réduire les coûts de l'utilisation, veillez à respecter les instructions.
- L'appareil a été conçu pour assurer la sécurité de l'utilisation.
- L'élimination des éléments de protection de l'appareil réduira sérieusement la sécurité de l'utilisation de l'appareil.
- Pour assurer la sécurité, veuillez suivre les instructions lors de l'installation et de la connexion de l'appareil au réseau.
- L'appareil doit être installé dans un environnement de travail exempt de toutes matières corrosives.
- La zone de l'installation peut être potentiellement explosive.
- Utilisez uniquement les PIECES DE RECHANGE ORIGINALES.
- Le présent mode d'emploi constitue une partie intégrale de l'appareil et il doit être conservé dans un endroit sûr. Les fonctions, les données et les figures du présent mode d'emploi constituent la propriété exclusive du fabricant.
- Les fonctions de l'appareil permettent la préparation de plusieurs types d'aliments dans les plus brefs délais : purées épaisses de légumes, soupes, purée aux pommes de terre, crèmes, gâteaux, mayonnaise, pâté d'amande, fromages crémeux etc.
Préparation au montage mural du support (uniquement le modèle 222393)
Avant le montage: Vérifiez que le support mural n'est pas endommagé et contrôle l'intégrality des kits de montage (2 kits de vis de fixation, rondelles, boulons expansifs). Si le support est endommagé ou incomplet N'FFECTUEZ PAS le montage.
Remarque:
- Consultez un entrepreneur qualifié ou un spécialiste si vous n'êtes pas sûr de la structure du mur. Ceci afin d'assurer l'assemblage correct et sûr de l'appareil.
- Pour des raisons de sécurité, le montage doit être effectué par un technicien qualifié.
- La distance entre les vis de fixation doit être d'env. 217 mm. Avant de commencer votre travail, rangez le site d'installation.
- Informations importantes: Avant le montage, assurez-vous que tous les outils sont disponibles, c'est-à-dire un tournevis, une perceuse électrique, un mètre pliant, un crayon (non fournis avec l'appareil).
- Le support doit être fixé de manière stable au mur à l'aide de deux vis de fixation et des boulons expansifs.
- N'oubliez pas que dans le lieu de l'installation peuvent se cacher les éléments tels que des conduits, des fils électriques et des tuyaux. Soyez particulièrement prudent pendant l'installation.
Mode d'emploi [modele 222140]:
NOTE! Avant de brancher l'appareil à une source d'alimentation, assurez-vous que les spécifications de l'appareil sur la plaque signalétique correspondent aux paramètres locaux.
NOTE! Le modèle 222140 ne possède pas la fonction de verrouillage permettant le fonctionnement continu de l'appareil.
Fonctionnement de l'appareil:
- Avant de monter les pièces, assurez-vous que l'appareil n'est pas branché à la source d'alimentation.
- Installez le fouet mixeur / battant au corps.
- Vérifiez si le bouton de marche / d'arrêt est dé-sactivé (en position plate).
- Branchez l'appareil à une source d'alimentation.
- Ensuite, appuyez sur le bouton de marche / d'arrêt. Attention, l'appareil se met en marche. SOYEZ PRUDENT!
- Pour débrancher l'appareil, relâchez le bouton de marche / d'arrêt.

Mode d'emploi [modeles 221884, 221891, 222393]:
NOTE! Avant de brancher l'appareil à une source d'alimentation, assurez-vous que les spécifications de l'appareil sur la plaque signalétique correspondent aux paramètres locaux.
NOTE! Les modèles 221884 et 221891 possèdent la fonction de verrouillage permettant le fonctionnement continu de l'appareil.
Démarrage et arrêt de l'appareil
- Avant de monter les pièces, assurez-vous que l'appareil n'est pas branché à la source d'alimentation.
- Installez le fouet mixeur / battant au corps.
- Vérifiez si le bouton de marche / d'arrêt [3] est désactivé (en position plate).
- Branchez l'appareil à une source d'alimentation.
- Appuyez d'abord et maintenez le bouton de protection (1).
- Ensuite, appuyez le bouton de marche / d'arrêt (3) et maintenez-le en appuyant simultanément avec le bouton de protection. Attention, l'appareil se met en marche. SOYEZ PRUDENT!
- Lacher le bouton de sécurité (1), l'appareil continue à fonctionner.
- Pour débrancher l'appareil, relâchez le bouton de marche / d'arrêt. [3].

Fonctionnement continu:
Suivez les étapes 1-7 et ensuite:
- En maintainant le bouton ON/OFF [3] dans la position « appuyé », appuyer une fois sur le bouton de verrouillage [4].
- Relâcher le bouton ON/OFF (3) et l'appareil fonctionnera en mode continue.
- Relâchez le bouton de marche / d'arrêt. [3].
Suivez les étapes 1-7 et ensuite
- Changez de vitesse en tournant le bouton de réglage (2) vitesse maximale ou minimale (selon le besoin). Si le fouet battant est utilisé, il est recommandé de démarrer l'appareil à basse vitesse
Attention:
Fonction du mixeur : Afin d'assurer un meilleur contrôle, il est recommandé de tenir la poignée du mixeur et la partie inférieure du corps du moteur. Il est également recommandé d'incliner légèrement le mixeur de sorte que l'extrémité du fouet ne touche pas le fond du plat. Vérifiez toujours si le fouet est immergé suffisamment profondément pour éviter les éclaboussures et la déténeration de liquide à travers les trous de ventilation de l'unité du moteur. Afin d'assurer une performance optimale, immergez les deux tiers du fouet dans le produit mélangé.
tesse. Grâce au système de réglage automatique de vitesse, la vitesse sélectionnée est constante, même en cas de changement de texture des ingrédients mélangés.
Fonction de battement : Il est possible de tenir l'appareil d'une seule main et si nécessaire tenir le bol de la deuxième main. En battant les ingrédients, nous recommandons de déplacer le fouet battant pour assurer le battement égal des ingrédients. Veuillez à ne pas toucher les parois du bol par le fouet battant. Afin d'assurer la performance maximale, immerger au moins une cinquième de la longueur du fouet. Ne jamais plonger la poignée.
Montage/démontage des pièces de l'appareil
Le montage / le démontage des parties de l'appareil doit être effectué quand l'appareil est arrêté et déconnecté du courant.
Montage: modèle 222140:
- Ajustez et installez le connecteur (5) du fouet mixeur (3) ou du fouet battant (6) dans le connecteur (2)
Du corps de l'appareil [1].
- Serrez précisément le fouet mixeur (3) ou battant (3) sur le corps (1).

Montage: modèles 221884, 221891, 222393:
- Ajustez et installez le connecteur (5) du fouet mixeur (3) ou battant (6) dans le connecteur (2) du corps de l'appareil (1). Assurez-vous que la partie plus étroite du connecteur est ajustée au côte concave du connecteur du fouet mixeur (3) ou battant (4).
- Serrez précisément l'écrou [6] sur le corps [1].

Pour démonter les accessoires, réalisez les étapes précédentes dans un ordre inverse.
Instructions de lavage
Avant le nettoyage, débranchez toujours l'appareil de l'alimentation.
- Après avoir utilisé le mixeur à main dans un mélange chaud, refroidissez toujours le fouet à l'eau froide avant d'enlever le fouet. Après avoir fini le travail, laver immédiatement le fouet pour éviter l'adhérence des résidus.
- Ne plongez jamais le moteur ou la poignée dans l'eau, nettoyez-les avec un chiffon humide ou une éponge humide.
- Le nettoyage du fouet mixeur et de l'extrémité : METTEZ le fouet et l'extrémité dans un récipient approprié rempli avec de l'eau propre et mettez l'appareil en marche pendant quelques secondes.
- AVERTISSEMENT : après le lavage, séchez tous les jours complètement les lames pour éviter la formation des taches de rouille.
- Ne plongez jamais la poignée du fouet battant dans l'eau, nettoyez-le avec un chiffon humide ou une éponge humide.
- Après chaque utilisation, nettoyez l'appareil avec un détergent ou un désinfectant, n'utilisez jamais de l'eau de javel pure. Pour nettoyer les parties en plastique, utilisez les détergents alcalins.
Dépannage
Dans le cas de coupure de courant ou de débranchement de l'appareil, relâchez le bouton de marche / d'arrêt (n° 3), vérifiez l'alimentation et redémarrez l'appareil.
Si l'appareil est arrêté en raison de la surchauffe, relâchez le bouton d'arrêt / de marche [3] et débranchez l'appareil, attendez quelques minutes et jusqu'à ce que le moteur refroidisse et la protection contre la surchauffe se réinitialise, ensuite redémarrez l'appareil.
S'il n'est pas possible de déterminer la cause du problème : relâchez le bouton d'arrêt / de marche [3], débranchez l'appareil et vérifiez:
- la fiche,
- si les lames sur l'extrémité tournent librement
- l'état du câble d'alimentation
- si l'arbre d'entraînement tourne librement en relevant l'extrémité et en vérifiant manuellement si l'extrémité de l'arbre tourne
En cas de panne qui n'est pas précisée dans le mode d'emploi, contactez le revendeur ou renvoyez l'appareil au service.


Modèle 221884, 221891, 222393

Modèle 222140


Listedespieces-modele222140du corps etle fouet mixeur
| N° de pièce | Nom N° de pièce | pèce | Nom N° de pièce | pèce | Nom |
| 1 Lame 14 | Boîtier de la tête en plastique | 26 Vis de la barre serrage | |||
| 2 | Anneau concave | 15 | Manchon cannelé | 27 | Epine de contact de l'interrupteur |
| 3 Ressort annulaire de graphite | 16 Roulement 28 Vis du boîtier | ||||
| 4 | Anneau de graphite | 17 | Turbine | 29-1 | Tige filetée 28-1 |
| 5 | Anneau céramique | 18 | Prise brosse | 29-2 | Tige filetée 28-2 |
| 6 Manchon céramique annulaire | 18-1 | Protection de la brosse | 29-3 | Tige filetée 28-3 | |
| 7 | Plaque couvre-lame | 19 | Brosse | 29-4 | Tige filetée 28-4 |
| 8 | Manchon de roulement | 20 | Stator | 29-5 | Tige filetée 28-5 |
| 9 | Anneau d'élanchéité | 21 | Plaque de commande de vitesse | 29-6 | Tige filetée 28-6 |
| 10 | Roulement W688Z | 22 | Boîtier gauche et droite | 30 | Protection du câble |
| 11 | Manchon en acier inoxydable | 23 | Protection en caoutchouc contre le verrouillage | 31 | Câble d'alimentation |
| 12 | Manchon | 24 | Barre de serrage | ||
| 13 | Languette | 25 | Bouton de réglage de la vitesse | ||
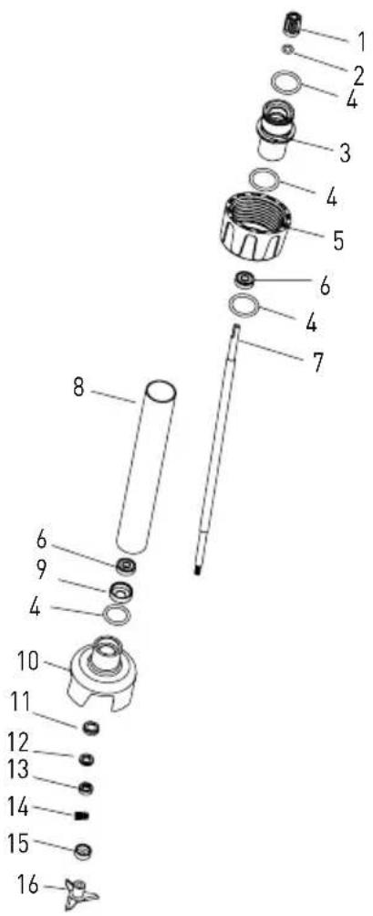
Dessin éclaté et liste des pièces détachées des modèles 221884, 221891, 222393 (uniquement le corps)

Listedespiecesdesmodeles221884,221891,222393(uniquementlecorps)
| N° de piece | Nom N° de piece | nom N° de piece | nom | |
| pièce | pièce | |||
| 1 | Câble d'alimentation | 10 | Couvercle sortie d'air | 19 |
| 2 | Attaché cable | 11 | Śruba listwy dociskowej | 20 |
| 3 | Commutateur | 12 | Boitier 2 | 21 |
| 4 | Śruba listwy dociskowej | 13 | Manchon à plusieurs serrages | 22 |
| 5 | Śruba listwy dociskowej | 14 | Protection moteur inférieur | 23 |
| 6 | PCB panneau de configuration (carte électronique) | 15 | Moteur | 24 |
| 7 | Boitier 1 | 16 | Protection moteur supérieur | 25 |
| 8 | Tige filétée | 17 | Śruba listwy dociskowej | 26 |
| 9 | Śruba listwy dociskowej | 18 | Boitier 3 | 27 |

Listedespieces-fouetsmixeurs(options):222225,222232,222249,222256
| N° de piece | Nom N° de piece | Nom N° de piece | Nom piece |
| 1 Manchon à plusieurs serrages | 7 Manchon de délivrance (en fonction du modèle) | 13 Anneau céramique | |
| 2 Anneau d'étanchéité du manchon | 8 Manchon en acier inoxydable 304 (en fonction du modèle) | 14 Ressort de graphite annulaire | |
| 3 Manchon de raccordement | 9 Manchon de roulement | 15 Anneau concave | |
| 4 Anneau d'étanchéité du manchon de raccordement | 10 Protection de la lame 16 Lame | ||
| 5 Manchon de fixation | 11 Manchon céramique | ||
| 6 Roulement 608 12 Anneau céramique | annulaire |



Listedespieces-fouet mixeur [option]: modele222164
| N° de piece | Nom N° de pièce | pièce | Nom N° de pièce | nom |
| 1 | Manchon à plusieurs serrages | 11 | Roulement à aguilles | 21 Joint d'étanchéité d'huile |
| 2 | Anneau elastique Ø8 | 12 | Vis | 22 Vis M4x5 |
| 3 | Joint d'étanchéité du roulement | 13 | Anneau elastique Ø16 | 23 Goujon cylindrique |
| 4 | Roulement 14 Roulement de l'engrenage à vis sans fin | 24 Barre fixe | ||
| 5 | Manchon de raccordement | 15 | Goujon cylindrique | 25 Anneau en acier |
| 6 | Roulement de l'engrenage à vis sans fin | 16 | Transmission simple | 26 Montant en acier |
| 7 | Tige filetée 2 | 17 | Bouton | 27 Tamis |
| 8 | Tige filetée 1 | 18 | Manchon de délivrance | 28 Vis |
| 9 | Vis du boîtier | 19 | Manchon du fouet | |
| 10 | Couvercle supérieur | 20 | Couvercle interieur | |


Listedespieces-fouet mixeur [option]: modele222263
| N° de piece | Nom N° de piece | Nom N° de piece | Nom | |
| pièce | pièce | |||
| 1 | Manchon de fixation | 11 | Vis du boîtier | 21 |
| 2 | Anneau d'étanchéité du manchon à plusieurs serrages | 12 | Couvercle supérieur 22 Couvercle interieur | |
| 3 | Manchon à plusieurs serrages | 13 | Roulement à aguilles | 23 |
| 4 | Anneau élastique Ø8 | 14 | Vis | 24 |
| 5 | Joint d'étanchéité d'huile | 15 | Anneau élastique Ø16 | 25 |
| 6 | Roulement | 16 | Roulement de l'engrenage à vis sans fin | 26 Barre fixe |
| 7 | Manchon de raccordement | 17 | Goujon cylindrique | 27 |
| 8 | Roulement de l'engrenage à vis sans fin | 18 | Transmission simple | 28 |
| 9 | Tige filetée 2 | 19 | Bouton | 29 |
| 10 | Tige filetée 1 | 20 | Manchon de délivrance | 30 |
Garantie
Tout vice ou toute défaillance entraînant un dysfonctionnement de l'appareil qui se déclare dans les 12 mois suivant la date de l'achat sera éliminé à titre gratuit ou l'appareil sera remplacé par un appareil neuf si le premier a été dûment exploitée et entretenu conformément aux termes de la notice d'exploitation et s'il n'a pas été induement exploité ou de manière non conforme à sa destination. La présente stipulation neporte pas de préjudice aux autres droits des utilisateurs prévus par les dispositions légales. Dans le cas où l'appareil est donné à la réparation ou doit être remplacé
Dans le cadre de la garantie, il y a lieu de spécifier le lieu et la date de l'achat de l'appareil et de produire un justificatif nécessaire (par ex. facture ou ticket de caisse).
Conformément à notre politique d'amélioration permanente de nos produits, nous nous réservons le droit d'introduire sans avertissement préalable des modifications à l'appareil, à l'emballage et aux caractéristiques techniques précises dans la documentation.
Élimination et protection de l'environnement
En cas de retrait du produit de l'exploitation, l'appareil ne peut pas être jeté avec d'autres déchets ménagers. L'utilisateur est responsable de la remise de l'équipement au point de collecte approprié pour l'équipement usagé. Le non-respect des dispositions ci-dessus peut entraîner des pénalités conformément à la réglementation applicable en matière d'élimination des déchets. La collecte sélective et le recyclage des équipements usagés contribuent à la conservation des ressources naturelles.
relles et assurent un recyclage sans danger pour la santé et l'environnement.
Pour plus d'informations sur les endroits de collecte des équipements usagés pour le recyclage, contactez la société de collecte des déchets locale. Le producteur et l'importateur ne sont pas responsables du recyclage et du traitement des déchets d'une manière respectueuse de l'environnement directement et dans le système public.
Répond aux exigences essentielles définies dans les directives suivantes :
Il a été conçu et fabriqué selon des normes harmonisées:
Répond aux exigences énoncées dans les règlements: /
Répond aux exigences décrites dans les règlements:/
Documentation technique disponible au siège de l'entreprise : /
Notice Facile