221891 - Mixer Hendi - Kostenlose Bedienungsanleitung
Finden Sie kostenlos die Bedienungsanleitung des Geräts 221891 Hendi als PDF.
Laden Sie die Anleitung für Ihr Mixer kostenlos im PDF-Format! Finden Sie Ihr Handbuch 221891 - Hendi und nehmen Sie Ihr elektronisches Gerät wieder in die Hand. Auf dieser Seite sind alle Dokumente veröffentlicht, die für die Verwendung Ihres Geräts notwendig sind. 221891 von der Marke Hendi.
BEDIENUNGSANLEITUNG 221891 Hendi
Bevor Sie das Gerät in Betriebnehmen, sollenn Sie diese Gebrauchsanweisung aufmerksam lessen.
These Gebrauchsansweisungitte beim Gerat aufbewahren.
Nur zur Verwendung im Innenbereich.
Vielen Dank für den Kauf theses Hendi Gerät. Lesen Sie theses Handbuch sorgfällig und achten Sie besonders auf die unter aufgeführten Sicherheitsvorschriften, bevor Sie theses Gerät zum ersten Mal installieren und verwenden.
Sicherheitsvorschriften
- Dieses Gerät ist nur für den gewerblichen Gebrauch bestim.
- Verwenden Sie das Gerät nur für den vorgesehenen Zweck, für den es entworfen wurde, wie in thisem Handbuch beschrieben.
- Der Hersteller haftet nicht für Schäden, die durch fehlerhafte Bedienung und unsachgemäß Verwendung verursacht werden.
- Halten Sie das Gerät und den elektrischen Stecker von Wasser und anderen Flüssigkeiten fern. Falls das Gerät in Wasser fällt, entfern den Sie sofort den Netzstecker von der Steckdose. Verwenden Sie das Gerät erst, wenn es von einem zertifizierten Techniker überprüft wurde. Die Nichtbefolgung dieser Anweisungen führt zu Lebensbedrohlichen Risiken.
- Versuchen Sie niemals, das Gehäuse des Geräts selbst zu öffnen.
- Legen Sie keine Objekte in das Gehäuse der Appliance ein.
- Berühren Sie den Stecker nicht mit nassen oder feuchten Händen.
GEFAHR EINES ELEKTRISCHEN SCHLAGS! Versuchen Sie nicht, das Gerät selbst zureparieren, Reparaturen sind nur von qualifiziertem Personal durchzuführren. - Verwenden Sie niemals ein beschädigtes Gerät! Wenn es beschädigt ist, trennen Sie das Gerät von der Steckdose und wenden Sie sich an den Handler.
- WARNING! Tauchen Sie die elektrischen Teile des Geräts nicht in Wasser oder andere Flüssigkeiten ein.
- Halten Sie das Gerät niemals unter fließendem Wasser.
- Überprüfen Sie regelmäßigen den Netzstecker und das Kabel auf Beschädigungen. Bei Beschädigung muss es durch einen Dienstleister oder eine ähnlich qualifizierte Person ersetzt werden, um Gefahren oder Verletzungen zu vermeiden.
- Stellen Sie sicher, dass das Kabel nicht mit scharfen oder bereits Gegenständen in Berührung kommt und halten Sie es von offenem Feuer fern. Ziehen Sie niemals das Netzkabel, um es von der Steckdose zu trennen,ziehen Sie stattdessen immer den Stecker.
- Stellen Sie sicher, dass das Netzkabel und/oder das Verlängerungskabel keine Auslösegefahr verursichen.
- Lassen Sie die Appliance während des Gebrauchs niemals unbeaufsichtigt.
- WARNING! Solange sich der Stecker in der Steckdose befindet, wird das Gerät an die Stromquelle angeschlossen.
- Schalten Sie die Appliance aus, bevor Sie sie vom Sockel trennen.
-
Schreiben Sie den Netzstecker an eine leicht zugängliche Steckdose an, so dass das Gerät im Notfall sofort abgenommen werden kann.
-
Tragen Sie das Gerät niemals an der Schnur.
- Verwenden Sie keine zusätzlichen Geräte, die nicht zusammen mit der Appliance gefeliefert werden.
- Schreiben Sie das Gerät nur an eine Steckdose mit der Spannung und Frequenz an, die auf dem Etikett des Gerätes angegeben ist.
- Verwenden Sie niemals andes Zubehör als das vom Hersteller empfohlene Zubehör. Andernfalls könnte ein Sicherheitsrisiko für den Benutzer darstellen und das Gerät beschädigten. Verwenden Sie nur Originalteile und Zubehör.
- Dieses Gerät sollte nicht von Personen mit eingeschränkter körperlicher, sensorischer oder geistiger Leistungsfähigkeit oder von Personen mit mangelnder Erfahrung und Kenntnisnahme betrieben werden.
- Dieses Gerät sollte unter keinen Umständen von Kindern verwendet werden.
- Bewahren Sie das Gerät und das Netzkabel außerhalb der Reichweite von Kindern auf.
- ACHTUNG: Schalten Sie das Gerät immer aus undziehen Sie es vor der Reinigung, Wartung oder Lagerung von der Steckdose ab.
Besondere Sicherheitsvorschriften
- Verwenden Sie das Gerät nur wie in thisem Handbuch beschrieben. Verwenden Sie das Gerät nur in Innenräumen.
- Dieses Gerät sollte von geschultem Personal bedient werden.
- Während des Betriebsarf man die Schneide nicht auf sich in der Nähe befindende Personen richten.
- Wahlend des Funktionsbetriebesarf man weder die Schneide noch die anderen beweglichen Teile berühren. Wahlend des Funktionsbetriebesarf man nicht die beweglichen Teile mit der Hand als auch mit den anderen Kuchengeräten berühren; die Haare zusammenbinden.
- Das Gerät und sein Zubehör müssen vor dem Anschluss an die Stromquelle und der Montage des Zubehörs bereits getrocknet werden.
- ES BESTEHT DIE GEFAHR VON VERLETZUNGEN DER HAND! Man muss vorsichtig sein - das Messer ist scharf.
- Geben Sie während des Funktionsbetriebes keine Zutaten in das Gefäß.
- WARNING: Nach dem Gebrauch und vor dem Abnehmer bzw. Ändern des Zubehörs ist das Gerät von der Stromversorgung zu trennen.
- Der Stabmixer ist für die Verarbeitung von Lebensmittelprodukten in einem Behälter.
- Sümmtliche Wartungs- und Montagearbeiten sowie die Reparatur des Geräts sollen den durch qualifizierte, berechtigte Techniker durchgeführt werden.
- WARNING: Stecken Sie nie ihre Fälle oder das Kühenzubehör in den Behälter während des Funktionsbetriebs ein, um so das Risiko der schweren Körperverletzungen und/oder Beschädigungen des Stabmixers zu vermeiden.
-
Verwenden Sie nicht das Gerät für lange Zeit zur Vermeidung der Überhitzung des Motors. Das Gerät sollte nicht ununterbrochen arbeiten, undzar warlänger als 3 Minuten. Das Gerät kann man wieder erst nach seinem Abkühlen verwenden.
-
Waschen Sie das Gerät nicht mit einem starken Wasserstrahl. Beim Waschen des Geräts kann Wasser in den elektrischen Teil gelangen und so zu einem Stromschlag führen. Die Teile des Geräts)dürfen in der Spülmaschine nicht gereinigt werden.
- Verlegen Sie das Netzkabel so, dass niemand es unbeabsichtigtzieht oder darüber stolpert.
- Reinigen und stellen Sie das Gerät nicht am Lagerort ab, bis es nicht vollig abgekühlt ist.
Der Stabmixer ist ein Gerät der II. Schutzklasse.
Um die Halterung (mit Modell 222393 mitgeliefert) an die Wand zu befestigen, machen Sie sich mit den nachfolgenden Sicherheitshinweisen genau vertraut.
- Für die Sicherheit sollte die Montage durch einen qualifizierten Techniker durchgeführt werden.
- Überprüfen Sie vor der Montage, dass die Wand das Gewicht des ganzen Geräts und seines Zubehörs aufnehmen kann.
- Vergewissern Sie sich, dass es in der Höhe des Montageortes keine elektrischen Kabel, Wasser- und Gasanschlüsse sowie anderen Anlageelemente gibt.
- Setzen Sie sich mit einer Ausführungsfirma oder einem qualifizierten Spezialisten in Verbindung, wenn Sie sich der Wandkonstruktion nicht sicher sind.
- Ziehen Sie die Schrauben an. Ziehen Sie die Schraube nicht zu fest an. Ein zu festes Anziehen der Schrauben kann zu ihrer Beschädigung führen und die Stabilität der Montageerheblich verringn.
- Wahrend der Montage dürfen sich weder Kinder noch Tiere am Montageort befinden.
- WARNUNG! Legen Sie auf der Halterung keine Gegenstände als das Gerät, um die Überladung der Halterung zu vermeiden.
Verwendungszweck
- Das Gerät ist für den professionellen Einsatz geeignet.
Das Gerätarf nur zum Reiben, Emulgieren sowie Mischen von bereits und kalten Lebensmitteln für kummerzielle Zwecke verwendet werden. Mit dem Gerät kann man Suppen, Puree, Creme, Marzipanasse, Rahmkäse usw. direkt
im Geschirr zubereiten. Die Verwendung des Geräts für andere Zwecke kann zu seiner Beschädigung oder zu Körperverletzungen führen.
- Jede andere Verwendung des Gerätes gitt als nicht bestimmungsgemäß. Der Benutzer ist allein verantwortlich für die unsachgemäße Nutzung des Gerätes.
Beschreibung des Produktes


Technische hauptparameter
Modell: 222140 Modelle: 221884/221891




Technische Spezifikation
| Code | Spannung der Stromversorgung | Leistung | Geschätzte Drehzahl | Geschätztes Gewicht des Gehäuses ohne Mixstab oder Schneebesen | A (Länge) | B (Durchmes-ser) |
| 222140 | 230 V/50 Hz | 220 W | 4 000 ~ 20 000 U/Min. | 1,15 kg 304 mm Ø 75 mm | ||
| 221884 | 230 V/50 Hz | 350 W | 4 000 ~ 16 000 U/Min. | 2,35 kg 416 mm Ø 100 mm | ||
| 221891 | 230 V/50 Hz | 500 W | 4 000 ~ 16 000 U/Min. | 2,55 kg 416 mm Ø 100 mm |
Achtung: Die technische Spezifikation kann sich ohne Vorankündigung ändern.
Kombinationstabelle mit dem Anschluss des Mixstabes und Schneebesens.
Das angegebene Zubehör wird nicht mit dem Gerät angeliefert.
| Code Gewicht ca. | C (Länge) | D (Durchmesser) | Beschreibung | |
| 222164 | 0,81 kg | 185 mm | - | Schneebesen für Modell 222140 (optional) |
| - | 0,52 kg | 160 mm | Ø 28 mm | Mixstab für Modell 222140 (mitgeliefert) |
| 222263 | 0,86 kg | 250 mm | - | Schneebesen für Modelle 221884 (optional) und 221891 (optional) |
| 222225 | 0,82 kg | 250 mm | Ø 35 mm | |
| 222232 | 1,02 kg | 300 mm | Ø 35 mm | Mixstab für Modelle 221884 (optional) und 221891 (optional) |
| 222249 | 1,28 kg | 400 mm | Ø 35 mm | |
| 222256 | 1,56 kg | 500 mm | Ø 35 mm | |
Hinweise: Modell 222393 - Satz - umfasst 221884 + 222249 + 222263 + Wandhalterung + Montagesets (2 Sets der Befestigungsschrauben, Unterlagen und Düb).
Einführung
- Man muss sich mit der vorliegenden Gebrauchs-anweisung bereits vertraut machen. Sie enthalt wichtige Informationen bezüglich der Sicherheit des Anwenders sowie die Verwendungs- und Wartungshinweise.
- Das Gerät ist für den professionellen Gebrauch in Eisdielen, Restaurants, Hotelküchen zwecks der Zubereitung von Eis, Gemüsesuppen, Puree, Soßen, Füllung, Mayonnaise, Tomatenpaste, Pesto, etc. geeignet.
- Um die Möglichkeit des Gerätes komplett zunutzen, muss man seine Funktion gut kennen.
Die Wartung des Gerätes beruht auf einigen einfachen Tätigkeiten, die vom Bediener ausgeführrt werden können. - Um eine large Betriebszeit bei gleichzeitiger Senkung der Betriebskosten zu gewährleisten, muss man die Anweisung beachten.
- Das Gerät wurde durch den Hersteller so ausgelegt, um auch eine Sicherheit für den Nutzer zu gewährleisten.
-
Das Abnehmer der durch den Hersteller installierten Sicherheitsinrichtungen senkt erheblich die Sicherheit bei der Nutzung des Gerätes.
-
Zur Gewährleistung der Sicherheit muss man auch während der Installation und dem Netzanschluss des Gerätes entsprechend der Anweisung verfahren.
- Das Gerät ist in einem Arbeitsbereich zu installieren, in dem es keine korrodierenden Faktoren gibt.
- Der Installationsbereicharf nichtexplosionsgefahrdetsein.
- Es sind ausschließlich die mitgelieferten ER-SATZTEILE zu verwenden.
Die vorliegende Anweisung ist integraler Bestandteil des Gerätes und man muss sie an einem sicheren Ort aufbewahren. Die in der Anweisung dargestelltten Funktionen, Daten und Abbildungen sind ausschließlich Eigentum des Herstellers.
Die Funktionen des Gerätes ermöglich die Vorbereitung folgender Arten von Lebensmitteln, und das in der kürzsten Zeit: dickes Gemüsepüree, Suppen, Kartoffelbrei, Creme, Kuchen, Mayonnaise, Mandelbrei, cremige Kasearten usw.
Vorbereitungsmaßnahmen vor der Montage der Halterung an der Wand (ausschließlich Modell 222393)
Vor Montage: Überprüfen Sie die Wandhalterung auf Beschädigung und Vollständigkeit der Montagesets (2 Sets der Befestigungsschrauben, Unterlagen und Dubel). Wenn die Wandhalterung beschädigt oder unvollständig ist, MONTIEREN Sie sie NICHT.
Hinweis:
- Setzen Sie sich mit einer qualifizierten Ausführungsfirma oder einem Spezialisten in Verbindung, wenn Sie sich der Wandkonstruktion nicht sicher sind. Auf diese Art und Weise wird die richtige und sichere Montage des Geräts sichergestellt.
- Für die Sicherheit sollte die Montage durch qualifizierte Techniker durchgeführt werden.
- Der Abstand der Bohrungen für die Montageschrauben sollte ca. 217 mm betragen. Ordnen Sie den Montageort vor Beginn der Arbeit.
-
WichtigelInformationen: Vor der Montage der Halterung vergewissern Sie sich, dass alle Werkzeuge wie Schraubenzieher, Elektrobohrmaschine, Messloffel, Bleistift (nicht mitgeliefert) verfügbar sind.
-
Die Halterung ist an die Wand mit Hilfe von zwei Befestigungsschrauben mit den Dubeln zu befestigen.
- Man muss auch daran denken, dass sich im Montagebereich auch solche Elemente, wie Kanäle, elektrische Leitungen und Rohre, befinden können. Wahrend der Montage muss man besonderss vorsichtig sein.
Gebrauchsanweisung (Modell 222140):
ACHTUNG! Bevor das Gerät an die Stromversorgungsqelle angeschlossen wird, muss man überprüfen, ob die Spezifikation des Gerätes auf dem Typenschild den Parametern in der Steckdose entspricht, an die das vorliegende Gerät anzuschreiben ist.
ACHTUNG! Das Modell 222140 ist nicht mit den Sperrfunktionen für den Dauerbetrieb ausgestattet.
BEDIENUNG DES GERÄTS:
-
Überzeugen Sie sich, ob das Gerät nicht an die Stromversorgung vor Montage der Teile angeschlossen ist.
-
Schlieben Sie den Mixstab / Schneebesen an das Gehäuse an.
-
Überprüfen Sie, ob die Taste Ein/Aus ausgeschaltet ist (in flacher Stellung).
-
Schlieben Sie das Gerät an die Stromversorgung an.
-
Schalten Sie dann die Taste Ein/Aus. Das Gerät wird in Betrieb genommen. SEIEN SIE VORSICH-TIG!
-
Um das Gerät anzuhalten, muss man die Taste EIN/AUS freigeben.

Gebrauchsanweisung (modelle: 221884, 221891 und 222393)
ACHTUNG! Bevor das Gerät an die Stromversorgungsquelle angeschlossen wird, muss man überprüfen, ob die Spezifikation des Gerätes auf dem Typenschild den Parametern in der Steckdose entspricht, an die das vorliegende Gerät anzuschreiben ist.
ACHTUNG: Die Modelle 221884 und 221891 sind nicht mit den Sperrfunktionen für den Dauerbetrieb ausgestellt.
INBETRIEBNAHME UND ANHALTEN DES GERÄTS
- Überzeugen Sie sich, ob das Gerät nicht an die Stromversorgung vor Montage angeschlossen ist.
- Schlieben Sie den Mixstab / Schneebesen an das Gehäuse an.
- Überprüfen Sie, ob die Taste Ein/Aus [3] ausgeschaltet ist (in flacher Stellung).
- Schlieben Sie das Gerät an die Stromversorgung an.
- Schalten Sie zuerst die Sicherheitsstaste (1) ein und drücken Sie sie.
- Schalten Sie dann die Taste Ein/Aus [3] und drucken Sie sie mit der Sicherheitsstaste. Das Gerät wird in Betrieb genommen. SEIEN SIE VORSICH-TIG!
- Lassen Sie die Sicherheitsstaste (1) los, das Gerät bleibt in Betrieb.
- Um das Gerät anzuhalten, muss man die Taste Ein/Aus (3).
DAUERBETRIEB:
Die Schritte 1-7 wie oben ausführten, danach:
EIN/AUS-Taste (3) gedrückt halten. Drücken Sie die Verriegelungstaste (4) einmal.
- Lassen Sie die EIN/AUS-Taste (3) los, und das Gerät lauft im Dauerbetrieb weiter.

- Um das Gerät auszuschalten, muss man die Taste Ein/Aus (3) drücken und freigeben.
Variable geschwindigkeit (modelle: 222140, 221884, 221891 und 222393)
Die Schritte 1-7 wie oben ausführten, danach:
- Andern Sie die Geschwindigkeit des Motors, indem Sie das Einstellrad für die Geschwindigkeit [2] in die Richtung der maximalen oder minimalen Geschwindigkeit verdrehen. Wenn der Schneebesen verwendet wird, ist zu empfehlen, dass das Gerät mit einer niedrigen Geschwin
digkeit in Betrieb genommen wird. Aufgrund des automatischen Systems der Geschwindigkeitsregelung, bleibt die gewährte Geschwindigkeit konstant, und das sareg in dem Fall, wenn sich die Konsistenz der gemischten Zutaten verändert.
ACHTUNG:
Funktion des Mixers: Um eine bessere Kontrolle zu gewährleisten, empfehlen wir das Festhalten des Mixers am Haltegriff und am unteren Teil des Motorgehauses. Ebenso empfehlen wir, den Mixerleitung zu kippen, so dass das Ende des Mixstabes den Boden des Gefäbes nicht berührt. Es ist immer zu prufen, ob der Mixstab entsprechend tief genug eingetaucht ist, um Spritzer und das Eindringen der Flüssigkeit in die Luftungsöffnungeder Motoreinheit zu verhindern. Für eine optimale Leistung sollte man zwei Drittel des Mixstabes in das Gemisch eintauchen.
Funktion des Schlagens: Man kann das Gerät auch mit einer Hand halten und mit der anderen, falls notwendig, die Schüssel festhalten. Wahrend des Schlagens verschiett man den Schneebesen in der Schüssel herum, um eine einheitlich geschlagene Masse zu erhalten. Dabei muss man darauf auf achten, dass der Schneebesen die Wände der Schüssel nicht berührt. Für eine maximale Leistung muss man mindestens ein Fünftel der Stablänge eintauchen. Der Haltegriffarf nicht eingetaucht werden.
Montage / Demontage
Die Montage/Demontage eines Teiles des Gerätes muss man dann durchführren, wenn das Gerät ausgeschaltet und von der Stromversorgungsqelle getrennt ist.
Montage: Modell 222140:
- Das Verbindungsstück (5) des Mixstabes (3) oder des Schneebesens (6) in das Verbindungsstück (2) vom Gehäuse des Gerätes (1) anpassen und stecken.
- Den Mixstab (3) oder Schneebesen (6) an das Gehäuse (1) genau andrehen.


Montage: Modelle 221884, 221891 und 222393:
- Das Verbindungsstück (5) des Mixstabes (3) oder des Schneebesens (4) in das Verbindungsstück (2) vom Gehäuse des Gerätes (1) anpassen und stecken. Überzeugen Sie sich, dass die schmalere Seite des Verbinders des Gerätes an die konkave Seite des Verbindungsstückes des Mixstabes (3) oder des Schneebesens (4) angepasst ist.
- Die Mutter (6) genau an das Gehäuse (1) schrauben.

Um das Zubehor zu demontieren, muss man die obigen Tätigkeiten in umgehrter Reihenfolge ausfuhren.
Waschanleitung
Vor dem Waschen muss man das Gerät von der Stromversorgung trennen.
- Nach dem Gebrauch des Mixers in einer Höhe Mischung waschen; vor Abnahme des Endstücks vom Mixstab muss man ohn im kalten Wasser abkühlen. Nach Beendigung der Arbeit ist der Mixstab sofort zu waschen, um ein Ankleben der Mischungsrechte zu vermeiden.
- Weder der Motor noch der Haltegriff)durfen in das Wasser getaucht werden, sie sind mit einem feuchten Lappen oder Schwamm zu reinigen.
-
Das Reinigen des Mixstabes und des Endstückes: den Stab und das jeweilige Endstück in ein entsprechendes Gefäß legen, das mit sauberen Wasser gefüllt ist und das Gerät für eineugekunden einschalten.
-
WARNING: Nach dem Waschen sind die Schneiden/genau zu trocknen, damit keine Rostflecke entstehen.
Die Halterung des Schneebesensarf niemals in das Wasser getaucht werden; sie ist mit einem feuchten Lappen oder Schwamm zu reinigen. - Nach jedem Gebrauch muss man das Gerät mit einem Reinigungsd oder Desinfektionsmittel reinigen, daraufarf jedoch niemals ein reines Bleichmittel verwendet werden. Zum Reinigender Kunststoffeile dürfen keine alkalischen Reinigungsmittel benutzt werden.
Problemlösung
Bei einer Unterbrechung der Stromversorgung oder Abschalten des Gerätes, muss man die Taste EIN/AUS (3) freigeben, die Stromversorgung überprüfen und das Gerät erneut starten.
Wenn sich das Gerät im Ergebnis einer Überhitzung ausschaltet, ist die Taste EIN/AUS (3) frei-zugeben, das Gerät von der Stromversorgung zu trennen, eine Minute abzuwarten, bis der Motor sich abgekühlt hat und die Sicherung vor dem Überhitzen zurückgesetzt wird; erst dann ist das Gerät wieder in Betrieb zunehmen.
Wenn man die Ursache für das Problem nicht feststellen kann: die Taste EIN/AUS (CB) freigeben, das Gerät von der Stromversorgung trennen und das Folgende überprüfen:
- Stecker,
- Konnen sich die Schneiden im Endstück frei dren?
3.Zustand des Stromkabels, - Kann sich die Antriebswelle frei drehen? Zu dieser Zweck muss man das Endstück abnehmer und manuell prufen, ob sich das Endstück der Welle dreht.
Beim Auftreten einer Störung, die nicht in dieser Anweisung beschreiben ist, muss man sich mit dem Verkäufe in Verbindung setzen oder das Gerät an einen autorisierten Servicedienst übergeben.
Elektroschema
Modell 222140

Modell 221884, 221891 und 222393

Explosionszeichnung und teileverzeichnis des modells 222140
Modell 222140

DE
Teileverzeichnis - modell 222140 gehause und mixstab
| Nr. | Bezeichnung des Teiles | Nr. | Bezeichnung des Teiles | Nr. | Bezeichnung des Teiles |
| 1 | Messer | 14 | Kunststoffgehäuse des Kopfstücks | 26 | Pressing board screw |
| 2 | Konkavring | 15 | Keilhülse | 27 | Switch osculant staff |
| 3 | Graphitringfeder | 16 | Lager | 28 | Housing screw |
| 4 | Graphitring | 17 | Rotor | 29-1 | Screw plunger 28-1 |
| 5 | Keramikring | 18 | Halterung für die Bürste | 29-2 | Screw plunger 28-2 |
| 6 | Keramikringhülse | 18-1 | Abdeckung der Bürste | 29-3 | Screw plunger 28-3 |
| 7 | Messerabdeckung | 19 | Bürste | 29-4 | Screw plunger 28-4 |
| 8 | Lagerhülse | 20 | Stator | 29-5 | Screw plunger 28-5 |
| 9 | Dichtungssring | 21 | Platte der Geschwindigkeitssteuerung | 29-6 | Screw plunger 28-6 |
| 10 | Lager W688Z | 22 | Gehäuse links und rechts | 30 | Cable sheath |
| 11 | Hülse aus Edelstahl | 23 | Gummisicherung vor dem Blockieren | 31 | Power cord |
| 12 | Ausgabehülse | 24 | Andrückleiste | ||
| 13 | Zapfen | 25 | Taste der Geschwindigkeitssteuerung |

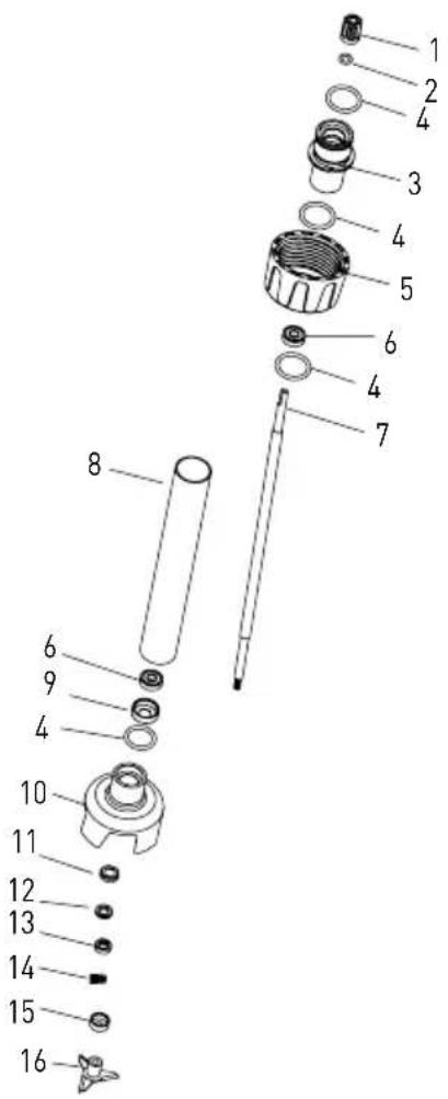
Explosionszeichnung und teileverzeichnis der modelle 221884, 221891 und 222393 (ausschliesslich gehäuse)
Teileverzeichnis der modelle 221884, 221891 und 222393 (ausschliesslich gehäuse)
| Nr. | Bezeichnung des Teiles | Nr. | Bezeichnung des Teiles | Nr. | Bezeichnung des Teiles |
| 1 | Stromkabel | 10 | Abdeckung des Luftauslasses | 19 | Ring |
| 2 | Kabelbinder | 11 | Schraube der Andrückleiste | 20 | Abdeckung des Luftauslasses |
| 3 | Schalter | 12 | Gehäuse 2 | 21 | Gehäuse 4 |
| 4 | Schraube der Andrückleiste | 13 | Keilhülse | 22 | Blockadetaste |
| 5 | Schraube der Andrückleiste | 14 | Untere Motorabdeckung | 23 | Tangentialer Schalt des Schalters |
| 6 | PCB-Bedienfeld | 15 | Motor | 24 | Buchse des Schalters |
| 7 | Gehäuse 1 | 16 | Motorabdeckung oben | 25 | Andrückleiste |
| 8 | Gewindebolzen | 17 | Schraube der Andrückleiste | 26 | Taste der Geschwindigkeitssteuerung |
| 9 | Schraube der Andrückleiste | 18 | Gehäuse 3 | 27 | Sicherheitsstaste |

Teileliste - mixstäbe (optional): 222225, 222232, 222249, 222256
| Nr. | Bezeichnung des Teiles | Nr. | Bezeichnung des Teiles | Nr. | Bezeichnung des Teiles |
| 1 | Keilhülse 7 Ausgabehülse | (modellabhängig) | 13 | Graphitring | |
| 2 | Dichtungsringes der Keilhülse | 8 | Hülse aus Edelstahl 304 (modellabhängig) | 14 | Graphitringfeder |
| 3 | Verbindungshülse | 9 | Lagerhülse | 15 | Konkavring |
| 4 | Dichtungsringes der Verbindungshülse | 10 | Messerabdeckung 16 Messer | ||
| 5 | Befestigungshülse | 11 | Keramikringhülse | ||
| 6 | Lager 608 | 12 | Keramikring |


Teileliste - mixstab (optional): modell 222164
| Nr. | Bezeichnung des Teiles | Nr. | Bezeichnung des Teiles | Nr. | Bezeichnung des Teiles |
| 1 | Keilhülse | 11 | Nadellager | 21 | Öldichtung |
| 2 | Federring Ø8 | 12 | Schraube | 22 | Schraube M4x5 |
| 3 | Dichtung des Lagers | 13 | Federring Ø16 | 23 | Zylinderstift |
| 4 | Lager | 14 | Lager des Spiralgetriebes | 24 | Befestigungsliste |
| 5 | Verbindungshülse | 15 | Zylinderstift | 25 | Stahlring |
| 6 | Lager des Spiralgetriebes | 16 | Einfaches Getriebe | 26 | Stahlstab |
| 7 | Gewindebolzen 2 | 17 | Taste | 27 | Prallplatte |
| 8 | Gewindebolzen 1 | 18 | Ausgabehülse | 28 | Schraube |
| 9 | Schraube des Gehäuses | 19 | Stabhülse | ||
| 10 | Obere Abdeckung | 20 | Untere Abdeckung |


Teileliste - mixstab (optional): modell 222263
| Nr. | Bezeichnung des Teiles | Nr. | Bezeichnung des Teiles | Nr. | Bezeichnung des Teiles |
| 1 | Befestigungshülse | 11 | Schraube des Gehäuses | 21 | Stabhülse |
| 2 | Dichtungsringedes Keilhülse | 12 | Obere Abdeckung | 22 | Untere Abdeckung |
| 3 | Keilhülse | 13 | Nadellager | 23 | Öldichtigung |
| 4 | Federring Ø8 | 14 | Schraube | 24 | Schraube M4x5 |
| 5 | Öldichtung | 15 | Federring Ø16 | 25 | Zylinderstift |
| 6 | Lager | 16 | Lager des Spiralgetriebes | 26 | Befestigungslieste |
| 7 | Verbindungshülse | 17 | Zylinderstift | 27 | Stahlbring |
| 8 | Lager des Spiralgetriebes | 18 | Einfaches Getriebe | 28 | Stahlstab |
| 9 | Gewindebolzen 2 | 19 | Taste | 29 | Prallplatte |
| 10 | Gewindebolzen 1 | 20 | Ausgabehülse | 30 | Schraube |
Garantie
Alle innerhalb von einem Jahr nach dem Kaufdatum festgestellt den Defekte oder Mängel, die die Funktionalität des Gerätes beeinträchtigen, werden auf dem Wege der unentgeltlichen Reparatur bzw. des Austausches unter der Voraussetzung beseitigt, dass das Gerät in einer der Bedienungsanleitung gemäß Art und Weise betrieben und gewartet wird und weder vorsätzlich vernichtet noch nicht bestimmungsgemäß genutzt wurde. Ihr Rechte aus den entsprechenden Gesetzen
bleiben davon unberührt. Eine in der Garantiefrist einzureichende Beanstandung hat die Angabe des Kaufortes und Kaufdatumss und in der Anlage einen Kaufbeleg (z.B. Kassenzettel) zu enthalten.
Gemäß unserer Politik der ständigen Weiterentwicklung unserer Produkte gehalten wir uns vor, Änderungen am Produkt, an seiner Verpackung und an den dokumentierten technischen Daten ohne vorherige Ankündigung vorzunehmen.
Entsorgung und Umweltschutz
Wird das Gerät außer Betrieb genommen, damit es nicht über den Hausmüll entsorgt werden. Der Benutzer ist für die Übergabe des Gerätes an eine geeignete Sammelstelle für Altgeräte verantwortlich. Die Nichteinhaltung dieser Regel kann gemäß den geltenden Vorschriften über die Abfallentsorgung bestraft werden. Die getrennte Sammlung und das Recycling der Altgeräteträgt zur Schonung der natürlichen Ressourcen bei und sorgeit für eine
umwelt- und gesundheitsschonende Verwertungsweise.
Weitere Informationen darüber, wo Sie ihre Altgeräte entsorgen konnen, erhalten Sie bei ihrem örtlichen Entsorgungsunternehmen. Der Hersteller und der Importeur übernehmen keine Verantwortung für das Recycling sowie die umweltfreundliche Verwertung von Abfallen,[weder direkt noch über ein öffentliches System.
Erfullt die Anforderungen wie beschrieben in: /
Wurde in Übereinstimmung mit harmonisierten Normen entwickelt und hergestellt: /
Erfüllt die Anforderungen wie beschrieben in: /
Erfullt die Anforderungen wie in den Verordnungen beschrieben: /
Technische Dokumentation am Hauptsitz: /
5112 Lamprechtshausen, Austria
Tel: +43 [0] 6274 200 100
Email: office.austria@hendi.eu
Notice-Facile