PGA4130 - Cuisinière Pando - Notice d'utilisation et mode d'emploi gratuit
Retrouvez gratuitement la notice de l'appareil PGA4130 Pando au format PDF.
| Caractéristiques | Détails |
|---|---|
| Type de cuisinière | Induction |
| Nombre de foyers | 4 foyers |
| Puissance totale | 7400 W |
| Dimensions (L x P x H) | 60 x 60 x 85 cm |
| Poids | 75 kg |
| Matériau de la surface | Vitrocéramique |
| Fonctionnalités supplémentaires | Minuterie, verrouillage de sécurité |
| Consommation énergétique | A |
| Type de nettoyage | Nettoyage facile avec un chiffon humide |
| Garantie | 2 ans |
FOIRE AUX QUESTIONS - PGA4130 Pando
Téléchargez la notice de votre Cuisinière au format PDF gratuitement ! Retrouvez votre notice PGA4130 - Pando et reprennez votre appareil électronique en main. Sur cette page sont publiés tous les documents nécessaires à l'utilisation de votre appareil PGA4130 de la marque Pando.
MODE D'EMPLOI PGA4130 Pando
Manuel d'installation et d'utilisation
Certificat de garantie
EN-P.71
Tout d'abord, nous tenons à vous remercier pour la confiance accordée à notre entreprise pour l'acquisition d'un de nos produits. Nous sommes convaincus que vous avez pris la bonne décision.
Chez Pando, nous offrons non seulement des produits de qualité supérieure, mais nous avons également une grande équipe de professionnels qui vous assisteront et vous conseilleront sur toute question pouvant survenir au moment de l'installation ou de l'exploitation.
Nous vous invitons également à visiter notre site Web (www.pando.es/fr) pour accéder à l'ou qui possèdait rétrover toute nos gammes de produits, avec les informations commerciales et techniques nécessaires.
Vous y trouvez une large sélection de hottes décoratives murales, plafond, îlot et intégration. Quatre types d'installation qui nous permettent de nous adapter à tout type de cuisine en fonction des besoins qui se présentent.
Nous vous montrons également notre collection d'appareils électroménagers essentiels dans n'importe quelle maison. Des appareils tels que notre collection de fours et micro-ondes à haute performances, des plaques à induction et à gaz qui vous aident à réaliser les excellentes recettes, des caves à vin pour entretenir et conserver vos vins dans les excellentes conditions et des lave-vaisselles de intégration avec les dernières technologies disponibles.
Tout cela sous une marque avec une très longue histoire de plus de 40 ans sur le marché, qui fabrique ses produits comme un véritable artisan. Nous y concentrons le meilleur de notre expérience pour satisfaire tous vos besoins.
Nous espérons sincèrement que vous vous amuserez, expérimenterez et approucierez le comport et les capacités de votre nouvel allié de cuisine.
Merci beaucoup
L'équipe Pando

Le symbole qui se trouve sur le produit ou son emballage indique que ce produit ne peut être traité comme un déchet ménager. Ce produit doit être déposé au point de collecte pour les équipements électriques et électroniques en vue de son recyclage. En veillant à l'élimination correcte de ce produit, vous aiderez à prévenir les conséquences négatives potentielles pour l'environnement et la santé publique, ce qui pourrait se produire si ce produit n'était pas manipulé de façon correcte. Pour plus d'informations sur le recyclage de ce produit, veuillez contacter les services administratifs de votre localité et notamment le service d'élimination des déchets ménagers ou le magasin où vous avez acheté le produit. Cet appareil électroménager est marqué selon la directive européenne 2002/96/CE relative aux déchets d'équipements électriques et électroniques (DEEE).
Protection de l'environnement et traitement des déchets
ELIMINATION DE L'EMBALLAGE. L'emballage est marqué du Point Vert.
Dans son engagement pour la protection de l'environnement et conformément aux dispositions de la directive européenne 94/62/CE relative aux emballages et aux déchets d'emballages et à la loi dérivée 22/2011 sur les résidus et sols contaminés, Pando confie aux entités de l'économie sociale un système de gestion intégré, responsable de la collecte périodique au domicile du consommateur ou à proximité, des emballages usagés et des déchets d'emballages pour un traitement ultérieur.
Pour référencer tous les matériaux d'emballage tels que le carton, le polyurethane expansé et le film, utilisez les conteneurs appropriés.
Cela garantit le traitement et la réutilisation corrects des matériaux d'emballage.

Pour en savoir plus: www.quefairedemesdechets.fr
Cher client :
Nous vous remercions sincèrement d'avoir acheté un de nos produits.
Nous sommes sûrs que ce nouveau appareil moderne, pratique et fonctionnel, fabriqué des matériaux de la plus haute qualité, satisfera complètement vos exigences. Il est facile d'utiliser l'équipement; néanmoins, pour assurer des membresurs résultats, il est important de lire attentivement ce manuel avant de l'utiliser.
Les instructions fournies sont valides seulement pour les pays de destination, dont les symboles d'identification sont présents dans la couverture du manuel d'instructions et dans l'étiquette de l'appareil.
Le fabricant ne peut pas être considéré responsable des dommages eventuels, causés aux personnes ou aux objets comme résultat d'une installation incorrecte ou de l'utilisation inadéquate de l'appareil.
La société fabricante n'est pas responsable des imprécisions eventuelles, contenues dans le manuel, dont les causes sont les erreurs d'impression ou de transcription. L'aspect esthétique des figures n'a qu'une valeur indicative. Le fabricant se réserve la faculté d'apporter des modifications qu'il considère nécessaires ou utiles dans ses produits pour satisfaire les nécessités de l'utilisateur à condition qu'elles ne changent pas ses caractéristiques essentielles fonctionnelles et de sécurité. Cette plaque n'a pas été conçue que pour s'utiliser comme appareil de cuisson : tout autre utilisation (pour chauffer locaux) doit se considérer comme impropre et dangereuse.
Description des plaques de cuisson
MODÈLE: PGA-4130

Attention : cet appareil a été conçu pour l'utilisation domestique, dans ambiances domestiques et par sujets privés. Il doit être utilisé par personnes adultes et responsables. Il n'est pas adress que les enfants s'approchent de l'appareil pour jouer. Pendant son utilisation, l'appareil peut se soumettre au chauffage considérable de ses parties frontales accessibles.
Il faut surveiller les enfants et les personnes dépendantes pendant l'utilisation de l'appareil, pour qu'ils ne touchent pas ses parties chaudes et ne restent pas à sa portée.
Les enfants de l'âge inférieur à 8 ans devront se trouver à distance quand ils ne sont pas sous supervision permanente.
Cet appareil peut être utilisé par enfants de l'âge non inférieur à 8 ans et par personnes avec capacités physiques, sensorielles ou mentales réduites ou par personnes sans expérience ou connaissances, à condition qu'elles soient sous surveillance ou reçoivent des instructions concernant l'utilisation sûre de l'appareil et soient informées des risques existants.
Les enfants ne doivent pas jouer avec l'appareil.
Les enfants ne doivent pas réaliser le nettoyage ni l'entretien d'utilisateur sans supervision.
1) FOYERS traditionnelles
Le schéma concernant chaque bouton rotatif, qui indique le foyer correspondant, est sérigraphié sur la surface de la plaque de cuisson. Après avoir ouvert le robinet du réseau du gaz ou de la bouteille de gaz, il faut allumer les foyers comme il est décrit ci-dessous:
Allumage électrique automatique
Enferrer et tourner en sens antihoraire le bouton rotatif qui correspond au foyer qu'il faut utiliser, jusqu'à atteindre la position de « Maximum » (grande flamme, fig. 1). Ensuite, enferrer la commande jusqu'au fond.
Allumage des foyers, munis de thermocouples de sécurité
Si les foyers sont munis de thermocouples de sécurité, il faut tourner le bouton rotatif qui correspond ou four qu'il faut utiliser en sens antihoraire, jusqu'à la position de « Maximum » (grande flamme, fig. 1) et l'enfoncer jusqu'au bout. APRÈS l'allumage du foyer, maintenir enfoncé le bouton rotatif pendant 10 secondes environ. En cas où les flammes s'éteignent involontairement, fermer le bouton rotatif de commande du foyer et attendre 1 min., comme minimum, avant de tenter de l'allumer de nouveau.
Comment utiliser les foyers
Pour assurer le rendement maximal avec la consommation minimale de gaz, il est utile de se rappeler des indications suivantes :
- Utiliser casseroles adaptées pour chaque foyer (voir le tableau suivant et la fig. 2).
- Quand le point d’ébullition sera obtenu, mettre le bouton rotatif en position de «Minimum» (petite flamme, fig.1). Utiliser toujours casseroles avec couvercles.
Foyer « DUAL » :
régulation de la couronne intérieure indépendamment de la couronne extérieure (c'est, pratiquement, un double foyer, commande au moyen d'un seul bouton rotatif) ; grande flexibilité d'utilisation grâce à la possibilité d'activer seulement la flamme intérieure ou tout le foyer (flamme intérieure et extérieure simultanément).
ALLUMAGE ET FONCTIONNEMENT DU FOYER « DUAL »
Avant d'allumer la plaque, mettre la casserole sur le foyer.
Bien que le foyer « DUAL » se commande par un seul bouton rotatif, il peut fonctionner en deux modes différents.
A) - fonctionnement de tout le foyer :
Il est nécessaire de partir de la position de fermeture , ensuite d’enforcer le bouton rotatif et le tourne simultanément en sens antihoraire jusqu’à sa coincidence avec le signe de la position de l'alimentation maximale et de brancher le caudal maximal des deux flammes.
Quand les flammes sont allumées, maintenir enfoncé
le bouton rotatif pendant quelques secondes, jusqu'au moment où le dispositif maintiendra automatiquement l'allumage du foyer.
À partir de ce moment, il sera possible de régler l'intensité des flammes par tourner le bouton rotatif en sens antihoraire (de la position du début maximal des flammes intérieure et extérieure) jusqu'au début maximal de la flamme intérieure et minimal de la flamme extérieure.
Pour éteindre le foyer, il faut tourner le bouton rotatif en sens horaire jusqu'à sa coincidence avec le signe
- defermeture.
B) - Fonctionnement de la flamme intérieure seulement:
Après avoir allumé le feu et mis la flamme intérieure au débit maximal et la flamme extérieure au débit minimal, comme il est décrit ci-dessus, il faut tourner, en sens antihoraire, le bouton rotatif jusqu'à surpasser un obstacle, la flamme intérieure restera réglée au débit maximal et la flamme extérieure s'éteindra.
Pour permettre le bouton dans la position du débit minimal de la flamme interieure, il faut continuer à le tourner en sens antihoraire.
Extinction :
Pour éteindre le foyer, il faut tourner le bouton rotatif en sens horaire jusqu'à sa coincidence avec le signe
- de fermeture.
Quand le foyer « DUAL » fonctionne en un des deux modes décrits, il est possible de passer d'un mode à l'autre juste en pressant et faisant tourner la commande jusqu'à sa mise dans la position souhaitée.
AVERTISSEMENTS:
Utilisation
| Foyers | Ø Casseroles (cm) |
| DUAL total | 22 ÷ 30 |
| DUAL central | 8 ÷ 16 |
-L’allumage des foyers avec thermocouples de sécurité peut se réaliser seulement quand la commande se trouve dans la position de « Maximum » (grande flamme, fig. 1). - En cas d’absence du courant électrique, il est possible d’allumer les foyers avec allumettes. - Ne pas laisser sans surveillance l’appareil pendant son fonctionnement, s’assurer qu’il n’y a pas d’enfants à sa proximité. En particulier, il faut s’assurer que les poignées des casseroles sont placées correctement et contrôler la cuisson des aliments qui demandent des huiles ou graisses, puisqu’il s’agit des substances facilement inflammables. - Ne pas utiliser sprays à proximité de l’appareil quand il fonctionne.
- Ne pas tirer les casseroles sur la plaque en verre pour exclure la formation des éraflures superficielles.
- En cas de détention d'une cassure dans la surface du verre, déconnecter immédiatement l'appareil du réseau.
- Ne pas utiliser la plaque de cuisson comme surface d'appui.
- Ne pas placer sur le foyer des casseroles avec fonds instables ou déformés, puisqu'elles peuvent basculer ou renverser le liquide qu'elles contiennent et causer des accidents.
- L'utilisation de cet appareil par personnes (y compris enfants) avec capacités physiques et mentales réduites, ou par personnes qui n'ont pas d'expérience en l'utilisation d'équipements électroménagers est ADMISE SEULEMENT à condition que lesdites personnes soient contrôlées ou reçoivent instructions des personnes âgées et responsables de sa sécurité ; il faut contrôler les enfants pour être sûr qu'ils ne jouent pas avec l'appareil.
- Ne pas placer les casseroles de telle manière qu'elles soient aux bords de la plaque de cuisson.
Attention :
En cas de rupture du verre de la plaque de cuisson :
- Éteindre immédiatement toutes les flammes et les éléments de chauffage électriques, ensuite déconnecter l'appareil de l'électricité,
- Ne pas toucher la surface de l'appareil,
- Ne pas utiliser l'appareil.
Position de l'alimentation maximale de gaz
Position de fermeture
Position de l'alimentation minimale de gaz
FIG. 1

FIG. 2
Avertissements et conseilles pour l'utilisateur:
- L'utilisation d'un appareil de cuisson à gaz génère chaleur et humidité dans le local où il a été installé. Par conséquent, il est nécessaire d'assurer une bonne ventilation du local, par maintenir libres des obstacles les rainures de ventilation naturelle (fig. 3) et par brancher le dispositif mécanique de ventilation (hotte aspirante ou ventilateur électrique, fig. 4 et fig. 5).
- Une utilisation intensive et prolongée de l'appareil peut nécessiter une ventilation supplémentaire, comme l'ouverture d'une fenêtre ou une ventilation plus efficace par l'augmentation de la puissance de la ventilation mécanique existante.
- Si l'appareil s'utilise de manière intensive et prolongée, une aération supplémentaire peut être nécessaire ; en ce cas, il est possible d'ouvrir une fenêtre ou d'améliorer l'aération en augmentant la puissance de l'aspiration mécanique, en cas de sa disponibilité.
- Ne pas essayer de modifier les caractéristiques techniques du produit, puisque cela peut être dangereux.
- En cas de décision de terminer l'utilisation de cet appareil (ou de remplacer un vieux modèle), avant de le mettre au rebut, nous recommandons de le désarmer, en observant la norme en vigueur dans le domaine de protection de santé et de pollution environnementale, prévue pour les cas pareils, et démonter les parties qui peuvent partager danger, rondoud pour les enfants, qui puissent utiliser l'appareil mis au rebut pour jouer.
- Ne pas toucher l'appareil avec les mains ou les pieds mouillés ou humides.
- Ne pas utiliser l'appareil pieds nus.
- Le fabricant ne peut pas considérer responsable pour dommages eventuels, causés par les utilisations impropres, incorporees et déraisonnables.
- Au cours et juste après le fonctionnement, certaines parties de la plaque de cuisson se chauffent jusqu'à des températures très hautes : il faut éviter de les toucher.
- Après l'utilisation de la plaque, il faut s'assurer que la commande rotative se trouve en position de fermeture et qu'elle ferme le robinet principal du conduit de distribution de gaz ou le robinet de la bouteille.
- En cas d'anomalies de fonctionnement des robinets de gaz, il faut contacter le service d'assistance.
Cette plaque n'a pas été conçue que pour s'utiliser comme appareil de cuisson : tout autre utilisation (pour chauffer des locaux) doit être considérée comme imprévue et dangereuse.
(*) ENTRÉE D'AIR: VOIR LE CHAPITRE « INSTALLATION » (PARAGRAPHS 5 ET 6) FIG. 3
FIG. 4
FIG. 5
Conseilles pour economiser energie et EVITER dommages des recipients

- Pour éviter pertes d'énergie, ne pas cuisinier sans couvercle ou avec couvercle déplacé.
- Centrer bien le récipient sur le foyer.
- Ne pas placer des grands récipients près des commandes, elles pouvant être endommagées par l'excès de température.
- Ne jamais placer le récipient directement sur le foyer, il faut toujours le placer sur les grilles. Avant de l'utilisation, il faut s'assurer que les grilles sont bien placées.
- Sur la plaque de cuisson, il faut manipuler les récipients prudemment, ne pas frapper ni situer sur la plaque des poids excessives.
- Ne pas enlever le récipient et laisser la flamme allumée, cela peut causer des graves dommages. Utiliser le foyer de dimension adaptée pour chaque récipient. Ne pas utiliser récipients dont les dimensions sont inférieures à la dimension du foyer, la flamme ne peut pas contacter avec les côtes du récipient. Utiliser toujours les récipients dont la base soit en bon état, plan et épaisse. Les récipients déformés risquent de basculer.
Attention :
Avant de réaliser chaque opération de nettoyage, déconnecter l'appareil du réseau d'alimentation électrique et du gaz.
Pour l'arrêt, il est très important de la laver après chaque utilisation, avec de l'eau tiède et du savon, puis de la rincer et la sécher. De la même manière, il faut laver les grilles émaillées, les couvercles émaillés « A », « B » et « C » et les têtes des foyers (voir la fig. 6-7) et nettoyer les bougies d'allumage « AC » et les capteurs de thermocouples « TC » (voir la fig. 6). Il est interdit de laver ces composants dans le lave-vaisselle.
Nettoyer doucement avec une petite brosse en nylon, comme il est montré dans la figure (voir la Fig. 8) et laisser sécher complètement. Il faut réaliser le nettoyage quand la plaque et ses composants sont froids, sans utiliser éponges métalliques, produits abrasifs en poudre ni sprays corrosifs.
Il n'est pas admis de rester ses surfaces en contact avec les produits comme vinaigre, café, lait, eau sale ou jus de citron ou de tomate.
Avertissements :
Pendant le montage des composants de la plaque à leurs places, il est nécessaire de suivre les conseils suivants :
- S'assurer que les rainures des têtes des foyers « T » (fig. 6/A) ne soient pas obstruées par corps étrangers.
- S'assurer que les couvercles émaillés « A », « B » et « C » (fig. 6-7) seront montés correctement sur les têtes des foyers. Cela se vérifie quand le couvercle, monté sur la tête, est complètement stable.
- Si les mouvements d'ouverture et de fermeture d'un robinet sont difficiles, il ne faut pas le forcer : il faut demander avec urgence le service d'assistance technique.
- Il faut monter les grilles sur les pins de centrage correspondants (ou sur le profil d'aluminium, s'il est disponible). Vérification de la parfaite stabilité.
- Ne pas utiliser jets de vapeur pour nettoyer l'appareil.
FIG. 6/B
FIG. 6
FIG. 7
FIG. 8
Attention :
Avant de chaque opération de nettoyage, déconnecter l'appareil de l'alimentation en gaz et de l'alimentation électrique.
Pour maintenir brillante la surface
vitrocéramique, il est conseillé de traiter la surface en verre, avant de l'utilisation, avec un produit sur base de silicone, pour former une pellicule protectrice contre eau et encrassements. Cette pellicule protectrice n'est pas durable, c'est pourquoi il faut renouveler souvent l'application du produit.
Il est très important de nettoyer toujours la surface après l'utilisation, quand le verre est encore chaud.
Pour le nettoyage, ne pas utiliser des éponges métalliques, des produits abrasifs ni des sprays corrosifs.
En fonction du niveau d'encrassement, il faut rappeler ce qui suit :
Pour les manches légères, il est suffisant d'utiliser une éponge humide. - Les encrassements résistants et incrustés peuvent s'éliminer facilement avec une raclette (fig. 6/B), qui n'est pas incluse dans le jeu de la plaque de cuisson, mais qui peut être trouvée facilement au marché local. Il faut l'utiliser avec attention, puisqu'elle peut causer blessures. - Il faut éliminer les résidus des liquides versés par les casseroles au moyen du vinaigre ou limon. - Prêter attention pour ne pas laisser tomber sucre ou aliments sucrés sur la plaque pendant la cuisson. Si tel est le cas, il faut éteindre la plaque de cuisson et nettoyer immédiatement les manches encore chaudes au moyen d'eau chaude et une raclette. - En cas de mauvais nettoyage de la plaque ou de manipulation incorrecte avec les récipients, il est possible que couleurs, reflets métalliques ou éraflures apparaissent avec le temps. Ces éraflures, bien qu'ils soient difficiles d'éliminer, n'influent pas sur bon fonctionnement de la plaque de cuisson. - Ne pas utiliser jets de vapeur pour nettoyer l'appareil.
MESURES QU'IL FAUT RESPECTER (en mm)
| A | B | C | D | E | F | |
| 1F (30) | 282 | 482 | 59 | 59 | 300 min. | Min. 70 mm |


Information technique pour le personnel, chargé de l'installation
Seulement le personnel qualifié peut réaliser l'installation, tous les réglages, les transformations et les opérations d'entretien, indiquées dans ce chapitre.
Le fabricant ne peut pas être responsable des dommages eventuels causés à personnes, animaux ou objets par une installation incorrecte de l'équipement.
Au cours de la vie utile de l'installation, les dispositifs de sécurité ou de réglage automatique des appareils pourront être modifiés seulement par le fabricant ou par le fournisseur dûment autorisé.
3) Integration de la PLAQUE de cuisson
Après avoir enlevé l'emballage extérieur et tous les emballages intérieurs des parties mobiles diverses, il faut s'assurer que la plaque se trouve en état parfait.
En cas de doute, ne pas utiliser l'appareil et contacter le personnel qualifié.
Il ne faut pas laisser les éléments de l'emballage (carton, sachets, polystyrène expansé, clous...) à la portée des enfants, ils sont sources potentielles de danger.
Pour encastrer la plaque, il est nécessaire de faire une découpe dans le plateau supérieur du meuble modulaire avec les mesures indiquées dans la fig. 9, et s'assurer de l'observation des mesures critiques de l'espace où l'appareil doit être installé (voir la fig. 10).
L'appareil a été classifié comme produit de la classe 3, Consequently, il est soumis à toutes les prescriptions, prévues pour lesdits appareils.
L'installateur doit être informé que l'appareil peut être installé avec une seule paroi latérale (à droite ou à gauche de la plaque), dont la hauteur est supérieure au niveau de la plaque de cuisson. Cette paroi doit être située à la distance minimale, décrite dans le tableau créé ci-dessous.
4) Fixation de la PLAQUE de cuisson
La plaque est munie d'un joint spécial qui exclut tous types d'infiltration de liquides dans le meuble. Pour utiliser correctement ce joint, il est nécessaire de respecter scrupuleusement les instructions suivantes:
- Enlever toutes les parties mobiles de la plaque de cuisson.
- Couper le joint en 4 parties de la longueur nécessaire pour les placer en 4 cordes du verre.
- Renverser la plaque et placer correctement le coté adhésif du joint « E » (fig. 11) sous le bord de la plaque de telle manière, que le coté extérieur du joint coïncide complètement avec le bord périmétral extérieur du verre. Les extrémités des bandes doivent coïncider sans chevauchement.
- Coller le joint au verre par doigts de manière uniforme et sûre.
- Il faut installer la plaque de cuisson dans l'orifice coupé dans le meuble, et la bloquer avec les vis « F » des crochets de fixation « G » (voir la fig. 12).
- Pour exclure le contact involontaire avec la surface de la caisse de la plaque, surchauffée pendant son fonctionnement, il est nécessaire de placer un séparateur en bois, fixé par vis, à la distance minimale de 70 mm de la plaque (fig. 9).
- Pour fixer ce produit à la structure d'appui, il est conseillé de ne pas utiliser visseuses mécaniques ou électriques, mais d'exercer à la main une pression modérée sur les crochets de fixation.
FIG. 11
FIG. 12
Règles importantes pour l'installation
L'installateur doit être informé que l'appareil peut être installé avec une seule paroi latérale (à droite ou à gauche de la plaque), dont la hauteur est supérieure au niveau de la plaque de cuisson. Cette paroi doit être située à la distance minimale, décrite dans la figure 9. Aussi, la paroi derrière et les surfaces adjacentes et environnantes à la plaque de cuisson doivent résister à la température de 90°C.
L'adhésif qui une la feuille en plastique au meuble doit résister aux températures non inférieures à 150 °C pour exclure la séparation du revêtement.
L'installation de l'appareil doit se conformer aux dispositions des normes en vigueur.
Cet appareil n'est pas connecté à un dispositif d'évacuation des produits de combustion.
Conséquemment, il doit être connecté conformément aux règles d'installation ci-dessus indiquées. Il est nécessaire de prêter l'attention particulière aux dispositions applicables dans le domaine de ventilation et aération ci-dessous décrites.
Pour assurer le fonctionnement correct de l'appareil, il est indispensable que le local où il est installé soit ventilé en permanence. La quantité d'air nécessaire est celle que la combustion normale du gaz et la ventilation du local demandent ; son volume ne peut pas être inférieur à 20m³.
Placement et fixation des crochets dans la partie inférieure.

Le flux naturel de l'air doit se réaliser par chemin direct à travers des ouvertures permanentes, faites dans les parois du local qu'il faut ventiler. Ces ouvertures doivent se connecter avec l'extérieur et avoir une section minimale de 100cm² (voir la fig. 3). Il faut les organiser de la manière qui exclut son obstruction.
Egalement, il est admis d'organiser la ventilation indirecte par extraction de l'air des locaux contigus au local qu'il faut ventilier, à condition de stricte observance des dispositions des normes en vigueur.
ATTENTION: si les foyers de la plaque de cuisson ne sont pas munis des thermocouples de sécurité, l'ouverture de ventilation doit avoir la section minimale de 200 cm²
6) Emplacement et aeration
Les appareils de cuisson à gaz doivent toujours évacuer les produits de combustion au moyen de hottes connectées à cheminées, aux conduits pour fumée ou directement à l'extérieur (voir la fig. 4). En cas où il n'est pas possible d'utiliser la cheminée et à condition que les dispositions concernant la ventilation, indiquées dans les normes en vigueur, s'observent strictement, il est admis d'utiliser un ventilateur, installé sur une fenêtre ou sur une paroi avec sortie à l'extérieur; qui devra se brancher simultanément avec l'appareil (voir la fig. 5),
FIG. A
Précaution : il ne faut pas permettre que le bord en verre (A) s'appuie seulement sur la plaque ou la surface de travail, il faut que le bord en métal (B) s'appuie sur cette surface, qui doit être en contact avec la plaque (voir la fig. A).
Il est important d'observer les mesures d'encastrement.
Installation
Avant de connecter l'appareil, il faut s'assurer que les données dans l'étiquette d'identification, placée sur la partie inférieure de la caisse, soient compatibles avec les données du réseau de distribution de gaz.
Une étiquette, représentée dans ce manuel, et une étiquette qui se trouve sur la partie inférieure de la caisse, indiquent les conditions pour le réglage de l'appareil : type du gaz et pression de travail.
Quand le gaz est distribué au moyen de canalisation, il est nécessaire de connecter l'appareil à l'installation de conduite de gaz :
- Par tube métallique rigide d'acier visés conformément à la norme EN 10226.
- Par tube en cuivre, conformément aux normes en vigueur, dont les connexions doivent se réaliser par raccords avec joint mécanique conformément aux normes en vigueur.
- Par un tube flexible d'acier inoxydable de paroi continue, conformément aux normes en vigueur, avec l'extension maximale de 2 metres et joint d'étanchéité conformément aux normes en vigueur. Il faut installer ce tube de telle manière qu'il ne peut pas entrer en contact avec les parties mobiles du module encastré (par exemple, caisses) ni traverser les compartiments qui puissent servir pour stockage des objets.

Quand l'alimentation en gaz se réalise directement d'une bouteille, l'appareil, muni d'un régulateur de pression conformément aux normes en vigueur, doit être connecté :
- par tube en cuivre, conformément aux normes en vigueur, dont les connexions doivent se réaliser par raccords avec joint mécanique conformément aux normes en vigueur.
- Par tubes flexibles d'acier inoxydable de paroi continue, conformément aux normes en vigueur, avec l'extension maximale de 2 mètres et joints d'étanchéité conformément aux normes en vigueur. Il faut installer ce tube de telle manière qu'il ne peut pas entrer en contact avec les parties mobiles du module encastré (par exemple, caisses) ni traverser les compartiments qui puissent servir pour stockage des objets. Pour faciliter la connexion entre le régulateur de pression, monté à la bouteille, et la buse de connexion, il est conseillé d'utiliser un adaptateur spécial dans le tube flexible.
Il est facile de trouver ce type d'adaptateur sur le marché.
Après la réalisation de la connexion, il faut s'assurer de son étanchéité complète au moyen d'une solution savonnée, sans appliquer aucune flamme.
Avertissements :
- Il faut se rappeler que le raccord d'entrée de gaz de l'appareil est filtré de 1/2" gaz conique mâle conformément aux normes EN 10226.
L'appareil est conforme aux dispositions des sous-régulations des Directives Européennes:
- Règlement (UE) 2016/426.
Aussi, les parois et les surfaces adjacentes et environnantes à la plaque de cuisson doivent résister à la température de 90°C.
8) Raccordement d'électricité
IMPORTANT: il faut réaliser l'installation conformément aux instructions du fabricant. Une installation avec erreurs peut causer dommages à personnes, animaux ou objets, dont le fabricant ne peut pas être considéré responsable.
Il faut réaliser la connexion électrique conformément aux normes et dispositions légales en vigueur.
- Voir les étiquettes collées sur la partie inférieure du produit, elles indiquent les caractéristiques de tension d'alimentation et puissance pour utiliser la section adaptée des câbles de connexion électrique.
- Avant de réaliser le raccordement, vérifier que la prise ou l'installation soit munie d'une mise à la terre efficace conformément aux normes et aux dispositions légales en vigueur. Toute la responsabilité pour le non-respect de ces dispositions est déclinée.
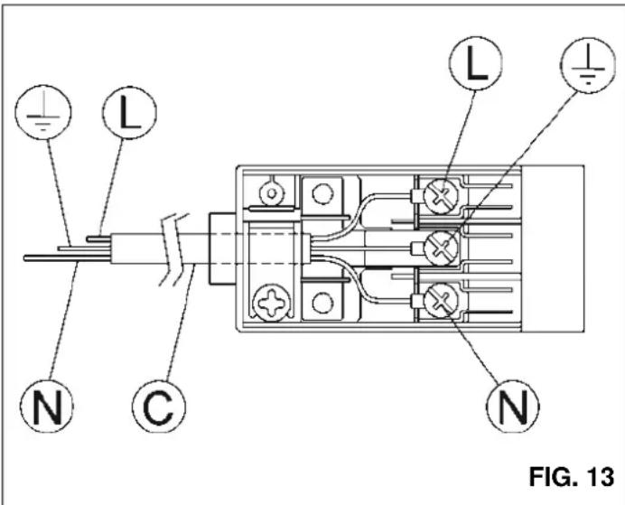
Quand la connexion au réseau d'alimentation se réalise au moyen de la prise de courant :
- Si le câble d'alimentation « C » n'est pas muni de la prise mâle (voir la fig. 13), il faut monter une prise mâle normalisée, adaptée pour la charge indiquée dans l'étiquette d'identification. Connecter les câbles conformément au schéma de la fig. 13, prêter attention à l'observance des correspondances suivantes :
lettre L (phase) = câble de couleur marron ; lettre N (neutre) = câble de couleur bleue ;
symbole terre = cable de couleur verte-jaune.
- Il faut placer le cable d'alimentation de telle manière, qu'il jamais, dans aucun point, se chauffe jusqu'à la température de 90°C.
- Ne pas utiliser réductions, adaptateurs ou dérivations pour réaliser la connexion, puisque elles peuvent causer des contacts faux et des surchauffes dangereuses.
- Après l'encastrement, la prise majeure doit rester accessible.
Quand la connexion s'est réalisée directement au réseau électrique :
- interposer, entre l'appareil et le réseau, un interrupteur unipolaire, adapté à la charge de l'appareil conformément aux normes en vigueur concernant l'installation.
- Il faut se rappeler que le câble de mise à la terre ne peut pas être interrompu par l'interrupteur.
Pour assurer l'neutralité, il est possible également de protégger la connexion électrique par un interrupteur différentiel de haute sensibilité.
Il est fortement recommandé de fixer le câble de mise à la terre de couleur verte-jaune à une installation de mise à la terre efficiente.
Avant de réaliser une intervention dans la partie électrique de l'appareil, il est nécessaire de déconnecter complètement la connexion au réseau.
Si pour l'installation il faudra faire des modifications dans l'installation électrique domestique ou si l'incompatibilité se détecte entre la prise mâle et la fiche femelle de l'appareil, il sera nécessaire de réaliser lesdits remplacements avec participation du personnel qualifié professionnellement. Le professionnel devra vérifier spécialement que la section des câbles de la prise mâle soit adaptée à la puissance consommée par l'appareil.
Avertissements :
Tous nos produits sont conformes aux Normes Européennes et aux amendements correspondants. Par conséquent, le produit est conforme aux exigences des Directives Européennes en vigueur concernant :
-Compatibilité électromagnétique (EMC) - Sécurité électrique (LVD); - Restriction de l'utilisation de certaines substances dangereuses (RoHS); - EcoDesign (ERP).

Réglages
Avant de réaliser tous les réglages, il faut déconnecter l'équipement.
Après l'achèvement des réglages ou préréglages, le technicien doit récupérer tous les plombs.
Le réglage de l'air primaire dans nos foyers n'est pas nécessaire.
Réglage du « minimum
- Allumer le foyer et mettre la commande en position de « Minimum » (petite flamme, fig. 1).
- Enlever la commande « M » (fig. 14-14/A) du robinet, qui est fixée à pression sur sa tige.
- Le by-pass pour régler le début minimal peut être : à côté du robinet (Fig. 14) ou à l'intérieur de la tige. En tout cas, le réglage se réalise par l'insertion d’un petit tournevis « D » à côté du robinet (Fig. 14) ou dans l’orifice « C » dans le robinet de gaz (Fig. 14/A).
- Il faut le tourner à droite ou à gauche du by-pass, conformément au réglage de la flamme à la position du début limite.
Il est entendu que ce réglage doit se réaliser seulement dans les foyers qui fonctionnent à G20, et dans les foyers qui fonctionnent à G30 ou G31, il faut bloquer la vis jusqu'au fond (en sens horaire).
- En cas du foyer « DUAL », la vis de réglage est placée à l'intérieur de la tige du robinet by-pass qui ajuste la flamme centrale, et la vis, située au côté du robinet, ajuste la flamme extérieure.
Les opérations décrites peuvent se réaliser avec confort, indépendamment de la position ou du mode de fixation de la plaque de cuisson dans le meuble.
LES FOYERS NE NÉCESSITENT PAS AUCUNE RÉGULATION DE L'AIR PRIMAIRE.
Si un robinet est bloqué, ne le forcez pas, demandez de l'assistance technique.
AVERTISSEMENT: avant d'ajuster le minimum du foyer « DUAL », il faut enlever la douille « E » (fig. 14).
En cas du foyer « DUAL », la vis de réglage est placée à l'intérieur de la tige du robinet by-pass qui ajuste la flamme centrale, et la vis, située au côté du robinet, ajuste la flamme extérieure.


Transformations
Les foyers peuvent être adaptés aux types différents de gaz en montant les buses correspondantes dans chaque foyer. Pour réaliser cette opération, il est nécessaire d'enlever les têtes des foyers, dévisser la buse « A » (voir la fig. 15) avec une clé polygonale « B » et la replacer par une buse adaptée au gaz à utiliser. Il est conseillé de serrer la buse fortement.
Après l'achèvement des remplacements indiqués, le technicien devra ajuster les foyers, comme il est décrit dans le paragraphe 9, plomber les organes eventuels de réglage ou préréglage et replacer l'étiquette d'identification par l'étiquette correspondante au nouveau réglage de gaz, ajusté dans l'appareil. Cette étiquette se trouve dans le sachet pour les buses de rechange.
Pour faciliter le travail de l'installateur, nous présentons ci-dessous le tableau avec les capacités, les capacités thermiques des foyers, les diamètres des buses et les pressions de travail pour divers types des gaz.
DISPOSITION DES FOYERS
TABLEAU
| FOYERS | GAZ | PRESSION DE TRAVAIL mbar | CAPACITÉ THERMIQUE | DIAMÈTRES DES BUSES 1/100 mm | CAPACITÉ THERMIQUE (W) | ||||
| N° | DENOMINATION | gr/h | I/h | Min. | Max. | EEfoyer de gaz* | |||
| 2 | DUAL total | BUTANE - G30 | 30 | 436 | 571 | 2 x 80 B + 46 B | 3 500 | 6 000 | 56,4 % |
| GAZ NATUREL - G20 | 20 | 2 x 125 A + 71 A | 3 500 | 6 000 | |||||
| DUAL central | BUTANE - G30 | 30 | 58 | 76 | 46 B | 400 | 800 | N.A. | |
| GAZ NATUREL - G20 | 20 | 71 A | 400 | 800 | |||||
- Conformément au Règlement n° 66/2014 de l'UE, qui établit des mesures pour l'application de la Directive 2009/125/CE, le rendement (E foyer de gaz) a été calculé conformément à la norme EN 30-2-1, la première révision pour le G-20. ** Montage avec la douille (B) est présenté (voir la Fig. 14/B).
Entretein
TYPES ET SECTIONS DES CABLES D'ALIMENTATION
| TYPE DE PLAQUE DE CUISSON | TYPE DE CÂBLE | ALIMENTATION MONOPHASIQUE |
| Plaque de cuisson à gaz | H05 RR-F | Section 3 x 0,75 mm² |
Attention!
En cas de remplacement du câble d'alimentation, l'installateur devra disposer du conducteur de mise à la terre (B) plus large que les conducteurs de phase (voir la fig. 15) et il devra observer les avertissements indiqués dans le paragraphe 8.
AVENTISSEMENT : L'ENTRETIEN DOIT ETRE RÉALISÉ SEULEMENT ET EXCLUSIVEMENT POUR PERSONNEL Autorisé.

En cas de défaillance ou rupture du câble, enlevez-le et ne le touchez pas. Ensuite, vous devrez débrancher le dispositif et ne pas l'allumer. Contactez le centre de service technique autorisé le plus proche pour que son personnel résolve le problème.

Données techniques contenues dans l'étiquette d'identification
1 FOYER "DOMINO" (30) "DUAL"
Catégorie = _2H3 +
G 30 - Butane = 28-30 mbar
G 20 - Naturel = 20 mbar
En cas d'adaptation de la cuisine à autre type de gaz, il faut agir comme il est décrit dans les instructions pour l'installation et l'utilisation et replacer l'étiquette dans le fond par l'étiquette qui se trouve dans le sachet des pièces de rechange
Assistance technique et PIECES de rechange
Pour garantir les résultats optimaux de fonctionnement, cet équipement, avant d'être expédié de l'usine, a été essayé et mis au point par personnel expert et spécialisé.
Les pièces de rechange d'origine sont disponibles seulement aux nos Centres d'assistance technique et aux points de vente autorisés.
Toutes les réparations ou mises au point qui puissent être nécessaires dans l'avenir devront être réalisées avec soin et attention maximale par personnel qualifié.
Par cette raison, il est conseillé de contacter toujours le concessionnaire, qui a réalisé la vente, ou notre centre d'assistance le plus proche, et indiquer la marque, le modèle, le numéro de série et la défaillance de l'appareil détectée. Les données de l'appareil sont enregistrées dans l'étiquette d'identification qui se trouve dans sa partie inférieure et dans l'étiquette sur la caisse d'emballage.
Cette information facilitera l'assistant technique dans la localisation des pièces de rechange adaptées et permettra la garantie d'une intervention immédiate et précise. Il est conseillé d'enregistrer lesdites données ci-dessous pour les avoir toujours à la portée de la main :
MARQUE:
MODELE:
SERIE:
SOLUTIONS POUR L'UTILISATEUR
| PROBLEME | CAUSE | SOLUTION |
| La flamme du foyer n'est pas uniforme | Encrasements à l'intérieur de la couronne du foyer. | Nettoyer la couronne du foyer des corps étrangers. |
| Réglage incorrect du gaz. | Contactez le Service d'Assistance Technique Officiel Pando. | |
| La flamme du foyer se change brusquement / explode | Montage incorrect des composants du foyer. | Monter les composants du foyer correctement. |
| La flamme s'allume avec grand retard. | Montage incorrect des composants du foyer. | Monter les composants du foyer correctement. |
| La flamme s'éteint après l'allumage | Libération précipité de la commande d'allumage. | Maintenez le bouton,enforcépendant plus de temps et,avant de libérer le bouton,enforcez-le finally avec effort. |
| Problèmes de thermocouple | Mouvez le thermocouple | |
| Contactez le Service d'Assistance Technique Officiel Pando. | ||
| Changement de la couleur des grilles dans la zone de cuisson. | Situation normale,causee par haute température ou encrasements. | Nettoyez les grilles et les composants du foyer avec produits de nettoyage pour métal correspondants |
| La flamme ne s'allume pas quand le bouton est enforcé (les bougies incandescentes émettent étincelles) | Absence de gaz ou résidus d'encrasements ou déterments dans les bougies d'incandescence | Ouvrez le compteur de la soupape de gaz ; nettoyez les bougiesd'incandescence comme il est décrit dans le chapitre « Nettoyage » . |
| La flamme ne s'allume pas quand le bouton est enforcé (les bougies incandescentes n'émettant pas étincelles) | Problèmes avec la bougie ou l'allumage. | Contactez le Service d'Assistance Technique Officiel Pando. |
| L'allumage électrique ne fonctionne pas. | Absence de courant électrique. | Assurez-vous que la prise de courant est connectée.Assurez-vous que le compteur est branché. |
| Montage incorrect ou défaillance d'allumage. | Contactez le Service d'Assistance Technique Officiel Pando. | |
| Les bougies incandescentes émettent étincelles continuèlement. | Humidité | Déconnectez l'alimentation pendant 24 heures et laissez la partie supérieure seSEEcher ; assurez-vous que toutes les douilles soient montées correctement. |
| Montage incorrect ou rupture du micro | Contactez le Service d'Assistance Technique Officiel Pando. |
PANDO / plaques de gaz - service technique après-vente (SAT) et garantie :
INOXPAN S. L.
TEL. 902 41 55 10 / FAX: 93 757 96 53
E-MAIL: divisiontecnica@pando.es
WEB: http://www.pando.es/asistencia-tecnica/
Pour demander de l'assistance technique, pendant et après la période de garantie, vous pouvez appeler le numéro ci-dessus indiqué ou envoyer la demande par fax ou e-mail. Nous vous informons que la garantie couvrira les interventions seulement en cas de défauts du produit.
Certificat de garantie :
INOXPAN, S. L., comme fabricant de cet appareil, garantit son fonctionnement pour le terme de trois ans, à partir de la date d'achat, conformément aux conditions suivantes:
- La portée et l'étendue de la garantie comprennent la réparation, le prix des pièces de rechange et la main d'œuvre, dans les zones ou pays de distribution de la vente.
- Pour exercer le droit de Garantie, il est nécessaire que ce certificat soit présenté au technicien du Service officiel autorisé d'Inoxpan S. L. (Pando) quand il le demande, avec le document qui confirme l'achat (facture), qui contient l'identification du Vendeur, la date de livraison du produit, les données d'identification de l'appareil et son prix de vente.
- Il est fortement recommandé que le consommateur ou utilisateur final du produit étudie attentivement les instructions d'utilisation et d'entretien du produit, et aussi ses caractéristiques, pour assurer l'application correcte de la présente garantie et toute autre compréhension du fonctionnement du produit.
- La présente garantie n'affecte pas les droits que la loi de consommation en vigueur octroie aux consommateurs, ni les droits établis par le Décret royal législatif 1/2007, du 15 novembre.
Exclusions de la garantie :
La présente garantie ne couvre pas les incidents, avaries ou dysfonctionnements des produits qui sont objets de cette garantie, dont les causes sont ci-dessous indiquées:
a) Si l'installation du produit n'a pas été réalisée par un spécialiste professionnel autorisé, électricien qualifié, ou personnel du Service technique officiel autorisé Pando, qui conforment aux exigences des standards de sécurité et normes de gaz et électricité. b) Acteurs extérieurs : phénomènes atmosphériques, géologiques, inondations, insectes, rongeurs, coups, ou utilisation en conditions inappropriées d'alimentation d'électricité, d'eau ou gaz, etc. c) Les mises en marche et démonstrations de fonctionnement aux consommateurs ou clients finaux. d) L'emplacement inapproprié, l'installation incorrecte ou défectueuse du produit, sans observation des indications de son manuel d'utilisation et installation. e) Les parties esthétiques en métal, silicone, bois, plastique, verre. f) Dommages cosmétiques comme bosses, usures, manches, rouillures. g) Accessoires ou composants consommables, comme les foyers et ses pièces, grilles et barreaux, etc. h) Absence de la plaque ou étiquette identificatrice avec caractéristiques du produit. i) Les transformations de gaz. j) Négligence, usage inapproprié et utilisations du produit qui ne soient pas indiquées ou contenues dans la documentation du produit. La présente garantie couvrira le produit quand il est utilisé pour usage domestique et non dans les activités professionnelles, commerciales ou industrielles. k) Les défaillances causées par l'utilisation et l'usure normale de l'appareil. l) Défauts et dommages du produit, causés par son transport, à condition qu'ils ne soient pas attribuables à Inoxpan S. L., conformément aux conditions indiquées dans catalogue, section « Dévolutions », avec la limite de 24 heures après la livraison du produit pour présenter réclamation. m) Les réparations, manipulations ou altérations, réalisées dans le produit par personnel qui ne soit pas du Service technique officiel autorisé Pando. Si tel est le cas, la garantie sera annulée. n) Les défaillances, causées par incorrecte utilisation et entretien périodique du produit, conformément aux dispositions correspondantes dans son manuel d'utilisation et installation.
La présente garantie sera valide seulement quand elle sera dûment complétée. Elle doit contenir modèle, immatriculation, sceau de l'établissement ou distributeur commercial, et doit être accompagnée de la facture d'achat, ou la date d'acquisition doit être indiquée.
| MODELE ET VERSION : | N° D'IMMATRICULATION : | ||
| INSTALLATEUR : | DATE D'ACHAT : | ||
| VENDEUR : | SCEAU DU VENTEUR : |
NOTAS:
Notice Facile