PGA4130 - Fogão Pando - Manual de utilização gratuito
Encontre gratuitamente o manual do aparelho PGA4130 Pando em formato PDF.
Baixe as instruções para o seu Fogão em formato PDF gratuitamente! Encontre o seu manual PGA4130 - Pando e retome o controlo do seu dispositivo eletrónico. Nesta página estão publicados todos os documentos necessários para a utilização do seu dispositivo. PGA4130 da marca Pando.
MANUAL DE UTILIZADOR PGA4130 Pando
Em primeiro lugar, queremos agradecer-lhe a confianca depositada na)nossa Empresa pela aquisicao de um dos outros produits. EstamosCERTOS de que tomou a decisao mais acertada.
Na Pando, não so Oferecemos produits de primeira qualidade, mas muito disponamos de uma equipe de professionis que o atenderão e o ajustarão em qualquer consulta que se justifique na hora da instalacao e ao funciona.
Convidamo-lo a visitar a)nossa páginaweb (www.pando.es),para nos conhecer melhor,onde poderver todaa.nossa gama de produits,comtodainformatione和技术e.comercial.
Nela encontrará uma ampla seleção de Chaminés Decorativas de parede, de teto, de ilha e de integração. Quatroços de instalação que nos permitem adaptar a qualquer tipo de cozinha, segundo as necessidadespresentadas.
Tambem lhe mostramos a)nossa colecao de eletrodomesticos, imprescindiveis em qualquer cozinha, tais como: a nova colecao de Fornos e Micro Ondas com elevadas prestaço; as Placas de Inducao e a Gás que o ajudarão a fazer as melhos receitas; Vinotecas e "caves" de envelhecimento para manter e conservar os seuves vinhos nas melhos condições; Maquinas de lavar Loça de integração, com technologia inovadora.
Tudo isto sob uma Marca com uma larguissima trajetoria com mais de 40 anos no mercado; que fabrica os seu's produits como um verdadeiro artesao, espelhando neles o melhor da sua experiencia no sentido de satisfazer todas as necessidades dos nossoos pacientes.
Esperamos sinceramente que se divirta, experimente e desfrute do comforts e das possibilidades do que ja é o seu novo aliado na cozinha. Muito obligado.
A equipe Pando

O*simbolo no produits ou na sua embalagem indica que este produit nao pode ser tratado como lixo domestico normal. Este produits deve ser entrega no punto de recolha de equipamentos eletricos e eletronicos para reciclagem. Ao garantir que este produits e eliminado corretamente,aabdar a Severity possiveis consequencias negativas para o meio ambiente e para a saude publica,que de outra forma poderiam ocorro se este produits nao for manuseado de forma adequada. Para obter informacoes mais pormenorizadas sobre a reciclagem;.除去,. entre em contacto com o municipio da sua area de residencia, com o service de recolha de residuos domesticos ou com a loja onde adquiriu o,. produto. Este electrodomestico está marcado de accordo com a diretiva Europeia 2002/96/CE relativa acosresduos de equipamento eletrico e eletronico (REEE).

PROTEÇÃO DO MEIO AMBIENTE E TRATAMENTO DE RESÍDUOS
ELIMINAÇÃO DA EMBALAGEM. A embalagem está marca com um PONTO VERDE.
No seu compromisso com a proteção do Meio Ambiente e em cumprimento com o disposto na Direita Europeia 94/62/EC relativa às embalagens e resíduos de embalagens e à Lei 22/2011, dai derivada, de Resíduos e Solos Contaminados, Pando encomenda a entidas de economía social um Sistema Integrado de Gestão, encarregado da recolha perúdica no domicilio do consumidor ou proxies dele, das embalagens usadas e dos resíduos dessas embalagens para a sua posterior reciclagem.
Para eliminar todos os materiais das embalagens tais como cartão, poliuretano expandido e pláticos, utilize os contentores adequados.
De this mode garante-se o perfeito tratamento e reutilização dos materiais das embalagens.
PT - INTRODUÇÃO
Estimado cliente:
Agradecemos sinceramente por ter adquirido um dos outros produits.
EstamosCERTOS de queeste novo e moderno aparelho,pratico e funcional,fabricado com materiais deprimea qualida, satisfar plenamente as sus exigencias. O equipamento é fácil de utilizes;todavia,paraobterosmeloresresultadoseimportantleratentamenteestemanualantes deouutilizar.
As instruções apareceras são não validas para os País de destino@cujos@simbolos de identificacao aparecem no inico destemanual de instruções e na etiqueta do aparelho.
O fabricante não poderá ser responsabilizzato pelos possíveis danos causados a pessoas ou a coisas devido a uma instalação incorrente ou pelo uso inadequado do aparelho.
A casa fabricante não responde pelas possíveis imprecisões containidas neste manual, imputáveis a erros de impressão ou transcrição. O aspeto estético das figuras tem um valor meramente indicativo. Ao fabricanteerva-se a faculdade de fazer as 修改es que considere necessarias ou Úteis nos sequados para satisfazer as necessidades do uso, sempre que não altere as carateristicas essenciaisfunctionais e de segurança.Esta placaroi projectada para serutilizadaunicamente comoaparelho decozinha:qualqueroutrouso (como aquecer ambientes)devecosiderer-seimproprio eperigoso.
DESCRÉÂO DAS PLACAS DE COZINHA
MODELO:PGA-4130


2 Queimador "DUAL" de 6000 W
4 Grelha 1 F "DUAL"
6 Botão giratório do commando do
Atença; este aparecido foi concebido para uso dométrico, em ambientes dométricos e por pessoas privadas. Deve serutilado poradultos responsaveis.
Não permita que crianças brinquem com ele. Durante a utilização do aparecido este fica sujeito a um aquecimento consideravel. Vigie as crianças e as pessoas sem autonomia.
ADVERTÉNCIA:
Crianças de idade inferior a 8 anos devem estar afastadas, quando não esteyam sob vigilência de adultos.
Este aparecido pode ser utilizado por crianças com menos de 8 anos de idade e por pessoas com capacidades fisicas, sensoriais ou mentalais reduzidas, com falta de experiência e conheçimentos de cozinha, sempre e quando estejam sob supervisão de algoém responsavel, bem como, tenham recebido instruções sobre o uso seguro do aparecido einteirados dos riscos existentes.
As crianças não devem brincar com a plac.
As crianças não devem fazer a limpeza ou a manutenção do aparecido sem supervisão de umadulto.
USO
Na superficie da placac de cozinha, está serigrafado um esquema sob cada botao giratorio, que nos indica o queimador ao qual se refere.
Depois deAbrir o passador da rede, ou da garrafa de gás, agenda os queimadores como abaixo se explicá:
Pressione e faça girar no sentido contrário ao dos ponteiros do relógio o botão giratório correspondente ao queimador que deseja utiliser até alcantar a posicao de “Maximo” (chama grande fig.1). De seguida pressione o commando até ao fundo.
- Acendimendo de queimadores com termopar de segurarca.
Nos queimadores com termopar de seguranca, gire o botao correspondente ao queimador que deseja no sentido invenso ao dos ponteiros do relógio, até a posicao de " Maximo" (chama grande fig.1), pressione o atingir o maior. Aceso o queimador, mantenha o botao giratorio pressionado durante uns10 segundos No caso de a chama se apagar involuntariamente, feche o botao giratorio do commando do queimador e espere pelo menos 1 minuto antes de tentar acende-lo de novo.
Como utiliser os queimadores
Para obter o máximo rendimento com o minimum consumo de gás, lembramos o seguito:
- Utilize tachos adequados a cada queimador (ver a ].abela segunte fig. 2)
- Ponha o botão giratório na posicao de “Minimo” uma vez atingida a ebulÇÃO chama pequena fig.1).
- Utilize sempre tachos e panelas com a tampa. Queimador "DUAL":
RegULA da coroa interna independente da externa, (na pratica, um queimador duplo gerido por un so botao giratorio), grande flexibilitad de utilização, gratas à possibidade de fazer para a chama interna ou todo o queimador (chama interna e chama externa em simultâneo).
ACENDIMENO E FUNCIONAMENTO DO QUEIMADOR "DUAL".
Cologne a panela sobre o queimador antes de acender a placata.
Apesar de funciona com um uniquo botão giratório o queimador "DUAL" pode funciona de dois muitos distinctos.
A) Funcionamento total do queimador:
partindo da posicao de desligado é necessario pressionar o botão giratório, e em simultâneo roda-lo n sentido contrário ao dos ponteiros do relógio, até ao
maximo do registo da saida do gás ★, Obtendo assim o máximo caudal nas两大 coroas do queimador.
Com as das chamas acesas, mantenha o botão giratório pressionado até que o disposítivo suporte o queimador aceso automaticamente.
A partir deste momento sera possivel regular a intensidade das chamas, rodando o botao giratorio no sentido contrario ao dos ponteiros do relógio (desa a posicao de maximo caudal das chamas interna e externa).
Para apagar o queimador, rode o botão giratório no sentido dos ponteiros do relógio às fazer coincidar o指示or do botão com o símbolo de apagado.
B) - Só funciona da chama interna:
Depois de acender o queimador pondo a chama interna no máximo de caudal, e a chama externa no minimo como se describesveu anteriormente, gire no sentido contrario ao dos ponteiros do relógio o botão giratório até atingir o máximo; a chama interna ficará no caudal máximo e a externalapagar-se-á.
Para alcancar a posicao de caudal minimo na chama interna, rode o botao no sentido contrario ao dos ponteiros do relógio.
Apagado:
para apagar o queimador, rode o botão giratório no sentido dos ponteiros do relógio às fazer coincidar o registó do botão com o símbolo • de apagado.
Uma vez que o queimador “DUAL” está em funciona em qualquer dos来进行os descritos, é possivel passar de um modo ao outo, simplesmente reisionando e rodando o botão giratorio até alcantar a posicao desejada.

USO
- O acendimento dos queimadores com termopares de segurarso se pode efetua quando o botao (chama grande fig. 1) giratorio se encontrar na posicao de "Maximo".
- No caso de fazer a corrente eletrica, é possivel acender os queimadores utilizingo fosforos.
- Não deixe sem vigilência o apareço durante a sua'utilisation e assegure-se de que não há crianças por perto. Comprove que as asas dos tachos epanelas esteyam colocadas corretoamente, vigie a cozedura dos alimentos que utilizez oleos, azeites e gorduras, quando ossubstancias podem inflamáveis.
- Não utilize "sprays" perto do aparecido quando estiver emFUNICIONamento.
-
Não arraste as panelas sobre o vidro da placá, evitando assim que se risque.
-
Se encontrar alguma quebra na superficie vidrada da plac, deslue imeditamente o aparelho da rede.
- Não utilize a placá de cozedura como superficie de apoio.
- Não coloque panelas com fundo instavel ol deformado sobre o queimador, poderiam tombar e cerramar o liquido contido, provocando acidentes.
- Não é permitida a utilização deste aparecido à pessoas (incluindo crianças) com capacidades fisicas e mentalis reduzidas, ou que não tenham conheçimento de享用ação de equipamentosétricos, a menos que estejam sob controlo ou recebam instruções por parte de pessoas adultas e responsaveis para a sua segurança. há que ter em atençao às crianças para que não brinquem com o aparecido.
- Não coloque as panelas de modo que ultrapasse os bordos da placá de cozedura.
ATENÇAHO:
Em caso de quebra do vidro da placar de cozedura:
- Apane de imediato todos os queimadores e todos os elementosétricos à volta, desluge da alimentaçãoétrica a plac.
- Não toque na superficie da plac.
- Não utilize a plac.
- O uso de uma placá de gás produz calor e humidade no local onde está instalada. Por consuêência, é necessário garantir uma boa ventilação do local mantendo livres de obstáculos as entradas de ar naturais (fig. 3) e ativando um dispositivo mecânico de ventilação (exaustor de cozinha ou eletro-ventilador fig. 4 e fig. 5).
- O uso intensivo e prolongado do aparecido pode querer uma ventilação SUPPLEMENTAR, como a abertura de uma janela ou uma ventilação mais eficaz, augmentando a potência da respiração mecânia existente.
- Não altere nen modifique as caracteristicas痫icas do produits, isso é perigoso.
- Se resolverdeer deutilizaresteaparelho(ou substituirummodelovelho),antesde ontegar noEcoponto,comendamosinutilizalosegundoanormativavigente em materia de tutela daSaudeeAmbienteprevista paraestescasos,anulandoaspartesquepodemprovocardanos,especiallyacriancies,quepoderiamutilizaropaparelhoparabrincar.
- Não toque no aparecido com os pés e as mãos molhadas ou humidas.
- Não utilize o aparecido descalço.
- O fabricante não pode considerar-se responsavel por eventuels danos por usos improprios, errados e irracionais.
- Durante e imeditamente已久 de utilização, algumas partes da placá de cozinha atingem temperatas muito elevadas; evite tocar-lhe.
- Após a utilizesação da placá a gás, certificque-se que o Manipulo se encontrar em posicao de fechado e, deslgue o passador principal de fornecimento de gás ou feche a garrafa do gás.
- Em caso de anomalias de funciona dos passadores de gás, ponha-se em contacto com os serviços de assistência técnica.
Esta placac de cozinha foi projetada para ser realizada unicamente como aparelho de cozinha; qualquer除外o uso (como aquecer ambientes) tem de ser considerado improprio e perigoso.

(*)ENTRADA DE AR: VER CAPITULO INSTALLAÇÃO (PARAGRAFOS 5 Y 6)FIG. 3
FIG.3

FIG.4

FIG.5
USO
CONSELHOS PARA AFORRAR ENERGÍA E EVITAR DANOS NOS RECIPIENTES

- Para evaporar desperçar energia não cozinho sem tampa ou com esta mal colocada.

- Centre bem o recipiente com o queimador. Não colque recipientes grandes proxies dos Manipulos,"These podem danificar-se com o excesso de temperatura.

- Nunca coloque um recipiente diretamente sobre o queimador, coloque-o sobre as grelhas; certifique-se que está bem colocadas antes de serem usadas.

- Movimento os recipientes com cuidados sobre a placá de cozinha, não a danífique nem coloque sobre ela pesos.

- Nãoletalr o recipiente e deleiar o queimador aceso, isto pode causar graves danos.

- Utilize o queimador de tamanho apropriadopara cada recipiente. Não utilize recipientementesmenores que o tamanho do queimador.Achama não deve entrada emcontacto com oslateraisdorecipient.

- Utilize sempre recipientes com o财运 em bom estado, plano e grosso. Osrecipientedesformados podem tombar.
LIMPEZA
ATENÇAO
Antes de efetuar qualquer operatione de limpeza desligue o aparelho da rede elétrica e da rede de gás.
2) PLACA DE TRABALHO
Para manter brillhante a superficie de vidro, é fundamental lavá-la(before de cada uso realizandoágua tepida de sabão, limpa-la e secá-la.
Do mesmo modo, devem lavar-se as grelha esmaltadas "A", "B" e "C", assim como as cabecas do queimador e os espalhadores (fig.6 7) e limpar también os isqueiros "AC" e os sensores termopares "TC" (fig.6). Estes componentes não se devem lavar na区内 de lavar loça.
Lave-os suavamente com unaiosa escova de nylon, como se vê (fig.8) e deleixe-os secar completeness. A limpeza deve efetivar-se con a placacosous componentesafrio,semutilizar esponjas metálicas,produkos abrasivos empo,nemsprays corrosivos.
Não permita que as superfícies da plac permançam em contacto com produits como vinagre, café, leite, água salgada, sumo de limão ou tomate.
ADVERTÉNCIAS:
Ao voltar a montar os componentes da plac, é necessário seguir os seguients conselhos:
- Certifique-se que as ranhuras dos espalhadores "T" (fig. 6/A) não estejam obstruidas por corpos estranhos.
- Certifique-se que o espalhador "A", "B", "C" (fig.6-7) está colocado corretemente naCESSA do queimador.
Isto comprova-se quando o espalhador está corretemente estavel. - Se encontrar alguma dificuldade na abertura ou/DDo de algoq passador, nao force, Solicite com urgencia o service de assistencia的技术ica.
- As grelhas devem ser colocadas e centradas nos encaixes. Deve ser verificada a sua correta estabilitad.
- Não utilize jatos de vapor para limpar o aparelho.

FIG.6/B

LIMPEZA
ATENÇAÖ :
Antes de cada的操作a de limpeza, deslugar o aparelho da rede de gas e da alimentacao eletrica.
Vitrocerámica
Para manter brillhante a superficie da vitroceramica, é aconseHavel tratar a superficie vitrca antes da primeira utilização com um produits a base de selicone, formando uma pellicula protetora contra a agua e a sujidade. Essa pellicula protetora não é duradoura, pelo que se aconseHla a renová-la com frequência.
É fundamental limpar sempre a superficie(before da sua utilização, quando o vidroalready se encontra quente.
Não utilize esponjas metálicas, produits abrasivos, nem sprays corrosivos para efetuar a limpeza.
Dependendo do grau de sujidade, cabe recordar o segunte:
- Para manchas ligeiras é suficiente'utilizar um esponja humida.
- A sujidade resistente e encrustada, elimina-se, fácilmente com uma raspadora (fig. 6/B), não incluira com a plac de cozinha, que encontrará fácilmente no mercado local. Utilize-a com precação, boa poderá provocar golpes.
- Os restos dos liquidos derramados pelas panelas, eliminam-se com vinagre ou limão.
- Tome atençao para não deixar cair acucar ou alimentos acucarados sobre a placac durante o seu functiOnamento. Se isso suceder, desligue a placac e lave imeditamente as manchas ainda quentes,utilizing agua quente e uma raspadora.
- No caso de limpar mal a placà ou Manipular incorretamente os recipientes, com o tempo é possível que apareçam manchas, reflexos metálicos ou riscos.
- Ainda que sejam difices de eliminar,把这些 riscos não tem qualquer influencia no normal funcionaamento da placac de cozinha.
- Não utilize jatos de vapor para limpar o aparelho.
MEDIDAS QUE E PRECISO RESPEITAR (eM mm)
| A | B | C | D | E | F | |
| 1F (30) | 282 | 482 | 59 | 59 | 300 min. | Min. 70 mm |


INSTALAÇÃO
INFORMACAO TECNICA PARA O PESSOAL ENCARREGADO DA INSTALLACAO
A instalacao, todas as regulacoes, as transformacoes e as operacoes de manutenacao citadas nestes textos, devem ser efetuadas exclusivamente por pessoal qualificado.
O fabricante não poderá ser responsavel pelos possíveis danos causados a pessoas, animais ou coisas, por uma instalação deficiente do equipamento.
Durante a vidautil dos aparelhos, os dispositivos de seguranca ou de regulação automatica dos aparelhos so poderao ser modificados pelo fabricante ou por um techniciane devidamente autorizzato.
3) MONTAGEM DA PLACA DE COZINHA
Depois de partir a embalagem externa e de retiring todos os componentes da embalagem interna, certifique-se que a placar de cozinha se encontrar em bom estado. Em caso de duvida recorra ao revendedor.
Os componentes da embalagem (cartão, sacos plácicos, poliestireno expandido, agrafos...) não devem ser deixados ao alcance das crianças, dato que constituem fontes potenciais de perigo. Para encasar a placá, é necessário efetuar um cori no tempo do mover de cozinha com as medida indicadas na fig.9 e verficar as medidas minimas de espaço em que foram encasar o aparelho (fig. 10) O aparelho está classificado como produto de classe 3, pelo que está sujeito a todas as prescrições previstas pelas normas destinadas a"These aparelhos.
Informa-se o instalador que o aparecido pode ser instalado+junto a una parede lateral, (a esquerda ou a direita), com una alta superior àplaça de cozinha como se demonstra na fig.9.
4) FIXAZAO DA PLACA DE COZINHA
A placá está dotada de una junta especial que impederialquer tipo de infiltraçãodeliquidos no molev. Para aplicar corretamente esta junta, é necessário atender esrupulosamente as seguentes instruções:
- Retire todas as partes moveris da placac de cozinha.
- Corte a junta em 4 partes com o comprimento necessário para a colocar nos 4 rebordos do vidro.
- Volte a colocar o colocque devidamente o lado adesivo da junta "E" (fig.11) debaixo do rebordo de maneira que o lado externo da junta coincida perfeitamente com o bordo perimétrico do vidro. Os extremos das tiras da junta devem encaixar-se sem sobreposition.
- Cole a junta ao vidro de modo uniforme e seguro com os dedos.
- Coloque a placá de no orificio aberto no tempo da cozinha e aperte-a com parafusos "F" dos ganchos de fixação "G" (ver fig.12).
- Para evaporar o contacto involuntario com a caixa da placar sobreaquecida durante o seu functimento, é necessário colocar um frontal em madeira com uma largura minima de 70 mm, imeditamente abaixo do tempo da cozinha (fig.9).
-Para fixar a placao ao tempo de cozinha e aconselhavel nao utilizear aparafusadoras electrolyicas, mas utilizear chaves manuais para exercer uma pressao moderada nos ganchos de fixacao.

INSTALAÇÃO
REGRAS IMPORTANTES PARA A INSTALLACION
Informa-se o instalador que o aparelho pode ser instalado+junto a uma parede lateral, (a esquerda ou à direita), com uma alta superior à placá de cozinha como se demonstra na fig.9.
Além disso, a parede traseira e as superficie adjacentes e circundantes à placà devem resisti a una temperatura de 90^ .
No caso de o tempo da bancada ser em laminado, este deve resistir a temperatas nunca inferiores a 150^ , para evaporar que se descole o seu revestimento.
A instalacao do aparelho deve cumprir as dispositions das normas vigilentes.
Este aparecido não está ligado a nenhum dispositalo de evacuação dos produits de combustão. Por isso, deve ser ligado conforme as regras de instalacao mentionadas anteriormente. É necessario prestar uma atençao especial às disposções aplicáveis em materia de ventilação e climatização que se descverm a seguir.
5) VENTILACAO LOCAL
Para garantir o correto funciona do aparelho, é indispensable que o local onde instalado, sera permanentemente ventilado. A quantidade de ar necessariadeer a requerida para una combustao normal de gas e com ventilacao do local, cujo volume nao podera ser inferior a 20m^3
Posicionamento e fixação dos ganchos na parte inferior

O fluxo natural do ar deve ter lugar por via direta, através de aberturas permanentes, efetuadas nas paredes do local que se pretende ventilado.
Essas aberturas devem dar para o exterior e terem uma secção minima de 100cm2 (ver fig.3). Devem ser feitas de modo a não serem obstruidas.
Tambem e permitida a ventilacao indireta mediatinge extracao do ar de locais contiguos os quais se devem ventilar, sempre que se observem escrupulosamente as dispositions das normas vigentes.
ATENÇão: se os queimadores da placá de cozinha está desprovidos do termopar de segança, a abertura de ventilação deve ter uma secção minima de 200cm2.
6) COLOCAÇÃO E VENTILACÇÃO
Os apareiros de cozinha a gás devem descarregar os produits da combustão atraves de exaustores ou chaminés de EXTRAÇÃO de fumes, ligados por tubos de extração de fumes e odores, diretamente ao exterior, (ver fig.4).
No caso de que não sera posível aplicar o exaustore que se respeitem totalmente asopenhagenes relativas à ventilação, mentionadas nas normas vigentes, podem usar um ventilador montado jusqu'à uma janela ou sobre uma parede que de para o exterior, o qualdeer ser ligado ao mesmo tempo que o aparecido (ver fig.5).

FIG.A
Atença: Não permita que orebardo em vidro (A) está apoiado sobre o tempo de cozinha ou sobre a superficie de trabalho, está orebardo da caixa de metal (B) que está apoiado no tempo (fig. A).
E muito importante respeitar as medidas de encastre.
INSTALAÇÃO
7) LIGACAO DO GÁS.
Antes de ligar o aparelho, certifique-se que os dados技术和icos da etiqueta de identificacao, situada na parte inferior da plac, está de acordo com os da rede de distribuicao de gas. As instruções contidas neste manual e as que se encontrar na parte inferior da plac, indicam como regular o aparelho: tipo de gás e pressao de funcaoamento.
Quando o gás é distribuído pela rede, é necessário ligar o aparecido à instalação de gás da vivenda.
- Com tubo metalico de aço, conforme as norma vigentes, àsumas unidos devem ser feitas com conectores roscados segundo a norma EN 10226.
- Com tubo de cobre em conformidade com as normas vigentes,@cjas unioes devem ser feitas com connectores de vedacao mecanica.
- Com tubo flexivel de aço inoxidável de parede continua, de acordo com as normas vigentes, com uma extensão Tmaxa de 2 metros e junta de união también segudo as normas vigentes. Este tubo deve ser instalado de modo a não entrada em contact com partes moveris do mobiliário da cozinha (po exemplo, gavetas), nem atravessar zonas de mobiliário de cozinha em que se guardem objetos.

Quando o fornecimento de gás provém diretamente de uma garrafa, delve ligar-se o aparecido atraves de um regulator de pressão er conformidade com as normas vigentes:
- Com tubo de cobre em conformidade com as normas vigentes, cujas unioes devem ser feitas conectores roscados de vedacao mecanica.
- Com tubos flexíveis em aço inoxidavel de parede continua segundo as normas vigentes, com uma extensão Tmaxa de 2 metros e com juntas de unição también segundo as normas vigentes. Este tubo deve ser instalado de modo a não entrada em contacto com partes moveris do mobiliário de cozinha (por exemplo, gavetas), nem atravessar zonas do mobiliário de cozinha em que se guardem objetos. Para fazer a ligaçao do regulador de pressao montado na botija do gas com um bocal de conexão, é aconselhavel utilizez um adaptordo especial no tubo flexivel. Este tipo de adaptordo encontrar-se fácilmente no mercado.
Uma vez efetuada a ligaçao, certifique-se da sua perfeita estanquicidade'utilizing uma solucao de agua e sabao, sem aplicar nenhuma chama.
ADVERTÉNCIAS:
- Lembramos que o conector de entrada de gás no aparecido é roscado 1/2 “gás cónico macho, segundo as normas EN 10226.
O aparelho cumpre com as disponções das subregulações para Diretivas Europeias:
-Regulamento (EU) 2016/426.
Além disso, as paredes e as superfícies adjacentes e circundantes à placà de cozinha devem resistir a uma temperatura de 90^a .
INSTALAÇÃO
8) LIGACAO ELECTRICA
IMPORTANTE: a instalação tem que ser executada segudo as instruções do fabricante. Uma instalação defeituosa pode provocar danos em pessoas, animais ou coisas, prejuizos Pelosi quais o fabricante não pode ser considerado responsavel.
A ligação eletrica deve ser feita em conformidade com as normas e dispositions legais em vigor.
- Vericar as etiquetas na parte inferior da placaronde se encontrar as carateristicas de tensao,alimentacao e potencia, para o uso adequado nautilização dos cabos de ligação eletrica.
- Antes de efetuar a ligação, constate que a tomada e a instalação está providas de uma ligação terra eficaz, segundo as normas e dispositions legally atualmente em vigor. Declina-se toda e qualquer responsabilité pela não observança destas dispositions.
Quando a ligação à rede de alimentação se efetu mediante tomada de corrente:
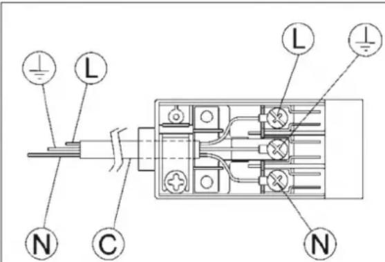
- Se o cabo de alimentação "C" não tem ficha (ver fig.13), aplique uma ficha normalizada e adequada para a entrega indicada na etiqueta de identificacao. Ligue os cabos segundo o esquema da fig.13 tend em atençao o respeito pelas seguentes correspondencias:
letra L (fase) = cabo de cor castanha;
letra N (neutro) = cabo de cor azul;
simpilo terra cabo verde e amarelo.
- O cabo de alimentação deve colocar-se de modo a que não alcance em nenhum punto a temperatura de 90^ .
- Não utilize reduções, adapações ou derivações para efetuar a ligação, Paísedom provocar falsos contactos e perigosos sobraquecimentos.
- A.tomada delve ficar em local acessivel,deois de efetuar o encastre.
Quando a ligaçao se efetua diretamente à rede eletrica:
- Interponha um interruptor omnipolar entre a rede e o aparecido, capacito para a entrega do aparecido segundo as normas vigentes.
- Lembre-se que o cabo terra não pode ser interrompido por um interruptor.
Para obter maior seguranca,teme é possivel proteger a ligação elétrica com um interruptor diferencial de alta sensibilitad.
Recomenda-se, vivamente, fixar o cabo terra de côr verde-amarelo a um eficiente punto terra.
Antes de efetuar una qualquer intervencao n parte eletrica do aparelho, e absolutamente necessario desiga-lo da rede.
Se houver nécessidade de alteracoes na instalação eletrica domestica, ou se houver incompatuldade entre a ficha e a tomada do aparelho, tera sempre de ser pessoal qualificado profissionalmente a comprovar que a secção dos cabos da ficha sejam adequados à potência absorvida pelo aparelho.
ADVERTENCIAS:
todostosnossoproducestoaoconformaea: Normas Europeiase asrespetivas emendas. Pelo que o produits estaconforme os requisitos das Diretivas Europeias em vigor referentes a:
-Compatibilitademagnética(EMC);
-Seguranca elétrica (LVD);
-Restrico do uso deudas substancias perigosas (RoHS);
-EcoDesign (ERP)

FIG. 13
AFINACOES
Há que desligar o equipamento antes de efetuar qualquer afinação.
Uma vez terminadas as afinações ou préafinações, os selos devem ser restabelecidos po um técnico.
Não é necessária a afinação de ar primário nos outros queimadores.
9) TORNEIRAS
Regulaço do "Minimo".
- Acender o queimador e pôr o Manipulo na posicao de "Minimo" (chama很小a fig.1).
- Retirar o Manipulo "M" (fig.14 - 14/A) daorneira, que estáosto à pressão no pino da mesma.
- O by-pass para o ajuste do caudal minimo pod estar: ao lado da chave (fig.14) ou no interior da barra. Em qualquer dos casos, o ajuste faz-se mediante a introducao de uma pequena chave de parafusos "D" ao lado da chave (fig.14), ou no furo "C" dentro da chave do gás (fig.14/A).
-Gire para a direita ou para a esquerda do bypass, o ajuste correto da chama até a posicao do alcance limitado.
Lubrificacao dos passadores.
Se um passador estiver bloqueado, não forçar e pedir assistência和技术.
Subentende-se que esta afinaçãosoleseve efetuar nos queimadores que funciona com G20, enquanto que os queimadores que funciona com G30 ou G31 o parafusodeerapertar-se até ao fundo (no sentido dos ponteiro do relógio.
- No caso do queimador "DUAL", o parafuso de regulação situado no interior do pino da torreira regula a chama central, quando o parafuso situado ao lado da torreira regula a chama externa
As referidas operações podem efetuar-se comodamente, independente da posicao em que está colocada a placac de cozinha, no movel.
OS QUEIMADORES NÃO REQUEREM NENHUMA AFINACAO DE AR PRIMARIO.
ADVERTÉNCIA:
Antes de regular o minimo do queimador "DUAL" retire o casquilho "E" (fig. 14).
No caso do queimador "DUAL", o parafuso de afinação situado no interior do pino do passador, regula a chama central, quando que o parafuso situado ao lado do passador regula a chama externa.

FIG. 14

FIG. 14/A
TRANSFORMAÇÉS
10) MUDANÇA DE INJECTORES.
Os queimadores podem adaptar-se a differentes injetores de gás.
Para efetuar a operação de troça de injetores, é necessáriourar os espalhadores dos queimadores desenroscar o injector "A" (ver fig.15) com a chav correta "B" e troça-lo pelo injetor adequado que se pretende usar.
E aconselhavel apertar o injetor com firmeza.
Despois de realizar as mudanças mentionadas, o的技术o deve regular os queimadores como se explicao no paragrafo 9, selar os orgaos de regulacao ou pre-regulação e substituir a etiqueta de identificacao por uma nova etiqueta correspondente à nova regulação de gas efetuada no aparelho.Esta etiqueta está inclua na很小a很小a Bolsa de peças para troca.
Para fácilar o trabajo do instalador, de seguidlerpresentamos unaabela com os caudais, oscaudais termicos dos queimadores, o diametro dosinjetores e a pressao de exercicio para os differentestipos de gas.
*Em conformidade com o Regulamento No 66/2014 da UE em que se estabelecem medidas para a aplicacao da Diretiva 2009/125/CE, o rendimento (EEgás queimador) foi calculado de acordo com a norma EN 30-2-1 ultima revisao com o G-20.
**Montagem com o casquilho (B), (ver a Fig. 14/B).
MANUTENÇÃO
TIPOS E SECCOES DOS CABOS DE ALIMENTAGAO
| TIPO DE PLACA DECOZINHA | TIPO DE CABO | ALIMENTação MONOFÁSICA |
| Placa de cozinha a gás | H05 RR-F | Secção 3 x 0.75 mm² |
ATENCAO!
No caso de substituir o cabo de alimentação, o instalador deve dispor de um cabo de terra "B" mais comprido que os conduutores de fase (fig.15) edeera respeitar as advertências indicadas no paragrafo 8.
ADVERTÊNCIA: A MANUTENÇÂO DEVE SER FEITA SO E EXCLUSIVAMENTE POR PESSOAL

No caso de falha ou rutura do cabo, retire-o e não lhe toque. Mais,deer desligar a ficha do disposito vo elétrico e también não acender a chama. Contacte o centro de service专业技术 autorizo mais perto, para que soluacionem o problema.

DADOS TECNICOS QUE FIGURAM NA ETIQUETA DE IDENTIFICacao
1 QUEIMADOR "DOMINO" (30) "DUAL"
Categona = _2H3
Tensão = 220 - 240 V ~
Frequência = 50/60 Hz
DADOS TECNICOS DA AFINACAO DO GÁS DO APARELHO
No caso de alterar a cozinha para outro tipo de gás, fazê-lo como se descreve nas instruções para a instalação e uso, bem como substituir a etiqueta pela fornecida com a Bolsa de material de substituição.
ASSISTÊNCIA TÉCNICA E REPOSÇÃO DE PEÇAS.
Antes de sair de fabrica, este equipamento foi testado e provado por pessoal especializzato affirm de garantir um otimo resultado deestruturao.
As peças originais de substituição são se encontrar disponible nos outroscentros de assistencia的技术ica e em pontos de vendahorizados.
Toda a reparacao e reposicao que sera necessario efetuar, devera ser executada com o maior custado e atencao, por pessoal qualificado para oefeito.
Por este motivo, é aconseilhavel dirigir-se sempre ao concessionario que fez a vendu ou ao meu centro de assistencia的技术e especificar a marca, o modelo, o numero de série e o defec detectado no aparelho.
Os dados do aparecido está gravados na etiqueta de identificacao que se encontra na sua parte inferior e na etiqueta da caixa da embalagem.
Esta informação facilitará a localização das peças de substituição adequadas por parte do assistente técnico e permitirá garantir uma intervenção imediata e espécífica.
De seguida aconsehamos a annotar把这些dados, para os ter sempre disponveis:
MARCA:
MODELO:
SERIE:
| Soluções UTILIZADOR | ||
| PROBLEMA | CAUSA | Soluções |
| A chama do queimador não é uniforme. | Existe sujidade no queimador. | Limpe a coroa do queimador. |
| Ajuste incorreto do gás. | Chame o的服务o técnico. | |
| A chama do queimador muda repentinamente/estala. | Montagem incorreta dos componentes do queimador. | Montar os componentes do queimador corretemente. |
| A chama demora a acender. | Montagem incorreta do queimador. | Montar os componentes do queimador corretemente. |
| A chama apaga-se antes de se acender. | Alivio antecipado do Manipulo. | Mantenha o Manipulo pressionado por mais tempo. |
| Problemas no termopar. | Mova o termopar. | |
| Chame o的服务o técnico. | ||
| Mudança de cor nas grelhas na zona do queimador. | Situação normal, causada por alta temperatura ou sujidade. | Limpe as grelhas e os componentes do queimador com produits de limpeza apropiados. |
| A chama não se acende, quando pressionamos o Manipulo (o isqueiro emite chama). | Falta de gás ou residuos de sujidade no isqueiro. | Abra a valvula de entrada de gás. Limpe o isqueiro com se explicá no capitudo, Limpeza. |
| A chama não se acende, quando pressionamos o Manipulo, (o isqueiro não emite chama). | Problemas com o isqueiro ou com a igniação. | Chame um的服务o técnico Pando. |
| O acendimento eletrico não funciona. | Falta de但现在e elétrica. | Verifique se a tomada de而现在a ligada, ou se o controle está ligado. |
| Montagem incorreta ou falha na igniação. | Chame o的服务o técnico da Pando. | |
| Os isqueiros emitem continuamente chispas. | Humidade. | Desligue a alimentação durante 24 horas e deixe que a parte superior seque. Verifique que todos os casquilhos está montados corretemente. |
| Montagem incorreta ou rutura no micro. | Chame o的服务o técnico da Pando. | |
INOXPAN S.L.
Para solicitar assistencia的技术ica, dentro ou fora de garantia, pode chamar ao téléphone acima indicado, ou através do fax ou e-mail. Informamos que as intervenções em garantia cobriram apenas defeito do produto.
CERTIFICADO GARANTIA:
INOXPAN, S.L., como fabricante deste aparheiro, garant e mesmopto prazo de tres anos a partir da data da compra, conforme as seguients condições:
1.A amplitude e extensao da presente garantia assume a reparacao, o custo das peças de substituicao e a mao de sua,. forma, ndro das zonas ou paises de distribuiacao e vendal.
2. Para exercer o direito de Garantia é necessário aparecer este certificado ao专业技术o do Servico Autorizzato da Inoxpan, SL (PANDO) quando este o peça, muito com o documento comprovativo da compra (fatura) onde se encontrar a identificacao do vendedor, data de entrega do produits, os dados identificativos do aparelho e o preco de vendao do mesmo.
3.Recomenda-se firmamente, que o consumidor ou Usuario finalmente produto, leia atentamente as instruções de uso e manutençao do produits, bem como as carateristicas do mesmo, por forma a aplicação correta da presente garantia e a um melhor conhecelto do produits.
4.A presente garantia nao afeta os direitos que a leiisagao vigente de consumo, outorgue ao consumidoores, assim como ao direitos estabelecidos no Real Decreto Legislativo 1/2007, de 15 de Novembro.
EXCLUSÉS DA GARANTÍA:
Não está incluidas dentro da presente garantia, aquelas incidências, avarias ou anomalias dos produits objecto desta garantia, que tenham como causa, alguma das seguiences:
a) Se a instalacao não foi efetuada por um Professional Especialista Autorizado, Eletricista Qualificado, ou pessoal do Serviço Tecnico Autorizzato Pando, que cumprim os requisitos standard de segurança e normativa de gás e eletricidade.
b) Agentes externos: fenomenos atmosféricos, geológicos, inundações, insetos, roedores, pancadas ouutilização sob condições de fornecimento de eletricidade, de água ou de gás inadequadas, etc.
c) Os inicios e demonstracoes de functiamento ao consumidor ou cliente final.
d) A inadequada colocação, instalação incorrente ou defeituosa do produits, que não sigam as indicações do manual do Utilizador e respetiva instalação.
e) As partes estéticas de metal, silicone, madeira, plástico, vidro.
f) Danos estéticos como amolgadelas, riscos, manchas.
g) Acessórios ou componentes consumíveis, como os queimadores e seuis componentes; grelhas ou suportes, e demais peças.
h) Ausência da placá ou etiqueta de caractéristicas identificativas do produits.
i) As alteracoes de gás.
j) Negligência, usos indevidos e destinos do produits que não sejam os indicados ou contidos na documentação do produits. A presente garantia cobrirá o produits sempre e quando thise serautilizzato para uso domestico,e nunca em usos de cariz profisional,commercial ou industrial.
k) As incidencias produzidas pelo uso e desgaste normal do aparelho.
I) Defeitos e danos do produits causados ao transporte do mesmo, sempre e quando nao sejam atrubuidos a Inoxpan.SL, sob as condições indicadas no catálogo, secção de devoluções, 24 horas limite a reclamação desde la entrega do produits,
m) As reparacoes, Mudicoacoes ou alteracoes produzidas no produits por pessoal que nao sera do Servico Tecnico Oficial Autorizzato Pando. Por tal motivo a garantia ficaria anulada.
n) Aquelas deficiências derivadas de uma deficiente'utilisation e falta de manutenção periodica do produits, tal como se reflete nas pautas com referencia ao manual de instalação do mesmo.
A presente garantia so sera valida quando estiver devidamente preenchida. Nela constarao o Modelo, carimbo do estabelecimento ou loja distribuidor, e delve ir acompanhada da fatura de compra, onde constarao a data de aquisicao.
| MODELO E VERSÃO : N° MATRÍCULA: | |||
| INSTALADOR: DATA DE | COMPRA: | ||
| COMÉRCIO: CARIMBO DO COMÉRCIO: | |||
NOTAS:
ManualFácil